Beyerdynamic TG L58c, TG L58c tan - Kondensatorli mikrofonlar qo'llanmasi
- 1 Chastota javobi egri chizig'i
- 2 Polar naqsh
- 3 Ulanish sxemasi
- 4 Xavfsizlik haqida ma'lumot
- 5 Qo'llanilishi
- 6 Ulanish
- 7 Mahkamlash
- 8 Xizmat ko'rsatish
- 9 Xizmat
- 10 Versiya
- 11 Yetkazib berilgan aksessuarlar
- 12 Ixtiyoriy aksessuarlar
- 13 Chiqindilarni utilizatsiya qilish
- 14 Texnik xususiyatlar
- 15 Qo'llanmani yuklab olish
- 16 Boshqa tillarda

Chastota javobi egri chizig'i

Polar naqsh

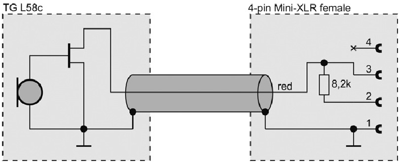
Ulanish sxemasi

Xavfsizlik haqida ma'lumot
- Mikrofonni namlik va to'satdan zarbalardan saqlang. Mikrofonni shikastlashingiz mumkin!
- Mikrofonga puflamang va mikrofon savatchasini taqillatmang. Kondensatorli mikrofonda bu transformatorga zarar etkazishi mumkin. Nutq sinovini o'tkazish afzalroqdir.
Qo'llanilishi
TG L58c qisqichli mikrofon televizor va film yozuvlari, taqdimotlar va teatr tomoshalari uchun birinchi tanlovdir. Ushbu lavalier mikrofonining muvozanatli ovozga ega bo'lgan har tomonlama polar naqsh uning erkin joylashtirilishi mumkinligini anglatadi. Qora yoki bej rangda mavjud.
Ulanish
TG L58c 4 pinli mini XLR ulagichi bilan jihozlangan va shuning uchun TG 1000 yoki TG 100 seriyali beyerdynamic kamarli uzatgichlariga ulanish uchun idealdir.
Fantom quvvat manbalari bilan simli ilovalar uchun TG L58c ixtiyoriy MA-PVA quvvat adapteri bilan ishlatilishi kerak. Agar TG L58c to'g'ridan-to'g'ri fantom quvvatga ulangan bo'lsa, mikrofon shikastlanishi mumkin!
Mahkamlash
Yetkazib berishga kiritilgan mikrofon qisqichi mikrofonni audio manba yaqiniga o'rnatish uchun juda mos keladi. TG L58c har tomonlama xususiyat tufayli deyarli hech qanday tebranish yoki zarba tovushlarini uzatmaydi. Ilovaga qarab, mikrofonni galstuk, lapelga yoki to'g'ridan-to'g'ri tanaga – masalan, soch yoki yuzga o'rnatishingiz mumkin.
Xizmat ko'rsatish
TG L58c mikrofoni va ulanish kabelini tozalash uchun yumshoq, nam matodan foydalaning. Agar kerak bo'lsa, siz yumshoq tozalash vositasidan (masalan, idish yuvish suyuqligi) foydalanishingiz mumkin. Mikrofon kapsulasiga suyuqlik kirishiga yo'l qo'ymang va hech qachon erituvchi tozalagichlardan foydalanmang.
Ta'minlangan shamol qalqoni mikrofon kapsulasidan muntazam ravishda olib tashlanishi va toza suvda tozalanishi kerak. Shamol qalqoni mikrofon ustiga qaytarilishidan oldin butunlay quruq ekanligiga ishonch hosil qiling.
Xizmat
Xizmat ko'rsatish faqat malakali xizmat ko'rsatuvchi xodimlar tomonidan amalga oshirilishi kerak. Mikrofonni o'zingiz qismlarga ajratish kafolatni bekor qiladi.
Versiya
| Model | Tavsif | Buyurtma raqami |
| TG L58c | Mini kondensatorli lavalier mikrofoni, har tomonlama, qora, 4 pinli ayol mini XLR ulagichi bilan | 705.926 |
| TG L58c tan | yuqoridagidek, lekin bej | 706.221 |
Yetkazib berilgan aksessuarlar
Mikrofon qisqichi
Shamol qalqoni
Ixtiyoriy aksessuarlar
| MA-PVA | Fantom quvvatli mikrofon kirishlariga ulanish uchun fantom quvvat adapteri | 711.098 |
| WA-TGOP | TG pin tayinlanishi bilan mikrofonlarni Opus kamarli uzatgichlariga ulash uchun adapter kabeli. 4 pinli mini XLR (M) – 4 pinli mini XLR (F) | 711.136 |
| WS 55 SW | Shamol qalqoni, qora | 904.236 |
| WS 55 WS | Shamol qalqoni, oq | 904.244 |
Chiqindilarni utilizatsiya qilish

Mahsulot, ko'rsatmalar yoki qadoqdagi ushbu belgi sizning elektr va elektron jihozlaringiz xizmat muddati tugagandan so'ng maishiy chiqindilardan alohida utilizatsiya qilinishi kerakligini anglatadi. Yevropa Ittifoqida qayta ishlash uchun alohida yig'ish tizimlari mavjud. Qo'shimcha ma'lumot olish uchun mahalliy hokimiyatga yoki mahsulotni sotib olgan sotuvchingizga murojaat qiling.
Texnik xususiyatlar
| Transduser turi | Kondensator (elektret) |
| Ishlash printsipi | Bosim |
| Polar naqsh | Har tomonlama |
| Chastota javobi | 20 - 20,000 Hz* |
| Ochiq kontaktlarning zanjiri kuchlanishi | 40 mV/Pa (-28 dBV) ±2.5 dB* |
| Maks. SPL 1 kHz da | 126 dB SPL* |
| S/N nisbati | 51 dB [CCIR; Q-Peak]* |
| Ekvivalent SPL | 32 dB [A, RMS]* |
| Quvvat manbai turi | DC |
| Maks. quvvat sarfi | 0.5 mA |
| Ta'minot kuchlanishi | 2 V dan 10 V gacha |
| Ulagich | 4 pinli mini XLR |
| O'lchamlar | |
| Kapsula diametri | 7.0 mm |
| Uzunlik | 15.8 mm |
| Kabel uzunligi | 1.2 m |
| Qisqichsiz og'irligi | 13 g |
*MA-PVA bilan o'lchangan

Qo'llanmani yuklab olish
Bu yerda siz qo'llanmaning to'liq pdf versiyasini yuklab olishingiz mumkin, u qo'shimcha xavfsizlik ko'rsatmalari, kafolat ma'lumotlari, FCC qoidalari va hokazolarni o'z ichiga olishi mumkin.
Beyerdynamic TG L58c, TG L58c tan - Kondensatorli mikrofonlar qo'llanmasi ni yuklab olish