Zanussi ZHRN383K - Ръководство за керамичен плот

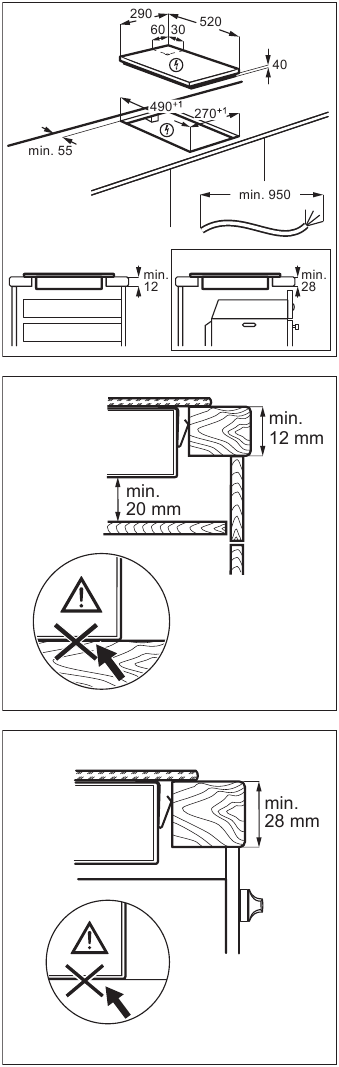
ИНСТАЛАЦИЯ
Вижте главите за безопасност.
Преди инсталацията
Преди да инсталирате плота, запишете серийния номер от табелката с данни. Табелката с данни е на дъното на плота.
Вградени плотове
Използвайте вградените плотове само след като сте сглобили плота в правилните вградени единици и работни повърхности, които отговарят на стандартите.
Прикрепване на уплътнението

Инсталация отгоре
- Почистете плота около изрязаната област.
- Прикрепете предоставената уплътнителна лента 2x6 mm към долния ръб на плота, по външния ръб на стъклокерамиката. Не я разтягайте. Уверете се, че краищата на уплътнителната лента са разположени в средата на едната страна на плота.
- Добавете няколко милиметра към дължината, когато режете уплътнителната лента.
- Съединете двата края на уплътнителната лента заедно.
Монтаж
Ако инсталирате плота под абсорбатор, моля, вижте инструкциите за инсталиране на абсорбатора за минималното разстояние между уредите.


Инсталиране на повече от един уред

Свързващ кабел
- Плотът се доставя със свързващ кабел.
- За да смените повредения захранващ кабел, използвайте кабел: H03V2V2-F или H05BB-F, който издържа на температура от 90°C или по-висока. Свържете се с оторизиран сервизен център. Свързващият кабел може да бъде заменен само от квалифициран електротехник.
ОПИСАНИЕ НА ПРОДУКТА
Разположение на повърхността за готвене

- Зона за готвене
- Контролен панел
Разположение на контролния панел

Използвайте сензорните полета, за да управлявате уреда. Дисплеите, индикаторите и звуците показват кои функции работят.
| Сензорно поле | Функция | Коментар | |
![]() | ![]() | Включване / Изключване (On / Off) | За активиране и деактивиране на плота. |
![]() | ![]() | Заключване / Устройство за безопасност за деца (Lock / Child Safety Device) | За заключване / отключване на контролния панел. |
![]() | ![]() | Пауза (Pause) | За активиране и деактивиране на функцията. |
![]() | ![]() | - | За активиране и деактивиране на външния пръстен. |
![]() | - | Дисплей за настройка на топлината | За показване на настройката на топлината. |
![]() | - | Индикатори за таймер на зоните за готвене | За да покаже за коя зона сте задали времето. |
![]() | - | Дисплей на таймера | За показване на времето в минути. |
![]() | ![]() | - | За избор на зоната за готвене. |
![]() | ![]() | - | За увеличаване или намаляване на времето. |
![]() | ![]() | - | За задаване на настройка на топлината. |
Дисплеи за настройка на топлината
| Дисплей | Описание |
![]() | Зоната за готвене е деактивирана. |
![]() | Зоната за готвене работи. |
![]() | Паузата (Pause) работи. |
+ цифра | Има неизправност. |
![]() | OptiHeat Control (3-степенен индикатор за остатъчна топлина): продължете готвенето / поддържайте топло / остатъчна топлина. |
![]() | Заключването / Устройството за безопасност за деца (Lock / Child Safety Device) работи. |
![]() | Автоматичното изключване (Automatic Switch Off) работи. |
ЕЖЕДНЕВНА УПОТРЕБА
Вижте главите за безопасност.
Активиране и деактивиране
Докоснете
за 1 секунда, за да активирате или деактивирате котлона.
Автоматично изключване
Функцията деактивира котлона автоматично, ако:
- всички зони за готвене са деактивирани,
- не зададете степен на нагряване, след като активирате котлона,
- разлеете нещо или поставите нещо върху контролния панел за повече от 10 секунди (тиган, кърпа и т.н.). Звучи акустичен сигнал и котлонът се деактивира. Отстранете обекта или почистете контролния панел.
- не деактивирате зона за готвене или не промените степента на нагряване. След известно време
светва и котлонът се деактивира.
Връзката между степента на нагряване и времето, след което котлонът се деактивира:
| Степен на нагряване | Котлонът се деактивира след |
, 1 - 2 | 6 часа |
| 3 - 4 | 5 часа |
| 5 | 4 часа |
| 6 - 9 | 1,5 часа |
Степента на нагряване
Докоснете
, за да увеличите степента на нагряване. Докоснете
, за да намалите степента на нагряване. Докоснете
и
едновременно, за да деактивирате зоната за готвене.
OptiHeat Control (3-степенен индикатор за остатъчна топлина)
Докато индикаторът свети, има риск от изгаряния от остатъчната топлина.
Индикаторите се появяват, когато зоната за готвене е гореща. Те показват нивото на остатъчната топлина за зоните за готвене, които използвате в момента:
- продължете да готвите,
- поддържайте топло,
- остатъчна топлина.
Индикаторът може да се появи и:
- за съседните зони за готвене, дори ако не ги използвате,
- когато горещи съдове за готвене са поставени върху студена зона за готвене,
- когато котлонът е деактивиран, но зоната за готвене е все още гореща.
Индикаторът изчезва, когато зоната за готвене се охлади.
Активиране и деактивиране на външните кръгове
Можете ръчно да регулирате повърхността за готвене според размерите на съдовете за готвене.
Задайте степен на нагряване за зоната за готвене. Изберете символа, предназначен за зоната за готвене:
.
За да активирате външния кръг: докоснете символа. Индикаторът се появява.
За да деактивирате външния кръг: докоснете символа, докато индикаторът изчезне.
Таймер
- Таймер за обратно отброяване
Можете да използвате тази функция, за да зададете продължителността на една сесия на готвене.
Първо задайте степента на нагряване за зоната за готвене, след това задайте функцията.
За да зададете зоната за готвене: докоснете
многократно, докато се появи индикаторът на зона за готвене.
За да активирате функцията или да промените времето: докоснете
или
на таймера, за да зададете времето (00 - 99 минути). Когато индикаторът на зоната за готвене започне да мига, времето отброява.
За да видите оставащото време: докоснете
, за да зададете зоната за готвене. Индикаторът на зоната за готвене започва да мига. Дисплеят показва оставащото време.
За да деактивирате функцията: докоснете
, за да зададете зоната за готвене и след това докоснете
. Остатъчното време отброява до 00. Индикаторът на зоната за готвене изчезва.
Когато обратното отброяване завърши, звучи акустичен сигнал и 00 мига. Зоната за готвене се деактивира.
За да спрете звука: докоснете
.
- Минутен напомнител
Можете да използвате тази функция, когато котлонът е активиран и зоните за готвене не работят. Дисплеят за степента на нагряване показва
.
За да активирате функцията: докоснете
и след това докоснете
или
на таймера, за да зададете времето. Когато времето изтече, звучи акустичен сигнал и 00 мига.
За да спрете звука: докоснете
.
За да деактивирате функцията: докоснете
и след това докоснете
. Остатъчното време отброява до 00.
Функцията не оказва влияние върху работата на зоните за готвене.
Пауза
Тази функция задава всички зони за готвене, които работят, на най-ниската степен на нагряване.
Когато функцията работи, всички други символи на контролните панели са заключени.
Функцията не спира таймера
- За да активирате функцията: натиснете
.
светва. Степента на нагряване се понижава до 1. - За да деактивирате функцията: натиснете
. Предишната степен на нагряване светва.
Заключване
Можете да заключите контролния панел, докато зоните за готвене работят. Това предотвратява случайна промяна на степента на нагряване.
Първо задайте степента на нагряване.
За да активирате функцията: докоснете
.
светва за 4 секунди. Таймерът остава включен.
За да деактивирате функцията: докоснете
. Предишната степен на нагряване светва.
Когато деактивирате котлона, вие също деактивирате тази функция.
Защита за деца
Тази функция предотвратява случайното включване на котлона.
За да активирате функцията: активирайте котлона с
. Не задавайте никаква степен на нагряване. Докоснете
за 4 секунди.
светва. Деактивирайте котлона с
.
За да деактивирате функцията: активирайте котлона с
. Не задавайте никаква степен на нагряване. Докоснете
за 4 секунди.
светва. Деактивирайте котлона с
.
За да отмените функцията само за едно готвене: активирайте котлона с
.
светва. Докоснете
за 4 секунди. Задайте степента на нагряване за 10 секунди. Можете да работите с котлона. Когато деактивирате котлона с
, функцията отново работи.
OffSound Control
Деактивиране и активиране на звуците
Деактивирайте котлона. Докоснете
за 3 секунди. Дисплеят светва и изгасва. Докоснете
за 3 секунди.
или
светва. Докоснете
на предната лява зона, за да изберете едно от следните:
- звуците са изключени
- звуците са включени
За да потвърдите избора си, изчакайте, докато котлонът се деактивира автоматично.
Когато функцията е настроена на
, можете да чувате звуците само когато:
- докоснете
![]()
- Минутният напомнител изтече
- Таймерът за обратно отброяване изтече
- поставите нещо върху контролния панел.
СЪВЕТИ И ТРИКОВЕ
Вижте главите за безопасност.
Съдове за готвене
- Дъното на съдовете за готвене трябва да е възможно най-дебело и плоско.
- Уверете се, че дъната на тиганите са чисти и сухи, преди да ги поставите върху повърхността на котлона.
- За да избегнете надрасквания, не плъзгайте и не търкайте тенджерата по керамичното стъкло.
Съдовете за готвене, изработени от емайлирана стомана и с алуминиеви или медни дъна, могат да причинят промяна в цвета на стъклокерамичната повърхност.
Примери за приложения при готвене
Данните в таблицата са само за ориентиране.
| Степен на нагряване | Използвайте за: | Време (мин) | Съвети |
- 1 | Поддържайте сготвената храна топла. | според нуждите | Поставете капак върху съда за готвене. |
| 1 - 2 | Сос "Холандез", разтопяване на: масло, шоколад, желатин. | 5 - 25 | Разбърквайте от време на време. |
| 2 | Втвърдяване: пухкави омлети, печени яйца. | 10 - 40 | Гответе с капак. |
| 2 - 3 | Варене на ориз и ястия на млечна основа, загряване на готови ястия. | 25 - 50 | Добавете поне два пъти повече течност от ориза, разбъркайте млечните ястия по средата на процедурата. |
| 3 - 4 | Задушаване на зеленчуци, риба, месо. | 20 - 45 | Добавете няколко супени лъжици вода. Проверявайте количеството вода по време на процеса. |
| 4 - 5 | Готвене на пара на картофи и други зеленчуци. | 20 - 60 | Покрийте дъното на тенджерата с 1-2 см вода. Проверявайте нивото на водата по време на процеса. Дръжте капака на тенджерата. |
| 4 - 5 | Готвене на по-големи количества храна, яхнии и супи. | 60 - 150 | До 3 л течност плюс съставки. |
| 6 - 7 | Леко пържене: ескалоп, телешки кордон бльо, котлети, кюфтета, колбаси, черен дроб, запръжка, яйца, палачинки, понички. | според нуждите | Обърнете, когато е необходимо. |
| 7 - 8 | Силно пържене, хаш кафяви, филета от филе, стекове. | 5 - 15 | Обърнете, когато е необходимо. |
| 9 | Варене на вода, готвене на паста, запичане на месо (гулаш, печено в тенджера), пържене на чипс. | ||
ПОДДРЪЖКА И ПОЧИСТВАНЕ
Вижте главите за безопасност.
Обща информация
- Почиствайте котлона след всяка употреба.
- Винаги използвайте съдове за готвене с чиста основа.
- Драскотините или тъмните петна по повърхността не оказват влияние върху работата на котлона.
- Използвайте специален почистващ препарат, подходящ за повърхността на котлона.
- Използвайте специален скрепер за стъклото.
Почистване на уреда
Отстранете незабавно: разтопена пластмаса, пластмасово фолио, сол, захар и храна със захар, в противен случай замърсяването може да причини повреда на котлона. Внимавайте да избягвате изгаряния. Използвайте специален скрепер за котлони върху стъклената повърхност под остър ъгъл и движете острието по повърхността.- Отстранете, когато котлонът е достатъчно охладен: варовикови пръстени, водни пръстени, мазни петна, лъскава метална промяна в цвета. Почистете котлона с влажна кърпа и неабразивен препарат. След почистване избършете котлона на сухо с мека кърпа.
- Премахнете лъскавата метална промяна в цвета: използвайте разтвор на вода с оцет и почистете стъклената повърхност с кърпа.
ОТСТРАНЯВАНЕ НА НЕИЗПРАВНОСТИ
Вижте главите за безопасност.
Какво да направите, ако...
| Проблем | Възможна причина | Решение |
| Не можете да активирате или да работите с котлона. | Котлонът не е свързан към електрическо захранване или е свързан неправилно. | Проверете дали котлонът е правилно свързан към електрическото захранване. |
| Предпазителят е изгорял. | Уверете се, че предпазителят е причината за неизправността. Ако предпазителят изгаря отново и отново, свържете се с квалифициран електротехник. | |
| Не сте задали настройката на топлината за 10 секунди. | Активирайте отново котлона и задайте настройката на топлината за по-малко от 10 секунди. | |
| Докоснахте 2 или повече сензорни полета едновременно. | Докосвайте само едно сензорно поле. | |
| "Pause" (Пауза) работи. | Вижте "Pause" (Пауза). | |
| Има вода или мазни петна по контролния панел. | Почистете контролния панел. | |
| Чувате постоянен звук на бип. | Електрическата връзка е неправилна. | Изключете котлона от електрическото захранване. Помолете квалифициран електротехник да провери инсталацията. |
| Звучи акустичен сигнал и котлонът се деактивира. Звучи акустичен сигнал, когато котлонът е деактивиран. | Поставили сте нещо върху едно или повече сензорни полета. | Премахнете обекта от сензорните полета. |
| Котлонът се деактивира. | Поставили сте нещо върху сензорното поле . | Премахнете обекта от сензорното поле. |
| Индикаторът за остатъчна топлина не светва. | Зоната не е гореща, защото е работила само за кратко време или сензорът е повреден. | Ако зоната е работила достатъчно дълго, за да бъде гореща, говорете с оторизиран сервизен център. |
| Не можете да активирате външния пръстен. | Зоната за готвене не е активирана. | Първо задайте настройка на топлината за зоната за готвене. |
![]() Има тъмна област на многократната зона. | Нормално е да има тъмна област на многократната зона. | |
| Контролният панел става горещ на допир. | Съдовете за готвене са твърде големи или сте ги поставили твърде близо до контролния панел. | Поставете големи съдове за готвене на задните зони, ако е възможно. |
| Няма звук, когато докоснете сензорните полета на панела. | Звуците са деактивирани. | Активирайте звуците. Вижте "Daily use" (Ежедневна употреба). |
светва. | Устройството за безопасност за деца или заключването работи. | Вижте "Daily use" (Ежедневна употреба). |
и номер светват. | Има грешка в котлона. | Деактивирайте котлона и го активирайте отново след 30 секунди. Ако светне отново, изключете котлона от електрическото захранване. След 30 секунди свържете отново котлона. Ако проблемът продължава, говорете с оторизиран сервизен център. |
светва. | Втората фаза на захранването липсва. | Проверете дали котлонът е правилно свързан към електрическото захранване. Извадете предпазителя, изчакайте една минута и поставете отново предпазителя. |
Ако не можете да намерите решение...
Ако не можете да намерите решение на проблема сами, свържете се с вашия дилър или оторизиран сервизен център. Дайте данните от табелката с характеристики. Дайте също трицифрения буквен код за стъклокерамиката (той е в ъгъла на стъклената повърхност) и съобщение за грешка, което се появява. Уверете се, че сте работили правилно с котлона. Ако не, обслужването от сервизен техник или дилър няма да бъде безплатно, дори и по време на гаранционния период. Информацията за гаранционния период и оторизираните сервизни центрове е в гаранционната книжка.
ТЕХНИЧЕСКИ ДАННИ
Табелка с характеристики
Model ZHRN383K
Typ 60 HED D1 KO
PNC 949 492 577 00
220 - 240 V, 50 - 60 Hz
Made in: Romania
2.9 kW
Спецификация на зоните за готвене
| Зона за готвене | Номинална мощност (максимална настройка на топлината) [W] | Диаметър на зоната за готвене [mm] |
| Средна предна | 1200 | 145 |
| Средна задна | 700 / 1700 | 120 / 180 |
За оптимални резултати при готвене използвайте съдове за готвене, които не са по-големи от диаметъра на зоната за готвене.
ЕНЕРГИЙНА ЕФЕКТИВНОСТ
Информационен лист за продукта съгласно Регламента на Обединеното кралство за екодизайн
| Идентификация на модела | ZHRN383K | |
| Тип котлон | Вграден котлон | |
| Брой зони за готвене | 2 | |
| Технология на отопление | Лъчист нагревател | |
| Диаметър на кръглите зони за готвене (Ø) | Средна предна | 14.5 cm |
| Средна задна | 18.0 cm | |
| Консумация на енергия на зона за готвене (EC electric cooking) | Средна предна | 188.0 Wh/kg |
| Средна задна | 191.6 Wh/kg | |
| Консумация на енергия на котлона (EC electric hob) | 189.8 Wh/kg | |
Спестяване на енергия
Можете да спестите енергия по време на ежедневното готвене, ако следвате съветите по-долу.
- Когато загрявате вода, използвайте само количеството, от което се нуждаете.
- Ако е възможно, винаги поставяйте капаците върху съдовете за готвене.
- Преди да активирате зоната за готвене, поставете съдовете за готвене върху нея.
- Дъното на съдовете за готвене трябва да има същия диаметър като зоната за готвене.
- Поставете по-малките съдове за готвене върху по-малките зони за готвене.
- Поставете съдовете за готвене директно в центъра на зоната за готвене.
- Използвайте остатъчната топлина, за да поддържате храната топла или да я разтопите.
ИНФОРМАЦИЯ ЗА БЕЗОПАСНОСТ
Преди инсталирането и използването на уреда прочетете внимателно предоставените инструкции. Производителят не носи отговорност за наранявания или щети, които са резултат от неправилно инсталиране или употреба. Винаги съхранявайте инструкциите на безопасно и достъпно място за бъдещи справки.
Безопасност на деца и уязвими хора
- Този уред може да се използва от деца на възраст над 8 години и лица с намалени физически, сензорни или умствени способности или липса на опит и знания, ако са получили надзор или инструкции относно използването на уреда по безопасен начин и разбират свързаните с това опасности. Деца на възраст под 8 години и лица с много големи и сложни увреждания трябва да бъдат държани далеч от уреда, освен ако не са под постоянен надзор.
- Децата трябва да бъдат наблюдавани, за да се гарантира, че не си играят с уреда.
- Съхранявайте всички опаковки далеч от деца и ги изхвърляйте по подходящ начин.
Уредът и неговите достъпни части се нагорещяват по време на употреба. Дръжте децата и домашните любимци далеч от уреда, когато е в употреба и когато се охлажда.- Ако уредът има устройство за безопасност за деца, то трябва да бъде активирано.
- Децата не трябва да извършват почистване и поддръжка на уреда без надзор.
Обща безопасност
- Този уред е само за готвене.
- Този уред е предназначен за еднократно домакинско използване в закрити помещения.
- Този уред може да се използва в офиси, хотелски стаи, стаи за гости със закуска, селски къщи за гости и други подобни места за настаняване, където подобна употреба не надвишава (средните) нива на домашна употреба.
Уредът и неговите достъпни части се нагорещяват по време на употреба. Трябва да се внимава да се избягва докосването на нагревателните елементи.
Готвенето без надзор на котлон с мазнина или олио може да бъде опасно и може да доведе до пожар.- Никога не използвайте вода, за да угасите огъня при готвене. Изключете уреда и покрийте пламъците с напр. пожарогасително одеяло или капак.
Уредът не трябва да се захранва чрез външно превключващо устройство, като например таймер, или да бъде свързан към верига, която редовно се включва и изключва от комунално предприятие.
Процесът на готвене трябва да бъде наблюдаван. Краткосрочният процес на готвене трябва да бъде наблюдаван непрекъснато.
Не съхранявайте предмети върху повърхностите за готвене.- Метални предмети като ножове, вилици, лъжици и капаци не трябва да се поставят върху повърхността на котлона, тъй като могат да се нагорещят.
- Не използвайте уреда, преди да го инсталирате във вградената конструкция.
- Не използвайте парочистачка за почистване на уреда.
- Ако стъклокерамичната повърхност / стъклената повърхност е напукана, изключете уреда и го изключете от електрическата мрежа. В случай че уредът е свързан към електрическата мрежа директно с помощта на разклонителна кутия, извадете предпазителя, за да изключите уреда от захранването. И в двата случая се свържете с оторизирания сервизен център.
- Ако захранващият кабел е повреден, той трябва да бъде заменен от производителя, оторизиран сервиз или лица с подобна квалификация, за да се избегне опасност.
Използвайте само предпазители за котлони, проектирани от производителя на уреда за готвене или посочени от производителя на уреда в инструкциите за употреба като подходящи или предпазители за котлони, вградени в уреда. Използването на неподходящи предпазители може да причини злополуки.
ИНСТРУКЦИИ ЗА БЕЗОПАСНОСТ
Инсталация
- Отстранете всички опаковки.
- Не инсталирайте и не използвайте повреден уред.
- Следвайте инструкциите за инсталиране, предоставени с уреда.
- Спазвайте минималното разстояние от други уреди и модули.
- Винаги бъдете внимателни, когато местите уреда, тъй като е тежък. Винаги използвайте предпазни ръкавици и затворени обувки.
- Запечатайте отрязаните повърхности на шкафа със запечатващ материал, за да предотвратите подуване, причинено от влага.
- Защитете дъното на уреда от пара и влага.
- Не инсталирайте уреда до врата или под прозорец. Това предотвратява падането на горещи съдове за готвене от уреда, когато вратата или прозорецът са отворени.
- Ако уредът е инсталиран над чекмеджета, уверете се, че пространството между дъното на уреда и горното чекмедже е достатъчно за циркулация на въздуха.
- Дъното на уреда може да се нагрее. Уверете се, че сте инсталирали разделителен панел, направен от шперплат, кухненски корпус или други незапалими материали под уреда, за да предотвратите достъп до дъното.
- Разделителният панел трябва да покрива напълно зоната под котлона.
Електрическо свързване
Риск от пожар и токов удар.
- Всички електрически връзки трябва да бъдат направени от квалифициран електротехник.
- Уредът трябва да бъде заземен.
- Преди да извършите каквато и да е операция, уверете се, че уредът е изключен от захранването.
- Уверете се, че параметрите на табелката с данни са съвместими с електрическите характеристики на електрическата мрежа.
- Уверете се, че уредът е инсталиран правилно. Разхлабеният и неправилен електрически захранващ кабел или щепсел (ако е приложимо) може да доведе до прегряване на клемата.
- Използвайте правилния електрически захранващ кабел.
- Не позволявайте на електрическия захранващ кабел да се заплита.
- Уверете се, че е инсталирана защита от токов удар.
- Използвайте скобата за освобождаване на напрежението на кабела.
- Уверете се, че захранващият кабел или щепсел (ако е приложимо) не докосват горещия уред или горещите съдове за готвене, когато свързвате уреда към контакт.
- Не използвайте адаптери с няколко щепсела и удължителни кабели.
- Уверете се, че не сте причинили повреда на захранващия щепсел (ако е приложимо) или на захранващия кабел. Свържете се с нашия оторизиран сервизен център или електротехник, за да смените повреден захранващ кабел.
- Защитата от токов удар на части под напрежение и изолирани части трябва да бъде закрепена по такъв начин, че да не може да бъде отстранена без инструменти.
- Свържете захранващия щепсел към захранващия контакт само в края на инсталацията. Уверете се, че има достъп до захранващия щепсел след инсталацията.
- Ако захранващият контакт е разхлабен, не свързвайте захранващия щепсел.
- Не дърпайте захранващия кабел, за да изключите уреда. Винаги дърпайте захранващия щепсел.
- Използвайте само правилни изолационни устройства: предпазни прекъсвачи на линията, предпазители (предпазители тип винт, извадени от държача), устройства за защита от утечки и контактори.
- Електрическата инсталация трябва да има изолационно устройство, което ви позволява да изключите уреда от електрическата мрежа на всички полюси. Изолационното устройство трябва да има минимална ширина на отваряне на контакта 3 mm.
Употреба
Риск от нараняване, изгаряния и токов удар.
- Не променяйте спецификацията на този уред.
- Отстранете всички опаковки, етикети и защитно фолио (ако е приложимо) преди първата употреба.
- Уверете се, че вентилационните отвори не са блокирани.
- Не оставяйте уреда без надзор по време на работа.
- Задайте зоната за готвене на "off" (изключено) след всяка употреба.
- Не поставяйте прибори за хранене или капаци за тенджери върху зоните за готвене. Те могат да се нагреят.
- Не работете с уреда с мокри ръце или когато има контакт с вода.
- Не използвайте уреда като работна повърхност или като повърхност за съхранение.
Ако повърхността на уреда е напукана, незабавно изключете уреда от захранването. Това е за да се предотврати токов удар.
- Когато поставяте храна в горещо олио, тя може да пръска.
Риск от пожар и експлозия
- Мазнините и олиото, когато се нагреят, могат да отделят запалими пари. Дръжте пламъци или нагрети предмети далеч от мазнини и масла, когато готвите с тях.
- Парите, които много горещото олио отделя, могат да причинят спонтанно запалване.
Използваното олио, което може да съдържа остатъци от храна, може да причини пожар при по-ниска температура от олиото, използвано за първи път.
- Не поставяйте запалими продукти или предмети, които са мокри със запалими продукти, в, близо до или върху уреда.
Риск от повреда на уреда.
- Не дръжте горещи съдове за готвене върху контролния панел.
- Не поставяйте горещ капак на тиган върху стъклената повърхност на котлона.
- Не позволявайте на съдовете за готвене да изсъхнат.
- Внимавайте да не изпускате предмети или съдове за готвене върху уреда. Повърхността може да се повреди.
- Не активирайте зоните за готвене с празни съдове за готвене или без съдове за готвене.
- Не поставяйте алуминиево фолио върху уреда.
- Съдовете за готвене, изработени от чугун, алуминий или с повредено дъно, могат да причинят драскотини по стъклото / стъклокерамиката. Винаги повдигайте тези предмети, когато трябва да ги преместите върху повърхността за готвене.
Грижа и почистване
- Почиствайте уреда редовно, за да предотвратите влошаването на повърхностния материал.
- Изключете уреда и го оставете да се охлади преди почистване.
- Не използвайте воден спрей и пара за почистване на уреда.
- Почистете уреда с влажна мека кърпа. Използвайте само неутрални почистващи препарати. Не използвайте абразивни продукти, абразивни почистващи подложки, разтворители или метални предмети.
Сервиз
- За да поправите уреда, се свържете с оторизирания сервизен център. Използвайте само оригинални резервни части.
- Относно лампата(ите) вътре в този продукт и резервните лампи, продавани отделно: Тези лампи са предназначени да издържат на екстремни физически условия в домакински уреди, като температура, вибрации, влажност или са предназначени да сигнализират информация за работното състояние на уреда. Те не са предназначени за използване в други приложения и не са подходящи за осветяване на стаи в домакинството.
ПОСЕТЕТЕ НАШИЯ УЕБСАЙТ, ЗА ДА:
Получите съвети за употреба, брошури, отстраняване на неизправности, информация за сервиз и ремонт: www.zanussi.com/support
Подлежи на промяна без предизвестие.

Препратки
Изтегли ръководство
Тук можете да изтеглите пълната версия на ръководството в pdf формат, което може да съдържа допълнителни инструкции за безопасност, информация за гаранцията, правила на FCC и др.
Изтегли Zanussi ZHRN383K - Ръководство за керамичен плот






















.
светва. Степента на нагряване се понижава до 1.
-
