Pioneer DEH-S410BT, DEH-S41BT, DEH-S310BT Kurzanleitung
- 1 Bevor Sie beginnen
- 2 Anschlüsse
- 3 Dieses Gerät
- 4 Netzkabel
- 5 Leistungsverstärker (separat erhältlich)
- 6 Einbau
- 7 DIN-Einbau
- 8 Mikrofoninstallation
- 9 Installation an der Sonnenblende
- 10 Installation an der Lenksäule
- 11 Grundlegende Bedienung
- 12 Setup-Vorgang
- 13 Tuner-Bedienung
- 14 CD-/USB-/iPhone-/AUX-Bedienung
- 15 Bluetooth-Verbindung
- 16 Bluetooth-Telefon
- 17 Herstellen einer Verbindung mit Pioneer Smart Sync
- 18 Spotify hören
- 19 Referenzen
- 20 Anleitung herunterladen
- 21 In anderen Sprachen

Bevor Sie beginnen
Vielen Dank für den Kauf dieses PIONEER-Produkts
Um eine ordnungsgemäße Verwendung zu gewährleisten, lesen Sie diese Anleitung bitte vor der Benutzung dieses Produkts. Es ist besonders wichtig, dass Sie die WARNHINWEISE und VORSICHTSHINWEISE in dieser Anleitung lesen und beachten. Bewahren Sie die Anleitung bitte an einem sicheren und zugänglichen Ort zum späteren Nachschlagen auf.

Wenn Sie dieses Produkt entsorgen möchten, entsorgen Sie es nicht zusammen mit dem allgemeinen Hausmüll. Es gibt ein separates Sammelsystem für gebrauchte Elektronikprodukte gemäß der Gesetzgebung, die eine ordnungsgemäße Behandlung, Rückgewinnung und Recycling vorschreibt.
Private Haushalte in den Mitgliedstaaten der EU, in der Schweiz und in Norwegen können ihre gebrauchten Elektronikprodukte kostenlos an dafür vorgesehene Sammelstellen oder an einen Händler (wenn Sie ein ähnliches neues Gerät kaufen) zurückgeben.
Für oben nicht genannte Länder wenden Sie sich bitte an Ihre lokalen Behörden, um die korrekte Entsorgungsmethode zu erfahren. Auf diese Weise stellen Sie sicher, dass Ihr entsorgtes Produkt die notwendige Behandlung, Rückgewinnung und Recycling erfährt und somit potenzielle negative Auswirkungen auf Umwelt und menschliche Gesundheit verhindert werden.
- Versuchen Sie nicht, dieses Produkt selbst zu installieren oder zu warten. Die Installation oder Wartung dieses Produkts durch Personen ohne Ausbildung und Erfahrung in elektronischen Geräten und Kfz-Zubehör kann gefährlich sein und Sie dem Risiko von Stromschlägen, Verletzungen oder anderen Gefahren aussetzen.
- Versuchen Sie nicht, das Gerät während der Fahrt zu bedienen. Fahren Sie unbedingt von der Straße ab und parken Sie Ihr Fahrzeug an einem sicheren Ort, bevor Sie versuchen, die Bedienelemente des Geräts zu verwenden.
- Lassen Sie dieses Gerät nicht mit Feuchtigkeit und/oder Flüssigkeiten in Berührung kommen. Dies könnte zu einem Stromschlag führen. Auch Schäden am Gerät, Rauchbildung und Überhitzung könnten durch den Kontakt mit Flüssigkeiten entstehen.
- Halten Sie die Lautstärke immer niedrig genug, um Außengeräusche hören zu können.
- Der Pioneer CarStereo-Pass ist nur zur Verwendung in Deutschland.
- Dieses Produkt wurde unter moderaten und tropischen Klimabedingungen gemäß den Sicherheitsanforderungen für Audio-, Video- und ähnliche elektronische Geräte, IEC 60065, bewertet.
Dieses Produkt ist ein Laserprodukt der Klasse 1, klassifiziert unter der Sicherheit von Laserprodukten, IEC 60825-1:2007

Bei Problemen
Sollte dieses Gerät nicht ordnungsgemäß funktionieren, wenden Sie sich bitte an Ihren Händler oder die nächste autorisierte PIONEER Servicestation.
Anschlüsse
- Wenn Sie dieses Gerät in einem Fahrzeug ohne ACC (Zubehör)-Position am Zündschalter installieren, kann das Nichtanschließen des roten Kabels an die Klemme, die den Betrieb des Zündschlüssels erkennt, zu einer Entladung der Batterie führen.
![]()
- Die Verwendung dieses Geräts unter anderen als den folgenden Bedingungen kann zu Brand oder Fehlfunktion führen.
- Fahrzeuge mit einer 12-Volt-Batterie und Masseverbindung.
- Wenn der Lautsprecherausgang von 4 Kanälen verwendet wird, verwenden Sie Lautsprecher mit über 50 W (maximale Eingangsleistung) und zwischen 4 Ω und 8 Ω (Impedanzwert). Verwenden Sie für dieses Gerät keine 1 Ω bis 3 Ω Lautsprecher.
- Wenn der hintere Lautsprecherausgang von 2 Ω eines Subwoofers verwendet wird, verwenden Sie Lautsprecher mit über 70 W (maximale Eingangsleistung).
* Eine Verbindungsmethode finden Sie unter Anschlüsse.
- Um Kurzschlüsse, Überhitzung oder Fehlfunktionen zu vermeiden, befolgen Sie unbedingt die nachstehenden Anweisungen.
- Trennen Sie vor der Installation den Minuspol der Batterie.
- Befestigen Sie die Verkabelung mit Kabelklemmen oder Isolierband. Wickeln Sie Isolierband um Kabel, die mit Metallteilen in Berührung kommen, um die Verkabelung zu schützen.
- Verlegen Sie alle Kabel fern von beweglichen Teilen, wie dem Schalthebel und den Sitzschienen.
- Verlegen Sie alle Kabel fern von heißen Stellen, wie z. B. in der Nähe des Heizungsauslasses.
- Verbinden Sie das gelbe Kabel nicht mit der Batterie, indem Sie es durch das Loch zum Motorraum führen.
- Decken Sie alle nicht angeschlossenen Kabelstecker mit Isolierband ab.
- Kürzen Sie keine Kabel.
- Schneiden Sie niemals die Isolierung des Stromkabels dieses Geräts ab, um die Stromversorgung mit anderen Geräten zu teilen. Die Stromkapazität des Kabels ist begrenzt.
- Verwenden Sie eine Sicherung der vorgeschriebenen Nennleistung.
- Verbinden Sie das negative Lautsprecherkabel niemals direkt mit Masse.
- Verbinden Sie niemals die negativen Kabel mehrerer Lautsprecher miteinander.
- Wenn dieses Gerät eingeschaltet ist, werden Steuersignale über das blau/weiße Kabel gesendet. Verbinden Sie dieses Kabel mit der Systemfernbedienung eines externen Leistungsverstärkers oder der Kfz-Antennenrelais-Steuerklemme (max. 300mA 12 V DC). Ist das Fahrzeug mit einer Glasantenne ausgestattet, schließen Sie es an die Stromversorgungsklemme des Antennenverstärkers an.
- Verbinden Sie das blau/weiße Kabel niemals mit der Stromklemme eines externen Leistungsverstärkers. Schließen Sie es auch niemals an die Stromklemme der Autoantenne an. Dies kann zu einer Entladung der Batterie oder einer Fehlfunktion führen.
- Das schwarze Kabel ist Masse. Massekabel für dieses Gerät und andere Geräte (insbesondere Hochstromprodukte wie Leistungsverstärker) müssen separat verkabelt werden. Ist dies nicht der Fall, kann eine versehentliche Trennung zu Brand oder Fehlfunktion führen.
- Das grafische Symbol
auf dem Produkt bedeutet Gleichstrom.
Dieses Gerät

- Netzkabeleingang
- Mikrofoneingang
- Mikrofon (3 m)
- Hinterausgang oder Subwoofer-Ausgang
- Frontausgang
- Antenneneingang
- Sicherung (10 A)
- Eingang für kabelgebundene Fernbedienung
Kabelgebundener Fernbedienungsadapter kann angeschlossen werden (separat erhältlich).
Netzkabel

- Zum Netzkabeleingang
- Je nach Fahrzeugtyp kann die Funktion von
und
unterschiedlich sein. In diesem Fall stellen Sie sicher, dass Sie
mit
und
mit
verbinden. - Gelb
Dauerplus (oder Zubehör) - Gelb
An die Klemme für konstante 12-V-Versorgung anschließen. - Rot
Zündung (oder Dauerplus) - Rot
An die vom Zündschloss gesteuerte Klemme anschließen (12 V DC). - Kabel gleicher Farbe miteinander verbinden.
- Schwarz (Masse)
- Blau/weiß
Die Pin-Belegung des ISO-Steckers kann je nach Fahrzeugtyp variieren. Verbinden Sie
und
wenn Pin 5 ein Antennensteuerungstyp ist. Bei einem anderen Fahrzeugtyp verbinden Sie niemals
und ![]()
- Blau/weiß
An die Systemsteuerklemme des Leistungsverstärkers anschließen (max. 300 mA 12 V DC). - Blau/weiß An die Relais-Steuerklemme der Autoantenne anschließen (max. 300 mA 12 V DC).
- Lautsprecherkabel
Weiß: Vorne links![]()
Weiß/schwarz: Vorne links![]()
Grau: Vorne rechts![]()
Grau/schwarz: Vorne rechts![]()
Grün: Hinten links
oder Subwoofer ![]()
Grün/schwarz: Hinten links
oder Subwoofer ![]()
Violett: Hinten rechts
oder Subwoofer ![]()
Violett/schwarz: Hinten rechts
oder Subwoofer ![]()
- ISO-Stecker In einigen Fahrzeugen kann der ISO-Stecker in zwei Teile geteilt sein. In diesem Fall stellen Sie sicher, dass Sie beide Stecker verbinden.
HINWEISE:
- Ändern Sie das Anfangsmenü dieses Geräts. Siehe [SP-P/O MODE]. Der Subwoofer-Ausgang dieses Geräts ist monaural.
- Wenn Sie einen 2 Ω Subwoofer verwenden, stellen Sie sicher, dass Sie den Subwoofer an die violetten und violett/schwarzen Kabel dieses Geräts anschließen. Schließen Sie nichts an die grünen und grün/schwarzen Kabel an.
Leistungsverstärker (separat erhältlich)
Führen Sie diese Verbindungen durch, wenn Sie den optionalen Verstärker verwenden.

- Systemfernbedienung
An blau/weißes Kabel anschließen. - Leistungsverstärker (separat erhältlich)
- Mit RCA-Kabeln verbinden (separat erhältlich)
- Zum Frontausgang
- Frontlautsprecher
- Zum Hinterausgang oder Subwoofer-Ausgang
- Hinterlautsprecher oder Subwoofer
Einbau
- Überprüfen Sie alle Anschlüsse und Systeme vor dem endgültigen Einbau.
- Verwenden Sie keine nicht zugelassenen Teile, da dies zu Fehlfunktionen führen kann.
- Wenden Sie sich an Ihren Händler, wenn der Einbau das Bohren von Löchern oder andere Modifikationen am Fahrzeug erfordert.
- Installieren Sie dieses Gerät nicht dort, wo:
- es den Betrieb des Fahrzeugs beeinträchtigen könnte.
- es bei einem plötzlichen Stopp Verletzungen eines Passagiers verursachen könnte.
- Installieren Sie dieses Gerät fern von heißen Orten, wie z. B. in der Nähe des Heizungsauslasses.
- Optimale Leistung wird erzielt, wenn das Gerät in einem Winkel von weniger als 60° installiert wird.
![]()
- Stellen Sie beim Einbau sicher, dass Sie zur ordnungsgemäßen Wärmeableitung bei der Verwendung dieses Geräts ausreichend Platz hinter der Rückseite lassen und lose Kabel so wickeln, dass sie die Lüftungsschlitze nicht blockieren.
![Pioneer - DEH-S410BT - Ausreichend Platz lassen Ausreichend Platz lassen]()
DIN-Einbau
- Führen Sie die mitgelieferte Einbauhülse in das Armaturenbrett ein.
- Befestigen Sie die Einbauhülse, indem Sie mit einem Schraubendreher die Metalllaschen (90°) umbiegen.
![Pioneer - DEH-S410BT - DIN-Einbau DIN-Einbau]()
- Armaturenbrett
- Einbauhülse
- Stellen Sie sicher, dass das Gerät sicher installiert ist. Eine instabile Installation kann zu Aussetzern oder anderen Fehlfunktionen führen.
Bei Nichtverwendung der mitgelieferten Einbauhülse
- Bestimmen Sie die geeignete Position, an der die Löcher an der Halterung und an der Seite des Geräts übereinstimmen.
![Pioneer - DEH-S410BT - Bei Nichtverwendung der mitgelieferten Einbauhülse Bei Nichtverwendung der mitgelieferten Einbauhülse]()
- Ziehen Sie zwei Schrauben auf jeder Seite fest.
- Blechschraube (5 mm × 9 mm, nicht im Lieferumfang enthalten)
- Montagehalterung
- Armaturenbrett oder Konsole
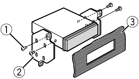
Entfernen des Geräts (mit der mitgelieferten Einbauhülse installiert)
- Blendenring entfernen.
- Blendenring
- Kerbe
- Das Lösen der Frontplatte ermöglicht einen leichteren Zugang zum Blendenring.
- Beim Wiederanbringen des Blendenrings zeigen Sie die Seite mit der Kerbe nach unten.
- Führen Sie die mitgelieferten Entriegelungsschlüssel in beide Seiten des Geräts ein, bis sie einrasten.
- Ziehen Sie das Gerät aus dem Armaturenbrett.
![Pioneer - DEH-S410BT - Ziehen Sie das Gerät aus dem Armaturenbrett. Ziehen Sie das Gerät aus dem Armaturenbrett.]()
Mikrofoninstallation
Das Mikrofon sollte direkt vor dem Fahrer in einem geeigneten Abstand platziert werden, um dessen Stimme klar aufzunehmen.
Es ist äußerst gefährlich, das Mikrofonkabel um die Lenksäule oder den Schalthebel wickeln zu lassen. Achten Sie darauf, das Mikrofon so zu installieren, dass es das Fahren nicht behindert. Es wird empfohlen, die Klemmen (separat erhältlich) zur Verlegung des Kabels zu verwenden.
HINWEIS: Je nach Fahrzeugmodell kann die Länge des Mikrofonkabels zu kurz sein, wenn Sie das Mikrofon an der Sonnenblende montieren. Installieren Sie das Mikrofon in solchen Fällen an der Lenksäule.
Installation an der Sonnenblende
- Führen Sie das Mikrofonkabel in die Rille ein.
- Mikrofonkabel
- Rille
- Befestigen Sie den Mikrofonclip an der Sonnenblende.
Das Herunterklappen der Sonnenblende reduziert die Spracherkennungsrate.
- Mikrofonclip
Installation an der Lenksäule
- Schieben Sie die Mikrofonbasis, um sie vom Mikrofonclip zu lösen.
- Mikrofon
- Mikrofonclip
- Mikrofonbasis
- Installieren Sie das Mikrofon auf der Rückseite der Lenksäule.
- Doppelseitiges Klebeband
Grundlegende Bedienung

Über das Hauptmenü
Sie können verschiedene Einstellungen im Hauptmenü anpassen.
- Drücken Sie den M.C.-Drehregler, um das Hauptmenü anzuzeigen.
- Drehen Sie den M.C.-Drehregler, um eine der untenstehenden Kategorien auszuwählen, und drücken Sie dann zur Bestätigung.
- FUNCTION settings (FUNKTION-Einstellungen)
- AUDIO settings (AUDIO-Einstellungen)
- SYSTEM settings (SYSTEM-Einstellungen)
- ILLUMINATION settings (BELEUCHTUNGS-Einstellungen)
- MICROPHONE settings (MIKROFON-Einstellungen)
- Drehen Sie den M.C.-Drehregler, um die Optionen auszuwählen, und drücken Sie dann zur Bestätigung.
Häufig verwendete Vorgänge
| Zweck | Bedienung |
| Einschalten |
Drücken Sie SRC/OFF, um das Gerät einzuschalten. Halten Sie SRC/OFF gedrückt, um das Gerät auszuschalten. |
| Lautstärke einstellen | Drehen Sie den M.C.-Drehregler. |
| Eine Quelle auswählen | Drücken Sie wiederholt SRC/OFF. |
| Die Anzeigeinformation ändern | Drücken Sie wiederholt DISP. |
| Zurück zur vorherigen Anzeige/Liste |
Drücken Sie BAND/ .
|
| Vom Menü zur Normalanzeige zurückkehren |
Halten Sie BAND/ gedrückt.
|
| Die Displayhelligkeit ändern |
Halten Sie BAND/ gedrückt.
|
Setup-Vorgang
Wenn Sie den Zündschalter nach der Installation auf ON (EIN) stellen, erscheint das Setup-Menü im Display.
- Drehen Sie den M.C.-Drehregler, um die Optionen auszuwählen, und drücken Sie dann zur Bestätigung.
Um zur nächsten Menüoption zu gelangen, müssen Sie Ihre Auswahl bestätigen.
| Menüpunkt | Beschreibung |
| LANGUAGE (SPRACHE) [ENG](Englisch), [РУС](Russisch), [TUR](Türkisch), [FRA](Französisch), [DEU](Deutsch) |
Wählen Sie die Sprache aus, in der die Textinformationen einer komprimierten Audiodatei angezeigt werden sollen. |
| CLOCK SET (UHRZEIT EINSTELLEN) | Stellen Sie die Uhrzeit ein. |
|
|
| FM STEP (UKW-SCHRITTWEITE) [100], [50] |
Wählen Sie die UKW-Abstimmschrittweite zwischen 100 kHz oder 50 kHz. |
- [USB CONN. SET] (USB-VERB. EINST.) erscheint, wenn alle Einstellungen vorgenommen wurden. Drücken Sie den M.C.-Drehregler, um die Meldung zu löschen.
- Eine Meldung, die Sie zur Installation der Pioneer Smart Sync-Anwendung auffordert, erscheint auf Ihrem Gerät, wenn Sie Ihr Gerät über USB mit dem Gerät verbinden.
- [QUIT:YES] (BEENDEN:JA) erscheint.
Um zum ersten Punkt des Setup-Menüs zurückzukehren, drehen Sie den M.C.-Drehregler, um [QUIT:NO] (BEENDEN:NEIN) auszuwählen, und drücken Sie dann zur Bestätigung. - Drücken Sie den M.C.-Drehregler, um die Einstellungen zu bestätigen.
Tuner-Bedienung
Empfang von voreingestellten Sendern
- Drücken Sie SRC/OFF, um [RADIO] auszuwählen.
- Drücken Sie BAND/, um das Band auszuwählen.
[FM1]
[FM2]
[FM3]
[MW]/[LW] - 3 Drücken Sie eine Zifferntaste (1/
bis 6/
).
Best Stations Memory (BSM) (Beste Sender speichern)
- Nachdem Sie das Band ausgewählt haben, drücken Sie den M.C.-Drehregler, um das Hauptmenü anzuzeigen.
- Drehen Sie den M.C.-Drehregler, um [FUNCTION] (FUNKTION) auszuwählen, und drücken Sie dann zur Bestätigung.
- Drehen Sie den M.C.-Drehregler, um [BSM] (Beste Sender speichern) auszuwählen, und drücken Sie dann zur Bestätigung.
Sender manuell speichern
- Während Sie den Sender empfangen, den Sie speichern möchten, halten Sie eine der Zifferntasten (1/
bis 6/
) gedrückt, bis sie aufhört zu blinken.
CD-/USB-/iPhone®-/AUX-Bedienung
(Die iPhone-Quelle ist nicht verfügbar, wenn [USB MTP] (USB-MTP) in den SYSTEM settings (SYSTEM-Einstellungen) auf [ON] (EIN) gesetzt ist.)
HINWEIS: DEH-S310BT ist nicht mit Apple®-Geräten kompatibel.
CD
- Legen Sie eine Disc mit der Beschriftungsseite nach oben in den Disc-Ladeschacht ein.
Um eine Disc auszuwerfen, stoppen Sie zuerst die Wiedergabe und drücken Sie dann
.
USB/iPhone
- Öffnen Sie die USB-Anschlussabdeckung.
- Schließen Sie das USB-Gerät/iPhone mit einem geeigneten Kabel an.
MTP-Verbindung
Ein Gerät, das mit Android OS 4.0 oder den meisten späteren Versionen installiert ist, kann über MTP mit dem Gerät verbunden werden, indem das mit dem Android-Gerät gelieferte Kabel verwendet wird. Abhängig vom angeschlossenen Gerät, der OS-Version oder der Anzahl der Dateien auf dem Gerät können Audiodateien/Songs jedoch möglicherweise nicht über MTP wiedergegeben werden.
HINWEIS: Wenn Sie eine MTP-Verbindung verwenden, muss [USB MTP] (USB-MTP) in den SYSTEM settings (SYSTEM-Einstellungen) auf [ON] (EIN) gesetzt sein.
AUX
- Stecken Sie den Stereo-Ministecker in die AUX-Eingangsbuchse.
- Drücken Sie SRC/OFF, um [AUX IN] (AUX-Eingang) als Quelle auszuwählen.
Bluetooth-Verbindung
Es können bis zu zwei Bluetooth-Telefone gleichzeitig verbunden werden.
- Schalten Sie die Bluetooth-Funktion des Geräts ein.
- Wählen Sie den in der Geräteanzeige gezeigten Gerätenamen aus.
- Stellen Sie sicher, dass die gleiche 6-stellige Nummer auf diesem Gerät und dem Gerät angezeigt wird.
- Wählen Sie [YES] (JA).
Bluetooth-Telefon
Grundlegende Vorgänge
| Zweck | Bedienung |
| Eingehenden Anruf annehmen | Drücken Sie eine beliebige Taste, wenn ein Anruf eingeht. |
| Anruf beenden |
Drücken Sie .
|
| Eingehenden Anruf ablehnen |
Halten Sie gedrückt, wenn ein Anruf eingeht.
|
Spracherkennungsmodus aktivieren
HINWEIS: DEH-S310BT ist nicht mit Apple-Geräten kompatibel.
- Halten Sie
gedrückt und sprechen Sie dann in das Mikrofon, um Sprachbefehle einzugeben.
Um den Spracherkennungsmodus zu verlassen, drücken Sie BAND/
.
Herstellen einer Verbindung mit Pioneer Smart Sync
Pioneer Smart Sync ist die Anwendung, die Ihre Karten, Nachrichten und Musik intelligent im Fahrzeug zusammenführt.
Versuchen Sie nicht, die Anwendung während der Fahrt zu bedienen. Fahren Sie unbedingt von der Straße ab und parken Sie Ihr Fahrzeug an einem sicheren Ort, bevor Sie versuchen, die Bedienelemente der Anwendung zu verwenden.
- Rufen Sie das SYSTEM menu (SYSTEM-Menü) auf (siehe "Über das Hauptmenü").
- Drehen Sie den M.C.-Drehregler, um [APP CONTROL] (APP-STEUERUNG) auszuwählen, und drücken Sie dann zur Bestätigung.
- Drehen Sie den M.C.-Drehregler, um eine der folgenden Optionen auszuwählen.
- Wählen Sie [WIRED] (KABELGEBUNDEN) für die USB-Verbindung.
- Wählen Sie [BLUETOOTH] (BLUETOOTH) für die Bluetooth-Verbindung.
- Drehen Sie den M.C.-Drehregler, um [AUTO APP CONN] (AUTO-APP-VERB.) auszuwählen, und drücken Sie dann zur Bestätigung.
- Drehen Sie den M.C.-Drehregler, um [ON] (EIN) auszuwählen, und drücken Sie dann zur Bestätigung.
- Verbinden Sie dieses Gerät über USB oder Bluetooth mit dem Mobilgerät. Pioneer Smart Sync auf dem iPhone-/Android-Gerät startet automatisch.
HINWEIS: Unabhängig davon, ob die Einstellung [AUTO APP CONN] (AUTO-APP-VERB.) auf [ON] (EIN) oder [OFF] (AUS) gesetzt ist, können Sie auch die folgenden Schritte ausführen, um Pioneer Smart Sync zu starten.
- Für andere Geräte als das über USB verbundene Android-Gerät drücken Sie SRC/OFF, um eine beliebige Quelle auszuwählen, und halten Sie den M.C.-Drehregler gedrückt.
- Starten Sie für iPhone die Pioneer Smart Sync-App auf dem Mobilgerät.
Spotify® hören
(Nicht verfügbar, wenn [USB MTP] (USB MTP) in den SYSTEM-Einstellungen (SYSTEM settings) auf [ON] (EIN) eingestellt ist.)
HINWEIS: DEH-S310BT ist nicht mit Apple-Geräten kompatibel.
Aktualisieren Sie die Firmware der Spotify-Anwendung vor der Verwendung auf die neueste Version.
Bevor Sie beginnen, verbinden Sie dieses Gerät über USB (nur iPhone) oder Bluetooth mit dem mobilen Gerät.
- Rufen Sie das SYSTEM-Menü (SYSTEM menu) auf (siehe "About the main menu" (Über das Hauptmenü)).
- Drehen Sie den M.C.-Drehregler, um [APP CONTROL] (APP-STEUERUNG) auszuwählen, und drücken Sie dann zur Bestätigung.
- Drehen Sie den M.C.-Drehregler, um eine der folgenden Optionen auszuwählen.
- Wählen Sie [WIRED] (KABELGEBUNDEN) für die USB-Verbindung.
- Wählen Sie [BLUETOOTH] (BLUETOOTH) für die Bluetooth-Verbindung.
- Drücken Sie SRC/OFF, um [SPOTIFY] (SPOTIFY) auszuwählen.
- Starten Sie die Spotify-Anwendung auf dem mobilen Gerät und beginnen Sie die Wiedergabe.

Referenzen
Anleitung herunterladen
Hier können Sie die vollständige PDF-Version des Handbuchs herunterladen. Sie kann zusätzliche Sicherheitsanweisungen, Garantieinformationen, FCC-Regeln usw. enthalten.
Pioneer DEH-S410BT, DEH-S41BT, DEH-S310BT Kurzanleitung herunterladen

auf dem Produkt bedeutet Gleichstrom.
und
unterschiedlich sein. In diesem Fall stellen Sie sicher, dass Sie
mit
und
mit
verbinden.
und
wenn Pin 5 ein Antennensteuerungstyp ist. Bei einem anderen Fahrzeugtyp verbinden Sie niemals 






.
gedrückt.
[FM2]
bis 6/
).
.
