Guía de inicio rápido de VTech RM5764HD, RM5764-2HD
- 1 Introducción
- 2 Qué hay en la caja
- 3 Visión general
- 4 Cómo funciona el sistema
- 5 Proteja su privacidad y seguridad en línea
- 6 Conectar, cargar y encender el vigilabebés
- 7 Iconos de la unidad para padres
- 8 Especificaciones técnicas
- 9 Funcionamiento básico
- 10 Prueba el nivel de sonido y coloca el monitor de vídeo HD
- 11 Actualización automática de software y firmware
- 12 Descarga la aplicación para acceso móvil
- 13 Prueba la ubicación de la unidad para bebés
- 14 Montaje de la unidad para bebés (opcional)
- 15 Cuidado general del producto
- 16 Preguntas frecuentes
- 17 Garantía limitada
- 18 Referencias
- 19 Descargar el manual
- 20 En otros idiomas

Introducción
Visite www.vtechcanada.com para conocer las últimas novedades de los productos VTech.
Enhorabuena
por la compra de su nuevo producto VTech. Antes de utilizar este monitor de vídeo HD, lea las Instrucciones de seguridad importantes.
Para obtener asistencia, comprar y conocer todas las novedades de VTech, visite nuestro sitio web en www.vtechcanada.com.
Para obtener más información de soporte


¿Qué hace el monitor de vídeo HD?
El monitor inteligente Wi-Fi 1080p con giro e inclinación de 5 pulgadas de VTech le permite estar cerca de su bebé cuando está en movimiento o fuera de casa.
Este monitor está habilitado para Wi-Fi, que utiliza la red inalámbrica de su hogar para transmitir vídeo y audio en directo a través de la unidad de bebé HD y la unidad de padres con pantalla a color de 5 pulgadas. Le permite mantener una conexión constante con su bebé.
También puede supervisar desde su smartphone y tableta móvil.
El monitor inteligente Wi-Fi 1080p con giro e inclinación de 5 pulgadas de VTech utiliza la aplicación MyVTech Baby 1080p para que pueda ver y oír al instante lo que está pasando con su bebé desde cualquier parte del mundo.
La aplicación se puede descargar desde la App Store o la Google PlayTM Store, directamente desde su smartphone.
Qué hay en la caja
Su paquete de monitor de vídeo HD contiene los siguientes elementos. Guarde el recibo de compra y el embalaje original en caso de que sea necesario el servicio de garantía.

Requisitos
Para acceso móvil:
MyVTech Baby 1080p aplicación móvil
| Red | Wi-Fi |
| Router Wi-Fi | 2.4GHz 802.11 b/g/n |
| Conexión a Internet | 1.5 Mbps @ 720p o 2.5 Mbps @1080p de subida ancho de banda por unidad de bebé |
Visión general
Visión general de la unidad de bebé


- Sensor de luz
- Lente de la cámara
- Micrófono
- LED infrarrojos
- Le permiten ver con claridad en un entorno oscuro.
- Indicador LED
- Naranja fijo cuando la unidad de bebé se está conectando a la unidad de padres directamente en modo local.
- Verde fijo cuando la unidad de bebé y la unidad de padres se están conectando a la red Wi-Fi de su hogar a través del router Wi-Fi.
- Parpadea en naranja lentamente durante la transmisión de vídeo en modo local.
- Parpadea en verde lentamente durante la transmisión de vídeo a través de la red Wi-Fi doméstica.
- ON
- Interruptor de encendido/apagado.
- Altavoz
- Conector de alimentación
- Sensor de temperatura
- Ranuras para montaje en pared
- El soporte de montaje en pared está incluido en su paquete.
- PAIR
- Restablece la unidad de bebé a los valores predeterminados de fábrica.
- Mantenga pulsada la tecla PAIR hasta que oiga un pitido.
- Suelte la tecla PAIR y, a continuación, pulse la tecla PAIR de nuevo cinco veces hasta que oiga otro pitido.
- La unidad de bebé emitirá otro pitido cuando se complete el restablecimiento.
A continuación, la unidad de bebé se reiniciará.
Visión general de la unidad de padres


- Luz LED de LINK
- Encendida cuando la unidad de padres está vinculada a la unidad de bebé.
- Parpadea cuando se pierde el enlace con la unidad de bebé.
Luz LED
- Encendida cuando la unidad de padres está conectada a la corriente alterna y la batería se está cargando.
- Apagada cuando la unidad de padres está desconectada de la corriente alterna, o cuando la unidad de padres está conectada a la corriente alterna y la batería está completamente cargada.
- Parpadea cuando la batería de la unidad de padres está baja y necesita cargarse.
- Luz indicadora de sonido de 3 niveles
- Verde encendido cuando la unidad de bebé detecta un nivel de sonido bajo.
- Verde y ámbar encendido cuando la unidad de bebé detecta un nivel de sonido moderado.
- Verde, ámbar y rojo encendido cuando la unidad de bebé detecta un nivel de sonido alto.
- TALK (hablar) /
![]()
- Mantenga pulsado para hablar con la unidad de bebé.
- Mientras esté en un submenú, pulse para salir.
- Pulse para acercar/alejar.
- Teclas de flecha
o ![]()
- Pulse para navegar hacia la izquierda, hacia arriba, hacia la derecha o hacia abajo, dentro del menú principal y los submenús.
- Mientras visualiza la imagen de la unidad de bebé, pulse para desplazar la unidad de bebé hacia la izquierda, hacia arriba, hacia la derecha o hacia abajo.
- Mientras visualiza la imagen ampliada, pulse para mover la imagen ampliada hacia la izquierda, hacia arriba, hacia la derecha o hacia abajo.
- MENU/SELECT (MENÚ/SELECCIONAR)
- Pulse para entrar en el menú principal.
- Mientras esté en un menú, pulse para elegir un elemento o guardar un ajuste.
- - VOL/ VOL +
- Aumenta o disminuye el volumen de la unidad de padres.
- Micrófono
- Altavoz
- POWER (ENCENDIDO) / LCD ON/OFF (LCD ENCENDIDO/APAGADO)
- Conector de alimentación
- RESET (REINICIAR)
- Fuerza el reinicio de la unidad de padres.
- Antena
- Soporte
Cómo funciona el sistema
Modo directo
La unidad de padres y la unidad de bebé de su monitor de vídeo se conectan entre sí en Modo directo de forma predeterminada, lo que le permite transmitir vídeo en directo nada más sacarlo de la caja. La conexión en Modo directo le permite transmitir vídeo en directo solo desde la unidad de padres.

Consejo
- Es posible que experimente una intensidad de señal reducida si la unidad de padres y la unidad de bebé están muy separadas, o si hay factores que obstruyen, como paredes internas, entre ellas. Acerque la unidad de padres a la unidad de bebé para mejorar la intensidad de la señal. También puede configurar el Modo router para conectarse a través de la red Wi-Fi de su hogar para mejorar la conexión entre la unidad de padres y la unidad de bebé.
Modo router

Puede seguir utilizando su monitor de vídeo con conexión en Modo directo, o puede configurar su monitor en conexión en Modo router.
El Modo router utiliza la red Wi-Fi de su hogar para conectar su monitor de vídeo. Admite la transmisión de vídeo en directo a través de la unidad de padres y la aplicación para smartphone.
Le recomendamos que configure su monitor en Modo router para disfrutar de la transmisión de vídeo en directo a través de su unidad de padres con una mejor conexión.
Si desea transmitir vídeo en directo de forma remota con su dispositivo móvil, descargue e instale la aplicación móvil MyVTech Baby 1080p. Con la aplicación móvil, su router Wi-Fi (no incluido) proporciona conectividad a Internet a su sistema de monitor de vídeo HD. Sirve como canal de comunicación entre la unidad de bebé y el dispositivo móvil, lo que le permite supervisar y/o controlar la unidad de bebé dondequiera que esté. Para obtener más información, consulte la sección Descargar la aplicación para acceso móvil de esta guía de inicio rápido.
Notas
- Su unidad de padres detecta la intensidad de la señal de conexión. Si ha conectado su monitor de vídeo a la red Wi-Fi de su hogar, la unidad de padres cambia automáticamente al modo directo o al modo router, el que tenga mayor intensidad de señal.
- Cuando tanto la unidad de padres como la aplicación están viendo la cámara simultáneamente, la calidad del vídeo se optimizará para ofrecer el mejor resultado de visualización posible.
Proteja su privacidad y seguridad en línea
VTech se preocupa por su privacidad y tranquilidad. Por eso, hemos elaborado una lista de las mejores prácticas recomendadas por la industria para ayudarle a mantener la privacidad de su conexión inalámbrica y proteger sus dispositivos cuando esté en línea. Le recomendamos que revise cuidadosamente y considere la posibilidad de cumplir con los siguientes consejos.
Asegúrese de que su conexión inalámbrica sea segura.
- Antes de instalar un dispositivo, asegúrese de que la señal inalámbrica de su router esté encriptada seleccionando la configuración "WPA2-PSK con AES" en el menú de seguridad inalámbrica de su router.
Cambie la configuración predeterminada.
- Cambie el nombre de red inalámbrica (SSID) predeterminado de su router inalámbrico por uno único.
- Cambie las contraseñas predeterminadas por contraseñas únicas y seguras. Una contraseña segura:
- Tiene al menos 10 caracteres de longitud.
- Es compleja.
- No contiene palabras del diccionario ni información personal.
- Contiene una mezcla de letras mayúsculas, letras minúsculas, caracteres especiales y números.
Mantenga sus dispositivos actualizados.
- Descargue los parches de seguridad de los fabricantes tan pronto como estén disponibles. Esto garantizará que siempre tenga las últimas actualizaciones de seguridad.
- Si la función está disponible, active las actualizaciones automáticas para futuras versiones.
Desactive Universal Plug and Play (UPnP) en su router.
- UPnP habilitado en un router puede limitar la eficacia de su firewall al permitir que otros dispositivos de red abran puertos de entrada sin ninguna intervención o aprobación por su parte. Un virus u otro programa de malware podría utilizar esta función para comprometer la seguridad de toda la red.
Para obtener más información sobre las conexiones inalámbricas y la protección de sus datos, consulte los siguientes recursos de expertos de la industria:
- Comisión Federal de Comunicaciones: Consejos de seguridad para conexiones inalámbricas y Bluetooth – www.fcc.gov/consumers/guides/how-protect-yourself-online.
- Departamento de Seguridad Nacional de EE. UU.: Antes de conectar un nuevo ordenador a Internet – www.us-cert.gov/ncas/tips/ST15-003.
- Comisión Federal de Comercio: Uso seguro de cámaras IP – https://www.consumer.ftc.gov/articles/0382-using-ip-cameras-safely.
- Wi-Fi Alliance: Descubra la seguridad Wi-Fi – http://www.wi-fi.org/discover-wi-fi/security.
Conectar, cargar y encender el vigilabebés
Conectar el vigilabebés
Notas
- La batería recargable de la unidad para padres está integrada.
- Utilice únicamente los adaptadores de corriente suministrados con este producto.
- Asegúrese de que la unidad para padres y la unidad para bebés no estén conectadas a las tomas de corriente controladas por el interruptor.
- Conecte los adaptadores de corriente únicamente en posición vertical o de montaje en el suelo. Las clavijas de los adaptadores no están diseñadas para soportar el peso de la unidad para padres y la unidad para bebés, por lo que no los conecte a tomas de corriente del techo, debajo de la mesa o del armario. De lo contrario, es posible que los adaptadores no se conecten correctamente a las tomas de corriente.
- Asegúrese de que la unidad para padres, la unidad para bebés y los cables del adaptador de corriente estén fuera del alcance de los niños.

Deslice el interruptor a ON (encendido) para encender la unidad para bebés.

Notas
- Al encenderse, el LED de estado de la unidad para bebés se enciende. Se apagará después de un tiempo y permanecerá apagado.
- El LED de estado está configurado para apagarse de forma predeterminada. Si desea mantener el LED encendido, pulse MENU, luego vaya a
> Status LED (LED de estado) y enciéndalo.
NOTA:

La lente de la cámara y la superficie pueden calentarse durante el funcionamiento normal.
Cargue la batería de la unidad para padres antes de usarla
La unidad para padres funciona con batería recargable o con corriente alterna. Para vigilar continuamente a su bebé, mantenga la unidad para padres conectada a la corriente alterna. Solo con la batería, la unidad para padres puede funcionar de forma inalámbrica solo por un corto tiempo.
Notas
- Antes de usar el vigilabebés por primera vez, cargue la batería de la unidad para padres durante 12 horas. Cuando la batería de la unidad para padres esté completamente cargada, el icono de la batería se volverá sólido
. - El tiempo de espera varía según el uso real.
Después de que la unidad para padres esté completamente cargada, pulse POWER (encender) hasta que aparezca la pantalla de bienvenida.

El icono de la batería indica el estado de la batería (consulte la siguiente tabla).
| Indicadores de batería | Estado de la batería | Acción |
La pantalla muestra y . La luz parpadea.
|
La batería tiene muy poca carga y puede usarse solo por un corto tiempo. | Cargue sin interrupción (unos 30 minutos). |
El icono de la batería se vuelve sólido.
|
La batería está completamente cargada. | Para mantener la batería cargada, conéctela a la corriente alterna cuando no esté en uso. |
Levante la antena de la unidad para padres para una mejor recepción

Iconos de la unidad para padres
| Menú principal | Opciones |
| Modo de vigilancia (* Solo para RM5764-2HD) | |
![]() |
|
| Melodías y sonidos relajantes | |
![]() |
|
| Alertas: sonido, movimiento y temperatura | |
![]() |
|
| Ajustes de la unidad para padres | |
![]() |
|
| Ajustes de la unidad para bebés | |
![]() |
|
| Ajustes generales | |
![]() |
|
Iconos de estado
Modo directo
La unidad para padres, la unidad para bebés 1 y la unidad para bebés 2 (*Solo para RM5764-2HD) están conectadas entre sí directamente.
Modo router
La unidad para padres, la unidad para bebés 1 y la unidad para bebés 2 (*Solo para RM5764-2HD) están conectadas a la red Wi-Fi doméstica.
Las unidades para bebés 1 y 2 se están visualizando en modo Patrol (patrulla) (*Solo para RM5764-2HD).
Las unidades para bebés 1 y 2 se están visualizando en modo Split (dividida) (*Solo para RM5764-2HD).
La visión nocturna está activada.
La alerta de movimiento está activada.
La alerta de detección de sonido está activada.
Las melodías y los sonidos relajantes están activados.
El altavoz de la unidad para padres está silenciado.
La alerta de temperatura está activada.
Especificaciones técnicas
| Frecuencia | Unidad para bebés: 2412 - 2462 MHz |
| Canales | 11 |
| LCD |
LCD a color de 5'' (IPS 1280x720 píxeles) |
| Rango efectivo nominal | Potencia máxima permitida por la FCC e IC. El rango de funcionamiento real puede variar según las condiciones ambientales en el momento del uso. |
| Requisitos de alimentación |
Adaptadores de corriente de la unidad para padres/unidad para bebés: Salida nominal: 5V DC, 1000mA. Batería de la unidad para padres: BP1763 (batería de iones de litio de 3,7 V 2100 mAh) ZhongShan Tianmao battery Co. Ltd. |
Funcionamiento básico
Después de encender su monitor de vídeo, la unidad para padres transmite vídeo en directo en modo directo. Le recomendamos que siga las instrucciones en pantalla para configurar la red Wi-Fi doméstica con su monitor para mejorar la funcionalidad y el acceso móvil. Consulte Auto software and firmware update (actualización automática de software y firmware) y Download app for mobile access (descargar la aplicación para acceso móvil) en esta guía de inicio rápido.
Usar el menú

Pulse MENU (menú) en la unidad para padres para entrar en el menú principal, elegir un elemento del menú o guardar un ajuste. Puede utilizar el menú de la unidad para padres para ajustes u operaciones avanzadas, como reproducir o detener una canción de cuna, o ajustar la configuración de detección de movimiento y sonido.
Mientras esté en el menú:
- Pulse
o
para desplazarse por las opciones del menú.
- Pulse SELECT (seleccionar) para seleccionar un elemento.
- Pulse TALK (hablar) para volver al vídeo en directo.
- Pulse
para ir a la página de Help & info (ayuda e información).
Ajustar el volumen del altavoz
Pulse -VOL / VOL+ para ajustar el volumen del altavoz de la unidad para padres. Determina el volumen del sonido transmitido desde la unidad para bebés.

Zoom
Pulse
para acercar o alejar la imagen.

Hablar con su bebé a través de la unidad para bebés
- Mantenga pulsada la tecla TALK (hablar).
- Cuando el icono
se muestra en la pantalla, hable a su unidad para padres. Su voz se transmite a la unidad para bebés. - Cuando termine de hablar, suelte la tecla TALK (hablar) y vuelva a escuchar a su bebé.
![VTech - RM5764HD - Hablar con su bebé a través de la unidad para bebés Hablar con su bebé a través de la unidad para bebés]()
Encender/apagar el LED de estado de la unidad para bebés
Puede configurar el indicador LED de estado de su unidad para bebés para que se encienda o apague. Vaya a
> Status LED (LED de estado).

Encender/apagar la unidad para padres
Puede encender o apagar la pantalla de la unidad para padres sin apagar la unidad para padres. Aún puede escuchar el sonido de la unidad para bebés.
- Pulse POWER (encender) en la unidad para padres para apagar la pantalla.
- Pulse cualquier tecla en la unidad para padres para volver a encender la pantalla.
![VTech - RM5764HD - Encender/apagar la unidad para padres Encender/apagar la unidad para padres]()
Consejo
Puede restablecer la unidad para padres pulsando la tecla RESET (restablecer) en la parte posterior de la unidad.
Utilice un alfiler e insértelo en el orificio de la unidad para padres y, a continuación, pulse el botón que hay dentro.

Prueba el nivel de sonido y coloca el monitor de vídeo HD
Nota
- Este monitor de vídeo HD está pensado como una ayuda. No sustituye a la supervisión adecuada de un adulto y no debe utilizarse como tal.
Prueba del nivel de sonido del monitor de vídeo HD
- Para proteger la audición, asegúrate de que la unidad para padres esté a más de 3 metros de la unidad para bebés. Si oyes algún ruido agudo procedente de la unidad para padres, aléjala hasta que el ruido cese. También puedes pulsar - VOL en la unidad para padres para bajar o silenciar el ruido.
![]()
Consejo
- Aumenta el volumen del altavoz de la unidad para padres si no oyes los sonidos transmitidos desde la unidad para bebés.
![]()
Colocación del monitor de vídeo HD
- Mantén la unidad para bebés fuera del alcance de tu bebé. Nunca coloques ni montes la unidad para bebés dentro de la cuna o el parque infantil del bebé.
- Coloca la unidad para bebés a más de 1 metro de tu bebé.
![]()
- Ajusta el ángulo de la unidad para bebés para que apunte a tu bebé.
![]()
- Para evitar que el monitor de vídeo HD emita un ruido chirriante agudo:
- Asegúrate de que la unidad para bebés y la unidad para padres estén separadas por más de 3 metros; O
- Baja el volumen de la unidad para padres.
![]()
Actualización automática de software y firmware
Para garantizar que tu monitor de vídeo HD siempre tenga el mejor rendimiento, la unidad para padres mostrará un mensaje y te pedirá que actualices su software y el firmware de la unidad para bebés cuando haya nuevas versiones disponibles.
- Sigue las instrucciones que aparecen en la pantalla de la unidad para padres para actualizar tu monitor de vídeo HD. Si omites las actualizaciones, la unidad para padres y la unidad para bebés se actualizarán automáticamente cuando la unidad para padres se apague y, a continuación, se vuelva a encender.
Conecta tu monitor de vídeo HD a la red Wi-Fi doméstica
- Debes conectar tu monitor de vídeo a tu red Wi-Fi doméstica segura para recibir las últimas actualizaciones de software y firmware. Para configurarlo, ve a
> Configure Wi-Fi.
Descarga la aplicación para acceso móvil
- Puedes descargar la aplicación móvil gratuita MyVTech Baby 1080p e instalarla en un dispositivo móvil, y luego usar tu dispositivo móvil y la aplicación móvil para supervisar tus áreas de forma remota.
- Pulsa MENU (MENÚ) cuando la unidad para padres esté inactiva.
- Ve a
> Connect Mobile Phone (Conectar teléfono móvil). - Escanea el código QR en la unidad para padres para descargar la aplicación en tu dispositivo móvil.
- Sigue las instrucciones de la aplicación móvil para configurar y emparejar la unidad para bebés con la aplicación móvil.
Alternativamente, puedes descargar la aplicación móvil desde la App Store o la tienda Google Play.
Instala la aplicación móvil MyVTech Baby 1080p
- Navega por la App Store
o la tienda Google Play
. - Busca la aplicación móvil con la palabra clave "myvtech baby 1080p".
- Descarga e instala la aplicación móvil MyVTech Baby 1080p en tu dispositivo móvil.
O
Escanea los códigos QR de la derecha para obtener la aplicación.
Nota
- Asegúrate de que tu dispositivo móvil cumple con los requisitos mínimos para la aplicación móvil.
Requisitos mínimos
La aplicación móvil es compatible con:
- AndroidTM 5.0 o posterior; y
- iOS 8.0 o posterior.
- Después de instalar la aplicación móvil, sigue las instrucciones de la aplicación móvil y la unidad para padres para configurar y emparejar la unidad para bebés.
En tu dispositivo móvil:
- Toca
para ejecutar la aplicación móvil en tu dispositivo móvil y, a continuación, crea una cuenta de cámara. - Te recomendamos que utilices servicios de correo web comunes, como Google Gmail para el registro de tu cuenta de cámara. Revisa tu correo electrónico (y la carpeta de correo no deseado) y activa tu nueva cuenta de cámara a través del enlace del correo electrónico, luego inicia sesión en tu cuenta.
- Sigue las instrucciones de la aplicación móvil para emparejar la cámara. Toca + en la aplicación móvil para empezar.
Prueba la ubicación de la unidad para bebés
Si planeas instalar tu unidad para bebés en una ubicación designada y usar tu red Wi-Fi doméstica para conectar tu monitor de vídeo, debes probar cuáles de tus áreas de supervisión seleccionadas dentro de la casa tienen una buena intensidad de señal Wi-Fi. Después de encender tu unidad para padres, puedes usar el indicador de intensidad de señal Wi-Fi de tu unidad para padres para ayudarte a comprobarlo. Una vez que hayas identificado la ubicación adecuada, puedes instalar tu unidad para bebés. Ajusta la distancia entre tu unidad para bebés y el router Wi-Fi si es necesario.
Consejo
- Dependiendo del entorno y los factores de obstrucción, como el efecto de la distancia y las paredes internas en la intensidad de la señal, puedes experimentar una señal Wi-Fi reducida. Para mejorar la intensidad de la señal Wi-Fi, ajusta la distancia o la dirección de tu unidad para padres. Vuelve a comprobarlo con tu unidad para padres.
![VTech - RM5764HD - Test the location for the baby unit Prueba la ubicación de la unidad para bebés]()
¿Necesitas ayuda?
Impulsados por las actualizaciones del sistema, el software, los temas de ayuda en línea y las preguntas frecuentes en línea se actualizarán periódicamente.
Para operaciones y guías que te ayuden a usar tu monitor de vídeo HD, y para obtener la información y el soporte más recientes, ve y consulta los temas de ayuda en línea y las preguntas frecuentes en línea.
Usa tu smartphone o dispositivo móvil para acceder a nuestra ayuda en línea.
Inicia la aplicación de la cámara o la aplicación de escáner de códigos QR en tu smartphone o tableta. Sostén la cámara del dispositivo frente al código QR y encuadra. Toca la notificación para activar la redirección de la ayuda en línea.
- Si el código QR no se muestra claramente, ajusta el enfoque de tu cámara acercando o alejando tu dispositivo hasta que esté claro.
- Busca el modelo: RM5764HD o RM5764-2HD.
También puedes llamar a nuestro servicio de atención al cliente al 1-888-211-2005 para obtener ayuda.
Montaje de la unidad para bebés (opcional)
Notas
- Comprueba la intensidad de la recepción y el ángulo de la unidad para bebés antes de taladrar los agujeros.
- Los tipos de tornillos y tacos que necesitas dependen de la composición de la pared. Es posible que tengas que comprar los tornillos y los tacos por separado para montar tus unidades para bebés.
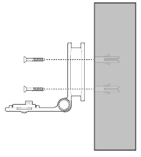
- Coloca el soporte de montaje en la pared sobre una pared y luego usa un lápiz para marcar dos agujeros en paralelo. Retira el soporte de montaje en la pared y taladra dos agujeros en la pared (broca de 7/32 pulgadas).
![]()
- Si taladras los agujeros en un montante, ve al paso 3.
- Si taladras los agujeros en un objeto que no sea un montante, inserta los tacos de pared en los agujeros. Golpea suavemente los extremos con un martillo hasta que los tacos de pared queden al ras de la pared
![]()
-
Alinea el soporte de montaje en la pared y los tornillos con los agujeros en la pared como se muestra. Aprieta los tornillos primero en el agujero central, de modo que la posición del soporte de montaje en la pared quede fija. Puedes apretar el otro tornillo en el agujero superior.
![]()
-
Coloca la unidad para bebés en el soporte de montaje en la pared y, a continuación, deslízala hacia delante hasta que encaje en su lugar. Conecta el adaptador de corriente a la unidad para bebés y a una fuente de alimentación no controlada por un interruptor de pared.
![VTech - RM5764HD - Mount the baby unit - Example 1 Montaje de la unidad para bebés - Ejemplo 1]()
O
- Inserta los tornillos en los agujeros y aprieta los tornillos hasta que solo queden 1/4 de pulgada de los tornillos expuestos.
![]()
-
Coloca la unidad para bebés en el soporte de montaje en la pared y, a continuación, deslízala hacia delante hasta que encaje en su lugar. Alinea los agujeros del soporte de montaje en la pared con los tornillos de la pared y desliza el soporte de montaje en la pared hacia abajo hasta que encaje en su lugar.
![VTech - RM5764HD - Mount the baby unit - Example 2 Montaje de la unidad para bebés - Ejemplo 2]()
-
Puedes maximizar los ángulos de visión de tu unidad para bebés inclinando el soporte de montaje en la pared.
Sujeta la unidad para bebés y, a continuación, gira el mando en sentido contrario a las agujas del reloj. Esto aflojará la junta del soporte de montaje en la pared. Inclina tu unidad para bebés hacia arriba o hacia abajo para ajustarla a tu ángulo preferido. A continuación, gira el mando en el sentido de las agujas del reloj para apretar la junta y asegurar el ángulo.
![]()
Cuidado general del producto
Para que este producto funcione bien y tenga un buen aspecto, sigue estas pautas:
- Evita colocarlo cerca de aparatos de calefacción y dispositivos que generen ruido eléctrico (por ejemplo, motores o lámparas fluorescentes).
- NO lo expongas a la luz solar directa ni a la humedad.
- Evita que el producto se caiga o lo trates con brusquedad.
- Límpialo con un paño suave.
- NO sumerjas la unidad para padres ni la unidad para bebés en agua y no las limpies bajo el grifo.
- NO utilices aerosoles de limpieza ni limpiadores líquidos.
- Asegúrate de que la unidad para padres y la unidad para bebés estén secas antes de volver a conectarlas a la red eléctrica.
- Limpia regularmente el puerto de carga USB de polvo, suciedad y pelusa.
Almacenamiento
Cuando no vayas a utilizar el monitor de vídeo HD durante algún tiempo, guarda la unidad para padres, la unidad para bebés y los adaptadores en un lugar fresco y seco.
Preguntas frecuentes
A continuación, se presentan las preguntas más frecuentes sobre el monitor de vídeo HD.
| ¿Puedo apagar la pantalla de la unidad para padres pero seguir escuchando el sonido de la unidad para bebés? | La pantalla LCD de la unidad para padres se atenuará automáticamente después de estar inactiva durante algún tiempo. Al pulsar MENU/SELECT (MENÚ/SELECCIONAR) se volverá a encender la pantalla LCD. |
| ¿Por qué la unidad para bebés no responde normalmente? |
Prueba lo siguiente (en el orden indicado) para la solución común:
|
| ¿Por qué mi pantalla está en blanco y negro? | La unidad para bebés tiene un sensor de luz que mide la luz ambiental. Cuando la luz ambiental es tenue, como durante la noche o en una habitación oscura, la unidad para bebés activa sus LED infrarrojos y muestra la vista de la cámara en blanco y negro. |
| ¿Por qué mi unidad para bebés aparece sin conexión? ¿Por qué se pierde la conexión de vez en cuando? |
Es posible que la unidad para bebés pierda la conexión a Internet. Comprueba tu red y la configuración del router. Otros productos electrónicos pueden causar interferencias con tu unidad para bebés. Intenta instalar tu unidad para bebés lo más lejos posible de estos dispositivos electrónicos. |
| ¿Por qué no oigo ningún sonido / ¿Por qué no puedo oír llorar a mi bebé? |
Es posible que el volumen del altavoz de la unidad para padres sea demasiado bajo. Pulsa VOL + para aumentar el volumen. Es posible que hayas establecido un nivel de sensibilidad de sonido bajo. Establece la sensibilidad de sonido en un nivel más alto. Para obtener más información, ve a www.vtechcanada.com para consultar los temas de ayuda en línea. |
Garantía limitada
¿Cuánto dura el período de garantía limitada?
El período de garantía limitada del Producto se extiende por UN (1) AÑO a partir de la fecha de compra. Si VTech repara o reemplaza un Producto Materialmente Defectuoso bajo los términos de esta garantía limitada, esta garantía limitada también se aplica al Producto reparado o reemplazado por un período de (a) 90 días a partir de la fecha en que se le envíe el Producto reparado o reemplazado o (b) el tiempo restante de la garantía original de un año; lo que sea más largo.
¿Cómo se obtiene el servicio de garantía?
Para obtener el servicio de garantía en Canadá, visite nuestro sitio web en www.vtechcanada.com o llame al 1-888-211-2005. NOTA: Antes de llamar para solicitar servicio, revise el manual del usuario; una revisión de los controles y las funciones del Producto puede ahorrarle una llamada de servicio.
Referencias
Sitio oficial de VTech Canadá | Los mejores teléfonos para la oficina en casa y para empresas
App Store - Apple
Google PlayConsejos de seguridad para conexiones inalámbricas y Bluetooth | Comisión Federal de Comunicaciones
Antes de conectar un nuevo ordenador a Internet | CISA
Uso seguro de cámaras IP | Asesoramiento al consumidor
Seguridad | Wi-Fi Alliance
en/manuals - VTech® Cordless Phones
Descargar el manual
Aquí puede descargar la versión PDF completa del manual. Puede contener instrucciones de seguridad adicionales, información de garantía, reglas de la FCC, etc.
Descargar Guía de inicio rápido de VTech RM5764HD, RM5764-2HD
Luz LED

o 
> Status LED (LED de estado) y enciéndalo.
y
. La luz
parpadea.
El icono de la batería se vuelve sólido.






o
para desplazarse por las opciones del menú.







> Configure Wi-Fi.
> Connect Mobile Phone (Conectar teléfono móvil).









