Manual de la recortadora/bordeadora de hilo CRAFTSMAN CMCST910M1, CMCST910 - 20V Max
- 1 DESCRIPCIÓN GENERAL DEL DISPOSITIVO
- 2 ADVERTENCIAS GENERALES DE SEGURIDAD PARA HERRAMIENTAS ELÉCTRICAS
-
3
BATERÍAS Y CARGADORES
- 3.1 Instrucciones de seguridad importantes para todas las baterías
- 3.2 Recomendaciones de almacenamiento
- 3.3 Instrucciones de limpieza de la batería
- 3.4 Baterías con indicador de combustible
- 3.5 Transporte
- 3.6 El sello RBRC
- 3.7 Instrucciones de seguridad importantes para todos los cargadores de baterías
- 3.8 Carga de una batería
- 3.9 Notas importantes sobre la carga
- 3.10 Instrucciones de limpieza del cargador
- 3.11 Montaje en la pared
- 3.12 VersaTrack
- 4 MONTAJE Y AJUSTES
-
5
FUNCIONAMIENTO
- 5.1 Instalación y extracción de la batería
- 5.2 Posición correcta de la mano
- 5.3 Encendido y apagado de la recortadora
- 5.4 Recorte
- 5.5 Convertir al modo de bordes
- 5.6 Funcionamiento en modo de bordes
- 5.7 Interruptor de control de velocidad
- 5.8 Botón de alimentación del hilo
- 5.9 Consejos útiles para el corte
- 5.10 Hilo de corte / Alimentación del hilo
- 5.11 Eliminación de atascos y hilos enredados
- 5.12 Reemplazo del conjunto del carrete
- 5.13 Rebobinado del carrete a partir de hilo a granel
- 6 MANTENIMIENTO
- 7 Referencias
- 8 Descargar el manual
- 9 En otros idiomas

DESCRIPCIÓN GENERAL DEL DISPOSITIVO

Fig. A
Componentes
- Gatillo
- Botón de bloqueo
- Interruptor de control de velocidad
- Mango auxiliar
- Carcasa del motor
- Barra superior de la recortadora
- Barra inferior de la recortadora
- Soporte de la barra
- Protector
- Carcasa del carrete
- Carcasa de la batería
- Batería
- Botón de liberación de la batería
- Mango principal
- Botón de conversión a borde
- Botón de alimentación de hilo
- Guía de borde de alambre
- Cabezal de la recortadora
Lea todas las advertencias de seguridad y todas las instrucciones. El incumplimiento de las advertencias e instrucciones puede provocar descargas eléctricas, incendios y/o lesiones graves.
Para reducir el riesgo de lesiones, lea el manual de instrucciones.
Uso previsto
Esta recortadora de hilo está diseñada para aplicaciones domésticas de recorte y bordes.
NO la utilice en condiciones húmedas o en presencia de líquidos o gases inflamables.
NO permita que los niños entren en contacto con la herramienta.
Se requiere supervisión cuando operadores inexpertos utilicen esta herramienta.
Definiciones: Símbolos y palabras de alerta de seguridad
Este manual de instrucciones utiliza los siguientes símbolos y palabras de alerta de seguridad para alertarle sobre situaciones peligrosas y su riesgo de lesiones personales o daños materiales.
Indica una situación peligrosa inminente que, si no se evita, provocará la muerte o lesiones graves.
Indica una situación potencialmente peligrosa que, si no se evita, podría provocar la muerte o lesiones graves.
Indica una situación potencialmente peligrosa que, si no se evita, puede provocar lesiones leves o moderadas.
(Utilizado sin palabra) Indica un mensaje relacionado con la seguridad.
AVISO: Indica una práctica no relacionada con lesiones personales que, si no se evita, puede provocar daños materiales.
ADVERTENCIAS GENERALES DE SEGURIDAD PARA HERRAMIENTAS ELÉCTRICAS
Lea todas las advertencias de seguridad, instrucciones, ilustraciones y especificaciones proporcionadas con esta herramienta eléctrica. El incumplimiento de todas las instrucciones enumeradas a continuación puede provocar descargas eléctricas, incendios y/o lesiones graves.
GUARDE TODAS LAS ADVERTENCIAS E INSTRUCCIONES PARA FUTURAS CONSULTAS.
El término "herramienta eléctrica" en las advertencias se refiere a su herramienta eléctrica operada por la red (con cable) o herramienta eléctrica operada por batería (inalámbrica).
Seguridad en el área de trabajo
- Mantenga el área de trabajo limpia y bien iluminada. Las áreas desordenadas u oscuras invitan a los accidentes.
- No opere herramientas eléctricas en atmósferas explosivas, como en presencia de líquidos, gases o polvo inflamables. Las herramientas eléctricas generan chispas que pueden encender el polvo o los vapores.
- Mantenga alejados a los niños y a los transeúntes mientras opera una herramienta eléctrica. Las distracciones pueden hacer que pierda el control.
Seguridad eléctrica
- Los enchufes de las herramientas eléctricas deben coincidir con el tomacorriente. Nunca modifique el enchufe de ninguna manera. No utilice ningún enchufe adaptador con herramientas eléctricas con conexión a tierra. Los enchufes no modificados y los tomacorrientes correspondientes reducirán el riesgo de descarga eléctrica.
- Evite el contacto corporal con superficies conectadas a tierra, como tuberías, radiadores, cocinas y refrigeradores. Existe un mayor riesgo de descarga eléctrica si su cuerpo está conectado a tierra.
- No exponga las herramientas eléctricas a la lluvia ni a condiciones de humedad. La entrada de agua en una herramienta eléctrica aumentará el riesgo de descarga eléctrica.
- No abuse del cable. Nunca utilice el cable para transportar, tirar o desenchufar la herramienta eléctrica. Mantenga el cable alejado del calor, el aceite, los bordes afilados o las piezas móviles. Los cables dañados o enredados aumentan el riesgo de descarga eléctrica.
- Cuando opere una herramienta eléctrica al aire libre, utilice un cable de extensión adecuado para uso en exteriores. El uso de un cable adecuado para uso en exteriores reduce el riesgo de descarga eléctrica.
- Si es inevitable operar una herramienta eléctrica en un lugar húmedo , utilice un suministro protegido por un interruptor de circuito por falla a tierra (GFCI). El uso de un GFCI reduce el riesgo de descarga eléctrica.
Seguridad personal
- Manténgase alerta, observe lo que está haciendo y use el sentido común al operar una herramienta eléctrica. No utilice una herramienta eléctrica si está cansado o bajo la influencia de drogas, alcohol o medicamentos. Un momento de falta de atención al operar herramientas eléctricas puede resultar en lesiones personales graves.
- Utilice equipo de protección personal. Utilice siempre protección para los ojos. El equipo de protección, como una máscara contra el polvo, zapatos de seguridad antideslizantes, un casco o protección auditiva utilizados para las condiciones apropiadas, reducirá las lesiones personales.
- Evite el arranque accidental. Asegúrese de que el interruptor esté en la posición de apagado antes de conectarlo a la fuente de alimentación y/o al paquete de baterías, al levantar o transportar la herramienta. Transportar herramientas eléctricas con el dedo en el interruptor o energizar herramientas eléctricas que tienen el interruptor encendido invita a los accidentes.
- Retire cualquier llave de ajuste o llave inglesa antes de encender la herramienta eléctrica. Una llave inglesa o una llave que quede unida a una pieza giratoria de la herramienta eléctrica puede provocar lesiones personales.
- No se exceda. Mantenga una postura y un equilibrio adecuados en todo momento. Esto permite un mejor control de la herramienta eléctrica en situaciones inesperadas.
- Vístase apropiadamente. No use ropa suelta ni joyas. Mantenga su cabello, ropa y guantes alejados de las piezas móviles. La ropa suelta, las joyas o el cabello largo pueden quedar atrapados en las piezas móviles.
- Si se proporcionan dispositivos para la conexión de instalaciones de extracción y recolección de polvo, asegúrese de que estén conectados y se utilicen correctamente. El uso de la recolección de polvo puede reducir los peligros relacionados con el polvo.
- No permita que la familiaridad adquirida por el uso frecuente de herramientas le permita volverse complaciente e ignorar los principios de seguridad de las herramientas. Una acción descuidada puede causar lesiones graves en una fracción de segundo.
Uso y cuidado de herramientas eléctricas
- No fuerce la herramienta eléctrica. Utilice la herramienta eléctrica correcta para su aplicación. La herramienta eléctrica correcta hará el trabajo mejor y de forma más segura al ritmo para el que fue diseñada.
- No utilice la herramienta eléctrica si el interruptor no la enciende y apaga. Cualquier herramienta eléctrica que no se pueda controlar con el interruptor es peligrosa y debe repararse.
- Desconecte el enchufe de la fuente de alimentación y/o retire el paquete de baterías, si es desmontable, de la herramienta eléctrica antes de realizar cualquier ajuste, cambiar accesorios o guardar herramientas eléctricas. Tales medidas de seguridad preventivas reducen el riesgo de arrancar la herramienta eléctrica accidentalmente.
- Guarde las herramientas eléctricas inactivas fuera del alcance de los niños y no permita que personas que no estén familiarizadas con la herramienta eléctrica o con estas instrucciones operen la herramienta eléctrica. Las herramientas eléctricas son peligrosas en manos de usuarios no capacitados.
- Mantenga las herramientas eléctricas y los accesorios. Compruebe si hay desalineación o atascamiento de piezas móviles, rotura de piezas y cualquier otra condición que pueda afectar el funcionamiento de la herramienta eléctrica. Si está dañada, haga reparar la herramienta eléctrica antes de usarla. Muchos accidentes son causados por herramientas eléctricas mal mantenidas.
- Mantenga las herramientas de corte afiladas y limpias. Las herramientas de corte debidamente mantenidas con bordes de corte afilados tienen menos probabilidades de atascarse y son más fáciles de controlar.
- Utilice la herramienta eléctrica, los accesorios y las brocas, etc. de acuerdo con estas instrucciones, teniendo en cuenta las condiciones de trabajo y el trabajo a realizar. El uso de la herramienta eléctrica para operaciones diferentes a las previstas podría resultar en una situación peligrosa.
- Mantenga las manijas y las superficies de agarre secas, limpias y libres de aceite y grasa. Las manijas y las superficies de agarre resbaladizas no permiten un manejo y control seguros de la herramienta en situaciones inesperadas.
Uso y cuidado de herramientas de batería
- Recargue solo con el cargador especificado por el fabricante. Un cargador que sea adecuado para un tipo de paquete de baterías puede crear un riesgo de incendio cuando se utiliza con otro paquete de baterías.
- Utilice herramientas eléctricas solo con paquetes de baterías específicamente designados. El uso de cualquier otro paquete de baterías puede crear un riesgo de lesiones e incendio.
- Cuando el paquete de baterías no esté en uso, manténgalo alejado de otros objetos metálicos, como clips de papel, monedas, llaves, clavos, tornillos u otros objetos metálicos pequeños, que puedan hacer una conexión de un terminal a otro. Cortocircuitar los terminales de la batería puede causar quemaduras o un incendio.
- En condiciones abusivas, se puede expulsar líquido de la batería; evite el contacto. Si el contacto ocurre accidentalmente, enjuague con agua. Si el líquido entra en contacto con los ojos, busque además ayuda médica. El líquido expulsado de la batería puede causar irritación o quemaduras.
- No utilice un paquete de baterías o una herramienta que esté dañada o modificada. Las baterías dañadas o modificadas pueden exhibir un comportamiento impredecible que resulte en incendio, explosión o riesgo de lesiones.
- No exponga un paquete de baterías o una herramienta al fuego o a temperaturas excesivas. La exposición al fuego o a temperaturas superiores a 265°F (130°C) puede provocar una explosión.
- Siga todas las instrucciones de carga y no cargue el paquete de baterías o la herramienta fuera del rango de temperatura especificado en las instrucciones. Cargar incorrectamente o a temperaturas fuera del rango especificado puede dañar la batería y aumentar el riesgo de incendio.
Servicio
- Lleve su herramienta eléctrica a un técnico de reparación cualificado que utilice únicamente piezas de repuesto idénticas. Esto garantizará que se mantenga la seguridad de la herramienta eléctrica.
- Nunca repare paquetes de baterías dañados. La reparación de los paquetes de baterías solo debe ser realizada por el fabricante o proveedores de servicios autorizados.
Advertencias de seguridad importantes
Cuando utilice aparatos eléctricos de jardinería, siempre se deben seguir las precauciones básicas de seguridad para reducir el riesgo de incendio, descarga eléctrica y lesiones personales, incluyendo lo siguiente.
No retire la protección. La protección debe estar colocada durante el uso. Operar esta recortadora sin la protección anulará la garantía del producto.
Al reemplazar el hilo, utilice únicamente hilo de monofilamento de nailon trenzado de 0.080" (2 mm) de diámetro. Otros diámetros o formas pueden degradar el rendimiento o causar daños a la recortadora.
LEA TODAS LAS INSTRUCCIONES
- UTILICE SIEMPRE PROTECCIÓN PARA LOS OJOS – Utilice gafas de seguridad o gafas protectoras en todo momento cuando la batería esté instalada. Estos artículos están disponibles para su compra.
- PROTECCIÓN ‑ No utilice este aparato sin la protección colocada.
- VÍSTASE ADECUADAMENTE – No use ropa suelta ni joyas. Pueden quedar atrapadas en las piezas móviles. Se recomiendan guantes y calzado resistente con suela de goma cuando trabaje al aire libre. No opere el aparato descalzo o con sandalias abiertas. Use pantalones largos y gruesos para proteger sus piernas. Use una cubierta protectora para el cabello para recoger el cabello largo.
- HILO DE NAILON – Mantenga la cara, las manos y los pies alejados del hilo de nailon giratorio en todo momento.
- EL HILO GIRATORIO REALIZA UNA FUNCIÓN DE CORTE – Tenga cuidado al recortar alrededor de pantallas y plantaciones deseadas.
- NO UTILICE materiales no recomendados, como alambre de metal, cuerda y similares.
- MANTENGA A TODOS LOS TRANSÚNTES ALEJADOS – a una distancia segura del área de trabajo, especialmente los niños.
- MANTENGA A LOS NIÑOS, TRANSÚNTES Y ANIMALES ALEJADOS del área de trabajo a un mínimo de 30 pies (10 metros) al arrancar u operar la unidad.
- PARA REDUCIR EL RIESGO de lesiones por rebote (ricochet), trabaje alejándose de cualquier objeto sólido cercano, como paredes, escalones, piedras grandes, árboles, etc. Tenga mucho cuidado al trabajar cerca de objetos sólidos y, cuando sea necesario, recorte a mano.
- EVITE EL ARRANQUE ACCIDENTAL – No transporte la recortadora enchufada con el dedo en el gatillo.
- UTILICE EL APARATO ADECUADO – No utilice este aparato para ningún trabajo que no sea aquel para el que está destinado.
- NO SE EXTRALIMITE – Mantenga una postura y equilibrio adecuados en todo momento.
- NO FUERCE EL APARATO – Hará el trabajo mejor y con menos probabilidad de riesgo de lesiones al ritmo para el que fue diseñado.
- DAÑOS A LA UNIDAD – Si golpea o se enreda con un objeto extraño, detenga el aparato inmediatamente, desenchúfelo, verifique si hay daños y haga reparar cualquier daño antes de intentar una operación posterior. No opere con un cubo o carrete roto.
- DESCONECTE LA RECORTADORA – Retire la batería cuando no esté en uso, al reemplazar el hilo o antes de la limpieza.
- EVITE CONDICIONES AMBIENTALES PELIGROSAS – No utilice aparatos eléctricos en lugares húmedos o mojados. Siga todas las instrucciones de este Manual de instrucciones para el funcionamiento adecuado de su aparato. No utilice el aparato bajo la lluvia.
- NO OPERE aparatos eléctricos portátiles en atmósferas gaseosas o explosivas. Los motores de estos aparatos normalmente producen chispas, y las chispas podrían encender los humos.
- GUARDE LOS APARATOS INACTIVOS EN INTERIORES – Retire la batería cuando no esté en uso, los aparatos deben guardarse en interiores en un lugar seco y cerrado fuera del alcance de los niños.
- MANTÉNGASE ALERTA – No opere esta unidad cuando esté cansado, enfermo o bajo la influencia de alcohol, drogas o medicamentos.
- MANTENGA LOS APARATOS CON CUIDADO – Siga las instrucciones en la sección de mantenimiento. Mantenga las manijas secas, limpias y libres de aceite y grasa.
- VERIFIQUE LAS PIEZAS DAÑADAS – Antes de seguir utilizando el aparato, se debe verificar cuidadosamente una protección u otra pieza que esté dañada para determinar que funcionará correctamente y realizará su función prevista. Verifique la alineación de las piezas móviles, la unión de las piezas móviles, la rotura de las piezas, el montaje y cualquier otra condición que pueda afectar su funcionamiento. Una protección u otra pieza que esté dañada debe ser reparada o reemplazada adecuadamente por un centro de servicio autorizado, a menos que se indique lo contrario en este manual.
- NO sumerja el aparato en agua ni lo rocíe con una manguera. NO permita que entre líquido en su interior.
- NO guarde el aparato sobre o cerca de fertilizantes o productos químicos.
- NO limpie con una hidrolavadora.
- Mantenga las protecciones en su lugar y en buen estado de funcionamiento.
- Mantenga las manos y los pies alejados del área de corte.
- INSPECCIONE EL ÁREA antes de usar la unidad. Retire todos los escombros y objetos duros como rocas, vidrio, alambre, etc. que puedan rebotar, ser arrojados o causar lesiones o daños durante la operación.
No utilice el aparato si el gatillo del interruptor no enciende o apaga el aparato. Cualquier aparato que no se pueda controlar con el gatillo del interruptor es peligroso y debe ser reparado.
Advertencias de seguridad adicionales
Para reducir el riesgo de lesiones por rebote (ricochet), trabaje alejándose de cualquier objeto sólido cercano, como paredes, escalones, piedras grandes, árboles, etc.
- PROTECCIÓN – No utilice este aparato sin la protección colocada.
- VÍSTASE ADECUADAMENTE – No use ropa suelta ni joyas. Pueden quedar atrapadas en las piezas móviles. Se recomiendan guantes y calzado resistente con suela de goma cuando trabaje al aire libre. No opere el aparato descalzo o con sandalias abiertas. Use pantalones largos y gruesos para proteger sus piernas. Use una cubierta protectora para el cabello para recoger el cabello largo.
- MANTENGA LA CARA, LAS MANOS Y LOS PIES ALEJADOS DEL HILO DE NAILON GIRATORIO EN TODO MOMENTO. El hilo giratorio realiza una función de corte, tenga cuidado al recortar alrededor de pantallas y plantaciones deseadas.
- MANTENGA A TODOS LOS TRANSÚNTES ALEJADOS – a una distancia segura del área de trabajo, especialmente los niños. ASEGÚRESE de que otras personas y mascotas estén al menos a 100 pies (30 m) de distancia.
- CUANDO SE UTILIZA COMO BORDEADORA – piedras, trozos de metal y otros objetos pueden ser arrojados a alta velocidad por el hilo. El aparato y la protección están diseñados para reducir el peligro. Para reducir el riesgo de lesiones por rebote (ricochet), trabaje alejándose de cualquier objeto sólido cercano, como paredes, escalones, piedras grandes, árboles, etc.
- TENGA MUCHO CUIDADO al trabajar cerca de objetos sólidos y, cuando sea necesario, recorte a mano.
- DAÑOS A LA UNIDAD – Si golpea o se enreda con un objeto extraño, detenga el aparato inmediatamente, retire la batería, verifique si hay daños y haga reparar cualquier daño antes de intentar una operación posterior. No opere con un cubo o carrete roto.
- NO OPERE aparatos eléctricos portátiles en atmósferas gaseosas o explosivas. Los motores de estos aparatos normalmente producen chispas, y las chispas podrían encender los humos.
- MANTÉNGASE ALERTA – No opere esta unidad cuando esté cansado, enfermo o bajo la influencia de alcohol, drogas o medicamentos.
- NO sumerja el aparato en agua ni lo rocíe con una manguera.
- NO permita que entre líquido en su interior. Si el aparato se moja, déjelo secar durante un mínimo de 48 horas.
- NO limpie con una hidrolavadora.
- NO guarde el aparato sobre o cerca de fertilizantes o productos químicos.
- NO cargue el aparato bajo la lluvia o en lugares húmedos.
- GUARDE LOS APARATOS INACTIVOS EN INTERIORES – Cuando no estén en uso, los aparatos deben guardarse en interiores en un lugar seco y cerrado fuera del alcance de los niños.
Información de seguridad adicional
Nunca modifique la herramienta eléctrica ni ninguna parte de ella. Podrían producirse daños o lesiones personales.
SIEMPRE use gafas de seguridad. Las gafas de uso diario NO son gafas de seguridad. También use una máscara facial o antipolvo si la operación es polvorienta. SIEMPRE USE EQUIPO DE SEGURIDAD CERTIFICADO:
- Protección para los ojos ANSI Z87.1 (CAN/CSA Z94.3),
- Protección auditiva ANSI S12.6 (S3.19),
- Protección respiratoria NIOSH/OSHA/MSHA.
Algunos polvos contienen productos químicos que el Estado de California reconoce como causantes de cáncer, defectos de nacimiento u otros daños reproductivos. Algunos ejemplos de estos productos químicos son:
- compuestos en fertilizantes,
- compuestos en insecticidas, herbicidas y pesticidas,
- arsénico y cromo de madera tratada químicamente.
Para reducir su exposición a estos productos químicos, use equipo de seguridad aprobado, como máscaras antipolvo que están especialmente diseñadas para filtrar partículas microscópicas.
El uso de esta herramienta puede generar y/o dispersar polvo, lo que puede causar lesiones respiratorias u otras lesiones graves y permanentes. Siempre use protección respiratoria aprobada por NIOSH/OSHA adecuada para la exposición al polvo. Dirija las partículas lejos de la cara y el cuerpo.
Siempre use protección auditiva personal adecuada que cumpla con ANSI S12.6 (S3.19) durante el uso. En algunas condiciones y duración de uso, el ruido de este producto puede contribuir a la pérdida de audición.
Cuando no esté en uso, coloque la herramienta de lado sobre una superficie estable donde no cause peligro de tropiezo o caída. Algunas herramientas con un paquete de baterías grande se mantendrán en posición vertical, pero pueden volcarse fácilmente.
- Las rejillas de ventilación a menudo cubren piezas móviles y deben evitarse. La ropa suelta, las joyas o el cabello largo pueden quedar atrapados en las piezas móviles.
La etiqueta de su herramienta puede incluir los siguientes símbolos. Los símbolos y sus definiciones son los siguientes:
V - voltios
Hz - hercios
min - minutos
o CC - corriente continua
- Construcción de Clase I (conectada a tierra)
.../min - por minuto
BPM - pulsaciones por minuto
IPM - impactos por minuto
RPM - revoluciones por minuto
sfpm - pies de superficie por minuto
SPM - carreras por minuto
A - amperios
W- vatios
Wh - vatios hora
Ah - amperios hora
o CA - corriente alterna
o CA/CC - corriente alterna o continua
- Construcción de Clase II (doble aislamiento)
n0 - velocidad sin carga
n - velocidad nominal
PSI - libras por pulgada cuadrada
- terminal de puesta a tierra
- símbolo de alerta de seguridad
- radiación visible no mire fijamente a la luz
- use protección respiratoria
- use protección para los ojos
- use protección auditiva
- lea toda la documentación
BATERÍAS Y CARGADORES
La batería no está completamente cargada al sacarla de la caja. Antes de usar la batería y el cargador, lea las instrucciones de seguridad a continuación y luego siga los procedimientos de carga descritos. Al pedir baterías de repuesto, asegúrese de incluir el número de catálogo y el voltaje.
Instrucciones de seguridad importantes para todas las baterías
Lea todas las advertencias de seguridad, instrucciones y marcas de precaución para la batería, el cargador y el producto. No seguir las advertencias e instrucciones puede provocar descargas eléctricas, incendios y/o lesiones graves.
- No cargue ni use la batería en atmósferas explosivas, como en presencia de líquidos, gases o polvo inflamables. Insertar o retirar la batería del cargador puede encender el polvo o los vapores.
- NUNCA fuerce la batería en el cargador. NO modifique la batería de ninguna manera para que encaje en un cargador no compatible, ya que la batería puede romperse y causar lesiones personales graves. Consulte la tabla al final de este manual para conocer la compatibilidad de las baterías y los cargadores.
- Cargue las baterías solo en cargadores CRAFTSMAN.
- NO salpique ni sumerja en agua u otros líquidos.
- NO permita que entre agua o cualquier líquido en la batería.
- No guarde ni use la herramienta y la batería en lugares donde la temperatura pueda alcanzar o superar los 40 °C (104 °F) (como cobertizos exteriores o edificios de metal en verano). Para una mejor vida útil, guarde las baterías en un lugar fresco y seco.
NOTA: No guarde las baterías en una herramienta con el interruptor de gatillo bloqueado. Nunca pegue con cinta adhesiva el interruptor de gatillo en la posición ON (encendido).
- No incinere la batería, incluso si está gravemente dañada o completamente gastada. La batería puede explotar en un incendio. Se crean gases y materiales tóxicos cuando se queman las baterías de iones de litio.
- No exponga una batería o un aparato al fuego o a temperaturas excesivas. La exposición al fuego o a temperaturas superiores a 130 °C (265 °F) puede provocar una explosión.
- Siga todas las instrucciones de carga y no cargue la batería o el aparato fuera del rango de temperatura especificado en las instrucciones. Cargar incorrectamente o a temperaturas fuera del rango especificado puede dañar la batería y aumentar el riesgo de incendio.
- Si el contenido de la batería entra en contacto con la piel, lave inmediatamente el área con agua y jabón suave. Si el líquido de la batería entra en el ojo, enjuague con agua sobre el ojo abierto durante 15 minutos o hasta que cese la irritación. Si se necesita atención médica, el electrolito de la batería se compone de una mezcla de carbonatos orgánicos líquidos y sales de litio.
- El contenido de las celdas de la batería abiertas puede causar irritación respiratoria. Proporcione aire fresco. Si los síntomas persisten, busque atención médica.
- El líquido de la batería puede ser inflamable si se expone a chispas o llamas.
- Nunca intente abrir la batería por ningún motivo. Si la carcasa de la batería está agrietada o dañada, no la inserte en el cargador. No aplaste, deje caer ni dañe la batería. No use una batería o un cargador que haya recibido un golpe fuerte, se haya caído, haya sido atropellado o dañado de alguna manera (por ejemplo, perforado con un clavo, golpeado con un martillo, pisado). Las baterías dañadas deben devolverse al centro de servicio para su reciclaje.
Recomendaciones de almacenamiento
El mejor lugar para guardar es un lugar fresco y seco, alejado de la luz solar directa y del exceso de calor o frío. Guarde la batería completamente cargada fuera del cargador.
Instrucciones de limpieza de la batería
La suciedad y la grasa se pueden eliminar del exterior de la batería con un paño o un cepillo suave no metálico. No use agua ni ninguna solución de limpieza.
Baterías con indicador de combustible

Fig. B
Algunas baterías incluyen un indicador de combustible. Cuando se presiona y se mantiene presionado el botón del indicador de combustible, las luces LED indicarán el nivel de carga restante aproximado. Esto no indica la funcionalidad de la herramienta y está sujeto a variaciones según los componentes del producto, la temperatura y la aplicación del usuario final.
Transporte
Peligro de incendio. No guarde, transporte ni lleve la batería de manera que los objetos metálicos puedan entrar en contacto con los terminales de la batería expuestos.
Por ejemplo, no coloque la batería en delantales, bolsillos, cajas de herramientas, cajas de kits de productos, cajones, etc., con clavos sueltos, tornillos, llaves, monedas, herramientas manuales, etc. Cuando transporte baterías individuales, asegúrese de que los terminales de la batería estén protegidos y bien aislados de los materiales que puedan entrar en contacto con ellos y provocar un cortocircuito.
NOTA: Las baterías de iones de litio no deben colocarse en el equipaje facturado en los aviones y deben protegerse adecuadamente contra cortocircuitos si están en el equipaje de mano.
El sello RBRC®

Lleve sus baterías gastadas a un centro de servicio CRAFTSMAN autorizado o a su minorista local para su reciclaje. En algunas áreas, es ilegal colocar las baterías gastadas en la basura. También puede comunicarse con su centro de reciclaje local para obtener información sobre dónde dejar la batería gastada. No lo coloque en el reciclaje en la acera. Para obtener más información, visite www.call2recycle.org o llame al número gratuito que figura en el sello RBRC®.
RBRC® es una marca registrada de Call 2 Recycle, Inc.
Instrucciones de seguridad importantes para todos los cargadores de baterías
Lea todas las advertencias de seguridad, instrucciones y marcas de precaución para la batería, el cargador y el producto. No seguir las advertencias e instrucciones puede provocar descargas eléctricas, incendios y/o lesiones graves.
- NO intente cargar la batería con ningún cargador que no sea un cargador CRAFTSMAN. Los cargadores y las baterías CRAFTSMAN están diseñados específicamente para funcionar juntos.
- Estos cargadores no están diseñados para ningún otro uso que no sea la carga de baterías recargables CRAFTSMAN. Cargar otros tipos de baterías puede hacer que se sobrecalienten y exploten, lo que puede provocar lesiones personales, daños a la propiedad, incendios, descargas eléctricas o electrocución.
- No exponga el cargador a la lluvia ni a la nieve.
- No permita que entre agua o cualquier líquido en el cargador.
- Tire del enchufe en lugar del cable cuando desconecte el cargador. Esto reducirá el riesgo de dañar el enchufe y el cable eléctricos.
- Asegúrese de que el cable esté ubicado de manera que no se pise, se tropiece con él o se someta a daños o tensión.
- No use un cable de extensión a menos que sea absolutamente necesario. El uso de un cable de extensión incorrecto podría provocar riesgo de incendio, descarga eléctrica o electrocución.
- Cuando opere un cargador al aire libre, siempre proporcione un lugar seco y use un cable de extensión adecuado para uso en exteriores. El uso de un cable adecuado para uso en exteriores reduce el riesgo de descarga eléctrica.
- Un cable de extensión debe tener un tamaño de cable adecuado (AWG o American Wire Gauge) por seguridad. Cuanto menor sea el número de calibre del cable, más pesado será el cable y, por lo tanto, mayor será su capacidad. Un cable de tamaño insuficiente provocará una caída en el voltaje de la línea, lo que provocará una pérdida de energía y un sobrecalentamiento. La siguiente tabla muestra el tamaño correcto que se debe usar según la longitud total de todos los cables de extensión enchufados juntos y la clasificación de amperios de la placa de identificación. En caso de duda, use el siguiente calibre más pesado.
Calibre mínimo para juegos de cables
| Voltios | Longitud total del cable en pies (metros) | ||||
| 120V | 25 (7.6) | 50 (15.2) | 100 (30.5) | 150 (45.7) | |
| Clasificación de amperios | Calibre de cable americano | ||||
| Más que | No más que | ||||
| 0 | 6 | 18 | 16 | 16 | 14 |
| 6 | 10 | 18 | 16 | 14 | 12 |
| 10 | 12 | 16 | 16 | 14 | 12 |
| 12 | 16 | 14 | 12 | No recomendado | |
- No coloque ningún objeto encima del cargador ni coloque el cargador sobre una superficie blanda que pueda bloquear las ranuras de ventilación y provocar un calor interno excesivo.
Coloque el cargador en una posición alejada de cualquier fuente de calor. El cargador se ventila a través de ranuras en la parte superior e inferior de la carcasa. - No opere el cargador con un cable o enchufe dañado. Hágalos reemplazar inmediatamente.
- No opere el cargador si ha recibido un golpe fuerte, se ha caído o se ha dañado de alguna manera. Llévelo a un centro de servicio autorizado.
- No desmonte el cargador; llévelo a un centro de servicio autorizado cuando se requiera servicio o reparación. Un reensamblaje incorrecto puede provocar riesgo de descarga eléctrica, electrocución o incendio.
- El cargador está diseñado para funcionar con energía eléctrica doméstica estándar de 120 V. No intente usarlo con ningún otro voltaje. Esto no se aplica al cargador vehicular.
- Los materiales extraños de naturaleza conductora, como, entre otros, polvo de esmerilado, virutas de metal, lana de acero, papel de aluminio o cualquier acumulación de partículas metálicas, deben mantenerse alejados de las cavidades del cargador y las ranuras de ventilación.
- Siempre desenchufe el cargador de la fuente de alimentación cuando no haya una batería en la cavidad.
Carga de una batería
Indicadores para todos los cargadores excepto CMCB101

Fig. C
Solo indicadores del cargador CMCB101

Fig. D
- Enchufe el cargador en un tomacorriente apropiado.
- Inserte y asiente completamente la batería. La(s) luz(ces) verde(s) de carga parpadeará(n) continuamente durante la carga.
- La carga se completa cuando la(s) luz(ces) verde(s) de carga permanece(n) continuamente ENCENDIDA(S). La batería se puede dejar en el cargador o quitar.
Cargue las baterías solo a una temperatura del aire superior a 4,5 °C (40 °F) y inferior a +40 °C (104 °F).
- El cargador no cargará una batería defectuosa, lo que puede indicarse porque la(s) luz(ces) de carga permanece(n) APAGADA(S). Lleve el cargador y la batería a un centro de servicio autorizado si la(s) luz(ces) permanece(n) APAGADA(S).
NOTA: Consulte la etiqueta cerca de la(s) luz(ces) de carga en el cargador para ver los patrones de parpadeo.
NOTA: Para quitar la batería, algunos cargadores requieren que se presione el botón de liberación de la batería.
Retraso del paquete caliente/frío
Cuando el cargador detecta una batería que está demasiado caliente o demasiado fría, inicia automáticamente un retraso del paquete caliente/frío, suspendiendo la carga hasta que la batería haya alcanzado una temperatura adecuada. Luego, el cargador cambia automáticamente al modo de carga del paquete. Esta función garantiza la máxima vida útil de la batería.
Una batería fría puede cargarse a una velocidad más lenta que una batería caliente.
El retraso del paquete caliente/frío se indicará porque la(s) luz(ces) verde(s) continúa(n) parpadeando, pero con la luz roja continuamente ENCENDIDA. Una vez que la batería ha alcanzado una temperatura adecuada, la luz roja se APAGARÁ y el cargador reanudará el procedimiento de carga.
Sistema de protección electrónica
Las herramientas de iones de litio están diseñadas con un sistema de protección electrónica que protegerá la batería contra sobrecargas, sobrecalentamiento o descarga profunda. La herramienta se apagará automáticamente y la batería deberá recargarse.
Notas importantes sobre la carga
- El cargador y la batería pueden calentarse al tacto durante la carga. Esta es una condición normal y no indica un problema. Para facilitar el enfriamiento de la batería después de su uso, evite colocar el cargador o la batería en un ambiente cálido, como en un cobertizo de metal o un remolque sin aislamiento.
- Si la batería no se carga correctamente:
- Compruebe el funcionamiento del receptáculo enchufando una lámpara u otro aparato;
- Compruebe si el receptáculo está conectado a un interruptor de luz que apaga la alimentación cuando apaga las luces;
- Si los problemas de carga persisten, lleve la herramienta, la batería y el cargador a su centro de servicio local.
- Puede cargar una batería parcialmente usada cuando lo desee sin ningún efecto adverso en la batería.
Instrucciones de limpieza del cargador
Peligro de descarga eléctrica. Desconecte el cargador del tomacorriente de CA antes de limpiarlo. La suciedad y la grasa se pueden eliminar del exterior del cargador con un paño o un cepillo suave no metálico. No use agua ni ninguna solución de limpieza.
Montaje en la pared
Algunos cargadores CRAFTSMAN están diseñados para montarse en la pared o para sentarse en posición vertical sobre una mesa o superficie de trabajo. Si se monta en la pared, ubique el cargador al alcance de un tomacorriente y lejos de una esquina u otras obstrucciones que puedan impedir el flujo de aire. Use la parte posterior del cargador como plantilla para la ubicación de los tornillos de montaje en la pared. Monte el cargador de forma segura con tornillos para paneles de yeso (que se compran por separado) de al menos 25,4 mm (1") de largo, con un diámetro de cabeza de tornillo de 7 a 9 mm (0,28 a 0,35"), atornillados en la madera a una profundidad óptima dejando aproximadamente 5,5 mm (7/32") del tornillo expuesto. Alinee las ranuras en la parte posterior del cargador con los tornillos expuestos y engánchelos completamente en las ranuras.
NOTA: No intente montar el cargador CMCB101 debajo de un banco o mesa.
NOTA: Monte el cargador CMCB101 solo con las luces de carga apuntando hacia arriba, hacia el techo.
VersaTrack™
No cargue las baterías mientras el cargador está colgado en Trackwall.
Los cargadores CRAFTSMAN, excepto el CMCB101, se pueden guardar en CRAFTSMAN VersaTrack™ Trackwall. Los ganchos y accesorios se venden por separado. Consulte la hoja de accesorios de VersaTrack™ Trackwall para obtener más información.
NOTA: El cargador CMCB101 no es compatible con CRAFTSMAN VersaTrack™ Trackwall.
GUARDE ESTAS INSTRUCCIONES PARA USO FUTURO
MONTAJE Y AJUSTES
Para reducir el riesgo de lesiones personales graves, apague la unidad y retire la batería antes de realizar cualquier ajuste o retirar/instalar accesorios, al reemplazar el hilo o antes de la limpieza.
Un arranque accidental puede causar lesiones.
Instalación del protector

Fig. E

Fig. F
Nunca retire el protector. Podrían producirse daños o lesiones personales.
NUNCA OPERE EL APARATO SIN EL PROTECTOR FIRMEMENTE EN SU LUGAR.
El protector siempre debe estar correctamente sujeto al aparato para proteger al usuario.
- Retire el tornillo del protector
. - Deslice el protector
completamente sobre el cabezal de la recortadora
. Asegúrese de que las pestañas
del protector encajen en las ranuras del cabezal de la recortadora. - Continúe deslizando el protector hasta que "encaje" en su lugar. La pestaña de bloqueo debe encajar en la ranura de la carcasa.
- Con un destornillador de cabeza Phillips, inserte el tornillo del protector y apriételo bien.
- Una vez instalado el protector, retire la cubierta de la cuchilla de corte de hilo, ubicada en el borde del protector.
Colocación del mango auxiliar

Fig. G
- Coloque el mango auxiliar
en la parte superior del poste superior de la recortadora
como se muestra en la Fig. G. - Deslice el soporte
del mango auxiliar en la parte inferior del mango. - Pase los pernos del mango
a través del mango y dentro del soporte desde arriba. - Apriete los pernos del mango. Asegúrese de que el mango esté bien sujeto cerrando la abrazadera del mango
. - Para ajustar la posición del mango auxiliar, abra la abrazadera del mango y deslice el mango hacia arriba y hacia abajo del poste hasta que esté en la ubicación deseada. Cierre la abrazadera para fijar el mango en su lugar.
Liberación del hilo de corte
(Fig. A)
Durante el transporte, el hilo de corte se pega con cinta adhesiva a la carcasa del carrete
.
- Retire la cinta que sujeta el hilo de corte a la carcasa del carrete.
FUNCIONAMIENTO
Para reducir el riesgo de lesiones personales graves, apague la unidad y retire la batería antes de realizar cualquier ajuste o de retirar/instalar accesorios, al reemplazar el hilo o antes de la limpieza. Una puesta en marcha accidental puede causar lesiones.
Instalación y extracción de la batería

Fig. H
NOTA: Para obtener los mejores resultados, asegúrese de que la batería esté completamente cargada.
Para instalar la batería
en el mango de la herramienta, alinee la batería con los rieles dentro del mango de la herramienta y deslícela dentro del mango hasta que la batería quede firmemente asentada en la herramienta y asegúrese de que no se desconecte.
Para retirar la batería de la herramienta, presione el botón de liberación
y tire firmemente de la batería para sacarla del mango de la herramienta. Insértela en el cargador como se describe en la sección del cargador de este manual.
Posición correcta de la mano

Fig. I
Para reducir el riesgo de lesiones personales graves, SIEMPRE utilice la posición correcta de la mano como se muestra.
Para reducir el riesgo de lesiones personales graves, SIEMPRE sujete con seguridad anticipándose a una reacción repentina.
La posición correcta de la mano requiere una mano en el mango principal
y una mano en el mango auxiliar
.
Encendido y apagado de la recortadora
(Fig. A)
Nunca intente bloquear el gatillo en la posición de encendido.
Para encender el aparato, apriete el botón de bloqueo
y luego el gatillo
. Una vez que la unidad esté en funcionamiento, puede soltar el botón de bloqueo. Para apagar el aparato, suelte el gatillo.
Recorte
(Fig. J, K)

Fig. J, K
Con la recortadora encendida, inclínela y balancéela de lado a lado como se muestra en la Figura J.
Mantenga un ángulo de corte de 5 ° a 10 °. No exceda los 10 °. Corte con la punta del hilo.
Mantenga una distancia mínima de 24" (610 mm) entre la protección y sus pies como se muestra en la Figura K.
Convertir al modo de bordes
(Fig. A)
La guía de bordes solo debe usarse en el modo de bordes.
Retire la batería de la fuente de alimentación antes de realizar cualquier ajuste.
La recortadora se puede usar en modo de recorte o en modo de bordes para recortar el césped que sobresale a lo largo de los bordes del césped y los macizos de flores.
Para convertir la recortadora al modo de bordes:
- Presione el botón de conversión a bordes
y gire la carcasa del motor
180 ° en sentido antihorario, hasta que la carcasa del motor encaje en la posición de borde. - Para volver a la posición de recorte, presione el botón de conversión a bordes
y gire la carcasa del motor
180 ° en el sentido de las agujas del reloj hasta su posición original.
NOTA: Experimentará un desgaste del hilo de corte más rápido de lo normal si el hilo de la recortadora se coloca directamente sobre la acera o la superficie abrasiva.
Funcionamiento en modo de bordes
(Fig. A)
Cuando se usa como bordeador, las piedras, los trozos de metal y otros objetos pueden salir despedidos a alta velocidad por el hilo. La recortadora y la protección están diseñadas para reducir el peligro.
Sin embargo, ASEGÚRESE de que otras personas y mascotas estén al menos a 100' (30 m) de distancia. Los resultados de corte óptimos se logran en bordes de más de 2" (50 mm) de profundidad.
- No utilice esta recortadora para crear zanjas.
- Usando la guía de bordes
, guíe la recortadora. - Coloque la guía de bordes en el borde de la acera o superficie abrasiva de modo que el hilo de corte quede sobre el área de césped o tierra que se va a bordear.
- Para hacer un corte más cerca, incline ligeramente la recortadora.
Interruptor de control de velocidad
(Fig. A)
Esta recortadora de hilo le brinda la opción de operar a una velocidad más eficiente para extender el tiempo de funcionamiento para trabajos más grandes, o acelerar la velocidad de la recortadora para un corte de alto rendimiento.
Para acelerar la recortadora, empuje el interruptor de control de velocidad
hacia adelante, hacia el mango auxiliar
, a la posición "HI" (alto). Este modo es mejor para cortar a través de un crecimiento más pesado y para aplicaciones que necesitan RPM más altas.
Para extender el tiempo de funcionamiento, tire del interruptor de control de velocidad hacia atrás, hacia la carcasa de la batería
, a la posición "LO" (bajo). Este modo es mejor para proyectos más grandes que requieren más tiempo para completarse.
NOTA: Cuando está en modo "HI" (alto), el tiempo de funcionamiento disminuirá en comparación con cuando la recortadora está en modo "LO" (bajo).
Botón de alimentación del hilo
(Fig. A)
La función de alimentación del hilo le permite avanzar la longitud del hilo de corte disponible mientras recorta.
- Para extender el hilo de corte, presione completamente el botón de alimentación del hilo
mientras recorta y luego suelte.
NOTA: La recortadora dejará de cortar cuando se presione el botón de alimentación del hilo y reanudará el corte cuando se suelte.
NOTA: Para obtener la máxima longitud del hilo, presione el botón varias veces hasta que escuche que el hilo de corte golpea la protección. No continúe presionando el botón de alimentación del hilo una vez que se alcance la longitud máxima. Esto resultará en una sobrealimentación y consumirá el hilo rápidamente.
Consejos útiles para el corte
(Fig. I)
- Use la punta del hilo para hacer el corte; no fuerce el cabezal del hilo en el césped sin cortar. Use la guía de bordes a lo largo de cosas como cercas, casas y macizos de flores para obtener las mejores prácticas.
- Las cercas de alambre y piquetes causan un desgaste adicional del hilo, incluso roturas. Las paredes de piedra y ladrillo, los bordillos y la madera pueden desgastar el hilo rápidamente.
- No permita que la tapa del carrete
se arrastre por el suelo u otras superficies. - En crecimiento largo, corte de arriba hacia abajo y no exceda las 13" (330 mm) de altura.
- Mantenga la recortadora inclinada hacia el área que se está cortando; esta es la mejor área de corte.
- La recortadora corta al pasar la unidad de izquierda a derecha. Esto evitará arrojar escombros al operador.
- Evite los árboles y arbustos. La corteza de los árboles, las molduras de madera, los revestimientos y los postes de la cerca pueden dañarse fácilmente con el hilo.
Hilo de corte / Alimentación del hilo
Su recortadora usa hilo de nailon TWIST de .080" (2 mm) de diámetro. Durante el uso, las puntas de los hilos de nailon se deshilacharán y desgastarán. El hilo de corte se desgastará más rápido y requerirá más alimentación si el corte o el borde se realiza a lo largo de aceras u otras superficies abrasivas o si se cortan malezas más pesadas.
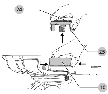
Eliminación de atascos y hilos enredados

Fig. L
Retire la batería de la recortadora antes de realizar cualquier montaje, ajuste o cambio de accesorios. Tales medidas de seguridad preventivas reducen el riesgo de encender el aparato accidentalmente.
De vez en cuando, especialmente al cortar malezas gruesas o con tallo, el cubo de alimentación del hilo puede obstruirse con savia u otro material y el hilo se atascará como resultado. Para eliminar el atasco, siga los pasos que se enumeran a continuación.
Para evitar daños al aparato, si el hilo de corte sobresale más allá de la cuchilla de recorte, córtelo de modo que apenas alcance la cuchilla.
- Retire la batería del aparato.
- Presione las pestañas de liberación
en la tapa del carrete
y retire la tapa del carrete de la carcasa del carrete
. - Saque el carrete de hilo de nailon y retire cualquier hilo roto o escombros de corte del área del carrete.
- Coloque el carrete en el aparato como se describe en Reemplazo del conjunto del carrete.
Reemplazo del conjunto del carrete
(Fig. L, M)

Fig. M
El uso de cualquier accesorio no recomendado por CRAFTSMAN para usar con este aparato podría ser peligroso.
No use cuchillas, ni ningún accesorio o aditamento que no sean los recomendados por CRAFTSMAN en esta recortadora/bordeador. Pueden producirse lesiones graves o daños al producto.
Vuelva a cargar el hilo de nailon (ya sea a granel o un carrete de repuesto preenrollado) como se muestra en este manual.
USE SOLO HILO MONOFILAMENTO DE NAILON TRENZADO DE .080" (2 mm) DE DIÁMETRO. No use hilo dentado o de calibre más pesado, ya que sobrecargarán el motor y causarán sobrecalentamiento. Este hilo está disponible en su distribuidor local o centro de servicio autorizado.
- Retire la batería del aparato.
- Presione las pestañas de liberación
en la tapa del carrete
, y retire la tapa del carrete de la carcasa del carrete
. - Para obtener los mejores resultados, reemplace el carrete con el modelo # CMZST080 de CRAFTSMAN.
- Si la palanca en la base de la carcasa se sale, vuelva a colocarla en la posición correcta antes de insertar un nuevo carrete en la carcasa.
- Retire cualquier suciedad y césped de la tapa del carrete y la carcasa del carrete.
- Desabroche el extremo del hilo de corte y guíe el hilo hacia el ojal.
- Tome el nuevo carrete y empújelo sobre el resalte
en la carcasa. Gire el carrete ligeramente hasta que esté asentado. - El hilo debe sobresalir aproximadamente 5‑3/8" (136 mm) de la carcasa.
- Alinee las pestañas de liberación en la tapa del carrete con las ranuras en la carcasa del carrete.
- Vuelva a colocar la tapa del carrete presionando las pestañas de liberación y presionando en la carcasa del carrete.
- Empuje la tapa sobre la carcasa hasta que encaje de forma segura en su lugar.
NOTA: Asegúrese de que la cubierta esté completamente colocada, escuche dos clics audibles para asegurarse de que ambas pestañas de liberación estén ubicadas correctamente. Encienda el aparato. En unos segundos o menos, escuchará que el hilo de nailon se corta automáticamente a la longitud adecuada.
NOTA: Otras piezas de repuesto (protectores, tapas de carrete, etc.) están disponibles a través de centros de servicio autorizados. Para encontrar su ubicación de servicio local, llame al: 1‑888‑331‑4569 o visite www.craftsman.com.
Rebobinado del carrete a partir de hilo a granel
(Fig. M, N)

Fig. N
Use solo hilo trenzado de .080" (2 mm) de diámetro
El hilo a granel también está disponible para su compra en su minorista local.
NOTA: Es probable que los carretes enrollados a mano con hilo a granel se enreden con más frecuencia que los carretes enrollados de fábrica de CRAFTSMAN. Para obtener los mejores resultados, se recomiendan los carretes enrollados de fábrica.
- Retire la batería del aparato.
- Retire el carrete vacío del aparato como se describe en Reemplazo del conjunto del carrete.
- Retire cualquier hilo de corte restante del carrete.
- Haga un pliegue en el extremo del hilo de corte a aproximadamente 3/4" (19 mm)
. Introduzca el hilo de corte en una de las ranuras de anclaje del hilo
. - Inserte el extremo de 3/4" (19 mm) del hilo a granel en el orificio
en el carrete adyacente a la ranura. Asegúrese de que el hilo esté bien apretado contra el carrete. - Enrolle el hilo de corte en el carrete en la dirección de la flecha en el carrete. Asegúrese de enrollar el hilo de forma ordenada y en capas. No entrecruce.
- Cuando el hilo de corte enrollado alcance los huecos
, corte el hilo. - Coloque el carrete en el aparato como se describe en
Reemplazo del conjunto del carrete.
MANTENIMIENTO
Para reducir el riesgo de lesiones personales graves, apague la unidad y retire la batería antes de realizar cualquier ajuste o de retirar/instalar accesorios, al reemplazar el hilo o antes de la limpieza. Un arranque accidental puede causar lesiones.
Su herramienta eléctrica CRAFTSMAN ha sido diseñada para funcionar durante un largo período de tiempo con un mínimo de mantenimiento. El funcionamiento satisfactorio continuo depende del cuidado adecuado de la herramienta y de una limpieza regular.
Limpieza
Sople la suciedad y el polvo de todas las rejillas de ventilación con aire limpio y seco al menos una vez a la semana. Para minimizar el riesgo de lesiones oculares, utilice siempre protección ocular aprobada por la ANSI Z87.1 al realizar este procedimiento.
Nunca utilice disolventes u otros productos químicos agresivos para limpiar las piezas no metálicas de la herramienta. Estos productos químicos pueden debilitar los materiales plásticos utilizados en estas piezas. Utilice un paño humedecido solo con agua y jabón suave. Nunca deje que entre líquido en la herramienta; nunca sumerja ninguna parte de la herramienta en un líquido.
Accesorios
Dado que los accesorios, que no sean los ofrecidos por CRAFTSMAN, no han sido probados con este producto, el uso de tales accesorios con esta herramienta podría ser peligroso. Para reducir el riesgo de lesiones, solo se deben utilizar con este producto los accesorios recomendados por CRAFTSMAN.
Los accesorios recomendados para usar con su herramienta están disponibles a un costo adicional en su distribuidor local o centro de servicio autorizado. Si necesita ayuda para localizar algún accesorio, póngase en contacto con CRAFTSMAN llamando al 1‑888‑331‑4569.
Reemplazo del protector
(Fig. E, F)
Nunca opere el aparato sin el protector firmemente en su lugar. Podrían producirse daños o lesiones personales.
Retire el protector actual
- Retire el tornillo del protector
que se muestra en la Fig. E. - Deslice el protector
para quitarlo.
Montaje del nuevo protector
- Deslice el protector en su lugar como se muestra en la Fig. F.
- Vuelva a colocar y apriete firmemente el tornillo del protector
.
Versatrack™

Fig. O
Para reducir el riesgo de lesiones personales graves, apague la unidad y retire la batería antes de realizar cualquier ajuste o de retirar/instalar accesorios. Un arranque accidental puede causar lesiones.
Para reducir el riesgo de lesiones personales graves, no utilice un gancho para colgar Versatrack™ o un panel Trackwall Versatrack™ dañados. Un gancho para colgar Versatrack™ o un panel Trackwall Versatrack™ dañados no soportarán el peso de la herramienta.
Para reducir el riesgo de lesiones personales graves, NO suspenda la herramienta por encima de la cabeza ni suspenda objetos del gancho para colgar. SOLO suspenda la herramienta en el panel Trackwall Versatrack™ utilizando el gancho para colgar.
Asegúrese de que el peso de la herramienta no exceda el peso máximo nominal de 20 lb (9 kg) para el gancho Versatrack™ seleccionado.
Cuando cuelgue objetos en un riel Trackwall Versatrack™, espacie adecuadamente las herramientas para no exceder las 75 lb (35 kg) por pie lineal.
Los accesorios Versatrack™ montan herramientas compatibles de forma segura en el sistema Trackwall Versatrack™.
- Apague la herramienta, retire la batería y los accesorios.
Cualquier producto con dientes de corte expuestos debe tenerlos cubiertos de forma segura si va a estar en el panel Trackwall Versatrack™.
- Voltee o abra el gancho para colgar integral
. Hace clic cuando se bloquea en su posición. - Monte el gancho para colgar integral en el panel Trackwall Versatrack™.
NOTA: Los accesorios Versatrack™ para usar con su herramienta están disponibles a un costo adicional en su distribuidor local o centro de servicio autorizado. Si necesita ayuda para localizar algún accesorio, póngase en contacto con CRAFTSMAN, llamando al 1‑888‑331‑4569.
Reparaciones
El cargador y la batería no son reparables. No hay piezas reparables dentro del cargador o la batería.
Para garantizar la SEGURIDAD y la FIABILIDAD del producto, las reparaciones, el mantenimiento y el ajuste (incluida la inspección y el reemplazo de las escobillas, cuando corresponda) deben ser realizados por un centro de servicio de fábrica de CRAFTSMAN o un centro de servicio autorizado de CRAFTSMAN. Utilice siempre piezas de repuesto idénticas.
Regístrese en línea
Gracias por su compra. Registre su producto ahora para:
- SERVICIO DE GARANTÍA: Registrar su producto le ayudará a obtener un servicio de garantía más eficiente en caso de que haya un problema con su producto.
- CONFIRMACIÓN DE LA PROPIEDAD: En caso de una pérdida de seguro, como incendio, inundación o robo, su registro de propiedad servirá como prueba de compra.
- POR SU SEGURIDAD: El registro de su producto nos permitirá ponernos en contacto con usted en el improbable caso de que se requiera una notificación de seguridad en virtud de la Ley Federal de Seguridad del Consumidor.
- Regístrese en línea en www.craftsman.com/registration
Garantía limitada de tres años
CRAFTSMAN reparará o reemplazará, sin cargo alguno, cualquier defecto debido a materiales o mano de obra defectuosos durante tres años a partir de la fecha de compra. Esta garantía no cubre el fallo de las piezas debido al desgaste normal o al uso indebido de la herramienta. Para obtener más detalles sobre la cobertura de la garantía y la información sobre la reparación de la garantía, visite www.craftsman.com o llame al 1‑888‑331‑4569. Esta garantía no se aplica a los accesorios ni a los daños causados cuando las reparaciones han sido realizadas o intentadas por otros. ESTA GARANTÍA LIMITADA SE OTORGA EN LUGAR DE TODAS LAS DEMÁS, INCLUIDA LA GARANTÍA IMPLÍCITA DE COMERCIABILIDAD E IDONEIDAD PARA UN PROPÓSITO PARTICULAR, Y EXCLUYE TODOS LOS DAÑOS INCIDENTALES O CONSECUENTES. Algunos estados no permiten limitaciones sobre la duración de una garantía implícita o la exclusión o limitación de daños incidentales o consecuentes, por lo que es posible que estas limitaciones no se apliquen en su caso. Esta garantía le otorga derechos legales específicos y es posible que tenga otros derechos que varían en ciertos estados o provincias.
GARANTÍA DE DEVOLUCIÓN DE DINERO DE 90 DÍAS
Si no está completamente satisfecho con el rendimiento de su herramienta eléctrica o clavadora CRAFTSMAN por cualquier motivo, puede devolverla dentro de los 90 días a partir de la fecha de compra con un recibo para obtener un reembolso completo, sin preguntas.
AMÉRICA LATINA: Esta garantía no se aplica a los productos vendidos en América Latina. Para los productos vendidos en América Latina, consulte la información de garantía específica del país que se encuentra en el embalaje, llame a la empresa local o consulte el sitio web para obtener información sobre la garantía.
REEMPLAZO GRATUITO DE LA ETIQUETA DE ADVERTENCIA: Si sus etiquetas de advertencia se vuelven ilegibles o faltan, llame al 1‑888‑331‑4569 para obtener un reemplazo gratuito.

Referencias
Home | CRAFTSMAN® | CRAFTSMAN
Call2Recycle | United StatesCall2Recycle | United States
Create Account | CRAFTSMAN
Descargar el manual
Aquí puede descargar la versión PDF completa del manual. Puede contener instrucciones de seguridad adicionales, información de garantía, reglas de la FCC, etc.
Descargar Manual de la recortadora/bordeadora de hilo CRAFTSMAN CMCST910M1, CMCST910 - 20V Max
.
completamente sobre el cabezal de la recortadora
. Asegúrese de que las pestañas
del protector encajen en las ranuras del cabezal de la recortadora.
en la parte superior del poste superior de la recortadora
como se muestra en la Fig. G.
del mango auxiliar en la parte inferior del mango.
a través del mango y dentro del soporte desde arriba.
.
y gire la 
, guíe la recortadora.
mientras recorta y luego suelte.
se arrastre por el suelo u otras superficies.
en la tapa del carrete
.
en la carcasa. Gire el carrete ligeramente hasta que esté asentado.
. Introduzca el hilo de corte en una de las ranuras de anclaje del hilo
.
en el carrete adyacente a la ranura. Asegúrese de que el hilo esté bien apretado contra el carrete.
, corte el hilo.
que se muestra en la Fig. E.
para quitarlo.
.
. Hace clic cuando se bloquea en su posición.