CRAFTSMAN CMCST915D1, CMCST915 - Manual de la recortadora/bordeadora de hilo de 20 V Max
- 1 INTRODUCCIÓN
- 2 VISIÓN GENERAL
- 3 ADVERTENCIAS GENERALES DE SEGURIDAD PARA HERRAMIENTAS ELÉCTRICAS
-
4
BATERÍAS Y CARGADORES
- 4.1 Instrucciones de seguridad importantes para todas las baterías
- 4.2 Recomendaciones de almacenamiento
- 4.3 Instrucciones de limpieza de la batería
- 4.4 Transporte
- 4.5 El sello RBRC
- 4.6 Instrucciones de seguridad importantes para todos los cargadores de baterías
- 4.7 Carga de una batería
- 4.8 Notas importantes sobre la carga
- 4.9 Instrucciones de limpieza del cargador
- 4.10 Montaje en pared
- 4.11 VersaTrack
- 5 MONTAJE Y AJUSTES
-
6
FUNCIONAMIENTO
- 6.1 Instalación y extracción de la batería
- 6.2 Posición correcta de la mano
- 6.3 Encendido y apagado de la recortadora
- 6.4 Recorte
- 6.5 Convertir al modo de bordes
- 6.6 Funcionamiento en el modo de bordes
- 6.7 Consejos útiles para el corte
- 6.8 Hilo de corte / Alimentación del hilo
- 6.9 Eliminación de atascos y enredos del hilo
- 6.10 Sustitución del conjunto del carrete
- 6.11 Rebobinado del carrete desde el hilo a granel
- 7 MANTENIMIENTO
- 8 Referencias
- 9 Descargar el manual
- 10 En otros idiomas

INTRODUCCIÓN
Lea todas las advertencias de seguridad y todas las instrucciones. El incumplimiento de las advertencias e instrucciones puede provocar descargas eléctricas, incendios y/o lesiones graves.
Para reducir el riesgo de lesiones, lea el manual de instrucciones.
Uso previsto
Esta recortadora de hilo está diseñada para aplicaciones domésticas de recorte y bordes.
NO la utilice en condiciones húmedas o en presencia de líquidos o gases inflamables.
NO permita que los niños entren en contacto con la herramienta.
Se requiere supervisión cuando operadores inexpertos utilicen esta herramienta.
Definiciones: Símbolos y palabras de alerta de seguridad
Este manual de instrucciones utiliza los siguientes símbolos y palabras de alerta de seguridad para alertarle sobre situaciones peligrosas y su riesgo de lesiones personales o daños a la propiedad.
Indica una situación de peligro inminente que, si no se evita, provocará la muerte o lesiones graves.
Indica una situación potencialmente peligrosa que, si no se evita, podría provocar la muerte o lesiones graves.
Indica una situación potencialmente peligrosa que, si no se evita, puede provocar lesiones leves o moderadas.
(Utilizado sin palabra) Indica un mensaje relacionado con la seguridad.
AVISO: Indica una práctica no relacionada con lesiones personales que, si no se evita, puede provocar daños a la propiedad.
VISIÓN GENERAL

Fig. A
Componentes
- Interruptor de encendido/apagado (On/Off trigger switch)
- Botón de bloqueo (Lock-off button)
- Mango auxiliar (Auxillary handle)
- Poste superior (Upper pole)
- Poste inferior (Lower pole)
- Bloqueo de retención (Detent lock)
- Ranura de retención (Detent slot)
- Botón de conversión a borde (Convert-to-edge button)
- Carcasa del motor (Motor housing)
- Rueda guía de borde (Edge guide wheel)
- Protector (Guard)
- Carcasa del carrete (Spool housing)
- Batería (battery)
- Liberación de la batería (battery release)
ADVERTENCIAS GENERALES DE SEGURIDAD PARA HERRAMIENTAS ELÉCTRICAS
Lea todas las advertencias de seguridad, instrucciones, ilustraciones y especificaciones proporcionadas con esta herramienta eléctrica. El incumplimiento de todas las instrucciones enumeradas a continuación puede provocar descargas eléctricas, incendios o lesiones graves.
GUARDE TODAS LAS ADVERTENCIAS E INSTRUCCIONES PARA FUTURAS CONSULTAS.
El término "herramienta eléctrica" en las advertencias se refiere a su herramienta eléctrica operada por la red eléctrica (con cable) o herramienta eléctrica operada por batería (inalámbrica).
Seguridad en el área de trabajo
- Mantenga el área de trabajo limpia y bien iluminada. Las áreas desordenadas u oscuras invitan a los accidentes.
- No opere herramientas eléctricas en atmósferas explosivas, como en presencia de líquidos, gases o polvo inflamables. Las herramientas eléctricas generan chispas que pueden encender el polvo o los vapores.
- Mantenga alejados a los niños y a los transeúntes mientras opera una herramienta eléctrica. Las distracciones pueden hacer que pierda el control.
Seguridad eléctrica
- Los enchufes de las herramientas eléctricas deben coincidir con el tomacorriente. Nunca modifique el enchufe de ninguna manera. No utilice ningún enchufe adaptador con herramientas eléctricas conectadas a tierra. Los enchufes no modificados y los tomacorrientes correspondientes reducirán el riesgo de descarga eléctrica.
- Evite el contacto corporal con superficies conectadas a tierra, como tuberías, radiadores, cocinas y refrigeradores. Existe un mayor riesgo de descarga eléctrica si su cuerpo está conectado a tierra.
- No exponga las herramientas eléctricas a la lluvia ni a condiciones de humedad. La entrada de agua en una herramienta eléctrica aumentará el riesgo de descarga eléctrica.
- No abuse del cable. Nunca utilice el cable para transportar, tirar o desenchufar la herramienta eléctrica. Mantenga el cable alejado del calor, el aceite, los bordes afilados o las piezas móviles. Los cables dañados o enredados aumentan el riesgo de descarga eléctrica.
- Cuando opere una herramienta eléctrica al aire libre, utilice un cable de extensión adecuado para uso en exteriores. El uso de un cable adecuado para uso en exteriores reduce el riesgo de descarga eléctrica.
- Si es inevitable operar una herramienta eléctrica en un lugar húmedo, utilice un suministro protegido por un interruptor de circuito por falla a tierra (GFCI). El uso de un GFCI reduce el riesgo de descarga eléctrica.
Seguridad personal
- Manténgase alerta, observe lo que está haciendo y use el sentido común al operar una herramienta eléctrica. No utilice una herramienta eléctrica si está cansado o bajo la influencia de drogas, alcohol o medicamentos. Un momento de falta de atención al operar herramientas eléctricas puede resultar en lesiones personales graves.
- Utilice equipo de protección personal. Utilice siempre protección para los ojos. El equipo de protección, como una máscara contra el polvo, zapatos de seguridad antideslizantes, casco o protección auditiva utilizados para las condiciones apropiadas, reducirá las lesiones personales.
- Evite el arranque involuntario. Asegúrese de que el interruptor esté en la posición de apagado antes de conectarlo a la fuente de alimentación y/o al paquete de baterías, al recoger o transportar la herramienta. Transportar herramientas eléctricas con el dedo en el interruptor o energizar herramientas eléctricas que tienen el interruptor encendido invita a los accidentes.
- Retire cualquier llave de ajuste o llave inglesa antes de encender la herramienta eléctrica. Una llave inglesa o una llave que quede unida a una pieza giratoria de la herramienta eléctrica puede provocar lesiones personales.
- No se exceda. Mantenga una postura y un equilibrio adecuados en todo momento. Esto permite un mejor control de la herramienta eléctrica en situaciones inesperadas.
- Vístase apropiadamente. No use ropa suelta ni joyas. Mantenga su cabello, ropa y guantes alejados de las piezas móviles. La ropa suelta, las joyas o el cabello largo pueden quedar atrapados en las piezas móviles.
- Si se proporcionan dispositivos para la conexión de instalaciones de extracción y recolección de polvo, asegúrese de que estén conectados y se utilicen correctamente. El uso de la recolección de polvo puede reducir los peligros relacionados con el polvo.
- No permita que la familiaridad adquirida por el uso frecuente de herramientas le permita volverse complaciente e ignorar los principios de seguridad de las herramientas. Una acción descuidada puede causar lesiones graves en una fracción de segundo.
Uso y cuidado de herramientas eléctricas
- No fuerce la herramienta eléctrica. Utilice la herramienta eléctrica correcta para su aplicación. La herramienta eléctrica correcta hará el trabajo mejor y de forma más segura al ritmo para el que fue diseñada.
- No utilice la herramienta eléctrica si el interruptor no la enciende y apaga. Cualquier herramienta eléctrica que no se pueda controlar con el interruptor es peligrosa y debe repararse.
- Desconecte el enchufe de la fuente de alimentación y/o retire el paquete de baterías, si es desmontable, de la herramienta eléctrica antes de realizar cualquier ajuste, cambiar accesorios o guardar herramientas eléctricas. Tales medidas de seguridad preventivas reducen el riesgo de encender la herramienta eléctrica accidentalmente.
- Guarde las herramientas eléctricas inactivas fuera del alcance de los niños y no permita que personas que no estén familiarizadas con la herramienta eléctrica o con estas instrucciones operen la herramienta eléctrica. Las herramientas eléctricas son peligrosas en manos de usuarios no capacitados.
- Mantenga las herramientas eléctricas y los accesorios. Compruebe si hay desalineación o atascamiento de piezas móviles, rotura de piezas y cualquier otra condición que pueda afectar el funcionamiento de la herramienta eléctrica. Si está dañada, haga reparar la herramienta eléctrica antes de usarla. Muchos accidentes son causados por herramientas eléctricas mal mantenidas.
- Mantenga las herramientas de corte afiladas y limpias. Las herramientas de corte debidamente mantenidas con bordes de corte afilados tienen menos probabilidades de atascarse y son más fáciles de controlar.
- Utilice la herramienta eléctrica, los accesorios y las brocas, etc. de acuerdo con estas instrucciones, teniendo en cuenta las condiciones de trabajo y el trabajo a realizar. El uso de la herramienta eléctrica para operaciones diferentes a las previstas podría resultar en una situación peligrosa.
- Mantenga las manijas y las superficies de agarre secas, limpias y libres de aceite y grasa. Las manijas y las superficies de agarre resbaladizas no permiten un manejo y control seguros de la herramienta en situaciones inesperadas.
Uso y cuidado de herramientas a batería
- Recargue solo con el cargador especificado por el fabricante. Un cargador que es adecuado para un tipo de paquete de baterías puede crear un riesgo de incendio cuando se usa con otro paquete de baterías.
- Utilice herramientas eléctricas solo con paquetes de baterías específicamente designados. El uso de cualquier otro paquete de baterías puede crear un riesgo de lesiones e incendio.
- Cuando el paquete de baterías no esté en uso, manténgalo alejado de otros objetos metálicos, como clips de papel, monedas, llaves, clavos, tornillos u otros objetos metálicos pequeños, que puedan hacer una conexión de un terminal a otro. Cortocircuitar los terminales de la batería puede causar quemaduras o un incendio.
- En condiciones abusivas, se puede expulsar líquido de la batería; evite el contacto. Si el contacto ocurre accidentalmente, enjuague con agua. Si el líquido entra en contacto con los ojos, busque además ayuda médica. El líquido expulsado de la batería puede causar irritación o quemaduras.
- No utilice un paquete de baterías o una herramienta que esté dañada o modificada. Las baterías dañadas o modificadas pueden exhibir un comportamiento impredecible que resulte en incendio, explosión o riesgo de lesiones.
- No exponga un paquete de baterías o una herramienta al fuego o a temperaturas excesivas. La exposición al fuego o a temperaturas superiores a 265°F (130°C) puede provocar una explosión.
- Siga todas las instrucciones de carga y no cargue el paquete de baterías o la herramienta fuera del rango de temperatura especificado en las instrucciones. Cargar incorrectamente o a temperaturas fuera del rango especificado puede dañar la batería y aumentar el riesgo de incendio.
Servicio
- Haga que su herramienta eléctrica sea reparada por un técnico calificado que utilice únicamente piezas de repuesto idénticas. Esto garantizará que se mantenga la seguridad de la herramienta eléctrica.
- Nunca repare paquetes de baterías dañados. El servicio de los paquetes de baterías solo debe ser realizado por el fabricante o proveedores de servicios autorizados.
Advertencias de seguridad adicionales
Para reducir el riesgo de lesiones por rebote (ricochet), trabaje alejándose de cualquier objeto sólido cercano, como paredes, escalones, piedras grandes, árboles, etc.
- PROTECTOR – No utilice este aparato sin el protector adjunto.
- VÍSTASE APROPIADAMENTE – No use ropa suelta ni joyas. Pueden quedar atrapadas en las piezas móviles. Se recomiendan guantes y calzado resistente con suela de goma cuando se trabaja al aire libre. No opere el aparato cuando esté descalzo o use sandalias abiertas. Use pantalones largos pesados para proteger sus piernas. Use una cubierta protectora para el cabello para contener el cabello largo.
- MANTENGA LA CARA, LAS MANOS Y LOS PIES ALEJADOS DE LA LÍNEA DE NYLON GIRATORIA EN TODO MOMENTO. La línea giratoria realiza una función de corte, tenga cuidado al recortar alrededor de pantallas y plantaciones deseables.
- MANTENGA A TODOS LOS TRanseúntes ALEJADOS – a una distancia segura del área de trabajo, especialmente los niños. ASEGÚRESE de que otras personas y mascotas estén al menos a 100 pies (30 m) de distancia.
- CUANDO SE UTILIZA COMO BORDEADORA – las piedras, las piezas de metal y otros objetos pueden ser expulsados a alta velocidad por la línea. El aparato y el protector están diseñados para reducir el peligro. Para reducir el riesgo de lesiones por rebote (ricochet), trabaje alejándose de cualquier objeto sólido cercano, como paredes, escalones, piedras grandes, árboles, etc.
- TENGA MUCHO CUIDADO cuando trabaje cerca de objetos sólidos y, cuando sea necesario, recorte a mano.
- DAÑOS A LA UNIDAD – Si golpea o se enreda con un objeto extraño, detenga el aparato inmediatamente, retire la batería, verifique si hay daños y haga reparar cualquier daño antes de intentar una operación adicional. No opere con un cubo o carrete roto.
- NO OPERE aparatos eléctricos portátiles en atmósferas gaseosas o explosivas. Los motores de estos aparatos normalmente producen chispas, y las chispas podrían encender los vapores.
- MANTÉNGASE ALERTA – No opere esta unidad cuando esté cansado, enfermo o bajo la influencia del alcohol, drogas o medicamentos.
- NO sumerja el aparato en agua ni lo rocíe con una manguera.
- NO permita que entre líquido en su interior. Si el aparato se moja, déjelo secar durante un mínimo de 48 horas.
- NO limpie con una hidrolavadora.
- NO almacene el aparato sobre o cerca de fertilizantes o productos químicos.
- NO cargue el aparato bajo la lluvia o en lugares húmedos.
- GUARDE LOS APARATOS INACTIVOS EN INTERIORES – Cuando no estén en uso, los aparatos deben guardarse en interiores en un lugar seco y cerrado fuera del alcance de los niños.
Información de seguridad adicional
Nunca modifique la herramienta eléctrica ni ninguna parte de ella. Podrían producirse daños o lesiones personales.
SIEMPRE use gafas de seguridad. Las gafas de uso diario NO son gafas de seguridad. También use una máscara facial o contra el polvo si la operación es polvorienta. SIEMPRE USE EQUIPO DE SEGURIDAD CERTIFICADO:
- Protección para los ojos ANSI Z87.1 (CAN/CSA Z94.3),
- Protección auditiva ANSI S12.6 (S3.19),
- Protección respiratoria NIOSH/OSHA/MSHA.
Algunos polvos contienen productos químicos que el estado de California reconoce como causantes de cáncer, defectos de nacimiento u otros daños reproductivos. Algunos ejemplos de estos productos químicos son:
- compuestos en fertilizantes,
- compuestos en insecticidas, herbicidas y pesticidas,
- arsénico y cromo de madera tratada químicamente.
Para reducir su exposición a estos productos químicos, use equipo de seguridad aprobado, como máscaras contra el polvo que están especialmente diseñadas para filtrar partículas microscópicas.
El uso de esta herramienta puede generar y/o dispersar polvo, lo que puede causar lesiones respiratorias u otras lesiones graves y permanentes. Siempre use protección respiratoria aprobada por NIOSH/OSHA apropiada para la exposición al polvo. Dirija las partículas lejos de la cara y el cuerpo.
Siempre use la protección auditiva personal adecuada que cumpla con ANSI S12.6 (S3.19) durante el uso. En algunas condiciones y duración de uso, el ruido de este producto puede contribuir a la pérdida de audición.
Cuando no esté en uso, coloque la herramienta de lado sobre una superficie estable donde no cause un peligro de tropiezo o caída. Algunas herramientas con un paquete de baterías grande se mantendrán en posición vertical, pero pueden volcarse fácilmente.
- Las rejillas de ventilación a menudo cubren piezas móviles y deben evitarse. La ropa suelta, las joyas o el cabello largo pueden quedar atrapados en las piezas móviles.
La etiqueta de su herramienta puede incluir los siguientes símbolos. Los símbolos y sus definiciones son los siguientes:
BPM - golpes por minuto
V - voltios
min - minutos
o CC - corriente continua
.../min -por minuto
RPM - revoluciones por minuto
A - amperios
Hz - hercios
W- vatios
Wh - vatios hora
n0 - velocidad sin carga
n - velocidad nominal
- símbolo de alerta de seguridad
- use protección respiratoria
- use protección para los ojos
- Construcción de clase II (doble aislamiento)
- use protección auditiva
- lea toda la documentación
- evite mirar fijamente la luz
o CA- corriente alterna
Ah - amperios hora
BATERÍAS Y CARGADORES
La batería no viene completamente cargada de fábrica. Antes de usar la batería y el cargador, lea las instrucciones de seguridad a continuación y luego siga los procedimientos de carga descritos. Al solicitar baterías de repuesto, asegúrese de incluir el número de catálogo y el voltaje.
LEA TODAS LAS INSTRUCCIONES
Instrucciones de seguridad importantes para todas las baterías
Lea todas las advertencias de seguridad, instrucciones y marcas de precaución para la batería, el cargador y el producto. El incumplimiento de las advertencias e instrucciones puede provocar descargas eléctricas, incendios y/o lesiones graves.
- No cargue ni utilice la batería en atmósferas explosivas, como en presencia de líquidos, gases o polvo inflamables. Insertar o quitar la batería del cargador puede encender el polvo o los vapores.
- NUNCA fuerce la batería en el cargador. NO modifique la batería de ninguna manera para que encaje en un cargador no compatible, ya que la batería puede romperse y causar lesiones personales graves. Consulte la tabla al final de este manual para conocer la compatibilidad de las baterías y los cargadores.
- Cargue las baterías solo en cargadores CRAFTSMAN.
- NO salpique ni sumerja en agua u otros líquidos.
- NO permita que entre agua o cualquier líquido en la batería.
- No almacene ni utilice la herramienta y la batería en lugares donde la temperatura pueda alcanzar o superar los 40 °C (104 °F) (como cobertizos exteriores o edificios metálicos en verano). Para una mejor vida útil, guarde las baterías en un lugar fresco y seco.
NOTA: No guarde las baterías en una herramienta con el interruptor de gatillo bloqueado. Nunca pegue con cinta adhesiva el interruptor de gatillo en la posición ON (encendido).
- No incinere la batería, incluso si está gravemente dañada o completamente gastada. La batería puede explotar en un incendio. Se crean gases y materiales tóxicos cuando se queman las baterías de iones de litio.
- No exponga una batería o un aparato al fuego o a temperaturas excesivas. La exposición al fuego o a temperaturas superiores a 130 °C (265 °F) puede provocar una explosión.
- Siga todas las instrucciones de carga y no cargue la batería o el aparato fuera del rango de temperatura especificado en las instrucciones. Cargar incorrectamente o a temperaturas fuera del rango especificado puede dañar la batería y aumentar el riesgo de incendio.
- Si el contenido de la batería entra en contacto con la piel, lave inmediatamente el área con agua y jabón suave. Si el líquido de la batería entra en el ojo, enjuague con agua sobre el ojo abierto durante 15 minutos o hasta que cese la irritación. Si se necesita atención médica, el electrolito de la batería se compone de una mezcla de carbonatos orgánicos líquidos y sales de litio.
- El contenido de las celdas de la batería abiertas puede causar irritación respiratoria. Proporcione aire fresco. Si los síntomas persisten, busque atención médica.
- El líquido de la batería puede ser inflamable si se expone a chispas o llamas.
- Nunca intente abrir la batería por ningún motivo. Si la carcasa de la batería está agrietada o dañada, no la inserte en el cargador. No aplaste, deje caer ni dañe la batería. No utilice una batería o un cargador que haya recibido un golpe fuerte, se haya caído, haya sido atropellado o dañado de alguna manera (por ejemplo, perforado con un clavo, golpeado con un martillo, pisado). Las baterías dañadas deben devolverse al centro de servicio para su reciclaje.
Recomendaciones de almacenamiento
El mejor lugar para guardar es un lugar fresco y seco, alejado de la luz solar directa y del exceso de calor o frío. Guarde la batería completamente cargada fuera del cargador.
Instrucciones de limpieza de la batería
La suciedad y la grasa se pueden eliminar del exterior de la batería con un paño o un cepillo suave no metálico. No utilice agua ni ninguna solución de limpieza.
Baterías con indicador de combustible

Fig. B
Algunas baterías incluyen un indicador de combustible. Cuando se presiona y se mantiene presionado el botón del indicador de combustible, las luces LED indicarán el nivel de carga restante aproximado. Esto no indica la funcionalidad de la herramienta y está sujeto a variaciones según los componentes del producto, la temperatura y la aplicación del usuario final.
Transporte
Peligro de incendio. No almacene, transporte ni traslade la batería de manera que los objetos metálicos puedan entrar en contacto con los terminales de la batería expuestos.
Por ejemplo, no coloque la batería en delantales, bolsillos, cajas de herramientas, cajas de kits de productos, cajones, etc., con clavos, tornillos, llaves, monedas, herramientas manuales sueltos, etc. Cuando transporte baterías individuales, asegúrese de que los terminales de la batería estén protegidos y bien aislados de los materiales que puedan entrar en contacto con ellos y provocar un cortocircuito.
NOTA: Las baterías de iones de litio no deben colocarse en el equipaje facturado en los aviones y deben protegerse adecuadamente contra cortocircuitos si se encuentran en el equipaje de mano.
El sello RBRC®

Lleve sus baterías gastadas a un centro de servicio autorizado o a su minorista local para su reciclaje. En algunas áreas, es ilegal colocar las baterías gastadas en la basura. También puede comunicarse con su centro de reciclaje local para obtener información sobre dónde dejar la batería gastada. No lo coloque en el reciclaje en la acera. Para obtener más información, visite www.call2recycle.org o llame al número gratuito que figura en el sello RBRC®.
RBRC® es una marca registrada de Call 2 Recycle, Inc.
Instrucciones de seguridad importantes para todos los cargadores de baterías
Lea todas las advertencias de seguridad, instrucciones y marcas de precaución para la batería, el cargador y el producto. El incumplimiento de las advertencias e instrucciones puede provocar descargas eléctricas, incendios y/o lesiones graves.
- NO intente cargar la batería con ningún cargador que no sea un cargador CRAFTSMAN. Los cargadores y las baterías CRAFTSMAN están diseñados específicamente para funcionar juntos.
- Estos cargadores no están diseñados para ningún otro uso que no sea la carga de baterías recargables CRAFTSMAN. Cargar otros tipos de baterías puede provocar que se sobrecalienten y exploten, lo que puede provocar lesiones personales, daños a la propiedad, incendios, descargas eléctricas o electrocución.
- No exponga el cargador a la lluvia ni a la nieve.
- No permita que entre agua o cualquier líquido en el cargador.
- Tire del enchufe en lugar del cable cuando desconecte el cargador. Esto reducirá el riesgo de dañar el enchufe y el cable eléctricos.
- Asegúrese de que el cable esté ubicado de manera que no se pise, se tropiece con él o se someta a daños o tensiones.
- No utilice un cable de extensión a menos que sea absolutamente necesario. El uso de un cable de extensión incorrecto podría provocar un riesgo de incendio, descarga eléctrica o electrocución.
- Cuando opere un cargador al aire libre, siempre proporcione un lugar seco y utilice un cable de extensión adecuado para uso en exteriores. El uso de un cable adecuado para uso en exteriores reduce el riesgo de descarga eléctrica.
- Un cable de extensión debe tener un tamaño de cable adecuado (AWG o American Wire Gauge) por seguridad. Cuanto menor sea el número de calibre del cable, más pesado será el cable y, por lo tanto, mayor será su capacidad. Un cable de tamaño insuficiente provocará una caída en el voltaje de la línea, lo que provocará una pérdida de energía y un sobrecalentamiento. La siguiente tabla muestra el tamaño correcto que se debe usar según la longitud total de todos los cables de extensión enchufados juntos y la clasificación de amperaje de la placa de identificación. En caso de duda, utilice el siguiente calibre más pesado.
Calibre mínimo para juegos de cables
| Voltios | Longitud total del cable en pies (metros) | ||||
| 120V | 25 (7.6) | 50 (15.2) | 100 (30.5) | 150 (45.7) | |
| Clasificación de amperaje | Calibre de cable americano | ||||
| Más que | No más que | ||||
| 0 | 6 | 18 | 16 | 16 | 14 |
| 6 | 10 | 18 | 16 | 14 | 12 |
| 10 | 12 | 16 | 16 | 14 | 12 |
| 12 | 16 | 14 | 12 | No recomendado | |
- No coloque ningún objeto encima del cargador ni coloque el cargador sobre una superficie blanda que pueda bloquear las ranuras de ventilación y provocar un calor interno excesivo. Coloque el cargador en una posición alejada de cualquier fuente de calor. El cargador se ventila a través de ranuras en la parte superior e inferior de la carcasa.
- No opere el cargador con un cable o enchufe dañado. Hágalos reemplazar inmediatamente.
- No opere el cargador si ha recibido un golpe fuerte, se ha caído o se ha dañado de alguna manera. Llévelo a un centro de servicio autorizado.
- No desmonte el cargador; llévelo a un centro de servicio autorizado cuando se requiera servicio o reparación. Un reensamblaje incorrecto puede provocar un riesgo de descarga eléctrica, electrocución o incendio.
- El cargador está diseñado para funcionar con una alimentación eléctrica doméstica estándar de 120 V. No intente utilizarlo con ningún otro voltaje. Esto no se aplica al cargador vehicular.
- Los materiales extraños de naturaleza conductora, tales como, entre otros, polvo de esmerilado, virutas de metal, lana de acero, papel de aluminio o cualquier acumulación de partículas metálicas, deben mantenerse alejados de las cavidades del cargador y las ranuras de ventilación.
- Siempre desenchufe el cargador de la fuente de alimentación cuando no haya ninguna batería en la cavidad.
Carga de una batería
Indicadores

Fig. C
- Enchufe el cargador en un tomacorriente adecuado.
- Inserte y asiente completamente la batería. La luz verde de carga parpadeará continuamente durante la carga.
- La carga se completa cuando la luz verde de carga permanece encendida continuamente. La batería se puede dejar en el cargador o quitar.
- El cargador no cargará una batería defectuosa, lo que puede indicarse porque la luz permanece APAGADA (OFF). Lleve el cargador y la batería a un centro de servicio autorizado si la luz permanece APAGADA (OFF).
NOTA: Consulte la etiqueta cerca de la luz de carga en el cargador para ver los patrones de parpadeo.
Retraso del paquete caliente/frío
Cuando el cargador detecta una batería que está demasiado caliente o demasiado fría, inicia automáticamente un retraso del paquete caliente/frío, suspendiendo la carga hasta que la batería haya alcanzado una temperatura adecuada. Luego, el cargador cambia automáticamente al modo de carga del paquete. Esta función garantiza la máxima vida útil de la batería.
Una batería fría puede cargarse a una velocidad más lenta que una batería caliente.
El retraso del paquete caliente/frío se indicará mediante la luz verde que continúa parpadeando pero con la luz roja continuamente ENCENDIDA (ON). Una vez que la batería haya alcanzado una temperatura adecuada, la luz roja se APAGARÁ (OFF) y el cargador reanudará el procedimiento de carga.
Sistema de protección electrónica
Las herramientas de iones de litio están diseñadas con un sistema de protección electrónica que protegerá la batería contra sobrecargas, sobrecalentamiento o descarga profunda. La herramienta se apagará automáticamente y será necesario recargar la batería.
Notas importantes sobre la carga
- El cargador y la batería pueden calentarse al tacto durante la carga. Esta es una condición normal y no indica un problema. Para facilitar el enfriamiento de la batería después de su uso, evite colocar el cargador o la batería en un ambiente cálido, como en un cobertizo de metal o un remolque sin aislamiento.
- Si la batería no se carga correctamente:
- Compruebe el funcionamiento del receptáculo enchufando una lámpara u otro aparato;
- Compruebe si el receptáculo está conectado a un interruptor de luz que apaga la alimentación cuando apaga las luces;
- Si los problemas de carga persisten, lleve la herramienta, la batería y el cargador a su centro de servicio local.
- Puede cargar una batería parcialmente usada cuando lo desee sin ningún efecto adverso en la batería.
Instrucciones de limpieza del cargador
Peligro de descarga eléctrica. Desconecte el cargador del tomacorriente de CA antes de limpiarlo. La suciedad y la grasa se pueden eliminar del exterior del cargador con un paño o un cepillo suave no metálico. No utilice agua ni ninguna solución de limpieza.
Montaje en pared
Algunos cargadores CRAFTSMAN están diseñados para montarse en la pared o para sentarse en posición vertical sobre una mesa o superficie de trabajo. Si va a montar en la pared, coloque el cargador al alcance de un tomacorriente y lejos de una esquina u otras obstrucciones que puedan impedir el flujo de aire. Utilice la parte posterior del cargador como plantilla para la ubicación de los tornillos de montaje en la pared. Monte el cargador de forma segura con tornillos para paneles de yeso (que se compran por separado) de al menos 25,4 mm (1") de largo, con un diámetro de cabeza de tornillo de 7 a 9 mm (0,28 a 0,35"), atornillados en la madera a una profundidad óptima, dejando aproximadamente 5,5 mm (7/32") del tornillo expuesto. Alinee las ranuras en la parte posterior del cargador con los tornillos expuestos y engánchelos completamente en las ranuras.
VersaTrack™
No cargue las baterías mientras el cargador está colgado en Trackwall.
Los cargadores CRAFTSMAN se pueden guardar en CRAFTSMAN VersaTrack™ Trackwall. Los ganchos y accesorios se venden por separado. Consulte la hoja de accesorios de VersaTrack™ Trackwall para obtener más información.
GUARDE ESTAS INSTRUCCIONES PARA USO FUTURO
MONTAJE Y AJUSTES
Para reducir el riesgo de lesiones personales graves, apague la unidad y retire la batería antes de realizar cualquier ajuste o retirar/instalar accesorios, al reemplazar el hilo o antes de la limpieza. Una puesta en marcha accidental puede causar lesiones.
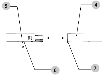
Montaje de los postes superior e inferior

Fig. D
Para fijar los postes:
- Al instalar el poste inferior
en el poste superior
, alinee el bloqueo de retención
con la ranura de retención
como se muestra en la Fig. D. - Presione los dos postes juntos para que el bloqueo de retención
encaje en la ranura de retención
.
Compruebe siempre que el bloqueo de retención esté completamente asegurado en su lugar. Si el bloqueo de retención no está completamente asegurado, podría provocar que los conjuntos se desconecten, creando una condición peligrosa. Compruebe periódicamente las conexiones para asegurarse de que el bloqueo de retención esté completamente asegurado en su lugar.
Instalación del protector

Fig. E
Nunca retire el protector. Podrían producirse daños o lesiones personales.
NUNCA PONGA EN FUNCIONAMIENTO EL APARATO SIN EL PROTECTOR FIRMEMENTE COLOCADO.
El protector siempre debe estar correctamente fijado al aparato para proteger al usuario.
- Retire el tornillo del protector
. - Deslice el protector
completamente sobre el cabezal de la recortadora
. Asegúrese de que las pestañas
del protector encajen en las nervaduras del cabezal de la recortadora. - Continúe deslizando el protector hasta que "encaje" en su lugar. La pestaña de bloqueo debe encajar en la ranura de la carcasa.
- Con un destornillador de cabeza Phillips, inserte el tornillo del protector y apriételo firmemente.
- Una vez instalado el protector, retire la cubierta de la cuchilla de corte del hilo, situada en el borde del protector.
Liberación del hilo de corte
(Fig. A)
Durante el transporte, el hilo de corte está pegado con cinta adhesiva a la carcasa del carrete
.
- Retire la cinta que sujeta el hilo de corte a la carcasa del carrete.
FUNCIONAMIENTO
Para reducir el riesgo de lesiones personales graves, apague la unidad y retire la batería antes de realizar cualquier ajuste o de retirar/instalar accesorios o complementos. Una puesta en marcha accidental puede causar lesiones.
Utilice siempre la protección ocular adecuada que cumpla con la norma ANSI Z87.1 (CAN/CSA Z94.3) mientras utiliza este aparato.
Antes de empezar a recortar, utilice solo el tipo de hilo de corte adecuado.
Inspeccione el área que va a recortar y retire cualquier cable, cordón u objeto similar que pueda enredarse en el hilo o el carrete giratorio. Tenga especial cuidado de evitar cualquier cable que pueda estar doblado hacia afuera en la trayectoria del aparato, como las púas en la base de una valla de tela metálica.
Instalación y extracción de la batería

Fig. F
NOTA: Para obtener los mejores resultados, asegúrese de que la batería esté completamente cargada.
- Para instalar la batería
en el mango de la herramienta, alinee la batería con los rieles dentro del mango de la herramienta y deslícela dentro del mango hasta que la batería quede firmemente asentada en la herramienta y asegúrese de que no se suelte. - Para retirar la batería de la herramienta, pulse el botón de liberación
y tire firmemente de la batería para sacarla del mango de la herramienta. Insértela en el cargador como se describe en la sección del cargador de este manual.
Posición correcta de la mano

Fig. G
Para reducir el riesgo de lesiones personales graves, SIEMPRE utilice la posición correcta de la mano como se muestra.
Para reducir el riesgo de lesiones personales graves, SIEMPRE sujete con firmeza anticipándose a una reacción repentina.
La posición correcta de la mano requiere una mano en el mango principal
y una mano en el mango auxiliar
.
Encendido y apagado de la recortadora
(Fig. A)
Nunca intente bloquear el gatillo en la posición de encendido.
Para encender el aparato, apriete el botón de bloqueo
y luego el gatillo
. Una vez que la unidad esté en funcionamiento, puede soltar el botón de bloqueo. Para apagar el aparato, suelte el gatillo.
Recorte

Fig. H, I
Con la recortadora encendida, inclínela y balancéela de lado a lado como se muestra en la Figura H.
Mantenga un ángulo de corte de 5° a 10°. No exceda los 10°. Corte con la punta del hilo.
Mantenga una distancia mínima de 24" (610 mm) entre la protección y sus pies como se muestra en la Figura I.
Convertir al modo de bordes

Fig. J
La guía de bordes solo debe utilizarse en el modo de bordes.
La recortadora se puede utilizar en el modo de recorte o en el modo de bordes para recortar el césped que sobresale a lo largo de los bordes del césped y los macizos de flores.
Para convertir la recortadora al modo de bordes:
- Retire la batería de la recortadora.
- Pulse el botón de conversión a bordes
y gire la carcasa del motor
180 ° en sentido contrario a las agujas del reloj, hasta que la carcasa del motor encaje en la posición de borde. - Para volver a la posición de recorte, pulse el botón de conversión a bordes
y gire la carcasa del motor
180 ° en el sentido de las agujas del reloj hasta su posición original.
NOTA: Experimentará un desgaste del hilo de corte más rápido de lo normal si el hilo de la recortadora se coloca directamente sobre la acera o una superficie abrasiva.
Funcionamiento en el modo de bordes
(Fig. J)
Cuando se utiliza como bordeador, el hilo puede lanzar piedras, trozos de metal y otros objetos a gran velocidad. La recortadora y la protección están diseñadas para reducir el peligro.
Sin embargo, ASEGÚRESE de que otras personas y mascotas estén al menos a 100' (30 m) de distancia. Los resultados de corte óptimos se logran en bordes de más de 2" (50 mm) de profundidad.
- No utilice esta recortadora para crear zanjas.
- Utilice la guía de bordes
para guiar la recortadora. - Coloque la guía de bordes en el borde de la acera o superficie abrasiva de modo que el hilo de corte quede sobre el área de césped o tierra que se va a bordear.
- Para hacer un corte más apurado, incline ligeramente la recortadora.
Consejos útiles para el corte
(Fig. I)
- Utilice la punta del hilo para cortar; no fuerce el cabezal del hilo en el césped sin cortar. Utilice la guía de bordes a lo largo de elementos como vallas, casas y macizos de flores para obtener las mejores prácticas.
- Las vallas de alambre y piquetes provocan un desgaste adicional del hilo, incluso roturas. Las paredes de piedra y ladrillo, los bordillos y la madera pueden desgastar el hilo rápidamente.
- No permita que la tapa del carrete
se arrastre por el suelo u otras superficies. - En crecimiento largo, corte de arriba hacia abajo y no exceda las 13" (330 mm) de altura.
- Mantenga la recortadora inclinada hacia el área que se está cortando; esta es la mejor área de corte.
- La recortadora corta al pasar la unidad de izquierda a derecha. Esto evitará que se arrojen residuos al operador.
- Evite los árboles y arbustos. La corteza de los árboles, las molduras de madera, los revestimientos y los postes de la cerca pueden dañarse fácilmente con el hilo.
Hilo de corte / Alimentación del hilo
Su recortadora utiliza hilo de nailon redondo de 0,065" (1,65 mm) de diámetro. Durante el uso, las puntas de los hilos de nailon se deshilacharán y desgastarán. El hilo de corte se desgastará más rápido y requerirá más alimentación si el corte o el bordeado se realiza a lo largo de aceras u otras superficies abrasivas o si se cortan malas hierbas más pesadas.
Eliminación de atascos y enredos del hilo

Fig. K
Retire la batería de la recortadora antes de realizar cualquier montaje, ajuste o cambio de accesorios. Estas medidas de seguridad preventivas reducen el riesgo de poner en marcha el aparato accidentalmente.
De vez en cuando, especialmente al cortar malas hierbas gruesas o con tallo, el cubo de alimentación del hilo puede obstruirse con savia u otro material y el hilo se atascará como resultado. Para eliminar el atasco, siga los pasos que se enumeran a continuación.
Para evitar daños en el aparato, si el hilo de corte sobresale más allá de la cuchilla de recorte, córtelo de modo que solo alcance la cuchilla.
- Retire la batería del aparato.
- Pulse las pestañas de liberación
en la tapa del carrete
y retire la tapa del carrete de la carcasa del carrete
. - Saque el carrete de hilo de nailon y retire cualquier hilo roto o residuo de corte del área del carrete.
- Coloque el carrete en el aparato como se describe en Sustitución del conjunto del carrete.
Sustitución del conjunto del carrete
(Fig. K)
El uso de cualquier accesorio no recomendado por CRAFTSMAN para su uso con este aparato podría ser peligroso.
No utilice cuchillas, ni ningún accesorio o complemento que no sean los recomendados por CRAFTSMAN en esta recortadora/bordeador. Podrían producirse lesiones graves o daños en el producto.
Vuelva a cargar el hilo de nailon (ya sea a granel o un carrete de repuesto preenrollado) como se muestra en este manual.
UTILICE ÚNICAMENTE HILO MONOFILAMENTO DE NAILON REDONDO DE 0,065" (1,65 mm) DE DIÁMETRO. No utilice hilo dentado o de calibre más grueso, ya que sobrecargarán el motor y provocarán un sobrecalentamiento. Este hilo está disponible en su distribuidor local o centro de servicio autorizado.
- Retire la batería del aparato.
- Pulse las pestañas de liberación
en la tapa del carrete
y retire la tapa del carrete de la carcasa del carrete
. - Para obtener los mejores resultados, sustituya el carrete por el modelo CMZST065 de CRAFTSMAN.
- Si la palanca en la base de la carcasa se desprende, vuelva a colocarla en la posición correcta antes de insertar un nuevo carrete en la carcasa.
- Retire la suciedad y la hierba de la tapa del carrete y de la carcasa del carrete.
- Desabroche el extremo del hilo de corte y guíe el hilo hacia el ojal
. - Tome el nuevo carrete y empújelo sobre el resalte
en la carcasa. Gire ligeramente el carrete hasta que quede asentado. - El hilo debe sobresalir aproximadamente 5-3/8" (136 mm) de la carcasa.
- Alinee las pestañas de liberación en la tapa del carrete con las ranuras en la carcasa del carrete.
- Vuelva a colocar la tapa del carrete presionando las pestañas de liberación y presionando en la carcasa del carrete.
- Empuje la tapa sobre la carcasa hasta que encaje de forma segura en su lugar.
NOTA: Asegúrese de que la cubierta esté completamente colocada, escuche dos clics audibles para asegurarse de que ambas pestañas de liberación estén ubicadas correctamente. Encienda el aparato. En unos segundos o menos, escuchará que el hilo de nailon se corta automáticamente a la longitud adecuada.
NOTA: Otras piezas de repuesto (protectores, tapas de carrete, etc.) están disponibles a través de centros de servicio autorizados. Para encontrar su ubicación de servicio local, llame al: 1‑888‑331‑4569 o visite www.craftsman.com.
Rebobinado del carrete desde el hilo a granel

Fig. L, M
Utilice únicamente hilo de diámetro redondo de 0,065" (1,65 mm)
El hilo a granel también está disponible para su compra en su minorista local.
NOTA: Es probable que los carretes enrollados a mano con hilo a granel se enreden con más frecuencia que los carretes enrollados de fábrica de CRAFTSMAN. Para obtener los mejores resultados, se recomiendan los carretes enrollados de fábrica.
- Desconecte el enchufe de la fuente de alimentación. Retire la batería del aparato.
- Retire el carrete vacío del aparato como se describe en Sustitución del conjunto del carrete.
- Retire cualquier hilo de corte restante del carrete.
- Haga un pliegue
en el extremo del hilo de corte a aproximadamente 3/4" (19 mm). Introduzca el hilo de corte en una de las ranuras de anclaje del hilo
. - Inserte el extremo de 3/4" (19 mm) del hilo a granel en el orificio
en el carrete adyacente a la ranura. Asegúrese de que el hilo esté bien apretado contra el carrete. - Enrolle el hilo de corte en el carrete en la dirección de la flecha en el carrete. Asegúrese de enrollar el hilo de forma ordenada y en capas. No entrecruce.
- Cuando el hilo de corte enrollado alcance los huecos
, corte el hilo. - Coloque el carrete en el aparato como se describe en Sustitución del conjunto del carrete.
MANTENIMIENTO
Para reducir el riesgo de lesiones personales graves, apague la unidad y retire la batería antes de realizar cualquier ajuste o de quitar/instalar accesorios.
Un arranque accidental puede causar lesiones.
Limpieza
Sople la suciedad y el polvo de todas las rejillas de ventilación con aire limpio y seco al menos una vez a la semana. Para minimizar el riesgo de lesiones oculares, utilice siempre protección ocular aprobada por la norma ANSI Z87.1 al realizar este procedimiento.
Nunca utilice disolventes u otros productos químicos agresivos para limpiar las piezas no metálicas de la herramienta. Estos productos químicos pueden debilitar los materiales plásticos utilizados en estas piezas. Utilice un paño humedecido solo con agua y jabón suave. No permita nunca que entre líquido en la herramienta; no sumerja nunca ninguna parte de la herramienta en un líquido.
Accesorios
Dado que los accesorios que no sean los ofrecidos por CRAFTSMAN no se han probado con este producto, el uso de dichos accesorios con esta herramienta podría ser peligroso. Para reducir el riesgo de lesiones, solo deben utilizarse con este producto los accesorios recomendados por CRAFTSMAN.
Los accesorios recomendados para su herramienta están disponibles a un costo adicional en su distribuidor local o centro de servicio autorizado. Si necesita ayuda para localizar algún accesorio, póngase en contacto con CRAFTSMAN llamando al 1‑888‑331‑4569.
Versatrack™

Fig. N
Para reducir el riesgo de lesiones personales graves, apague la unidad y retire la batería antes de realizar cualquier ajuste o de quitar/instalar accesorios. Un arranque accidental puede causar lesiones.
Para reducir el riesgo de lesiones personales graves, no utilice un gancho para colgar Versatrack™ o un Trackwall Versatrack™ dañados. Un gancho para colgar Versatrack™ o un Trackwall Versatrack™ dañados no soportarán el peso de la herramienta.
Para reducir el riesgo de lesiones personales graves, asegúrese de que el tornillo que sujeta el gancho para colgar Versatrack™ esté bien apretado.
Para reducir el riesgo de lesiones personales graves, NO suspenda la herramienta por encima de la cabeza ni suspenda objetos del gancho para colgar. SOLO suspenda la herramienta en el Trackwall Versatrack™ utilizando el gancho para colgar.
Asegúrese de que el peso de la herramienta no exceda el peso máximo nominal de 20 lb (9 kg) para el gancho Versatrack™ seleccionado.
Cuando cuelgue objetos en un riel Trackwall Versatrack™, espacie adecuadamente las herramientas para no exceder las 75 lb (35 kg) por pie lineal.
Al colocar el gancho para colgar Versatrack™, utilice solo el tornillo que se proporciona. Asegúrese de apretar bien el tornillo. Los accesorios Versatrack™ montan herramientas compatibles de forma segura en el sistema Trackwall Versatrack™.
- Apague la herramienta, retire la batería y los accesorios.
Cualquier producto con dientes de corte expuestos debe tenerlos cubiertos de forma segura si va a estar en el Trackwall Versatrack™.
Sustitución del protector
(Fig. E)
Nunca haga funcionar el aparato sin el protector firmemente colocado. Podrían producirse daños o lesiones personales.
Retire el protector actual
- Retire el tornillo del protector
que se muestra en la Fig. E. - Deslice el protector
para quitarlo.
Montaje del nuevo protector
- Deslice el protector en su lugar como se muestra en la Fig. E.
- Vuelva a colocar y apriete bien el tornillo del protector
.
Reparaciones
El cargador y la batería no son reparables. No hay piezas reparables dentro del cargador o la batería.
Para garantizar la SEGURIDAD y la FIABILIDAD del producto, las reparaciones, el mantenimiento y el ajuste (incluida la inspección y sustitución de las escobillas, cuando proceda) deben ser realizados por un centro de servicio de fábrica de CRAFTSMAN o un centro de servicio autorizado de CRAFTSMAN. Utilice siempre piezas de repuesto idénticas.
Regístrese en línea
Gracias por su compra. Registre su producto ahora para:
- SERVICIO DE GARANTÍA: Registrar su producto le ayudará a obtener un servicio de garantía más eficiente en caso de que haya un problema con su producto.
- CONFIRMACIÓN DE LA PROPIEDAD: En caso de pérdida por seguro, como incendio, inundación o robo, su registro de propiedad servirá como prueba de compra.
- POR SU SEGURIDAD: El registro de su producto nos permitirá ponernos en contacto con usted en el improbable caso de que se requiera una notificación de seguridad en virtud de la Ley Federal de Seguridad del Consumidor.
- Regístrese en línea en www.craftsman.com/registration
Garantía limitada de tres años
CRAFTSMAN reparará o sustituirá, sin cargo alguno, cualquier defecto debido a materiales o mano de obra defectuosos durante tres años a partir de la fecha de compra (dos años para las baterías). Esta garantía no cubre el fallo de las piezas debido al desgaste normal o al uso indebido de la herramienta. Para obtener más detalles sobre la cobertura de la garantía y la información sobre la reparación de la garantía, visite www.craftsman.com o llame al 1‑888‑331‑4569. Esta garantía no se aplica a los accesorios ni a los daños causados cuando las reparaciones han sido realizadas o intentadas por otros. ESTA GARANTÍA LIMITADA SE OTORGA EN LUGAR DE TODAS LAS DEMÁS, INCLUIDA LA GARANTÍA IMPLÍCITA DE COMERCIABILIDAD E IDONEIDAD PARA UN PROPÓSITO PARTICULAR, Y EXCLUYE TODOS LOS DAÑOS INCIDENTALES O CONSECUENTES. Algunos estados no permiten limitaciones sobre la duración de una garantía implícita o la exclusión o limitación de daños incidentales o consecuentes, por lo que es posible que estas limitaciones no se apliquen en su caso. Esta garantía le otorga derechos legales específicos y puede tener otros derechos que varían en ciertos estados o provincias.
2 AÑOS DE SERVICIO GRATUITO EN LAS BATERÍAS CRAFTSMAN
CMCB201, CMCB2011, CMCB2015
3 AÑOS DE SERVICIO GRATUITO EN LAS BATERÍAS CRAFTSMAN
CMCB202, CMCB204, CMCB205, CMCB206
NOTA: La garantía de la batería quedará anulada si la batería se manipula de alguna manera. CRAFTSMAN no se hace responsable de ninguna lesión causada por la manipulación y puede perseguir el fraude de garantía con todo el rigor que permita la ley.
GARANTÍA DE DEVOLUCIÓN DEL DINERO DE 90 DÍAS
Si no está completamente satisfecho con el rendimiento de su herramienta eléctrica o clavadora CRAFTSMAN por cualquier motivo, puede devolverla en un plazo de 90 días a partir de la fecha de compra con un recibo para obtener un reembolso completo, sin preguntas.
AMÉRICA LATINA: Esta garantía no se aplica a los productos vendidos en América Latina. Para los productos vendidos en América Latina, consulte la información de garantía específica del país que se incluye en el embalaje, llame a la empresa local o consulte el sitio web para obtener información sobre la garantía.
SUSTITUCIÓN GRATUITA DE LA ETIQUETA DE ADVERTENCIA: Si sus etiquetas de advertencia se vuelven ilegibles o faltan, llame al 1‑888‑331‑4569 para obtener un reemplazo gratuito.
SI TIENE PREGUNTAS O COMENTARIOS, PÓNGASE EN CONTACTO CON NOSOTROS.
1-888-331-4569
WWW.CRAFTSMAN.COM

Referencias
Call2Recycle | United StatesCall2Recycle | United States
Home | CRAFTSMAN® | CRAFTSMAN
Create Account | CRAFTSMAN
Descargar el manual
Aquí puede descargar la versión PDF completa del manual. Puede contener instrucciones de seguridad adicionales, información de garantía, reglas de la FCC, etc.
Descargar CRAFTSMAN CMCST915D1, CMCST915 - Manual de la recortadora/bordeadora de hilo de 20 V Max
en el poste superior
, alinee el bloqueo de retención
con la ranura de retención
como se muestra en la Fig. D.
.
completamente sobre el cabezal de la recortadora
. Asegúrese de que las pestañas
del protector encajen en las nervaduras del cabezal de la recortadora.
en el mango de la herramienta, alinee la batería con los rieles dentro del mango de la herramienta y deslícela dentro del mango hasta que la batería quede firmemente asentada en la herramienta y asegúrese de que no se suelte.
y tire firmemente de la batería para sacarla del mango de la herramienta. Insértela en el cargador como se describe en la sección del cargador de este manual.
y gire la carcasa del motor
180 ° en sentido contrario a las agujas del reloj, hasta que la carcasa del motor encaje en la posición de borde.
se arrastre por el suelo u otras superficies.
en la tapa del carrete
.
.
en la carcasa. Gire ligeramente el carrete hasta que quede asentado.
en el extremo del hilo de corte a aproximadamente 3/4" (19 mm). Introduzca el hilo de corte en una de las ranuras de anclaje del hilo
.
en el carrete adyacente a la ranura. Asegúrese de que el hilo esté bien apretado contra el carrete.
, corte el hilo.
que se muestra en la Fig. E.
para quitarlo.
.