Crow SH-PIR-8F, SH-PIR-9F - Priručnik za DVOSMJERNI BEŽIČNI PIR DETEKTOR POKRETA
- 1 ZNAČAJKE PROIZVODA
- 2 OTVARANJE DETEKTORA
- 3 UKLANJANJE NOSAČA
- 4 UMETANJE BATERIJE
- 5 MONTAŽA DETEKTORA
- 6 PODRUČJE DETEKCIJE
- 7 PROCES UČENJA
- 8 TESTIRANJE DETEKTORA
- 9 PRIJENOS DOGAĐAJA
- 10 ZAMJENA BATERIJE
- 11 SPECIFIKACIJA
- 12 ODOBRENJA STANDARDA
- 13 POTVRDA O POLITICI JAMSTVA
- 14 Reference
- 15 Preuzmi priručnik
- 16 Na drugim jezicima
ZNAČAJKE PROIZVODA
SH-PIR je napredni, potpuno nadzirani bežični detektor pokreta niske potrošnje struje koji uključuje FW2 primopredajnik za pouzdan rad sustava u kombinaciji s najnaprednijom metodom detekcije Mirror Optics.
- Freewave2™ Dvosmjerni ISM
- GFSK s 5 frekvencija & LBT.
- Ultra niska potrošnja struje.
- Značajka otpornosti na slabljenje signala
- Napaja se litijska baterija 3V Type CR123A.
- Detekcija pokreta do 12 metara
- Trajanje baterije do 5 godina.
- Radne frekvencije: 868MHz / 916MHz
- Prijenos događaja:
- Alarm
- Otvaranje/zatvaranje kućišta (Tamper Open/Close)
- Nadzor (Supervision)
- Status baterije (Battery status)
- Dvo-bojne LED indikacije
- Domet prijenosa do 500m na otvorenom prostoru.
- Konfigurabilno na daljinu.
- Imun na kućne ljubimce do 25 kg.
OTVARANJE DETEKTORA

UKLANJANJE NOSAČA

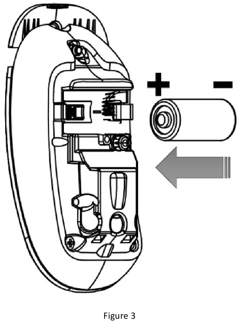
UMETANJE BATERIJE

Bateriju može zamijeniti korisnik. Vrsta baterije: 3V Type CR123A Lithium
MONTAŽA DETEKTORA

Izbjegavajte sljedeće lokacije:
- Izloženost izravnoj sunčevoj svjetlosti.
- Područja u kojima se temperatura može brzo mijenjati.
- Područja gdje postoje zračni kanali ili značajni protok zraka.
PODRUČJE DETEKCIJE
Preporučena visina montaže – 2,1 m do 2,3 m
PROCES UČENJA
Za postupak uparivanja, molimo pogledajte upute za vašu kontrolnu ploču.
Da biste uparili svoj uređaj s Shepherd™panelom, postupite na sljedeći način:
- Uđite u način instaliranja putem "Installer Webpage" (Web stranice za instalatere)
- Idite na "Zones" (Zone) i odaberite zonu # koju želite naučiti
- Add Zone (Dodaj zonu) - (Podsjetnik: umetnite Link Type "ISM" (Vrsta veze "ISM"), ID uređaja, Device Type "Infrared motion detector" (Vrsta uređaja "Infracrveni detektor pokreta").)
- Postavite konfiguraciju detektora: vrijeme nadzora (supervision time), broj impulsa (Pulse count)...itd. i spremite konfiguraciju.
- Postavite bateriju kako je navedeno na slici 3 i pričekajte dok crvena LED lampica ne prestane treptati.
- Uređaj bi se trebao registrirati na kontrolnoj ploči (Control Panel).
- Kada je postupak registracije uspješno završen, zelena LED lampica će neprekidno svijetliti 3 sekunde, a zatim se isključiti.
- Ako zelena LED lampica nastavi treptati više od 5 minuta i prestane. Provjerite detalje postavki PIR-a, uklonite baterije i ponovite korake 4, 5, 6
TESTIRANJE DETEKTORA
Nakon uparivanja i instaliranja detektora, preporučujemo izvođenje testova hodanja i prijenosa.
Test prijenosa pokreta (Motion Transmission Test)
Hodanje ispred detektora s jedne strane na drugu uzrokovat će prijenos upozorenja o pokretu. Provjerite primate li indikaciju na svojoj kontrolnoj ploči. Imajte na umu da je zbog značajke APS potrebno pričekati 30 sekundi između 2 uzastopne indikacije.
Test hodanja (Walk Test)
- Aktivirajte način testiranja hodanja putem Web Installer (u razini pregleda), za institucije koje provode testiranje hodanja koristite priručnik za Panel.
- Napravite nekoliko prolaza hodanjem ispred detektora i pogledajte rezultate na zaslonu Overview (Pregled).
Test prijenosa sabotaže (Tamper Transmission Test)
Promjena stanja prekidača za sabotažu (pričvršćivanjem / uklanjanjem uređaja na / s nosača) uzrokovat će prijenos sabotaže.
PRIJENOS DOGAĐAJA
NADZOR (SUPERVISION) – Periodični prijenos (konfigurabilan) koji označava prisutnost detektora.
ALARM – Prijenos alarma pokrenut uređajem koji označava detekciju pokreta. Crvena LED lampica će jednom zatreptati.
NISKA BATERIJA (LOW BAT)– Kad god baterija dosegne nisku razinu (2,8 V), bit će poslan signal niske baterije (Battery Low). Kada razina baterije padne ispod razine isključivanja (Cut Off) (2,6 V), uređaj će prestati funkcionirati, a crvena LED lampica će treptati 10 sekundi, a zatim se isključiti.
SABOTAŽA (TAMPER) – Kad god se poklopac ukloni s nosača ili se uređaj otrgne sa zida, bit će poslana poruka sa signalom "Tamper ON" (Sabotaža UKLJUČENA). Kada se poklopac vrati, bit će poslan signal "Tamper OFF" (Sabotaža ISKLJUČENA).
ZAMJENA BATERIJE

Baterija se mora zamijeniti litijskom baterijom od 3 V
Modeli kao što su
- VARTA CR123A
- GP CR123A
OPASNOST OD EKSPLOZIJE AKO SE BATERIJA ZAMIJENI DRUGOM VRSTOM / MODELOM. ODLAGANJE UPOTRIJEBLJENIH BATERIJA U SKLADU S NJEZINIM UPUTAMA
SPECIFIKACIJA
| Metoda detekcije | PYRO Element |
| Komunikacijski protokol | Freewave2™ Dvosmjerni ISM GFSK s 5 frekvencija & LBT |
| Radne frekvencije | 868-869MHz ili 916-917MHz |
| Identifikacija | Jedinstveni serijski broj ID-a – 24 bita |
| Prijenos događaja | Alarm, Sabotaža (Tamper), Nadzor (Supervision), Niska baterija (Low Bat), Održavanje aktivnosti (Keep Alive). |
| Vrijeme nadzora | 7 min prema zadanim postavkama (konfigurabilno između 1 i 30 min) |
| Domet prijenosa | 500m na otvorenom prostoru |
| Baterija | 3V Type CR123A Lithium |
| Trajanje baterije | Do 5 godina |
| Potrošnja struje | Stanje pripravnosti (Standby) ~11 ANačin primanja (Receive mode) ~24 mA Način prijenosa (Transmit mode) ~45 mA Snaga prijenosa (Transmit power) do 14dBm Niska baterija (Low Bat) 2,8V Isključivanje (Cut Off) 2,6V |
| Prekidač za sabotažu | Prednji poklopac i uklanjanje sa zida |
| Radna temperatura | -10ºC do +55ºC |
| Dimenzije | 108mm x 58mm x 43mm |
| Težina (uklj. bateriju) | 90 gr. |
ODOBRENJA STANDARDA
SH-PIR je u skladu s bitnim zahtjevima utvrđenim:
- RTTE direktivom: 1999/5/EC
- EMC direktivom: 2004/108/EC
- Direktivom o niskom naponu: 2006/95/EC
Usklađeni standardi koji se primjenjuju na ove proizvode su:
- EN 50130-4
- EN 61000-6-3
- EN 301 489-1
- EN 301 489-3
- EN 300 220-1
- EN 300 220-2
- EN 60950-1
Dodatni standardi i direktive koji se primjenjuju na ovaj proizvod su:
- EN 50131-1
- EN 50131-2-2
- EN 50131-6
- EN 50131-5-3
- EN 50130-5
Sigurnosna razina 2, Klasa okoliša II
Vrsta napajanja C
Certifikacijsko tijelo: Telefication B.V.

POTVRDA O POLITICI JAMSTVA
Crow jamči da su ovi proizvodi bez nedostataka u materijalima i izradi pod normalnom uporabom i servisom u razdoblju od 24 mjeseca od posljednjeg dana u tjednu i godini čiji su brojevi otisnuti na tiskanoj pločici unutar ovih proizvoda.
sales@crow.co.il
support@crow.co.il
www.thecrowgroup.com
Ove upute zamjenjuju sva prethodna izdanja u optjecaju prije prosinca 2017.

Reference
Preuzmi priručnik
Ovdje možete preuzeti punu pdf verziju priručnika, koja može sadržavati dodatne sigurnosne upute, informacije o jamstvu, FCC pravila, itd.
Preuzmi Crow SH-PIR-8F, SH-PIR-9F - Priručnik za DVOSMJERNI BEŽIČNI PIR DETEKTOR POKRETA
A