Panduan Memulai Cepat Pioneer DEH-S5200BT, DEH-S4220BT, DEH-S4200BT
- 1 Sebelum Anda Memulai
- 2 Koneksi
- 3 Instalasi
- 4 Memasang mikrofon
- 5 Operasi dasar
- 6 Operasi pengaturan
- 7 Operasi tuner
- 8 Operasi CD/USB/iPhone/AUX
- 9 Koneksi Bluetooth
- 10 Telepon Bluetooth
- 11 Membuat koneksi dengan Pioneer Smart Sync
- 12 Mendengarkan Pandora
- 13 Mendengarkan Spotify
- 14 Referensi
- 15 Unduh manual
- 16 Dalam Bahasa Lain

Sebelum Anda Memulai
Untuk memastikan penggunaan yang tepat, harap baca panduan ini sebelum menggunakan produk ini. Sangat penting bagi Anda untuk membaca dan memperhatikan PERINGATAN dan PERHATIAN dalam panduan ini. Harap simpan panduan ini di tempat yang aman dan mudah diakses untuk referensi di masa mendatang.
ID FCC: EW4C95
NOMOR MODEL: DEH-S5200BT/DEH-S4220BT/DEH-S4200BT
IC: 4250A-C95
Perangkat ini berisi pemancar/penerima bebas lisensi yang mematuhi Bagian 15 dari Aturan FCC dan RSS bebas lisensi Inovasi, Sains, dan Pengembangan Ekonomi Kanada. Pengoperasian tunduk pada dua kondisi berikut:
- perangkat ini tidak boleh menyebabkan interferensi, dan
- perangkat ini harus menerima interferensi apa pun, termasuk interferensi yang dapat menyebabkan pengoperasian perangkat yang tidak diinginkan.
Pemancar ini tidak boleh ditempatkan bersama atau dioperasikan bersama dengan antena atau pemancar lain.
Antena Bluetooth tidak dapat dilepas (atau diganti) oleh pengguna.
Peralatan ini mematuhi batas paparan radiasi FCC/ISED yang ditetapkan untuk lingkungan yang tidak terkendali dan memenuhi Pedoman Paparan frekuensi radio (RF) FCC dan RSS-102 dari aturan Paparan frekuensi radio (RF) ISED. Peralatan ini memiliki tingkat energi RF yang sangat rendah sehingga dianggap mematuhi tanpa evaluasi paparan permisif maksimum (MPE). Namun, disarankan agar peralatan ini dipasang dan dioperasikan dengan menjaga radiator setidaknya 20cm atau lebih jauh dari tubuh seseorang (tidak termasuk ekstremitas: tangan, pergelangan tangan, kaki, dan pergelangan kaki).
Perubahan atau modifikasi yang dilakukan tanpa otorisasi yang sesuai dapat membatalkan hak pengguna untuk mengoperasikan peralatan.
Catatan
Peralatan ini telah diuji dan dinyatakan memenuhi batasan untuk perangkat digital Kelas B, sesuai dengan Bagian 15 dari Aturan FCC. Batasan ini dirancang untuk memberikan perlindungan yang wajar terhadap interferensi berbahaya dalam instalasi perumahan. Peralatan ini menghasilkan, menggunakan, dan dapat memancarkan energi frekuensi radio dan, jika tidak dipasang dan digunakan sesuai dengan petunjuk, dapat menyebabkan interferensi berbahaya pada komunikasi radio. Namun, tidak ada jaminan bahwa interferensi tidak akan terjadi dalam instalasi tertentu. Jika peralatan ini menyebabkan interferensi berbahaya pada penerimaan radio atau televisi, yang dapat ditentukan dengan mematikan dan menghidupkan peralatan, pengguna dianjurkan untuk mencoba memperbaiki interferensi dengan satu atau beberapa tindakan berikut:
- Ubah arah atau pindahkan antena penerima.
- Tingkatkan jarak antara peralatan dan penerima.
- Hubungkan peralatan ke stopkontak pada sirkuit yang berbeda dari yang terhubung ke penerima.
- Konsultasikan dengan dealer atau teknisi radio/TV yang berpengalaman untuk mendapatkan bantuan.
PERNYATAAN KESESUAIAN PEMASOK KOMISI KOMUNIKASI FEDERAL
Nama Produk: CD RDS RECEIVER
Nomor Model: DEH-S5200BT/DEH-S4220BT/DEH-S4200BT
Nama Pihak yang Bertanggung Jawab: PIONEER ELECTRONICS (USA), INC. DIVISI DUKUNGAN LAYANAN Alamat: 2050 W. 190TH STREET, SUITE 100 TORRANCE, CA 90504, U.S.A.
Telepon: 1-310-952-2915
URL: http://www.pioneerelectronics.com
Keamanan Telinga Anda Ada di Tangan Anda
Dapatkan hasil maksimal dari peralatan Anda dengan memutarnya pada tingkat yang aman—tingkat yang memungkinkan suara terdengar jernih tanpa suara bising atau distorsi yang mengganggu dan, yang terpenting, tanpa memengaruhi pendengaran sensitif Anda. Suara bisa menipu.
Seiring waktu, "tingkat kenyamanan" pendengaran Anda beradaptasi dengan volume suara yang lebih tinggi, jadi apa yang terdengar "normal" sebenarnya bisa menjadi keras dan berbahaya bagi pendengaran Anda. Lindungi diri Anda dari hal ini dengan mengatur peralatan Anda pada tingkat yang aman SEBELUM pendengaran Anda beradaptasi.
TETAPKAN TINGKAT YANG AMAN:
- Atur kontrol volume Anda pada pengaturan rendah.
- Perlahan tingkatkan suara hingga Anda dapat mendengarnya dengan nyaman dan jelas, tanpa distorsi.
- Setelah Anda menetapkan tingkat suara yang nyaman, atur kenop dan biarkan di sana.
PASTIKAN UNTUK MEMPERHATIKAN PANDUAN BERIKUT:
- Jangan memutar volume terlalu tinggi sehingga Anda tidak dapat mendengar apa yang ada di sekitar Anda.
- Berhati-hatilah atau hentikan penggunaan sementara dalam situasi yang berpotensi berbahaya.
- Jangan gunakan headphone saat mengoperasikan kendaraan bermotor; penggunaan headphone dapat menimbulkan bahaya lalu lintas dan ilegal di banyak wilayah.
- Sistem visibilitas belakang (kamera cadangan) diperlukan di kendaraan baru tertentu yang dijual di AS dan Kanada. Peraturan AS dimulai menurut penerapan bertahap dua tahun pada 1 Mei 2016, dan baik AS maupun Kanada mengharuskan semua kendaraan yang diproduksi pada atau setelah 1 Mei 2018 memiliki sistem visibilitas belakang. Pemilik kendaraan yang dilengkapi dengan sistem visibilitas belakang yang sesuai tidak boleh memasang atau menggunakan produk ini dengan cara yang mengubah atau menonaktifkan sistem tersebut. Jika Anda tidak yakin apakah kendaraan Anda memiliki sistem visibilitas belakang yang tunduk pada peraturan AS atau Kanada, harap hubungi produsen atau dealer kendaraan.
- Jangan mencoba memasang atau memperbaiki produk ini sendiri. Pemasangan atau perbaikan produk ini oleh orang-orang tanpa pelatihan dan pengalaman dalam peralatan elektronik dan aksesori otomotif dapat berbahaya dan dapat membuat Anda berisiko terkena sengatan listrik, cedera, atau bahaya lainnya.
- Jangan mencoba mengoperasikan unit saat mengemudi. Pastikan untuk menepi dan memarkir kendaraan Anda di lokasi yang aman sebelum mencoba menggunakan kontrol pada perangkat.
- Produk ini mengandung bahan kimia yang diketahui oleh Negara Bagian California dan entitas pemerintah lainnya menyebabkan kanker dan cacat lahir atau gangguan reproduksi lainnya. Cuci tangan setelah menangani.
- Jangan biarkan unit ini bersentuhan dengan kelembapan dan/atau cairan. Sengatan listrik dapat terjadi. Selain itu, kerusakan pada unit ini, asap, dan panas berlebih dapat terjadi akibat kontak dengan cairan.
- Selalu jaga volume tetap cukup rendah untuk mendengar suara dari luar.
- Produk ini dievaluasi dalam kondisi iklim sedang dan tropis berdasarkan persyaratan Keselamatan peralatan elektronik audio, video, dan sejenisnya, IEC 60065.
Produk ini adalah produk laser Kelas 1 yang diklasifikasikan berdasarkan standar keselamatan, IEC 60825-1:2014.

PENGGUNAAN KONTROL ATAU PENYESUAIAN ATAU KINERJA PROSEDUR SELAIN YANG DITENTUKAN DI SINI DAPAT MENGHASILKAN PAPARAN RADIASI BERBAHAYA.
PENGGUNAAN INSTRUMEN OPTIK DENGAN PRODUK INI AKAN MENINGKATKAN BAHAYA MATA.
Layanan purna jual untuk produk Pioneer
Silakan hubungi dealer, distributor tempat Anda membeli unit ini atau Stasiun Servis PIONEER resmi untuk layanan purna jual atau informasi lainnya. Jika informasi yang diperlukan tidak tersedia, silakan hubungi perusahaan yang tercantum di bawah ini:
Harap jangan mengirimkan unit Anda ke perusahaan di alamat yang tercantum di bawah ini untuk diperbaiki tanpa menghubungi mereka terlebih dahulu.
U.S.A. dan KANADA
Pioneer Electronics (USA) Inc.
DIVISI DUKUNGAN PELANGGAN
P.O. Box 1760
Long Beach, CA 90801-1760
800-421-1404
Untuk informasi garansi, silakan lihat lembar Garansi Terbatas yang disertakan dengan unit ini.
Koneksi
- Saat output speaker digunakan oleh 4 saluran, gunakan speaker dengan peringkat di atas 50 W (daya input maksimum) dan antara 4 Ω hingga 8 Ω (nilai impedansi). Jangan gunakan speaker 1 Ω hingga 3 Ω untuk unit ini.
- Saat output speaker belakang digunakan oleh subwoofer 2 Ω, gunakan speaker dengan peringkat di atas 70 W.
* Silakan lihat koneksi untuk metode koneksi. - Kabel hitam adalah ground. Saat memasang unit ini atau power amp (dijual terpisah), pastikan untuk menyambungkan kabel ground terlebih dahulu. Pastikan kabel ground terhubung dengan benar ke bagian logam bodi mobil. Kabel ground power amp dan kabel ground unit ini atau perangkat lain harus dihubungkan ke mobil secara terpisah dengan sekrup yang berbeda. Jika sekrup untuk kabel ground longgar atau lepas, hal itu dapat mengakibatkan kebakaran, timbulnya asap, atau kerusakan.
Dua perangkat terhubung ke mobil secara terpisah (kabel ground)
![Pioneer - DEH-S5200BT - Dua perangkat terhubung ke mobil secara terpisah Dua perangkat terhubung ke mobil secara terpisah]()
*1 Tidak disertakan untuk unit ini

- Saat memasang unit ini di kendaraan tanpa posisi ACC (aksesori) pada kunci kontak, kegagalan untuk menyambungkan kabel merah ke terminal yang mendeteksi pengoperasian kunci kontak dapat mengakibatkan pengurasan baterai.
![]()
- Gunakan unit ini hanya dengan baterai 12 volt dan ground negatif. Kegagalan untuk melakukannya dapat mengakibatkan kebakaran atau kerusakan.
- Untuk mencegah korsleting, panas berlebih, atau kerusakan, pastikan untuk mengikuti petunjuk di bawah ini.
- Lepaskan terminal negatif baterai sebelum pemasangan.
- Amankan kabel dengan klem kabel atau pita perekat. Bungkus pita perekat di sekitar kabel yang bersentuhan dengan bagian logam untuk melindungi kabel.
- Tempatkan semua kabel jauh dari bagian yang bergerak, seperti tuas persneling dan rel kursi.
- Tempatkan semua kabel jauh dari tempat yang panas, seperti di dekat saluran keluar pemanas.
- Jangan sambungkan kabel kuning ke baterai dengan melewatinya melalui lubang ke kompartemen mesin.
- Tutupi konektor kabel yang terputus dengan pita isolasi.
- Jangan memperpendek kabel apa pun.
- Jangan pernah memotong isolasi kabel daya unit ini untuk berbagi daya dengan perangkat lain. Kapasitas arus kabel terbatas.
- Gunakan sekering dengan peringkat yang ditentukan.
- Jangan pernah menghubungkan kabel speaker negatif langsung ke ground.
- Jangan pernah mengikat kabel negatif dari beberapa speaker bersama-sama.
- Saat unit ini menyala, sinyal kontrol dikirim melalui kabel biru/putih. Sambungkan kabel ini ke kontrol jarak jauh sistem dari power amp eksternal atau terminal kontrol relai auto-antena kendaraan (maks. 300mA 12 V DC). Jika kendaraan dilengkapi dengan antena kaca, sambungkan ke terminal catu daya booster antena.
- Jangan pernah menyambungkan kabel biru/putih ke terminal daya power amp eksternal. Juga, jangan pernah menyambungkannya ke terminal daya auto-antena. Melakukannya dapat mengakibatkan pengurasan baterai atau kerusakan.
- Simbol grafis
yang ditempatkan pada produk berarti arus searah.
Unit ini

- Mikrofon 3 m (9 kaki 10-1/8 inci)
- Input kabel daya
- Input mikrofon
- Output belakang
- Output depan
- Input antena
- Sekering (10 A)
- Input remote kabel
- Adaptor kontrol remote berkabel dapat disambungkan (dijual terpisah).
- Output subwoofer
- Output belakang atau output subwoofer
Kabel daya
Lakukan koneksi ini saat tidak menyambungkan kabel speaker belakang ke subwoofer.

Lakukan koneksi ini saat menggunakan subwoofer tanpa amplifier opsional.


Dalam kasus
di atas, dua subwoofer 4 Ω yang dihubungkan secara paralel akan mewakili beban 2 Ω.
- Ke input kabel daya
- Speaker kiri depan
- Speaker kanan depan
- Speaker kiri belakang
- Speaker kanan belakang
- Putih
- Putih/hitam
- Abu-abu
- Abu-abu/hitam
- Hijau
- Hijau/hitam
- Violet
- Violet/hitam
- Hitam (ground sasis)
Sambungkan ke lokasi logam yang bersih dan bebas cat. - Kuning
Sambungkan ke terminal catu daya 12 V konstan. - Merah
Sambungkan ke terminal yang dikendalikan oleh kunci kontak (12 V DC). - Biru/putih
Sambungkan ke terminal kontrol sistem power amp atau terminal kontrol relai auto-antena (maks. 300 mA 12 V DC). - Subwoofer (4 Ω)
- Saat menggunakan subwoofer 2 Ω, pastikan untuk menyambungkan subwoofer ke kabel violet dan violet/hitam unit ini. Jangan sambungkan apa pun ke kabel hijau dan hijau/hitam.
- Tidak digunakan.
- Subwoofer (4 Ω) × 2
- Oranye/putih (Hanya untuk DEH-S5200BT) Sambungkan ke sinyal iluminasi mobil.
Power amp
(dijual terpisah)
Lakukan koneksi ini saat menggunakan amplifier opsional.
DEH-S4220BT/S4200BT

DEH-S5200BT

- Kontrol remote sistem Sambungkan ke kabel biru/putih.
- Power amp (dijual terpisah)
- Sambungkan dengan kabel RCA (dijual terpisah)
- Ke output belakang
- Speaker belakang
- Ke output depan
- Speaker depan
- Ke output subwoofer
- Subwoofer
- Ke output belakang atau output subwoofer
- Speaker belakang atau subwoofer
Instalasi
- Periksa semua koneksi dan sistem sebelum instalasi akhir.
- Jangan gunakan suku cadang yang tidak resmi karena dapat menyebabkan kerusakan.
- Konsultasikan dengan dealer Anda jika pemasangan memerlukan pengeboran lubang atau modifikasi lain pada kendaraan.
- Jangan pasang unit ini di tempat:
- dapat mengganggu pengoperasian kendaraan.
- dapat menyebabkan cedera pada penumpang akibat berhenti mendadak.
- Pasang unit ini jauh dari tempat panas seperti dekat saluran keluar pemanas.
- Kinerja optimal diperoleh saat unit dipasang pada sudut kurang dari 60°.
![]()
- Saat memasang, untuk memastikan penyebaran panas yang tepat saat menggunakan unit ini, pastikan Anda memberikan ruang yang cukup di belakang panel belakang dan bungkus kabel yang longgar agar tidak menghalangi ventilasi.
![Pioneer - DEH-S5200BT - Instalasi Instalasi]()
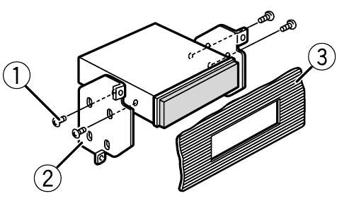
Pemasangan dudukan DIN

- Masukkan selongsong pemasangan yang disertakan ke dalam dasbor.
- Amankan selongsong pemasangan dengan menggunakan obeng untuk menekuk tab logam (90°) ke tempatnya.
- Dasbor
- Selongsong pemasangan
- Pastikan unit terpasang dengan aman di tempatnya. Pemasangan yang tidak stabil dapat menyebabkan skipping atau kerusakan lainnya.
Saat tidak menggunakan selongsong pemasangan yang disertakan
- Tentukan posisi yang tepat di mana lubang pada braket dan sisi unit cocok.
![Pioneer - DEH-S5200BT - Pemasangan dudukan DIN - Langkah 2 Pemasangan dudukan DIN - Langkah 2]()
- Kencangkan sekrup di setiap sisi.
- Sekrup
- Braket pemasangan
- Dasbor atau konsol
- Gunakan sekrup truss (5 mm × 9 mm) atau permukaan rata (5 mm × 9 mm), tergantung pada lubang sekrup braket.
Melepas unit (dipasang dengan selongsong pemasangan yang disertakan)
- Lepaskan cincin trim.
- Cincin trim
- Tab berlekuk
- Melepas panel depan memungkinkan akses yang lebih mudah ke cincin trim.
- Saat memasang kembali cincin trim, arahkan sisi dengan tab berlekuk ke bawah.
- Masukkan kunci ekstraksi yang disertakan ke kedua sisi unit hingga berbunyi klik pada tempatnya.
- Tarik unit keluar dari dasbor.
![Pioneer - DEH-S5200BT - Melepas unit - Langkah 2 Melepas unit - Langkah 2]()
Untuk mengamankan panel depan
Panel depan dapat diamankan dengan sekrup yang disertakan.
Memasang mikrofon
Mikrofon harus ditempatkan langsung di depan pengemudi pada jarak yang sesuai untuk menangkap suara mereka dengan jelas.
Sangat berbahaya jika kabel mikrofon melilit kolom kemudi atau tuas persneling. Pastikan untuk memasang mikrofon sedemikian rupa sehingga tidak menghalangi pengemudian. Disarankan untuk menggunakan klem (dijual terpisah) untuk mengatur kabel.
CATATAN
Bergantung pada model kendaraan, panjang kabel mikrofon mungkin terlalu pendek saat Anda memasang mikrofon di pelindung matahari. Dalam kasus seperti itu, pasang mikrofon di kolom kemudi.
Untuk memasang di pelindung matahari
- Masukkan kabel mikrofon ke dalam alur.
- Kabel mikrofon
- Alur
- Pasang klip mikrofon di pelindung matahari.
Menurunkan pelindung matahari mengurangi tingkat pengenalan suara.
- Klip mikrofon
Untuk memasang di kolom kemudi
- Geser alas mikrofon untuk melepaskannya dari klip mikrofon.
- Mikrofon
- Klip mikrofon
- Alas mikrofon
- Pasang mikrofon di sisi belakang kolom kemudi.
- Pita dua sisi
Operasi dasar
DEH-S5200BT

DEH-S4220BT/S4200BT

Tentang menu utama
Anda dapat menyesuaikan berbagai pengaturan di menu utama.
- Tekan tombol M.C. untuk menampilkan menu utama.
- Putar tombol M.C. untuk memilih salah satu kategori di bawah ini, lalu tekan untuk mengonfirmasi.
- Pengaturan FUNCTION
- Pengaturan AUDIO
- Pengaturan SYSTEM
- Pengaturan ILLUMINATION
- Pengaturan MIXTRAX
- Putar tombol M.C. untuk memilih opsi, lalu tekan untuk mengonfirmasi.
Operasi yang sering digunakan
| Tujuan | Operasi |
| Menyalakan daya | Tekan SRC/OFF untuk menyalakan daya. Tekan dan tahan SRC/OFF untuk mematikan daya. |
| Menyesuaikan volume | Putar tombol M.C.. |
| Memilih sumber | Tekan SRC/OFF berulang kali. |
| Mengubah informasi tampilan | Tekan DISP berulang kali. |
| Kembali ke tampilan/daftar sebelumnya | Tekan BAND/ . |
| Kembali ke tampilan normal dari menu | Tekan dan tahan BAND/ . |
| Mengubah kecerahan tampilan | Tekan dan tahan BAND/ . |
| Meningkatkan tingkat bass | Tekan BASS.
|
Operasi pengaturan
Saat Anda memutar kunci kontak ke ON setelah pemasangan, menu pengaturan muncul di layar.
- Putar tombol M.C. untuk memilih [LANGUAGE] (BAHASA), lalu tekan untuk mengonfirmasi.
[ENG]
[ESP]
[FRA] - Putar tombol M.C. untuk memilih [CLOCK SET] (ATUR JAM), lalu tekan untuk mengonfirmasi.
- Putar tombol M.C. untuk menyesuaikan jam, lalu tekan untuk mengonfirmasi. Indikator bergerak ke pengaturan menit secara otomatis.
- Putar tombol M.C. untuk menyesuaikan menit, lalu tekan untuk mengonfirmasi.
- 3 [QUIT:YES] (KELUAR:YA) muncul.
Untuk kembali ke item pertama dari menu pengaturan, putar tombol M.C. untuk memilih [QUIT:NO] (KELUAR:TIDAK), lalu tekan untuk mengonfirmasi. - Tekan tombol M.C. untuk mengonfirmasi pengaturan.
Operasi tuner
Menerima stasiun prasetel
- Tekan SRC/OFF untuk memilih [RADIO].
- Tekan BAND/
untuk memilih pita.
[FM1]
[FM2]
[FM3]
[AM] - 3 Tekan tombol angka (1/
hingga 6/
).
Memori stasiun terbaik (BSM)
- Setelah memilih pita, tekan tombol M.C. untuk menampilkan menu utama.
- Putar tombol M.C. untuk memilih [FUNCTION] (FUNGSI), lalu tekan untuk mengonfirmasi.
- Putar tombol M.C. untuk memilih [BSM], lalu tekan untuk mengonfirmasi.
Untuk menyimpan stasiun secara manual
- Saat menerima stasiun yang ingin Anda simpan, tekan dan tahan salah satu tombol angka (1/
hingga 6/
) hingga berhenti berkedip.
Operasi CD/USB/iPhone®/AUX
(Sumber iPhone tidak tersedia saat [USB MTP] diatur ke [ON] (AKTIF) di pengaturan SYSTEM.)
CD
- Masukkan disk ke dalam slot pemuatan disk dengan sisi label menghadap ke atas.
Untuk mengeluarkan disk, hentikan pemutaran terlebih dahulu lalu tekan
.
USB/iPhone
- Buka penutup port USB.
- Colokkan perangkat USB/iPhone menggunakan kabel yang sesuai.
Koneksi MTP
Perangkat yang diinstal dengan Android OS 4.0 atau sebagian besar versi yang lebih baru dapat dihubungkan ke unit melalui MTP, menggunakan kabel yang disertakan dengan perangkat. Namun, tergantung pada perangkat yang terhubung, versi OS atau jumlah file di perangkat, file audio/lagu mungkin tidak dapat diputar ulang melalui MTP.
CATATAN
Jika Anda menggunakan koneksi MTP, [USB MTP] perlu diatur ke [ON] (AKTIF) di pengaturan SYSTEM.
AUX
- Masukkan steker mini stereo ke dalam jack input AUX.
- Tekan SRC/OFF untuk memilih [AUX IN] sebagai sumber.
Koneksi Bluetooth
Hingga dua telepon Bluetooth dapat dihubungkan secara bersamaan.
- Aktifkan fungsi Bluetooth perangkat.
- Pilih nama unit yang ditampilkan di layar perangkat.
- Pastikan nomor 6 digit yang sama muncul di unit ini dan perangkat.
- Pilih [YES] (YA).
Telepon Bluetooth
Operasi dasar
| Tujuan | Operasi |
| Menjawab panggilan masuk | Tekan tombol apa saja saat panggilan diterima. |
| Mengakhiri panggilan | Tekan . |
| Menolak panggilan masuk | Tekan dan tahan saat panggilan diterima. |
Mengaktifkan mode pengenalan suara
- Tekan dan tahan
lalu berbicara ke mikrofon untuk memasukkan perintah suara.
Untuk keluar dari mode pengenalan suara, tekan BAND/
.
Membuat koneksi dengan Pioneer Smart Sync
Pioneer Smart Sync adalah aplikasi yang secara cerdas menyatukan peta, pesan, dan musik Anda di dalam kendaraan.

Jangan mencoba mengoperasikan aplikasi saat mengemudi. Pastikan untuk menepi dan memarkir kendaraan Anda di lokasi yang aman sebelum mencoba menggunakan kontrol pada aplikasi.
- Masuk ke menu SYSTEM (lihat "Tentang menu utama").
- Putar tombol M.C. untuk memilih [APP CONTROL] (KONTROL APLIKASI), lalu tekan untuk mengonfirmasi.
- Putar tombol M.C. untuk memilih salah satu di bawah ini.
- Pilih [WIRED] (KABEL) untuk koneksi USB.
- Pilih [BLUETOOTH] untuk koneksi Bluetooth.
- Putar tombol M.C. untuk memilih [AUTO APP CONN] (KONEKSI APLIKASI OTOMATIS), lalu tekan untuk mengonfirmasi.
- Putar tombol M.C. untuk memilih [ON] (AKTIF), lalu tekan untuk mengonfirmasi.
- Hubungkan unit ini dengan perangkat seluler melalui USB atau Bluetooth. Pioneer Smart Sync di perangkat iPhone/Android dimulai secara otomatis.
CATATAN
Terlepas dari apakah pengaturan [AUTO APP CONN] (KONEKSI APLIKASI OTOMATIS) diatur ke [ON] (AKTIF) atau [OFF] (MATI), Anda juga dapat melakukan hal berikut untuk memulai Pioneer Smart Sync.
- Untuk perangkat selain perangkat Android yang terhubung melalui USB, tekan SRC/OFF untuk memilih sumber apa pun dan tekan dan tahan tombol M.C..
- Untuk iPhone, luncurkan Pioneer Smart Sync di perangkat seluler.
Mendengarkan Pandora®
(Tidak tersedia jika [USB MTP] diatur ke [ON] di pengaturan SISTEM.)
Perbarui firmware aplikasi Pandora ke versi terbaru sebelum digunakan.
Sebelum memulai, hubungkan unit ini dengan perangkat seluler melalui USB (khusus iPhone) atau Bluetooth.
- Masuk ke menu SISTEM (lihat "Tentang menu utama").
- Putar kenop M.C. untuk memilih [APP CONTROL] (KONTROL APLIKASI), lalu tekan untuk mengonfirmasi.
- Putar kenop M.C. untuk memilih salah satu di bawah ini.
- Pilih [WIRED] (KABEL) untuk koneksi USB.
- Pilih [BLUETOOTH] untuk koneksi Bluetooth.
- Tekan SRC/OFF untuk memilih [PANDORA].
- Luncurkan aplikasi Pandora di perangkat seluler dan mulai pemutaran.
Mendengarkan Spotify®
(Tidak tersedia jika [USB MTP] diatur ke [ON] di pengaturan SISTEM.)
Perbarui firmware aplikasi Spotify ke versi terbaru sebelum digunakan.
Sebelum memulai, hubungkan unit ini dengan perangkat seluler melalui USB (khusus iPhone) atau Bluetooth.
- Masuk ke menu SISTEM (lihat "Tentang menu utama").
- Putar kenop M.C. untuk memilih [APP CONTROL] (KONTROL APLIKASI), lalu tekan untuk mengonfirmasi.
- Putar kenop M.C. untuk memilih salah satu di bawah ini.
- Pilih [WIRED] (KABEL) untuk koneksi USB.
- Pilih [BLUETOOTH] untuk koneksi Bluetooth.
- Tekan SRC/OFF untuk memilih [SPOTIFY].
- Luncurkan aplikasi Spotify di perangkat seluler dan mulai pemutaran.

(Nomor seri)
Nomor seri terletak di bagian bawah unit ini. Demi keamanan dan kemudahan Anda, pastikan untuk mencatat nomor ini pada kartu garansi yang disertakan.

Referensi
Pioneer USA, Car Stereo, Speakers, Home Theater, Navigation, DJ | Pioneer Electronics USA
App Store - Apple
Google Play
Unduh manual
Di sini Anda dapat mengunduh versi pdf lengkap manual, mungkin berisi instruksi keselamatan tambahan, informasi garansi, aturan FCC, dll.
Unduh Panduan Memulai Cepat Pioneer DEH-S5200BT, DEH-S4220BT, DEH-S4200BT


yang ditempatkan pada produk berarti arus searah.



.
untuk memilih pita.
[FM2]
hingga 6/
.
.