Pioneer DEH-S520BT - Panduan Memulai Cepat Penerima CD RDS
- 1 Sebelum Anda Memulai
- 2 Koneksi
- 3 Unit ini
- 4 Kabel daya
- 5 Amplifier daya
- 6 Pemasangan
- 7 Pemasangan dudukan DIN
- 8 Memasang mikrofon
- 9 Operasi dasar
- 10 Operasi pengaturan
- 11 Operasi tuner
- 12 Operasi CD/USB/iPhone/AUX
- 13 Koneksi Bluetooth
- 14 Telepon Bluetooth
- 15 Membuat koneksi dengan Pioneer Smart Sync
- 16 Mendengarkan Spotify
- 17 Referensi
- 18 Unduh manual
- 19 Dalam Bahasa Lain

Sebelum Anda Memulai
Terima kasih telah membeli produk PIONEER ini
Untuk memastikan penggunaan yang tepat, harap baca panduan ini sebelum menggunakan produk ini. Sangat penting bagi Anda untuk membaca dan memperhatikan PERINGATAN dan PERHATIAN dalam panduan ini. Harap simpan panduan ini di tempat yang aman dan mudah diakses untuk referensi di masa mendatang.

Jika Anda ingin membuang produk ini, jangan mencampurnya dengan sampah rumah tangga biasa. Ada sistem pengumpulan terpisah untuk produk elektronik bekas sesuai dengan undang-undang yang mengharuskan perlakuan, pemulihan, dan daur ulang yang tepat.
Rumah tangga pribadi di negara-negara anggota Uni Eropa, di Swiss, dan Norwegia dapat mengembalikan produk elektronik bekas mereka secara gratis ke fasilitas pengumpulan yang ditunjuk atau ke pengecer (jika Anda membeli yang baru serupa).
Untuk negara-negara yang tidak disebutkan di atas, harap hubungi pihak berwenang setempat untuk mengetahui metode pembuangan yang benar. Dengan melakukan hal ini, Anda akan memastikan bahwa produk yang Anda buang menjalani perawatan, pemulihan, dan daur ulang yang diperlukan, sehingga mencegah potensi efek negatif terhadap lingkungan dan kesehatan manusia.
- Jangan mencoba memasang atau memperbaiki produk ini sendiri. Pemasangan atau perbaikan produk ini oleh orang yang tidak memiliki pelatihan dan pengalaman dalam peralatan elektronik dan aksesori otomotif dapat berbahaya dan dapat membuat Anda berisiko terkena sengatan listrik, cedera, atau bahaya lainnya.
- Jangan mencoba mengoperasikan unit saat mengemudi. Pastikan untuk menepi dan memarkir kendaraan Anda di lokasi yang aman sebelum mencoba menggunakan kontrol pada perangkat.
- Jangan biarkan unit ini bersentuhan dengan kelembapan dan/atau cairan. Sengatan listrik dapat terjadi. Selain itu, kerusakan pada unit ini, asap, dan panas berlebih dapat terjadi akibat kontak dengan cairan.
- Selalu jaga volume cukup rendah untuk mendengar suara dari luar.
- Pioneer CarStereo-Pass hanya untuk digunakan di Jerman.
- Produk ini dievaluasi dalam kondisi iklim sedang dan tropis berdasarkan Audio, video, dan peralatan elektronik serupa - Persyaratan keselamatan, IEC 60065.
Produk ini adalah produk laser Kelas 1 yang diklasifikasikan berdasarkan standar keselamatan, IEC 60825-1:2014.
Jika Anda mengalami masalah
Jika unit ini gagal berfungsi dengan baik, harap hubungi dealer Anda atau Stasiun Servis PIONEER resmi terdekat.
Koneksi
Berikut ini, "NW" mewakili mode jaringan dan "STD" mewakili mode standar. Sesuai dengan koneksi yang telah Anda buat, ubah mode speaker ke mode standar (STD) atau mode jaringan (NW).
Penting
- Saat memasang unit ini di kendaraan tanpa posisi ACC (aksesori) pada kunci kontak, kegagalan menghubungkan kabel merah ke terminal yang mendeteksi pengoperasian kunci kontak dapat menyebabkan baterai terkuras.
![]()
- Penggunaan unit ini dalam kondisi selain berikut ini dapat menyebabkan kebakaran atau kerusakan.
- Kendaraan dengan baterai 12 volt dan ground negatif.
- Saat output speaker digunakan oleh 4 saluran, gunakan speaker di atas 50 W (daya input maksimum) dan antara 4 Ω hingga 8 Ω (nilai impedansi). Jangan gunakan speaker 1 Ω hingga 3 Ω untuk unit ini.
- Saat output speaker belakang digunakan oleh 2 Ω subwoofer, gunakan speaker di atas 70 W (daya input maksimum).
* Silakan merujuk ke koneksi untuk metode koneksi.
- Untuk mencegah korsleting, panas berlebih, atau kerusakan, pastikan untuk mengikuti petunjuk di bawah ini.
- Lepaskan terminal negatif baterai sebelum pemasangan.
- Amankan kabel dengan klem kabel atau pita perekat. Bungkus pita perekat di sekitar kabel yang bersentuhan dengan bagian logam untuk melindungi kabel.
- Tempatkan semua kabel jauh dari bagian yang bergerak, seperti tuas persneling dan rel kursi.
- Tempatkan semua kabel jauh dari tempat yang panas, seperti dekat saluran keluar pemanas.
- Jangan sambungkan kabel kuning ke baterai dengan melewatinya melalui lubang ke kompartemen mesin.
- Tutup konektor kabel yang terputus dengan pita isolasi.
- Jangan memperpendek kabel apa pun.
- Jangan pernah memotong isolasi kabel daya unit ini untuk berbagi daya dengan perangkat lain. Kapasitas arus kabel terbatas.
- Gunakan sekering dengan peringkat yang ditentukan.
- Jangan pernah menghubungkan kabel speaker negatif langsung ke ground.
- Jangan pernah mengikat kabel negatif dari beberapa speaker.
- Saat unit ini menyala, sinyal kontrol dikirim melalui kabel biru/putih. Sambungkan kabel ini ke kontrol jarak jauh sistem dari amplifier daya eksternal atau terminal kontrol relai auto-antena kendaraan (maks. 300mA 12 V DC). Jika kendaraan dilengkapi dengan antena kaca, sambungkan ke terminal catu daya booster antena.
- Jangan pernah menghubungkan kabel biru/putih ke terminal daya amplifier daya eksternal. Juga, jangan pernah menghubungkannya ke terminal daya auto-antena. Melakukannya dapat menyebabkan baterai terkuras atau kerusakan.
- Simbol grafis
yang ditempatkan pada produk berarti arus searah.
Unit ini

- Mikrofon (3 m)
- Input kabel daya
- Input mikrofon
- Output belakang (STD) atau output rentang tengah (NW)
- Output depan (STD) atau output rentang tinggi (NW)
- Input antena
- Sekering (10 A)
- Input remote kabel
Adaptor kontrol remote kabel keras dapat disambungkan (dijual terpisah). - Output subwoofer
Kabel daya

- Ke input kabel daya
- Tergantung pada jenis kendaraan, fungsi
dan
mungkin berbeda. Dalam hal ini, pastikan untuk menghubungkan
ke
dan
ke
. - Kuning
Cadangan (atau aksesori) - Kuning
Sambungkan ke terminal catu daya 12 V konstan. - Merah
Aksesori (atau cadangan) - Merah
Sambungkan ke terminal yang dikendalikan oleh kunci kontak (12 V DC). - Sambungkan kabel dengan warna yang sama satu sama lain.
- Hitam (ground sasis)
- Biru/putih
Posisi pin konektor ISO akan berbeda tergantung pada jenis kendaraan. Sambungkan
dan
ketika Pin 5 adalah tipe kontrol antena. Pada jenis kendaraan lain, jangan pernah menghubungkan
dan
. - Biru/putih
Sambungkan ke terminal kontrol sistem amplifier daya (maks. 300 mA 12 V DC). - Biru/putih
Sambungkan ke terminal kontrol relai auto-antena (maks. 300 mA 12 V DC). - Kabel speaker
Putih: Depan kiri
(STD) atau rentang tinggi kiri
(NW)
Putih/hitam: Depan kiri
(STD) atau rentang tinggi kiri
(NW)
Abu-abu: Depan kanan
(STD) atau rentang tinggi kanan
(NW)
Abu-abu/hitam: Depan kanan
(STD) atau rentang tinggi kanan
(NW)
Hijau: Belakang kiri
(STD) atau rentang tengah kiri
(NW)
Hijau/hitam: Belakang kiri
(STD) atau rentang tengah kiri
(NW)
Ungu: Belakang kanan
(STD) atau rentang tengah kanan
(NW)
Ungu/hitam: Belakang kanan
(STD) atau rentang tengah kanan
(NW) - Oranye/putih
Sambungkan ke sinyal iluminasi mobil. - Konektor ISO
Di beberapa kendaraan, konektor ISO dapat dibagi menjadi dua. Dalam hal ini, pastikan untuk menghubungkan ke kedua konektor.
CATATAN
- Ubah menu awal unit ini. Lihat [REAR-SP]. Output subwoofer unit ini adalah monaural.
- Saat menggunakan subwoofer 2 Ω, pastikan untuk menghubungkan subwoofer ke kabel ungu dan ungu/hitam unit ini. Jangan sambungkan apa pun ke kabel hijau dan hijau/hitam.
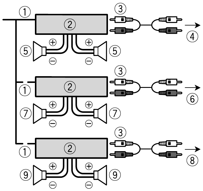
Amplifier daya
(dijual terpisah)
Lakukan koneksi ini saat menggunakan amplifier opsional.

- Kontrol jarak jauh sistem
Sambungkan ke kabel biru/putih. - Amplifier daya (dijual terpisah)
- Sambungkan dengan kabel RCA (dijual terpisah)
- Ke output belakang (STD) atau output rentang tengah (NW)
- Speaker belakang (STD) atau speaker rentang tengah (NW)
- Ke output depan (STD) atau output rentang tinggi (NW)
- Speaker depan (STD) atau speaker rentang tinggi (NW)
- Ke output subwoofer
- Subwoofer
Pemasangan
- Periksa semua koneksi dan sistem sebelum pemasangan akhir.
- Jangan gunakan suku cadang yang tidak sah karena dapat menyebabkan kerusakan.
- Konsultasikan dengan dealer Anda jika pemasangan memerlukan pengeboran lubang atau modifikasi lain pada kendaraan.
- Jangan pasang unit ini di tempat:
- dapat mengganggu pengoperasian kendaraan.
- dapat menyebabkan cedera pada penumpang akibat berhenti mendadak.
- Pasang unit ini jauh dari tempat yang panas seperti dekat saluran keluar pemanas.
- Kinerja optimal diperoleh saat unit dipasang pada sudut kurang dari 60°.
![]()
- Saat memasang, untuk memastikan penyebaran panas yang tepat saat menggunakan unit ini, pastikan Anda meninggalkan ruang yang cukup di belakang panel belakang dan bungkus kabel yang longgar agar tidak menghalangi ventilasi.
![]()
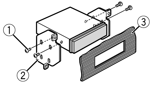
Pemasangan dudukan DIN
- Masukkan selongsong pemasangan yang disertakan ke dalam dasbor.
- Amankan selongsong pemasangan dengan menggunakan obeng untuk menekuk tab logam (90°) ke tempatnya.

- Dasbor
- Selongsong pemasangan
- Pastikan unit terpasang dengan aman di tempatnya. Pemasangan yang tidak stabil dapat menyebabkan skipping atau kerusakan lainnya.
Saat tidak menggunakan selongsong pemasangan yang disertakan
- Tentukan posisi yang tepat di mana lubang pada braket dan sisi unit cocok.
![Pioneer - DEH-S520BT - DIN mount installation - Step 2 (Pemasangan dudukan DIN - Langkah 2) DIN mount installation - Step 2]()
- Kencangkan dua sekrup di setiap sisi.
- Sekrup penyadap (5 mm × 9 mm, tidak disertakan dengan produk)
- Braket pemasangan
- Dasbor atau konsol
Melepas unit (dipasang dengan selongsong pemasangan yang disertakan)
- Lepaskan cincin trim.
- Cincin trim
- Tab berlekuk
- Melepas panel depan memungkinkan akses yang lebih mudah ke cincin trim.
- Saat memasang kembali cincin trim, arahkan sisi dengan tab berlekuk ke bawah.
- Masukkan kunci ekstraksi yang disertakan ke kedua sisi unit hingga terkunci pada tempatnya.
- Tarik unit keluar dari dasbor.
![Pioneer - DEH-S520BT - DIN mount installation - Step 5 (Pemasangan dudukan DIN - Langkah 5) DIN mount installation - Step 5]()
Memasang mikrofon
Mikrofon harus ditempatkan langsung di depan pengemudi pada jarak yang sesuai untuk menangkap suara mereka dengan jelas.
Sangat berbahaya jika kabel mikrofon melilit kolom kemudi atau tuas persneling. Pastikan untuk memasang mikrofon sedemikian rupa sehingga tidak menghalangi pengemudian. Disarankan untuk menggunakan klem (dijual terpisah) untuk mengatur kabel.
CATATAN
Tergantung pada model kendaraan, panjang kabel mikrofon mungkin terlalu pendek saat Anda memasang mikrofon pada pelindung matahari. Dalam kasus seperti itu, pasang mikrofon pada kolom kemudi.
Untuk memasang pada pelindung matahari
- Masukkan kabel mikrofon ke dalam alur.
- Kabel mikrofon
- Alur
- Pasang klip mikrofon pada pelindung matahari.
Menurunkan pelindung matahari mengurangi tingkat pengenalan suara.
- Klip mikrofon
Untuk memasang pada kolom kemudi
- Geser dasar mikrofon untuk melepaskannya dari klip mikrofon.
- Mikrofon
- Klip mikrofon
- Dasar mikrofon
Pasang mikrofon di sisi belakang kolom kemudi.

- Pita dua sisi
Operasi dasar
DEH-S520BT

Tentang menu utama
Anda dapat menyesuaikan berbagai pengaturan di menu utama.
- Tekan tombol M.C. untuk menampilkan menu utama.
- Putar tombol M.C. untuk memilih salah satu kategori di bawah ini, lalu tekan untuk mengonfirmasi.
- Pengaturan FUNCTION
- Pengaturan AUDIO
- Pengaturan SYSTEM
- Pengaturan ILLUMINATION
- Pengaturan MIXTRAX
- Pengaturan MICROPHONE
- Putar tombol M.C. untuk memilih opsi, lalu tekan untuk mengonfirmasi.
Operasi yang sering digunakan
| Tujuan | Operasi |
| Menyalakan daya | Tekan SRC/OFF untuk menyalakan daya. Tekan dan tahan SRC/OFF untuk mematikan daya. |
| Menyesuaikan volume | Putar tombol M.C.. |
| Memilih sumber | Tekan SRC/OFF berulang kali. |
| Mengubah informasi tampilan | Tekan DISP berulang kali. |
| Kembali ke tampilan/daftar sebelumnya | Tekan BAND/ . |
| Kembali ke tampilan normal dari menu | Tekan dan tahan BAND/ . |
| Mengubah kecerahan tampilan | Tekan dan tahan BAND/ . |
Operasi pengaturan
Saat Anda memutar kunci kontak ke posisi ON setelah pemasangan, menu pengaturan akan muncul di layar.
Jangan gunakan unit dalam mode standar saat sistem speaker untuk mode jaringan terhubung ke unit. Jangan gunakan unit dalam mode jaringan saat sistem speaker untuk mode standar terhubung ke unit. Hal ini dapat menyebabkan kerusakan pada speaker.
- Putar tombol M.C. untuk memilih opsi, lalu tekan untuk mengonfirmasi.
Untuk melanjutkan ke opsi menu berikutnya, Anda perlu mengonfirmasi pilihan Anda.
| Item Menu | Deskripsi |
| LANGUAGE (BAHASA) [ENG](Inggris), [РУС](Rusia), [TUR](Turki), [FRA](Prancis), [DEU](Jerman) | Pilih bahasa untuk menampilkan informasi teks dari file audio terkompresi. |
| CLOCK SET (PENGATURAN JAM) | Atur jam.
|
| FM STEP (LANGKAH FM) [100], [50] | Pilih langkah penyetelan FM dari 100 kHz atau 50 kHz. |
| SPEAKER MODE (MODE SPEAKER) [STANDARD], [NETWORK] (JARINGAN) | Beralih antara dua mode operasi: mode jaringan 2 arah (NETWORK) dan mode standar (STANDARD) sesuai dengan koneksi yang telah Anda buat. Setelah memilih mode yang sesuai, putar tombol M.C. untuk memilih [YES] (YA), lalu tekan untuk mengonfirmasi.
|
- [QUIT:YES] (KELUAR:YA) muncul.
Untuk kembali ke item pertama menu pengaturan, putar tombol M.C. untuk memilih [QUIT:NO] (KELUAR:TIDAK), lalu tekan untuk mengonfirmasi. - Tekan tombol M.C. untuk mengonfirmasi pengaturan.
Operasi tuner
Menerima stasiun prasetel
- Tekan SRC/OFF untuk memilih [RADIO].
- Tekan BAND/
untuk memilih pita.
[FM1]
[FM2]
[FM3]
[MW]/[LW] - Tekan tombol angka (1/
hingga 6/
).
Memori stasiun terbaik (BSM)
- Setelah memilih pita, tekan tombol M.C. untuk menampilkan menu utama.
- Putar tombol M.C. untuk memilih [FUNCTION] (FUNGSI), lalu tekan untuk mengonfirmasi.
- Putar tombol M.C. untuk memilih [BSM], lalu tekan untuk mengonfirmasi.
Untuk menyimpan stasiun secara manual
- Saat menerima stasiun yang ingin Anda simpan, tekan dan tahan salah satu tombol angka (1/
hingga 6/
) hingga berhenti berkedip.
Operasi CD/USB/iPhone®/AUX
(Sumber iPhone tidak tersedia saat [USB MTP] diatur ke [ON] (AKTIF) di pengaturan SYSTEM (SISTEM).)
CD
- Masukkan disk ke dalam slot pemuatan disk dengan sisi label menghadap ke atas.
Untuk mengeluarkan disk, hentikan pemutaran terlebih dahulu lalu tekan
.
USB/iPhone
- Buka penutup port USB.
- Colokkan perangkat USB/iPhone menggunakan kabel yang sesuai.
Koneksi MTP
Perangkat yang diinstal dengan Android OS 4.0 atau sebagian besar versi yang lebih baru dapat dihubungkan ke unit melalui MTP, menggunakan kabel yang disertakan dengan perangkat Android. Namun, tergantung pada perangkat yang terhubung, versi OS atau jumlah file di perangkat, file/lagu audio mungkin tidak dapat diputar ulang melalui MTP.
CATATAN
Jika Anda menggunakan koneksi MTP, [USB MTP] perlu diatur ke [ON] (AKTIF) di pengaturan SYSTEM (SISTEM).
AUX
- Masukkan steker mini stereo ke jack input AUX.
- Tekan SRC/OFF untuk memilih [AUX IN] sebagai sumber.
Koneksi Bluetooth
Hingga dua telepon Bluetooth dapat dihubungkan secara bersamaan.
- Aktifkan fungsi Bluetooth perangkat.
- Pilih nama unit yang ditampilkan di layar perangkat.
- Pastikan nomor 6 digit yang sama muncul di unit ini dan perangkat.
- Pilih [YES] (YA).
Telepon Bluetooth
Operasi dasar
| Tujuan | Operasi |
| Menjawab panggilan masuk | Tekan tombol apa saja saat panggilan diterima. |
| Mengakhiri panggilan | Tekan . |
| Menolak panggilan masuk | Tekan dan tahan saat panggilan diterima. |
Mengaktifkan mode pengenalan suara
- Tekan dan tahan
lalu bicaralah ke mikrofon untuk memasukkan perintah suara.
Untuk keluar dari mode pengenalan suara, tekan BAND/
.
Membuat koneksi dengan Pioneer Smart Sync
Pioneer Smart Sync adalah aplikasi yang secara cerdas menyatukan peta, pesan, dan musik Anda di dalam kendaraan.
Jangan mencoba mengoperasikan aplikasi saat mengemudi. Pastikan untuk menepi dan memarkir kendaraan Anda di lokasi yang aman sebelum mencoba menggunakan kontrol pada aplikasi.
- Masuk ke menu SYSTEM (SISTEM) (lihat "Tentang menu utama").
- Putar tombol M.C. untuk memilih [APP CONTROL] (KONTROL APLIKASI), lalu tekan untuk mengonfirmasi.
- Putar tombol M.C. untuk memilih salah satu di bawah ini.
- Pilih [WIRED] (BERKABEL) untuk koneksi USB.
- Pilih [BLUETOOTH] untuk koneksi Bluetooth.
- Putar tombol M.C. untuk memilih [AUTO APP CONN] (KONEKSI APLIKASI OTOMATIS), lalu tekan untuk mengonfirmasi.
- Putar tombol M.C. untuk memilih [ON] (AKTIF), lalu tekan untuk mengonfirmasi.
- Hubungkan unit ini dengan perangkat seluler melalui USB atau Bluetooth. Pioneer Smart Sync di perangkat iPhone/Android dimulai secara otomatis.
CATATAN
Terlepas dari apakah pengaturan [AUTO APP CONN] (KONEKSI APLIKASI OTOMATIS) diatur ke [ON] (AKTIF) atau [OFF] (MATI), Anda juga dapat melakukan hal berikut untuk memulai Pioneer Smart Sync.
- Untuk perangkat selain perangkat Android yang terhubung melalui USB, tekan SRC/OFF untuk memilih sumber apa pun dan tekan dan tahan tombol M.C..
- Untuk iPhone, luncurkan Pioneer Smart Sync di perangkat seluler.
Mendengarkan Spotify®
(Tidak tersedia jika [USB MTP] diatur ke [ON] di pengaturan SISTEM.)
Perbarui firmware aplikasi Spotify ke versi terbaru sebelum digunakan.
Sebelum Anda mulai, hubungkan unit ini dengan perangkat seluler melalui USB (khusus iPhone) atau Bluetooth.
- Masuk ke menu SISTEM (lihat "Tentang menu utama").
- Putar kenop M.C. untuk memilih [APP CONTROL] (KONTROL APLIKASI), lalu tekan untuk mengonfirmasi.
- Putar kenop M.C. untuk memilih salah satu di bawah ini.
- Pilih [WIRED] (KABEL) untuk koneksi USB.
- Pilih [BLUETOOTH] untuk koneksi Bluetooth.
- Tekan SRC/OFF untuk memilih [SPOTIFY].
- Luncurkan aplikasi Spotify di perangkat seluler dan mulai pemutaran.
Deklarasi Kesesuaian sehubungan dengan Radio Equipment Directive 2014/53/EU
| Produsen: Pioneer Corporation 28-8, Honkomagome 2-chome, Bunkyo-ku, Tokyo 113-0021, Japan | Perwakilan & Importir UE: PIONEER EUROPE NV Haven 1087, Keetberglaan 1, B-9120 Melsele, Belgium/Belgique http://www.pioneer-car.eu |
[*] DEH-S520BT[*] DEH-S520BT
English (Bahasa Inggris):
Hereby, Pioneer declares that the radio equipment type [*] is in compliance with Directive 2014/53/EU. (Dengan ini, Pioneer menyatakan bahwa jenis peralatan radio [*] sesuai dengan Directive 2014/53/EU.)
The full text of the EU declaration of conformity is available at the following internet address: http://www.pioneer-car.eu/compliance
Referensi
App Store - Apple
Google Play
Car GPS Navigation – Multimedia Receiver – Digital Bass Control | Pioneer
Product Compliance Documents | Pioneer
Unduh manual
Di sini Anda dapat mengunduh versi pdf lengkap manual, mungkin berisi instruksi keselamatan tambahan, informasi garansi, aturan FCC, dll.
Unduh Pioneer DEH-S520BT - Panduan Memulai Cepat Penerima CD RDS

yang ditempatkan pada produk berarti arus searah.
dan
mungkin berbeda. Dalam hal ini, pastikan untuk menghubungkan
ke
ke
dan
ketika Pin 5 adalah tipe kontrol antena. Pada jenis kendaraan lain, jangan pernah menghubungkan
(STD) atau rentang tinggi kiri
(STD) atau rentang tinggi kiri



.
.
[FM2]
hingga 6/
.
. 