Pioneer MVH-S120UI/UIG/UB/UBG/UBA/UBW MVH-S12UI Жылдам іске қосу нұсқаулығы
- 1 Бастамас бұрын
- 2 Қосылымдар
- 3 Бұл құрылғы
- 4 Қуат сымы
- 5 Қуат күшейткіші (бөлек сатылады)
- 6 Орнату
- 7 DIN қондырғысын орнату
- 8 Жеткізілген монтаждау жеңін пайдаланбаған кезде
- 9 Кірістірілген кронштейнді пайдалану
- 10 Құрылғыны алу (жеткізілген монтаждау жеңімен орнатылған)
- 11 Негізгі жұмыс
- 12 Орнату операциясы
- 13 Тюнер жұмысы
- 14 USB/iPod/AUX жұмысы
- 15 Pioneer ARC APP қолданбасымен қосылым жасау
- 16 Spotify тыңдау
- 17 Нұсқаулықты жүктеп алу
- 18 Басқа тілдерде

Бастамас бұрын
Осы PIONEER өнімін сатып алғаныңыз үшін рақмет
Дұрыс пайдалануды қамтамасыз ету үшін, осы өнімді қолданар алдында осы нұсқаулықты оқып шығыңыз. Әсіресе, осы нұсқаулықтағы ЕСКЕРТУлер мен АБАЙ БОЛЫҢЫЗдарды оқып, сақтағаныңыз маңызды. Нұсқаулықты болашақта қарау үшін қауіпсіз және қолжетімді жерде сақтаңыз.

Егер сіз осы өнімді кәдеге жаратқыңыз келсе, оны тұрмыстық қалдықтармен араластырмаңыз. Пайдаланылған электрондық өнімдерді тиісті өңдеуді, қалпына келтіруді және қайта өңдеуді талап ететін заңнамаға сәйкес бөлек жинау жүйесі бар.
ЕО-ға мүше мемлекеттердегі, Швейцария мен Норвегиядағы жеке үй шаруашылықтары пайдаланылған электрондық өнімдерін арнайы жинау орындарына немесе сатушыға (ұқсас жаңасын сатып алсаңыз) тегін қайтара алады.
Жоғарыда аталмаған елдер үшін кәдеге жаратудың дұрыс әдісін білу үшін жергілікті билік органдарына хабарласыңыз. Осылайша, сіз кәдеге жаратылған өніміңіздің қажетті өңдеуден, қалпына келтіруден және қайта өңдеуден өтуін қамтамасыз етесіз және осылайша қоршаған орта мен адам денсаулығына ықтимал теріс әсерлердің алдын аласыз.
- Осы өнімді өз бетіңізше орнатуға немесе қызмет көрсетуге тырыспаңыз. Электрондық жабдықтар мен автомобиль керек-жарақтары бойынша дайындығы мен тәжірибесі жоқ адамдардың осы өнімді орнатуы немесе қызмет көрсетуі қауіпті болуы мүмкін және сізді электр тогының соғуы, жарақат алу немесе басқа қауіптерге ұшыратуы мүмкін.
- Көлік жүргізіп бара жатқанда құрылғыны пайдалануға тырыспаңыз. Құрылғыдағы басқару элементтерін пайдалануға тырыспас бұрын, жолдан шығып, көлігіңізді қауіпсіз жерге қойыңыз.
- Бұл құрылғының ылғалмен және/немесе сұйықтықтармен жанасуына жол бермеңіз. Электр тогының соғуы мүмкін. Сондай-ақ, сұйықтықтармен жанасу нәтижесінде бұл құрылғы зақымдануы, түтін шығуы және қызып кетуі мүмкін.
- Әрқашан сыртқы дыбыстарды есту үшін дыбыс деңгейін жеткілікті төмен деңгейде ұстаңыз.
- Pioneer CarStereo-Pass тек Германияда пайдалануға арналған.
- Бұл өнім Аудио, бейне және ұқсас электрондық аппараттар - Қауіпсіздік талаптары, IEC 60065 бойынша қалыпты және тропикалық климат жағдайында бағаланады.
Егер сізде мәселелер туындаса
Егер бұл құрылғы дұрыс жұмыс істемесе, дилеріңізге немесе жақын жердегі уәкілетті PIONEER қызмет көрсету станциясына хабарласыңыз.
Қосылымдар
- Егер сіз бұл құрылғыны тұтану қосқышында ACC (қосымша) позициясы жоқ көлікке орнатсаңыз, қызыл кабельді тұтану кілтінің жұмысын анықтайтын терминалға қоспау батареяның зарядының таусылуына әкелуі мүмкін.
![Pioneer - MVH-S120UI - Қосылымдар Қосылымдар]()
- Бұл құрылғыны келесі жағдайлардан басқа жағдайларда пайдалану өртке немесе ақаулыққа әкелуі мүмкін.
- 12 вольтты батареясы және теріс жерге қосылуы бар көліктер.
- Дыбыс зорайтқыш шығысы 4 арнамен пайдаланылған кезде, 50 Вт-тан (максималды кіріс қуаты) асатын және 4 Ω пен 8 Ω (кедергі мәні) аралығындағы дыбыс зорайтқыштарды пайдаланыңыз. Бұл құрылғы үшін 1 Ω - 3 Ω дыбыс зорайтқыштарын пайдаланбаңыз.
- Артқы дыбыс зорайтқыш шығысы 2 Ω сабвуфермен пайдаланылған кезде, 70 Вт-тан (максималды кіріс қуаты) асатын дыбыс зорайтқыштарды пайдаланыңыз.
* Қосылу әдісі үшін қосылымдарды қараңыз.
- Қысқа тұйықталуды, қызып кетуді немесе ақаулықты болдырмау үшін төмендегі нұсқауларды орындаңыз.
- Орнату алдында батареяның теріс ұшын ажыратыңыз.
- Сымдарды кабель қысқыштарымен немесе жабысқақ таспамен бекітіңіз. Сымдарды қорғау үшін металл бөліктермен жанасатын сымдарды жабысқақ таспамен ораңыз.
- Барлық кабельдерді жылжымалы бөліктерден, мысалы, ауыстырғыш тетігінен және орындық рельстерінен алыс орналастырыңыз.
- Барлық кабельдерді жылытқыш шығысы сияқты ыстық жерлерден алыс орналастырыңыз.
- Сары кабельді қозғалтқыш бөлігіне тесік арқылы өткізіп, батареяға қоспаңыз.
- Ажыратылған кабель қосқыштарын оқшаулағыш таспамен жабыңыз.
- Ешбір кабельді қысқартпаңыз.
- Басқа құрылғылармен қуатты бөлісу үшін осы құрылғының қуат кабелінің оқшаулауын ешқашан кеспеңіз. Кабельдің ток өткізу қабілеті шектеулі.
- Белгіленген номиналды сақтандырғышты пайдаланыңыз.
- Ешқашан теріс дыбыс зорайтқыш кабелін тікелей жерге қоспаңыз.
- Ешқашан бірнеше дыбыс зорайтқыштың теріс кабельдерін бірге байламаңыз.
- Бұл құрылғы қосулы болғанда, басқару сигналдары көк/ақ кабель арқылы жіберіледі. Бұл кабельді сыртқы қуат күшейткішінің жүйелік қашықтан басқару пультіне немесе көліктің автоматты антенна релесін басқару терминалына қосыңыз (макс. 300mA 12 V DC). Егер көлік шыны антеннамен жабдықталған болса, оны антенна күшейткішінің қуат көзі терминалына қосыңыз.
- Ешқашан көк/ақ кабельді сыртқы қуат күшейткішінің қуат терминалына қоспаңыз. Сондай-ақ, оны ешқашан автоматты антеннаның қуат терминалына қоспаңыз. Бұл батареяның зарядының таусылуына немесе ақаулыққа әкелуі мүмкін.
- Өнімге орналастырылған графикалық белгі
тұрақты токты білдіреді. - Егер құрылғы қуат көзінен ажыратылса, RCA алдын ала шығыстарының параметрінен басқа функция және дыбыс параметрлері жадта сақталады.
Бұл құрылғы

- Қуат сымының кірісі
- Артқы шығыс немесе сабвуфер шығысы
- Алдыңғы шығыс (Тек MVH-S120UI/S120UIG/S12UI үшін)
- Антенна кірісі
- Сақтандырғыш (10 A)
- Сымды қашықтан басқару пультінің кірісі (Тек MVH-S120UI/S120UIG/S12UI үшін)
Қатты сымды қашықтан басқару пультінің адаптерін қосуға болады (бөлек сатылады).
Қуат сымы

- Қуат сымының кірісіне
- Көліктің түріне байланысты
және
функциясы әртүрлі болуы мүмкін.
Бұл жағдайда
-ді
-ге және
-ді
-ге қосқаныңызға көз жеткізіңіз. - Сары
Сақтық көшірме (немесе керек-жарақ) - Сары
Тұрақты 12 В қуат көзі терминалына қосыңыз. - Қызыл
Керек-жарақ (немесе сақтық көшірме) - Қызыл
Тұтану қосқышымен басқарылатын терминалға қосыңыз (12 V DC). - Бірдей түсті сымдарды бір-біріне қосыңыз.
- Қара (шасси жерге қосылу)
- Көк/ақ
ISO қосқышының түйреуіш орны көліктің түріне байланысты өзгереді. 5-түйреуіш антеннаны басқару түрі болғанда
және
қосыңыз. Көліктің басқа түрінде ешқашан
және
қоспаңыз. - Көк/ақ
Қуат күшейткішінің жүйелік басқару терминалына қосыңыз (макс. 300 mA 12 V DC). - Көк/ақ
Автоматты антенна релесін басқару терминалына қосыңыз (макс. 300 mA 12 V DC). - Сары/қара (Тек MVH-S120UI/S120UIG/S12UI үшін)
Егер сіз Mute (дыбысты өшіру) функциясы бар жабдықты пайдалансаңыз, бұл сымды сол жабдықтағы Audio Mute (дыбысты өшіру) сымына қосыңыз. Олай болмаса, Audio Mute (дыбысты өшіру) сымын ешқандай қосылымсыз қалдырыңыз. - Дыбыс зорайтқыш сымдары
Ақ: Алдыңғы сол жақ![]()
Ақ/қара: Алдыңғы сол жақ![]()
Сұр: Алдыңғы оң жақ![]()
Сұр/қара: Алдыңғы оң жақ![]()
Жасыл: Артқы сол жақ
немесе сабвуфер ![]()
Жасыл/қара: Артқы сол жақ
немесе сабвуфер ![]()
Күлгін: Артқы оң жақ
немесе сабвуфер ![]()
Күлгін/қара: Артқы оң жақ
немесе сабвуфер ![]()
- ISO қосқышы
Кейбір көліктерде ISO қосқышы екіге бөлінуі мүмкін. Бұл жағдайда екі қосқышқа да қосылғаныңызға көз жеткізіңіз.
ЕСКЕРТПЕЛЕР
- Осы құрылғының бастапқы мәзірін өзгертіңіз. [SP-P/O MODE] бөлімін қараңыз. Бұл құрылғының сабвуфер шығысы монофониялық.
- 2 Ω сабвуферді пайдаланған кезде, сабвуферді осы құрылғының күлгін және күлгін/қара сымдарына қосқаныңызға көз жеткізіңіз. Жасыл және жасыл/қара сымдарға ештеңе қоспаңыз.
Қуат күшейткіші (бөлек сатылады)
Қосымша күшейткішті пайдаланған кезде осы қосылымдарды орындаңыз.

- Жүйелік қашықтан басқару пульті
Көк/ақ кабельге қосыңыз. - Қуат күшейткіші (бөлек сатылады)
- RCA кабельдерімен қосыңыз (бөлек сатылады)
- Алдыңғы шығысқа*
- Алдыңғы дыбыс зорайтқыш*
- Артқы шығысқа немесе сабвуфер шығысына
- Артқы дыбыс зорайтқыш немесе сабвуфер
* Тек MVH-S120UI/S120UIG/S12UI үшін
Орнату
- Соңғы орнату алдында барлық қосылымдар мен жүйелерді тексеріңіз.
- Рұқсат етілмеген бөлшектерді пайдаланбаңыз, себебі бұл ақаулықтарға әкелуі мүмкін.
- Егер орнату тесіктерді бұрғылауды немесе көлікке басқа өзгерістер енгізуді қажет етсе, дилеріңізбен кеңесіңіз.
- Бұл құрылғыны мына жерлерге орнатпаңыз:
- ол көліктің жұмысына кедергі келтіруі мүмкін.
- ол кенеттен тоқтау нәтижесінде жолаушының жарақат алуына әкелуі мүмкін.
- Бұл құрылғыны жылытқыш шығысы сияқты ыстық жерлерден алыс орнатыңыз.
- Оңтайлы өнімділікке құрылғы 60°-тан аз бұрышта орнатылған кезде қол жеткізіледі.
![]()
- Орнату кезінде, осы құрылғыны пайдаланған кезде дұрыс жылу таралуын қамтамасыз ету үшін, артқы панельдің артында жеткілікті орын қалдырғаныңызға және бос кабельдерді желдеткіштерді жауып қалмас үшін орағаныңызға көз жеткізіңіз.
![Pioneer - MVH-S120UI - Жеткілікті орын қалдырыңыз Жеткілікті орын қалдырыңыз]()
DIN қондырғысын орнату
- Берілген монтаждау жеңін тақтаға салыңыз.
- Металл қойындыларды (90°) орнына бүгу үшін бұрағышты пайдаланып, монтаждау жеңін бекітіңіз.

- Басқару тақтасы
- Монтаждау жеңі
- Құрылғының орнында мықтап орнатылғанына көз жеткізіңіз. Тұрақсыз орнату секіруге немесе басқа ақаулықтарға әкелуі мүмкін.
Жеткізілген монтаждау жеңін пайдаланбаған кезде
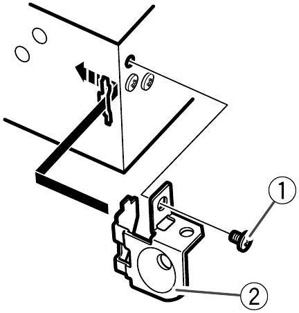
- Бекіткіш кронштейннің тесіктерін кронштейнді бекіту үшін құрылғының бүйір жағындағы тесіктермен туралаңыз.
![Pioneer - MVH-S120UI - Бекіткіш кронштейннің тесіктерін туралаңыз Бекіткіш кронштейннің тесіктерін туралаңыз]()
- Құрылғыны орнында ұстап тұру үшін әр жағына бір бұранда салыңыз.
![Pioneer - MVH-S120UI - Құрылғыны орнында ұстап тұру үшін әр жағына бір бұранда салыңыз. Құрылғыны орнында ұстап тұру үшін әр жағына бір бұранда салыңыз.]()
- Бұранданы бұрау (5 мм × 9 мм, өніммен бірге жеткізілмейді)
- Бекіткіш кронштейн
- Басқару тақтасы немесе консоль
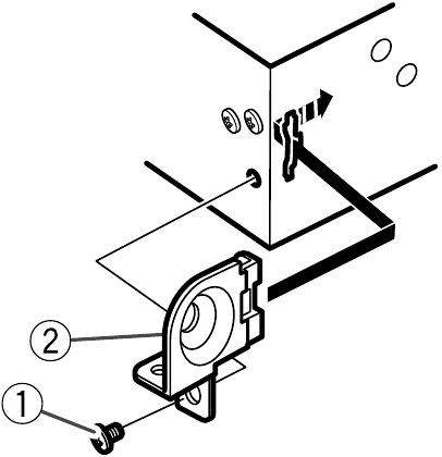
Кірістірілген кронштейнді пайдалану
Кірістірілген кронштейннің сіздің көлік үлгісіне сәйкес келетінін тексеріңіз, содан кейін оны төменде көрсетілгендей құрылғыға бекітіңіз.


- Бұранда
- Кронштейн
Құрылғыны алу (жеткізілген монтаждау жеңімен орнатылған)
- Шеткі сақинаны алыңыз.

- Шеткі сақина
- Ойылған қойынды
- Алдыңғы панельді босату шеткі сақинаға оңай қол жеткізуге мүмкіндік береді.
- Шеткі сақинаны қайта бекіткен кезде, ойылған қойындысы бар жағын төмен қаратыңыз.
- Жеткізілген шығару кілттерін құрылғының екі жағына да орнына түскенше салыңыз.
- Құрылғыны басқару тақтасынан тартып шығарыңыз.
![Pioneer - MVH-S120UI - Құрылғыны басқару тақтасынан тартып шығарыңыз. Құрылғыны басқару тақтасынан тартып шығарыңыз.]()
Негізгі жұмыс
MVH-S120UI/S120UIG/S12UI/S120UB/S120UBG/S120UBA/S120UBW

Негізгі мәзір туралы
Негізгі мәзірде әртүрлі параметрлерді реттеуге болады.
- Негізгі мәзірді көрсету үшін M.C. тетігін басыңыз.
- Төмендегі санаттардың бірін таңдау үшін M.C. тетігін бұраңыз, содан кейін растау үшін басыңыз.
- FUNCTION (ФУНКЦИЯ) параметрлері
- AUDIO (АУДИО) параметрлері
- SYSTEM (ЖҮЙЕ) параметрлері
- ILLUMINATION (ЖАРЫҚТАНДЫРУ) параметрлері
- Опцияларды таңдау үшін M.C. тетігін бұраңыз, содан кейін растау үшін басыңыз.
Жиі қолданылатын операциялар
| Мақсаты | Операция |
| Қуатты қосу | Қуатты қосу үшін SRC/OFF түймесін басыңыз. Қуатты өшіру үшін SRC/OFF түймесін басып тұрыңыз. |
| Дыбыс деңгейін реттеу | M.C. тетігін бұраңыз. |
| Дереккөзді таңдау | SRC/OFF түймесін қайта-қайта басыңыз. |
| Дисплей ақпаратын өзгерту | DISP түймесін қайта-қайта басыңыз. |
| Алдыңғы дисплейге/тізімге қайту | BAND/ түймесін басыңыз. |
| Мәзірден қалыпты дисплейге қайту | BAND/ түймесін басып тұрыңыз. . |
| Дисплей жарықтығын өзгерту | BAND/ түймесін басып тұрыңыз. . |
| Бас деңгейін көтеру | BASS түймесін басыңыз.
|
Орнату операциясы
Орнатудан кейін тұтану қосқышын ON (ҚОСУЛЫ) күйіне ауыстырған кезде дисплейде [SET UP:YES] (ОРНАТУ:ИӘ) пайда болады.
- M.C. тетігін басыңыз.
- Опцияларды таңдау үшін M.C. тетігін бұраңыз, содан кейін растау үшін басыңыз.
Келесі мәзір опциясына өту үшін таңдауыңызды растауыңыз керек.
| Мәзір элементі | Сипаттамасы |
| LANGUAGE (ТІЛ) [ENG](Ағылшын), | Сығылған аудио файлдан мәтін ақпаратын көрсету үшін тілді таңдаңыз. |
| CLOCK SET (САҒАТТЫ ОРНАТУ) | Сағатты орнатыңыз.
|
| FM STEP (FM ҚАДАМЫ) [100], [50] | FM реттеу қадамын 100 кГц немесе 50 кГц-тен таңдаңыз. |
- Барлық параметрлер жасалғаннан кейін [QUIT:YES] (ШЫҒУ:ИӘ) пайда болады.
Орнату мәзірінің бірінші элементіне қайта оралу үшін M.C. тетігін бұрап [QUIT:NO] (ШЫҒУ:ЖОҚ) таңдаңыз, содан кейін растау үшін басыңыз. - Параметрлерді растау үшін M.C. тетігін басыңыз.
Тюнер жұмысы
Алдын ала орнатылған станцияларды қабылдау
- [RADIO] (РАДИО) таңдау үшін SRC/OFF түймесін басыңыз.
- Диапазонды таңдау үшін BAND/
түймесін басыңыз.
[FM1]
[FM2]
[FM3]
[MW]/[LW] - Сандық түймені басыңыз (1/
-ден 6/
дейін).
Үздік станцияларды жадыда сақтау (BSM)
- Диапазонды таңдағаннан кейін, негізгі мәзірді көрсету үшін M.C. тетігін басыңыз.
- [FUNCTION] (ФУНКЦИЯ) таңдау үшін M.C. тетігін бұраңыз, содан кейін растау үшін басыңыз.
- [BSM] таңдау үшін M.C. тетігін бұраңыз, содан кейін растау үшін басыңыз.
Станцияларды қолмен сақтау үшін
- Сақтағыңыз келетін станцияны қабылдау кезінде, жыпылықтау тоқтағанша сандық түймелердің бірін (1/
-ден 6/
дейін) басып тұрыңыз.
USB/iPod®/AUX жұмысы
ЕСКЕРТПЕ
MVH-S120UB/S120UBG/S120UBA/S120UBW Apple® құрылғыларымен үйлесімді емес.
USB/iPod
- USB портының қақпағын ашыңыз.
- Тиісті кабельді пайдаланып USB құрылғысын/iPod-ты қосыңыз.
MTP қосылымы
| Android OS 4.0 немесе одан кейінгі нұсқалары орнатылған құрылғыны Android құрылғысымен бірге жеткізілетін кабельді пайдаланып MTP арқылы құрылғыға қосуға болады. Дегенмен, қосылған құрылғыға, ОС нұсқасына немесе құрылғыдағы файлдардың санына байланысты аудио файлдарды/әндерді MTP арқылы ойнату мүмкін болмауы мүмкін. Егер сіз MTP қосылымын пайдалансаңыз, SYSTEM (ЖҮЙЕ) параметрлерінде [ANDROID WIRED] (ANDROID СЫМДЫ) [MEMORY] (ЖАД) күйіне орнатылуы керек. |
AUX
- Стерео шағын штепсельді AUX кіріс ұясына салыңыз.
- Дереккөз ретінде [AUX] таңдау үшін SRC/OFF түймесін басыңыз.
Pioneer ARC APP қолданбасымен қосылым жасау
Pioneer-дің жетілдірілген қолданбасы үйлесімді смартфоныңызды қуатты сенсорлық қашықтан басқару пультіне айналдырады.

ЕСКЕРТПЕ
MVH-S120UB/S120UBG/S120UBA/S120UBW Apple құрылғыларымен үйлесімді емес.
Көлік жүргізу кезінде қолданбаны пайдалануға тырыспаңыз. Қолданбадағы басқару элементтерін пайдалануға тырыспас бұрын, көлікті жолдан шығарып, қауіпсіз жерге қойыңыз.
Android құрылғысымен қосылым жасаған кезде
ЕСКЕРТПЕ
Бұл функция Android 4.1-ден 7.1.2-ге дейінгі нұсқаларында жұмыс істейтін және AOA (Android Open Accessory) 2.0 нұсқасын қолдайтын телефонмен үйлесімді, бірақ үйлесімділік смартфонға байланысты.
- SYSTEM (ЖҮЙЕ) мәзіріне кіріңіз ("Негізгі мәзір туралы" бөлімін қараңыз).
- [ANDROID WIRED] (ANDROID СЫМДЫ) таңдау үшін M.C. тетігін бұраңыз, содан кейін растау үшін басыңыз.
- [APP CONTROL] (ҚОЛДАНБАНЫ БАСҚАРУ) таңдау үшін M.C. тетігін бұраңыз, содан кейін растау үшін басыңыз.
- [P.APP AUTO ON] (P.ҚОЛДАНБАСЫН АВТОМАТТЫ ҚОСУ) таңдау үшін M.C. тетігін бұраңыз, содан кейін растау үшін басыңыз.
- [ON] (ҚОСУ) таңдау үшін M.C. тетігін бұраңыз, содан кейін растау үшін басыңыз.
- Бұл құрылғыны USB арқылы құрылғымен қосыңыз.
Android құрылғысындағы Pioneer ARC APP қолданбасы автоматты түрде іске қосылады.
iPhone құрылғысымен қосылым жасаған кезде
- Бұл құрылғыны USB арқылы iPhone құрылғысымен қосыңыз.
- Кез келген дереккөзді таңдау үшін SRC/OFF түймесін басыңыз.
- M.C. тетігін басып тұрыңыз.
iPhone құрылғысында Pioneer ARC APP қолданбасы іске қосылады.
ЕСКЕРТПЕ
Қосылым орнатылмаса, iPhone құрылғысында Pioneer ARC APP қолданбасын іске қосыңыз.
Spotify® тыңдау
(Тек iPhone құрылғысына орнатылған Spotify-мен үйлесімді)
ЕСКЕРТПЕ
MVH-S120UB/S120UBG/S120UBA/S120UBW Apple құрылғыларымен үйлесімді емес.
Пайдаланар алдында Spotify қолданбасының микробағдарламасын соңғы нұсқаға жаңартыңыз.
Бастамас бұрын, бұл құрылғыны USB арқылы мобильді құрылғымен қосыңыз (тек iPhone).
- [SPOTIFY] таңдау үшін SRC/OFF түймесін басыңыз.
- Мобильді құрылғыда Spotify қолданбасын іске қосыңыз және ойнатуды бастаңыз.
Нұсқаулықты жүктеп алу
Мұнда нұсқаулықтың толық pdf нұсқасын жүктеп алуға болады, онда қосымша қауіпсіздік нұсқаулары, кепілдік туралы ақпарат, FCC ережелері және т.б. болуы мүмкін.
Pioneer MVH-S120UI/UIG/UB/UBG/UBA/UBW MVH-S12UI Жылдам іске қосу нұсқаулығы жүктеп алу

тұрақты токты білдіреді.
және
функциясы әртүрлі болуы мүмкін.
-ді
-ді
және
қосыңыз. Көліктің басқа түрінде ешқашан 






түймесін басыңыз.
[FM2]