Zanussi ZCAN20FW1 - Instrukcja obsługi zamrażarki skrzyniowej
- 1 INSTALACJA
- 2 OGÓLNY PRZEGLĄD
- 3 PANEL STEROWANIA
- 4 PRZED PIERWSZYM UŻYCIEM
- 5 CODZIENNE UŻYTKOWANIE
- 6 PORADY I WSKAZÓWKI
- 7 KONSERWACJA I CZYSZCZENIE
- 8 ROZWIĄZYWANIE PROBLEMÓW
- 9 ODGŁOSY
- 10 DANE TECHNICZNE
- 11 INFORMACJE DOTYCZĄCE BEZPIECZEŃSTWA
- 12 INSTRUKCJE BEZPIECZEŃSTWA
- 13 Referencje
- 14 Pobierz instrukcję
- 15 W innych językach
ODWIEDŹ NASZĄ STRONĘ INTERNETOWĄ, ABY:
Uzyskać porady dotyczące użytkowania, broszury, informacje o rozwiązywaniu problemów, serwisie i naprawach: www.zanussi.com/support
INSTALACJA
Zapoznaj się z rozdziałami dotyczącymi bezpieczeństwa.
WYMIARY

- Nie uszkodzić części agregatu chłodniczego znajdującej się w pobliżu wymiennika ciepła.
| Wymiary całkowite1) | ||
| H1 | mm | 845 |
| W1 | mm | 905 |
| D1 | mm | 545 |
1) szerokość, wysokość i głębokość urządzenia bez uchwytu
| Przestrzeń wymagana podczas użytkowania1) | ||
| H2 | mm | 945 |
| W2 | mm | 1105 |
| D2 | mm | 690 |
1) wysokość, szerokość i głębokość urządzenia wraz z uchwytem, plus przestrzeń niezbędna do swobodnej cyrkulacji powietrza chłodzącego
| Całkowita przestrzeń wymagana podczas użytkowania1) | ||
| H3 | mm | 1380 |
| W2 | mm | 1105 |
| D2 | mm | 690 |
1) wysokość, szerokość i głębokość urządzenia wraz z uchwytem, plus przestrzeń niezbędna do swobodnej cyrkulacji powietrza chłodzącego, plus przestrzeń niezbędna do umożliwienia otwarcia drzwi pod minimalnym kątem umożliwiającym wyjęcie całego wyposażenia wewnętrznego
LOKALIZACJA
Urządzenie należy zainstalować z dala od źródeł ciepła, takich jak grzejniki, kotły, bezpośrednie światło słoneczne itp.
- Umieść urządzenie w pozycji poziomej na solidnej powierzchni.
- Upewnij się, że urządzenie stoi poziomo. Można to osiągnąć za pomocą dwóch regulowanych nóżek znajdujących się na dole po lewej stronie urządzenia. Odkręć nóżki w kierunku przeciwnym do ruchu wskazówek zegara, aby je podnieść.
- Aby uzyskać najlepszą wydajność, nie umieszczaj urządzenia pod wiszącymi szafkami ściennymi.
- Upewnij się, że powietrze może swobodnie cyrkulować wokół urządzenia.
Jeśli, ze względu na inną instalację, nie są przestrzegane odpowiednie wymagania dotyczące wentylacji, urządzenie będzie działać poprawnie, ale zużycie energii może się nieznacznie zwiększyć.
Musi istnieć możliwość odłączenia urządzenia od zasilania. Wtyczka musi być zatem łatwo dostępna po instalacji.
USTAWIENIE
To urządzenie nie jest przeznaczone do użytku jako urządzenie wbudowane.
To urządzenie powinno być zainstalowane w suchym, dobrze wentylowanym pomieszczeniu. Wilgotność otoczenia nie powinna przekraczać 75%.
To urządzenie jest przeznaczone do użytku w temperaturze otoczenia od 10°C do 43°C. Prawidłowe działanie urządzenia można zagwarantować tylko w określonym zakresie temperatur.
W razie wątpliwości dotyczących miejsca instalacji urządzenia, należy zwrócić się do sprzedawcy, naszego działu obsługi klienta lub do najbliższego Autoryzowanego Centrum Serwisowego.
PODŁĄCZENIE ELEKTRYCZNE
Wszelkie prace elektryczne wymagane do instalacji tego urządzenia powinny być wykonywane przez wykwalifikowanego elektryka lub kompetentną osobę.
To urządzenie musi być uziemione.
Producent nie ponosi żadnej odpowiedzialności w przypadku nieprzestrzegania tych środków bezpieczeństwa.
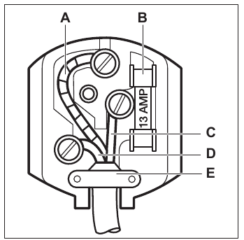
Przewody w przewodzie zasilającym są oznaczone kolorami zgodnie z następującym kodem:

- A - zielony i żółty: Uziemienie
- C - brązowy: Przewód pod napięciem
- D - niebieski: Przewód neutralny
Ponieważ kolory przewodów w przewodzie zasilającym tego urządzenia mogą nie odpowiadać kolorowym oznaczeniom identyfikującym zaciski we wtyczce, należy postępować w następujący sposób:
- Podłącz przewód w kolorze zielonym i żółtym do zacisku oznaczonego literą "E" lub symbolem uziemienia
lub kolorem zielonym i żółtym. - Podłącz przewód w kolorze niebieskim do zacisku oznaczonego literą "N" lub kolorem czarnym.
- Podłącz przewód w kolorze brązowym do zacisku oznaczonego literą "L" lub kolorem czerwonym.
- Sprawdź, czy nie ma przeciętych lub luźnych pasm drutu, a zacisk przewodu (E) jest dobrze zamocowany na zewnętrznej osłonie. Upewnij się, że napięcie zasilania jest takie samo, jak podano na tabliczce znamionowej urządzenia.
- Włącz urządzenie.
Urządzenie jest dostarczane z bezpiecznikiem 13 amperów (B). W przypadku konieczności wymiany bezpiecznika w dostarczonej wtyczce, należy użyć bezpiecznika 13 amperów zatwierdzonego przez ASTA (BS 1362).
Odcięta wtyczka włożona do gniazdka 13 amperów stanowi poważne zagrożenie (porażenie prądem). Upewnij się, że została bezpiecznie zutylizowana.
INSTRUKCJA MONTAŻU UCHWYTU
- Wyjmij podstawę uchwytu i 2 śruby z plastikowej torby.
- Umieść uchwyt w odpowiedniej pozycji zgodnie z rysunkiem. Użyj śrubokręta krzyżakowego, aby przymocować podstawę uchwytu do pokrywy.
![Zanussi - ZCAN20FW1 - INSTRUKCJA MONTAŻU UCHWYTU INSTRUKCJA MONTAŻU UCHWYTU]()
Otwórz i zamknij pokrywę kilka razy, aby upewnić się, że uchwyt jest prawidłowo zamocowany.
OGÓLNY PRZEGLĄD
OPIS URZĄDZENIA

- Uchwyt
- Kosz
- Panel sterowania
- Zewnętrzny korek spustowy
- Regulowane nóżki
PANEL STEROWANIA
PANEL STEROWANIA

- Wskaźnik temperatury
- Wskaźnik SUPER
- Przycisk SET (ustaw)
- Przycisk OFF (wyłącz)
- Wskaźnik pracy
WŁĄCZANIE/WYŁĄCZANIE
- Aby włączyć urządzenie, włóż wtyczkę do gniazdka sieciowego.
- Jeśli wskaźniki są wyłączone, naciśnij przycisk OFF (wyłącz) przez 3 sekundy.
- Aby wyłączyć urządzenie, naciśnij przycisk OFF (wyłącz) przez 3 sekundy.
REGULACJA TEMPERATURY
Aby ustawić temperaturę:
- Naciskaj przycisk SET (ustaw) wielokrotnie, aż osiągniesz żądaną temperaturę.
Zalecana temperatura to -18°C.
- Temperatura ustawia się 5 sekund po ostatnim naciśnięciu.
Dokładne ustawienie należy wybrać, pamiętając, że temperatura wewnątrz urządzenia zależy od:
- temperatury pokojowej
- częstotliwości otwierania pokrywy
- ilości przechowywanej żywności
- lokalizacji urządzenia.
Jeśli urządzenie jest używane w temperaturze otoczenia od +10°C do -15°C, termostat należy ustawić na najniższą temperaturę (-22°C), aby umożliwić prawidłową pracę sprężarki.
FUNKCJA SUPER
Funkcja SUPER przyspiesza zamrażanie świeżej żywności, a jednocześnie chroni już przechowywane produkty spożywcze przed niepożądanym ogrzaniem.
Aby aktywować funkcję:
- Naciskaj przycisk SET (ustaw) wielokrotnie, aż zaświeci się wskaźnik SUPER.
- Funkcja ustawia się 5 sekund po ostatnim naciśnięciu.
Funkcja SUPER zatrzymuje się automatycznie po 52 godzinach, a temperatura wraca do poprzedniego ustawienia.
Możesz zatrzymać funkcję ręcznie przed upływem tego czasu, naciskając przycisk SET (ustaw) i ustawiając żądaną temperaturę.
WSKAŹNIK PRACY
Ten wskaźnik świeci się, gdy sprężarka pracuje, i gaśnie, gdy sprężarka przestaje działać.
PRZED PIERWSZYM UŻYCIEM
CZYSZCZENIE WNĘTRZA
Przed pierwszym użyciem urządzenia, wnętrze i wszystkie wewnętrzne akcesoria należy umyć letnią wodą z dodatkiem neutralnego mydła, aby usunąć typowy zapach nowego produktu, a następnie dokładnie wysuszyć.
Nie używaj detergentów, ściernych proszków, chloru ani środków czyszczących na bazie oleju, ponieważ mogą one uszkodzić wykończenie.
PODŁĄCZENIE ELEKTRYCZNE
Po podłączeniu urządzenia do zasilania lub włączeniu go po awarii zasilania, wszystkie kontrolki migają raz. Następnie urządzenie powraca do poprzedniego ustawienia.
CODZIENNE UŻYTKOWANIE
Zapoznaj się z rozdziałami dotyczącymi bezpieczeństwa.
ZAMRAŻANIE ŚWIEŻEJ ŻYWNOŚCI
Komora zamrażarki nadaje się do zamrażania świeżej żywności oraz przechowywania żywności zamrożonej i głęboko mrożonej przez długi czas.
Maksymalna ilość żywności, którą można zamrozić w ciągu
24 godziny jest podana na tabliczce znamionowej (patrz "Dane techniczne").
Uruchom funkcję SUPER 24 godziny przed umieszczeniem żywności w urządzeniu.
Proces zamrażania trwa 24 godziny, w tym czasie nie dodawaj innych produktów do zamrożenia.
PRZECHOWYWANIE MROŻONEJ ŻYWNOŚCI
Przy pierwszym uruchomieniu lub po okresie nieużywania, przed włożeniem produktów do komory, pozwól urządzeniu pracować przez co najmniej 24 godziny na wyższych ustawieniach.
Możesz wyjąć kosz, aby uzyskać więcej miejsca do przechowywania.
W przypadku przypadkowego rozmrożenia, na przykład z powodu awarii zasilania, jeśli zasilanie było wyłączone dłużej niż wartość podana w tabeli charakterystyk technicznych w rubryce "czas wzrostu temperatury", rozmrożoną żywność należy szybko spożyć lub natychmiast ugotować, a następnie ponownie zamrozić (po schłodzeniu).
ROZMRAŻANIE
Żywność głęboko mrożona lub zamrożona, przed użyciem, może być rozmrażana w lodówce lub w temperaturze pokojowej, w zależności od czasu dostępnego na tę operację.
Małe kawałki można nawet gotować jeszcze zamrożone, bezpośrednio z zamrażarki: w tym przypadku gotowanie zajmie więcej czasu.
PORADY I WSKAZÓWKI
WSKAZÓWKI DOTYCZĄCE OSZCZĘDZANIA ENERGII
- Wewnętrzna konfiguracja urządzenia zapewnia najbardziej efektywne wykorzystanie energii.
- Nie otwieraj często pokrywy ani nie pozostawiaj jej otwartej dłużej niż to konieczne.
- Im niższa ustawiona temperatura, tym wyższe zużycie energii.
- Zapewnij dobrą wentylację. Nie zakrywaj kratek wentylacyjnych ani otworów.
WSKAZÓWKI DOTYCZĄCE ZAMRAŻANIA
- Włącz funkcję SUPER co najmniej 24 godziny przed umieszczeniem żywności w zamrażarce.
- Przed zamrożeniem zawiń i zapieczętuj świeżą żywność w: folię aluminiową, folię plastikową lub worki, hermetyczne pojemniki z pokrywką.
- Aby zamrażanie i rozmrażanie było bardziej efektywne, podziel żywność na małe porcje.
- Zaleca się umieszczanie etykiet i dat na całej zamrożonej żywności. Pomoże to zidentyfikować żywność i wiedzieć, kiedy należy ją zużyć przed pogorszeniem się jej stanu.
- Żywność powinna być świeża podczas zamrażania, aby zachować dobrą jakość. Zwłaszcza owoce i warzywa należy zamrażać po zbiorach, aby zachować wszystkie składniki odżywcze.
- Nie zamrażaj butelek ani puszek z płynami, w szczególności napojów zawierających dwutlenek węgla, ponieważ mogą one eksplodować podczas zamrażania.
- Nie wkładaj gorącej żywności do zamrażarki. Przed umieszczeniem w komorze ostudź ją w temperaturze pokojowej.
- Aby uniknąć wzrostu temperatury już zamrożonej żywności, nie umieszczaj świeżej, niezamrożonej żywności bezpośrednio obok niej. Umieść żywność w temperaturze pokojowej w tej części zamrażarki, w której nie ma zamrożonej żywności.
- Nie jedz kostek lodu, lodów wodnych ani lodów na patyku bezpośrednio po wyjęciu ich z zamrażarki. Ryzyko odmrożeń.
- Nie zamrażaj ponownie rozmrożonej żywności. Jeśli żywność została rozmrożona, ugotuj ją, ostudź, a następnie zamroź.
WSKAZÓWKI DOTYCZĄCE PRZECHOWYWANIA MROŻONEJ ŻYWNOŚCI
- Komora zamrażarki jest oznaczona symbolem
. - Dobre ustawienie temperatury, które zapewnia konserwację mrożonych produktów spożywczych, to temperatura mniejsza lub równa -18°C. Wyższe ustawienie temperatury wewnątrz urządzenia może prowadzić do skrócenia okresu przydatności do spożycia.
- Cała komora zamrażarki nadaje się do przechowywania mrożonych produktów spożywczych.
- Pozostaw wystarczająco dużo miejsca wokół żywności, aby umożliwić swobodną cyrkulację powietrza.
- Aby zapewnić odpowiednie przechowywanie, zapoznaj się z etykietą na opakowaniu żywności, aby sprawdzić okres przydatności do spożycia.
- Ważne jest, aby zapakować żywność w taki sposób, aby zapobiec przedostawaniu się do środka wody, wilgoci lub kondensacji.
PORADY DOTYCZĄCE ZAKUPÓW
Po zrobieniu zakupów spożywczych:
- Upewnij się, że opakowanie nie jest uszkodzone - żywność mogła ulec zepsuciu. Jeśli opakowanie jest spuchnięte lub mokre, mogło nie być przechowywane w optymalnych warunkach i rozmrażanie mogło się już rozpocząć.
- Aby ograniczyć proces rozmrażania, kupuj mrożonki pod koniec zakupów spożywczych i transportuj je w termicznej i izolowanej torbie chłodzącej.
- Po powrocie ze sklepu natychmiast umieść mrożonki w zamrażarce.
- Jeśli żywność rozmroziła się, nawet częściowo, nie zamrażaj jej ponownie. Spożyj ją tak szybko, jak to możliwe.
- Przestrzegaj daty ważności i informacji o przechowywaniu na opakowaniu.
OKRES PRZYDATNOŚCI DO SPOŻYCIA
| Rodzaj żywności | Okres przydatności do spożycia (miesiące) |
| Chleb | 3 |
| Owoce (z wyjątkiem cytrusów) | 6 - 12 |
| Warzywa | 8 - 10 |
| Resztki bez mięsa | 1 - 2 |
| Produkty mleczne: | |
| Masło | 6 - 9 |
| Miękki ser (np. mozzarella) | 3 - 4 |
| Twardy ser (np. parmezan, cheddar) | 6 |
| Owoce morza: | |
| Tłuste ryby (np. łosoś, makrela) | 2 - 3 |
| Chude ryby (np. dorsz, flądra) | 4 - 6 |
| Krewetki | 12 |
| Omułki i małże bez skorupek | 3 - 4 |
| Gotowana ryba | 1 - 2 |
| Mięso: | |
| Drób | 9 - 12 |
| Wołowina | 6 - 12 |
| Wieprzowina | 4 - 6 |
| Jagnięcina | 6 - 9 |
| Kiełbasa | 1 - 2 |
| Szynka | 1 - 2 |
| Resztki z mięsem | 2 - 3 |
KONSERWACJA I CZYSZCZENIE
Zapoznaj się z rozdziałami dotyczącymi bezpieczeństwa.
CZYSZCZENIE
Przed przystąpieniem do jakichkolwiek czynności konserwacyjnych odłącz urządzenie od zasilania.
- Wyłącz urządzenie.
- Wyjmij całą przechowywaną żywność, zawiń ją w kilka warstw gazety i umieść w chłodnym miejscu.
- Regularnie czyść urządzenie i akcesoria ciepłą wodą z dodatkiem neutralnego mydła. Ostrożnie wyczyść uszczelkę pokrywy.
- Dokładnie osusz urządzenie.
- Podłącz wtyczkę do gniazdka sieciowego.
- Włącz urządzenie.
- Ustaw temperaturę na MAX (maksymalną) i zamknij pokrywę. Odczekaj dwie lub trzy godziny przed ponownym załadowaniem wcześniej wyjętej żywności do urządzenia.
- Ustaw żądaną temperaturę.
USUWANIE SZRONU
Nigdy nie używaj ostrych metalowych narzędzi do usuwania nagromadzonego szronu, ponieważ mogą one uszkodzić urządzenie.

Po pewnym czasie użytkowania na powierzchni ramy obudowy lub wewnętrznej wyściółki może gromadzić się szron. Zaleca się usuwanie szronu plastikową skrobaczką do lodu (dołączoną do torby z akcesoriami) co miesiąc.


ROZMRAŻANIE ZAMRAŻARKI
Nie używaj urządzeń mechanicznych ani elektrycznych, aby przyspieszyć proces rozmrażania. Nie używaj żadnych sztucznych środków. Rozmrażaj zamrażarkę, gdy warstwa szronu osiągnie grubość około 4-5 mm.
- Wyłącz urządzenie.
- Wyjmij całą przechowywaną żywność, zawiń ją w kilka warstw gazety i umieść w chłodnym miejscu.
- Wyjmij korek spustowy z wnętrza urządzenia.
- Pozostaw pokrywę otwartą.
- Umieść tacę pod zewnętrznym korkiem spustowym.
- Wyciągnij zewnętrzny korek spustowy.
![]()
- Obróć korek spustowy o 180 stopni, aby woda spływała do tacy.
![]()
Upewnij się, że woda nie wylewa się z tacy.
- Wyczyść wnętrze i dokładnie je osusz.
- Włącz urządzenie.
- Ustaw wyższą temperaturę i zamknij pokrywę. Odczekaj dwie lub trzy godziny przed ponownym załadowaniem wcześniej wyjętej żywności do urządzenia.
- Ustaw żądaną temperaturę.
ROZWIĄZYWANIE PROBLEMÓW
Zapoznaj się z rozdziałami dotyczącymi bezpieczeństwa.
CO ROBIĆ, GDY...
| Urządzenie nie działa. | Możliwa przyczyna | Rozwiązanie |
| Urządzenie nie działa. | Urządzenie jest wyłączone. | Włącz urządzenie. |
| Wtyczka nie jest prawidłowo podłączona do gniazdka sieciowego. | Sprawdź, czy urządzenie jest prawidłowo podłączone. | |
| W gniazdku sieciowym nie ma napięcia. | Podłącz urządzenie do innego gniazdka elektrycznego. Skontaktuj się z wykwalifikowanym elektrykiem. | |
| Urządzenie jest głośne. | Urządzenie nie jest prawidłowo podparte. | Sprawdź, czy urządzenie stoi stabilnie. Zapoznaj się z sekcją "Lokalizacja". |
| Urządzenie dotyka ściany lub innych przedmiotów. | Lekko przesuń urządzenie. Zapoznaj się z sekcją "Lokalizacja". | |
| Wskaźnik temperatury miga od lewej do prawej. | Błąd czujnika temperatury. | Skontaktuj się z Autoryzowanym Centrum Serwisowym. |
| Pokrywa nie zamyka się całkowicie. | Opakowania z żywnością blokują pokrywę. | Ułóż opakowania we właściwy sposób. |
| W urządzeniu jest zbyt dużo szronu. | Rozmroź urządzenie. Zapoznaj się z sekcją "Rozmrażanie zamrażarki". | |
| Pokrywę trudno otworzyć. | Uszczelka pokrywy jest brudna lub lepka. | Wyczyść uszczelkę pokrywy. |
| Lampa nie działa. | Lampa jest uszkodzona. | Skontaktuj się z Autoryzowanym Centrum Serwisowym w celu wymiany oświetlenia LED. |
| Kompresor pracuje bez przerwy. | Temperatura jest nieprawidłowo ustawiona. | Zapoznaj się z sekcją "Regulacja temperatury". |
| Włożono jednocześnie duże ilości żywności do zamrożenia. | Odczekaj kilka godzin, a następnie ponownie sprawdź temperaturę. | |
| Temperatura w pomieszczeniu jest zbyt wysoka. | Zapoznaj się z tabelą klas klimatycznych na tabliczce znamionowej lub z sekcją "Ustawianie". | |
| Żywność umieszczona w urządzeniu była zbyt ciepła. | Przed przechowywaniem pozwól żywności ostygnąć do temperatury pokojowej. | |
| Pokrywa nie jest prawidłowo zamknięta. | Sprawdź, czy pokrywa zamyka się prawidłowo, a uszczelki nie są uszkodzone lub brudne. | |
| Funkcja SUPER jest włączona. | Zapoznaj się z sekcją "Funkcja SUPER". | |
| Jest zbyt dużo szronu i lodu. | Pokrywa nie jest prawidłowo zamknięta lub uszczelka jest zdeformowana lub brudna. | Sprawdź, czy pokrywa zamyka się prawidłowo. Wyczyść uszczelkę lub wymień ją w przypadku uszkodzenia. |
| Temperatura jest nieprawidłowo ustawiona. | Zapoznaj się z sekcją "Regulacja temperatury". | |
| Kompresor nie uruchamia się natychmiast po naciśnięciu przycisku SUPER lub po zmianie temperatury. | To normalne, nie wystąpił żaden błąd. | Kompresor uruchamia się po pewnym czasie. |
| Temperatura w urządzeniu jest zbyt niska lub zbyt wysoka. | Regulator temperatury nie jest prawidłowo ustawiony. | Ustaw wyższą lub niższą temperaturę. |
| Pokrywa nie jest prawidłowo zamknięta. | Sprawdź, czy pokrywa zamyka się prawidłowo, a uszczelki nie są uszkodzone lub brudne. | |
| Temperatura produktów jest zbyt wysoka. | Przed przechowywaniem pozwól żywności ostygnąć do temperatury pokojowej. | |
| Wiele produktów jest przechowywanych w tym samym czasie. | Przechowuj mniej produktów w tym samym czasie. | |
| Grubość szronu na wewnętrznej wyściółce jest większa niż 4-5 mm. | Rozmroź urządzenie. Zapoznaj się z sekcją "Rozmrażanie zamrażarki". | |
| Pokrywa była otwierana zbyt często. | Otwieraj pokrywę tylko wtedy, gdy jest to konieczne. | |
| Funkcja SUPER jest włączona. | Zapoznaj się z sekcją "Funkcja SUPER". | |
| Produkty do zamrożenia są umieszczone zbyt blisko siebie. | Upewnij się, że w urządzeniu jest cyrkulacja zimnego powietrza. | |
| Urządzenie jest ustawione w pobliżu źródła ciepła. | Zapoznaj się z sekcją "Lokalizacja". |
Podczas pracy urządzenia mogą wystąpić dźwięki (np. bulgotanie, szum, trzaskanie lub klikanie), które są normalne.
Jeśli po wykonaniu powyższych czynności sprawdzających urządzenie nadal nie działa prawidłowo, skontaktuj się z najbliższym Autoryzowanym Centrum Serwisowym.
Podczas kontaktu z Autoryzowanym Centrum Serwisowym podaj model i numer seryjny urządzenia. Przyspieszy to uzyskanie pomocy.
ODGŁOSY

DANE TECHNICZNE
Informacje techniczne znajdują się na tabliczce znamionowej po wewnętrznej stronie urządzenia oraz na etykiecie energetycznej. Kod QR na etykiecie energetycznej dołączonej do urządzenia zawiera łącze internetowe do informacji dotyczących wydajności urządzenia. Zachowaj etykietę energetyczną do wglądu wraz z instrukcją obsługi i wszystkimi innymi dokumentami dostarczonymi z tym urządzeniem.
INFORMACJE DOTYCZĄCE BEZPIECZEŃSTWA
Przed instalacją i użytkowaniem urządzenia należy dokładnie przeczytać załączone instrukcje. Producent nie ponosi odpowiedzialności za jakiekolwiek obrażenia lub szkody wynikające z nieprawidłowej instalacji lub użytkowania. Instrukcje należy zawsze przechowywać w bezpiecznym i dostępnym miejscu, aby móc z nich skorzystać w przyszłości.
BEZPIECZEŃSTWO DZIECI I OSÓB WRAŻLIWYCH
- Z urządzenia mogą korzystać dzieci w wieku od 8 lat i osoby o ograniczonych zdolnościach fizycznych, sensorycznych lub umysłowych lub bez doświadczenia i wiedzy, jeśli są nadzorowane lub poinstruowane w zakresie bezpiecznego użytkowania urządzenia i rozumieją związane z tym zagrożenia.
- Dzieci w wieku od 3 do 8 lat oraz osoby z bardzo rozległymi i złożonymi niepełnosprawnościami należy trzymać z dala od urządzenia, chyba że są pod stałym nadzorem.
- Dzieci w wieku poniżej 3 lat należy trzymać z dala od urządzenia, chyba że są pod stałym nadzorem.
- Należy pilnować, aby dzieci nie bawiły się urządzeniem.
- Dzieci nie mogą czyścić ani konserwować urządzenia bez nadzoru.
- Wszystkie opakowania należy przechowywać z dala od dzieci i odpowiednio je utylizować.
OGÓLNE ZASADY BEZPIECZEŃSTWA
- Urządzenie służy wyłącznie do przechowywania żywności i napojów.
- Urządzenie jest przeznaczone do użytku domowego w pomieszczeniach zamkniętych.
- Urządzenie może być używane w biurach, pokojach hotelowych, pokojach gościnnych typu bed & breakfast, gospodarstwach agroturystycznych i innych podobnych miejscach zakwaterowania, gdzie takie użytkowanie nie przekracza (średniego) poziomu użytkowania domowego.
- Aby uniknąć zanieczyszczenia żywności, należy przestrzegać następujących instrukcji:
- nie należy otwierać drzwi na dłuższy czas;
- należy regularnie czyścić powierzchnie, które mogą mieć kontakt z żywnością, oraz dostępne systemy odwadniające;
Otwory wentylacyjne w obudowie urządzenia lub w zabudowanej konstrukcji należy utrzymywać wolne od przeszkód.
Nie należy używać urządzeń mechanicznych ani innych środków przyspieszających proces rozmrażania, innych niż zalecane przez producenta.
Nie uszkodzić obiegu chłodniczego.
Nie używać urządzeń elektrycznych wewnątrz komór do przechowywania żywności w urządzeniu, chyba że są one typu zalecanego przez producenta.- Do czyszczenia urządzenia nie należy używać strumienia wody ani pary.
- Urządzenie należy czyścić wilgotną, miękką ściereczką. Należy używać wyłącznie neutralnych detergentów. Nie należy używać produktów ściernych, ściernych podkładek czyszczących, rozpuszczalników ani metalowych przedmiotów.
- Gdy urządzenie jest puste przez dłuższy czas, należy je wyłączyć, rozmrozić, wyczyścić, wysuszyć i pozostawić otwarte drzwi, aby zapobiec rozwojowi pleśni wewnątrz urządzenia.
- W urządzeniu nie należy przechowywać substancji wybuchowych, takich jak pojemniki z aerozolem zawierające łatwopalny gaz pędny.
- Jeśli przewód zasilający jest uszkodzony, musi zostać wymieniony przez producenta, jego Autoryzowane Centrum Serwisowe lub podobnie wykwalifikowane osoby, aby uniknąć zagrożenia.
INSTRUKCJE BEZPIECZEŃSTWA
INSTALACJA
Urządzenie może instalować wyłącznie wykwalifikowana osoba.
- Usuń wszystkie elementy opakowania.
- Nie instaluj ani nie używaj uszkodzonego urządzenia.
- Postępuj zgodnie z instrukcjami instalacji dołączonymi do urządzenia.
- Zawsze zachowuj ostrożność podczas przenoszenia urządzenia, ponieważ jest ono ciężkie. Zawsze używaj rękawic ochronnych i zakrytego obuwia.
- Upewnij się, że powietrze może swobodnie krążyć wokół urządzenia.
- Przed pierwszym podłączeniem urządzenia do zasilania odczekaj co najmniej 4 godziny. Pozwoli to na spłynięcie oleju z powrotem do sprężarki.
- Przed wykonaniem jakichkolwiek czynności na urządzeniu wyjmij wtyczkę z gniazdka elektrycznego.
- Nie instaluj urządzenia w pobliżu grzejników, kuchenek, piekarników lub płyt grzejnych.
- Nie wystawiaj urządzenia na działanie deszczu.
- Nie instaluj urządzenia w miejscu narażonym na bezpośrednie działanie promieni słonecznych.
- Nie instaluj urządzenia w miejscach o zbyt dużej wilgotności lub zbyt niskiej temperaturze.
- Podczas przenoszenia urządzenia podnoś je za krawędź z regulowanymi nóżkami. Nie podnoś urządzenia za krawędź z kółkami, ponieważ możesz porysować podłogę.
PODŁĄCZENIE ELEKTRYCZNE
Ryzyko pożaru i porażenia prądem.
Podczas ustawiania urządzenia upewnij się, że przewód zasilający nie jest przytrzaśnięty lub uszkodzony.
Nie używaj adapterów wielowtykowych i przedłużaczy.
- Urządzenie musi być uziemione.
- Upewnij się, że parametry na tabliczce znamionowej są zgodne z parametrami elektrycznymi sieci zasilającej.
- Zawsze używaj prawidłowo zainstalowanego gniazda z zabezpieczeniem przed porażeniem prądem.
- Uważaj, aby nie uszkodzić elementów elektrycznych (np. wtyczki sieciowej, kabla sieciowego, sprężarki). Skontaktuj się z Autoryzowanym Centrum Serwisowym lub elektrykiem w celu wymiany elementów elektrycznych.
- Kabel sieciowy musi znajdować się poniżej poziomu wtyczki sieciowej.
- Podłącz wtyczkę sieciową do gniazdka sieciowego dopiero po zakończeniu instalacji. Upewnij się, że po instalacji jest dostęp do wtyczki sieciowej.
- Nie ciągnij za kabel sieciowy, aby odłączyć urządzenie. Zawsze ciągnij za wtyczkę sieciową.
UŻYTKOWANIE
Ryzyko obrażeń, oparzeń, porażenia prądem lub pożaru.
Urządzenie zawiera łatwopalny gaz, izobutan (R600a), gaz naturalny o wysokim poziomie zgodności ze środowiskiem. Należy uważać, aby nie uszkodzić obiegu chłodniczego zawierającego izobutan.
- Nie zmieniaj specyfikacji tego urządzenia.
- Nie umieszczaj urządzeń elektrycznych (np. maszyn do lodów) w urządzeniu, chyba że producent wyraźnie dopuścił taką możliwość.
- W przypadku uszkodzenia obiegu chłodniczego upewnij się, że w pomieszczeniu nie ma otwartego ognia ani źródeł zapłonu. Przewietrz pomieszczenie.
- Nie dopuszczaj do kontaktu gorących przedmiotów z plastikowymi częściami urządzenia.
- Nie umieszczaj napojów bezalkoholowych w zamrażarce. Spowoduje to powstanie ciśnienia na pojemnik z napojem.
- Nie przechowuj łatwopalnych gazów i cieczy w urządzeniu.
- Nie umieszczaj łatwopalnych produktów lub przedmiotów zwilżonych łatwopalnymi produktami w urządzeniu, w jego pobliżu lub na nim.
- Nie dotykaj sprężarki ani skraplacza. Są gorące.
- Nie wyjmuj ani nie dotykaj przedmiotów z zamrażarki, jeśli masz mokre lub wilgotne ręce.
- Nie zamrażaj ponownie rozmrożonej żywności.
- Postępuj zgodnie z instrukcjami przechowywania podanymi na opakowaniu mrożonej żywności.
- Zawiń żywność w materiał przeznaczony do kontaktu z żywnością przed umieszczeniem jej w zamrażarce.
OŚWIETLENIE WEWNĘTRZNE
Ryzyko porażenia prądem.
- Odnośnie lamp(ek) wewnątrz tego produktu i lamp zapasowych sprzedawanych oddzielnie: Lampy te są przeznaczone do wytrzymywania ekstremalnych warunków fizycznych w urządzeniach gospodarstwa domowego, takich jak temperatura, wibracje, wilgotność, lub są przeznaczone do sygnalizowania informacji o stanie pracy urządzenia. Nie są przeznaczone do stosowania w innych zastosowaniach i nie nadają się do oświetlania pomieszczeń w gospodarstwie domowym.
KONSERWACJA I CZYSZCZENIE
Ryzyko obrażeń lub uszkodzenia urządzenia.
- Przed rozpoczęciem konserwacji wyłącz urządzenie i wyjmij wtyczkę z gniazdka sieciowego.
- To urządzenie zawiera węglowodory w układzie chłodzenia. Konserwację i napełnianie układu może wykonywać wyłącznie wykwalifikowana osoba.
- Regularnie sprawdzaj odpływ urządzenia i w razie potrzeby go czyść. Jeśli odpływ jest zablokowany, rozmrożona woda gromadzi się na dnie urządzenia.
SERWIS
- Aby naprawić urządzenie, skontaktuj się z Autoryzowanym Centrum Serwisowym. Używaj wyłącznie oryginalnych części zamiennych.
- Należy pamiętać, że samodzielna naprawa lub niefachowa naprawa może mieć konsekwencje dla bezpieczeństwa i może unieważnić gwarancję.
- Następujące części zamienne będą dostępne przez 7 lat po wycofaniu modelu z produkcji: termostaty, czujniki temperatury, płytki drukowane, źródła światła, klamki drzwi, zawiasy drzwi, tace i kosze. Należy pamiętać, że niektóre z tych części zamiennych są dostępne tylko dla profesjonalnych serwisantów i że nie wszystkie części zamienne są odpowiednie dla wszystkich modeli.
- Uszczelki drzwi będą dostępne przez 10 lat po wycofaniu modelu z produkcji.
USUWANIE
Ryzyko obrażeń lub uduszenia.
- Odłącz urządzenie od zasilania.
- Odetnij kabel sieciowy i wyrzuć go.
- Zdejmij drzwi, aby uniemożliwić dzieciom i zwierzętom zamknięcie się wewnątrz urządzenia.
- Obieg chłodniczy i materiały izolacyjne tego urządzenia są przyjazne dla ozonu.
- Pianka izolacyjna zawiera łatwopalny gaz. Skontaktuj się z lokalnymi władzami w celu uzyskania informacji na temat prawidłowego sposobu utylizacji urządzenia.

Referencje
Pobierz instrukcję
Tutaj możesz pobrać pełną wersję instrukcji w formacie pdf, może ona zawierać dodatkowe instrukcje bezpieczeństwa, informacje o gwarancji, przepisy FCC itp.
Pobierz Zanussi ZCAN20FW1 - Instrukcja obsługi zamrażarki skrzyniowej
lub kolorem zielonym i żółtym.
.
