Sony CFD-S300, CFD-S300L - Manual de utilizare CD Radio Cassette-Corder
- 1 Surse de alimentare
- 2 Pregătirea telecomenzii
- 3 Locația comenzilor
- 4 Telecomanda
- 5 Afișaj
- 6 Redarea unui CD
- 7 Ascultarea radioului
- 8 Redarea unei casete
- 9 Înregistrarea
- 10 Conectarea componentelor opționale (doar CFD-S300L)
- 11 Depanare
- 12 Casetofon
- 13 Telecomandă
- 14 Specificații
- 15 Descărcați manualul
- 16 În alte limbi

Surse de alimentare
Conectați cablul de alimentare
sau introduceți șase baterii R20 (de dimensiunea D) (nu sunt furnizate) în compartimentul pentru baterii
.

Note
- Înlocuiți bateriile când indicatorul OPR/BATT se diminuează sau când playerul nu mai funcționează.
Înlocuiți toate bateriile cu unele noi. Înainte de a înlocui bateriile, asigurați-vă că scoateți CD-ul din player. - Pentru a utiliza playerul pe baterii, deconectați cablul de alimentare de la player.
- Când utilizați playerul pe baterii, nu puteți porni playerul folosind telecomanda.
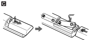
Pregătirea telecomenzii

Introduceți două baterii R03 (de dimensiunea AAA) (nu sunt furnizate).
Înlocuirea bateriei
În condiții de utilizare normală, bateriile ar trebui să dureze aproximativ șase luni. Când telecomanda nu mai operează playerul, înlocuiți toate bateriile cu unele noi.
Locația comenzilor

Telecomanda

*Butonul are un punct tactil.
Afișaj

Pentru a porni/opri alimentarea
CFD-S300L: Apăsați OPERATE (operează).
CFD-S300: Apăsați POWER (putere).
Pentru a regla volumul
Apăsați VOLUME +, – (VOL +, – pe telecomandă).
Pentru a asculta prin căști
Conectați căștile la mufa i (căști).
Reglarea accentului de sunet
Pentru a întări sunetul basului
Apăsați MEGA BASS. "MEGA BASS" apare pe afișaj. Pentru a reveni la sunetul normal, apăsați din nou butonul.
Adormirea cu muzică
- Redați sursa de muzică dorită.
- Apăsați SLEEP (somn) pentru a afișa "SLEEP (somn)".
- Apăsați SLEEP (somn) pentru a selecta minutele până când playerul se oprește automat. De fiecare dată când apăsați butonul, indicația se schimbă după cum urmează: "60" → "90" → "120" → "OFF (oprit)" → "10" → "20" → "30".
Pentru a anula funcția de somn
Apăsați OPERATE (operează) (sau POWER (putere)) pentru a opri alimentarea.
Notă
Când redați o casetă folosind această funcție: Dacă lungimea benzii de pe o parte este mai lungă decât timpul setat, playerul nu se va opri până când banda nu ajunge la capăt.
Redarea unui CD
- Apăsați CD (pornire directă).
(Pe telecomandă, apăsați OPERATE (sau POWER) și apoi apăsați FUNCTION în mod repetat până când "Cd" apare pe ecran.) - Încărcați un CD în compartimentul CD.
- Apăsați
PUSH OPEN/CLOSE (împinge pentru a deschide/închide) pentru a închide compartimentul CD. - Apăsați
.
Playerul redă toate piesele o dată.
| Pentru a | Apăsați |
| opri redarea | ![]() |
| pune pauză la redare | ![]() Apăsați din nou butonul pentru a relua redarea după pauză. |
| merge la piesa următoare | ![]() |
| înapoi la piesa anterioară | ![]() |
| scoate CD-ul | PUSH OPEN/CLOSE (împinge pentru a deschide/închide) |
| localiza o anumită piesă direct* | un buton cu numărul piesei |
| localiza un punct în timp ce ascultați sunetul | (înainte) sau (înapoi) în timpul redării până când găsiți punctul |
| localiza un punct în timp ce observați afișajul | (înainte) sau (înapoi) în pauză până când găsiți punctul |
* Nu puteți localiza o anumită piesă dacă "SHUF" sau "PGM" este aprins pe ecran. Opriți indicația apăsând
.
Sfat Pentru a localiza o piesă numerotată peste 10, apăsați mai întâi >10, apoi butoanele numerice corespunzătoare.
Exemplu: Pentru a reda piesa cu numărul 23, apăsați mai întâi >10, apoi 2 și 3.
Utilizarea afișajului
Pentru a verifica numărul total de piese și timpul de redare
Apăsați DISPLAY•ENT•MEMORY în modul stop (vezi fig.
).
Pentru a verifica timpul rămas
Apăsați DISPLAY•ENT•MEMORY în mod repetat în timp ce redați un CD. Afișajul se schimbă după cum urmează:
![]() |
numărul piesei curente și timpul de redare ↓ |
|
numărul piesei curente și timpul rămas pe piesa curentă* ↓ |
|
| numărul de piese rămase și timpul rămas pe CD |
* Pentru o piesă al cărei număr este mai mare de 20, timpul rămas apare ca "- -:- -" pe ecran.
Selectarea modului de redare
Apăsați MODE până când "REP 1" "REP ALL" "SHUF" "SHUF REP" "PGM" "PGM REP" apare pe ecran. Apoi procedați după cum urmează:
| Pentru a | Selectați | Apoi faceți asta |
| repeta o singură piesă | "REP 1" | Apăsați butonul cu numărul piesei pe care doriți să o repetați. |
| repeta toate piesele | "REP ALL" | Apăsați . |
| redare aleatorie | "SHUF" | Apăsați . |
| repeta piesele în ordine aleatorie | "SHUF REP" | Apăsați . |
| redare programată | "PGM" | Apăsați butoanele numerice pentru piesele pe care doriți să le programați în ordinea dorită, până la 20 de piese (vezi fig. ). Apoi apăsați . |
| repeta piesele programate | "PGM REP" | Apăsați butoanele numerice pentru piesele pe care doriți să le programați în ordinea dorită, până la 20 de piese. Apoi apăsați . |
Pentru a anula modul de redare selectat
Apăsați MODE până când modul selectat dispare de pe ecran.
Pentru a verifica piesa programată și ordinea de redare pe ecran
Pentru a verifica ordinea pieselor înainte de redare, apăsați DISPLAY•ENT•MEMORY.
De fiecare dată când apăsați butonul, numărul piesei apare în ordinea programată.
Pentru a schimba programul curent
Apăsați
o dată dacă CD-ul este oprit și de două ori dacă CD-ul este redat. Programul curent va fi șters. Apoi creați un program nou urmând procedura de programare.
Sfat
Puteți înregistra propriul program. După ce ați creat programul, introduceți o bandă goală și apăsați
pentru a începe înregistrarea.
Ascultarea radioului
- Apăsați RADIO BAND•AUTO PRESET până când banda dorită apare pe ecran (pornire directă).
De fiecare dată când apăsați butonul, indicația se schimbă după cum urmează:
CFD-S300: "FM" → "AM"
CFD-S300L: "FM" → "MW" → "LW"
- Țineți apăsat TUNE + sau – până când cifrele frecvenței încep să se schimbe pe ecran.
Aparatul scanează automat frecvențele radio și se oprește când găsește un post clar.
Dacă nu puteți recepționa un post, apăsați butonul în mod repetat pentru a schimba frecvența pas cu pas.
Sfat
Dacă emisia FM este zgomotoasă, apăsați MODE până când "Mono" apare pe ecran și radioul va reda în monoaural.
Schimbarea intervalului de acord AM/MW
Intervalul de acord AM/MW este prestabilit la 9 kHz din fabrică.
Dacă trebuie să schimbați intervalul de acord AM/MW, procedați astfel:
- În timp ce țineți apăsat butonul RADIO BAND•AUTO PRESET și butonul
, deconectați cablul de alimentare de la rețea. - În timp ce țineți apăsat butonul RADIO BAND•AUTO PRESET și butonul
, reconectați cablul de alimentare la rețea. Intervalul de acord este schimbat și "AM 9" "MW 9" sau "AM 10" "MW 10" apare pe ecran timp de 2 secunde.
După schimbarea intervalului de acord, trebuie să resetați posturile de radio presetate.
Presetarea posturilor de radio
Puteți stoca posturi de radio în memoria aparatului. Puteți preseta până la 30 de posturi de radio (CFD-S300), 20 pentru FM și 10 pentru AM în orice ordine, sau 40 de posturi de radio (CFD-S300L), 20 pentru FM și 10 pentru MW și LW în orice ordine.
- Apăsați RADIO BAND•AUTO PRESET pentru a selecta banda.
- Țineți apăsat RADIO BAND•AUTO PRESET timp de 2 secunde până când "AUTO" clipește pe ecran.
- Apăsați DISPLAY•ENT•MEMORY. Posturile sunt stocate în memorie de la frecvențele mai joase la cele mai înalte.
Dacă un post nu poate fi presetat automat
Trebuie să presetați manual un post cu un semnal slab.
- Apăsați RADIO BAND•AUTO PRESET pentru a selecta banda.
- Acordați un post dorit.
- Țineți apăsat butoanele numerice pe care doriți să presetați noul post timp de aproximativ 2 secunde.
Pentru a selecta numărul presetat peste 10, apăsați mai întâi >10, apoi butoanele numerice corespunzătoare.
Trebuie să țineți apăsat ultimul buton numeric pentru a introduce timp de aproximativ 2 secunde. (Exemplu: Pentru a selecta 12, apăsați mai întâi >10 și 1, apoi țineți apăsat 2 timp de aproximativ 2 secunde.)
Sfat
Posturile de radio presetate rămân în memorie chiar dacă deconectați cablul de alimentare sau scoateți bateriile.
Redarea posturilor de radio presetate
- Apăsați RADIO BAND•AUTO PRESET pentru a selecta banda.
- Apăsați butoanele numerice pentru a acorda postul stocat. Pentru a acorda un post presetat peste 10, apăsați mai întâi >10, apoi butoanele numerice corespunzătoare. (Exemplu: Pentru a acorda un post presetat 12, apăsați mai întâi >10 și 1, apoi apăsați 2.)
Pe telecomandă
- Apăsați BAND.
- Apăsați PRESET + sau – pentru a acorda postul stocat.
Redarea unei casete
- Apăsați TAPE (pornire directă).
(Pe telecomandă, apăsați OPERATE (sau POWER) și apoi apăsați FUNCTION în mod repetat până când "TAPE" apare pe ecran.) - Apăsați
pentru a deschide compartimentul pentru casete și introduceți o casetă înregistrată. Închideți compartimentul. Utilizați numai casete TYPE I (normale). - Apăsați
.
| Pentru a | Apăsați |
| opri redarea | ![]() |
| derula rapid înainte sau înapoi caseta | sau ![]() |
| întrerupe redarea | ![]() Apăsați din nou butonul pentru a relua redarea după pauză. |
| scoate caseta | ![]() |
Înregistrarea
- Apăsați
pentru a deschide compartimentul pentru casete și introduceți o casetă goală. Utilizați numai casete TYPE I (normale). - Selectați sursa programului pe care doriți să o înregistrați.
Pentru a înregistra de pe CD player
Apăsați CD și introduceți un CD (Consultați "Redarea unui CD").
Pentru a înregistra de la radio
Apăsați RADIO BAND•AUTO PRESET și acordați postul dorit (Consultați "Ascultarea radioului"). - Apăsați
pentru a începe înregistrarea. (
este apăsat automat.)
| Pentru a | Apăsați |
| opri înregistrarea | ![]() |
| întrerupe înregistrarea | ![]() Apăsați din nou butonul pentru a relua înregistrarea |
Sfaturi
- Reglarea volumului sau a accentuării audio nu va afecta nivelul de înregistrare.
- Dacă programul AM/MW/LW produce un sunet fluierător după ce ați apăsat
la pasul 3, apăsați MODE pentru a selecta poziția ISS (Interference Suppress Switch - Comutator de suprimare a interferențelor) care reduce cel mai mult zgomotul. - Pentru cele mai bune rezultate, utilizați alimentarea cu curent alternativ ca sursă de alimentare pentru înregistrare.
- Pentru a șterge o înregistrare, procedați după cum urmează:
- Introduceți o casetă cu înregistrarea pe care doriți să o ștergeți.
- Apăsați TAPE.
- Apăsați
.
Conectarea componentelor opționale (doar CFD-S300L)
Puteți înregistra un CD pe un MiniDisc și vă puteți bucura de sunetul de la alte componente, cum ar fi un MD portabil, CD player, TV sau VCR prin intermediul difuzoarelor acestui player.
Asigurați-vă că opriți alimentarea fiecărei componente înainte de a face conexiunile. Pentru detalii, consultați instrucțiunile componentei care urmează să fie conectată.
Înregistrarea unui CD pe un reportofon MiniDisc sau reportofon DAT
- Conectați mufa OPTICAL DIGITAL OUT (CD) a acestui player cu mufa de intrare digitală a MiniDisc și DAT folosind cablul de conectare digitală* (nu este furnizat).
* Selectați un cablu de conectare în funcție de tipul mufei de intrare digitală a reportofonului care urmează să fie conectat. Pentru detalii, consultați manualul de instrucțiuni al componentei care urmează să fie conectată. Mufa OPTICAL DIGITAL OUT (CD) a acestui player este o mufă de formă pătrată.
| Tipul mufei componentei care urmează să fie conectată | Numărul modelului cablului de conectare |
| Miniplug optic (reportofon MiniDisc, etc.) | POC-15AB |
| Conector optic de formă pătrată (reportofon MiniDisc, reportofon DAT, etc.) | POC-15A |
- Porniți alimentarea acestui player și a componentei conectate.
- Pregătiți componenta conectată pentru înregistrare.
- Apăsați
pentru a începe redarea unui CD.
Ascultarea sunetului de la componentele conectate
- Conectați mufa LINE IN a acestui player cu mufa de ieșire linie sau mufa pentru căști a celeilalte componente folosind cablul de conectare audio* (nu este furnizat).
* Pentru reportofon MiniDisc: un cablu cu un mini-ștecher stereo la ambele capete.
* Pentru TV, VCR: un cablu cu un mini-ștecher stereo la un capăt și două șteckere phono la celălalt capăt. - Apăsați LINE pentru a afișa "LInE".
- Redați componenta opțională conectată la mufa LINE IN a playerului.
Sfat
Puteți înregistra sunetul de la componenta conectată. Introduceți o bandă goală în compartimentul pentru bandă și apăsați
.
Note
- Conectați ferm cablurile pentru a evita orice defecțiune.
- Când alte componente nu sunt conectate, închideți capacul pentru mufele OPTICAL DIGITAL OUT (CD) și LINE IN pentru a împiedica pătrunderea prafului.
Depanare
Generalități
Alimentarea nu pornește.
- Asigurați-vă că bateriile sunt introduse corect.
- Înlocuiți toate bateriile cu altele noi dacă sunt slabe.
- Nu puteți porni playerul cu telecomanda atunci când utilizați playerul pe baterii.
Alimentarea nu este pornită, iar "bAttErY" și "Error" sunt afișate alternativ.
- Asigurați-vă că bateriile sunt introduse corect.
- Înlocuiți toate bateriile cu altele noi dacă sunt slabe.
Nu există sunet.
- Reglați volumul.
- Deconectați căștile când ascultați prin difuzoare.
Se aude zgomot.
- Cineva folosește un telefon portabil sau alt echipament care emite unde radio în apropierea playerului. → Mutați telefonul portabil etc. departe de player.
CD Player
CD-ul nu se redă sau "no dISC" (niciun disc) se aprinde pe afișaj chiar și atunci când un CD este la locul său.
- Așezați CD-ul cu suprafața etichetei în sus.
- Curățați CD-ul.
- Scoateți CD-ul și lăsați compartimentul CD deschis timp de aproximativ o oră pentru a usca condensul de umiditate.
- CD-R/CD-RW nu a fost finalizat. Finalizați CD-R/CD-RW cu dispozitivul de înregistrare.
- Există o problemă cu calitatea CDR/CD-RW, dispozitivul de înregistrare sau software-ul de aplicație.
- Înlocuiți toate bateriile cu altele noi dacă sunt slabe.
Sunetul se întrerupe.
- Reduceți volumul.
- Curățați CD-ul sau înlocuiți-l dacă CD-ul este grav deteriorat.
- Așezați playerul într-un loc ferit de vibrații.
- Curățați lentila cu un suflător disponibil în comerț.
- Sunetul se poate întrerupe sau se poate auzi zgomot atunci când utilizați CD-R/CDRW-uri de calitate slabă sau dacă există o problemă cu dispozitivul de înregistrare sau software-ul de aplicație.
Radio
Recepția este slabă.
- Reorientați antena pentru a îmbunătăți recepția FM.
![Sony - CFD-S300L - Radio - Step 1 Radio - Step 1]()
- Reorientați playerul în sine pentru a îmbunătăți recepția AM sau MW/LW.
![Sony - CFD-S300L - Radio - Step 2 Radio - Step 2]()
Sunetul este slab sau are o calitate slabă.
- Înlocuiți toate bateriile cu altele noi dacă sunt slabe.
- Mutați playerul departe de televizor.
Imaginea televizorului dvs. devine instabilă.
- Dacă ascultați un program FM lângă televizor cu o antenă interioară, mutați playerul departe de televizor.
Casetofon
Banda nu se mișcă atunci când apăsați un buton de operare.
- Închideți bine compartimentul casetei.
Butonul
nu funcționează sau banda nu se redă sau nu se înregistrează.
- Asigurați-vă că fila de siguranță de pe casetă este la locul ei.
Redare, înregistrare sau ștergere de calitate slabă sau distorsionată.
- Curățați capetele, rola de presare și capstanul cu un tampon de curățare ușor umezit cu lichid de curățare sau alcool.
- Înlocuiți toate bateriile cu altele noi dacă sunt slabe.
- Se utilizează bandă TYPE II (poziție înaltă) sau TYPE IV (metal). Utilizați numai bandă TYPE I (normală).
- Demagnetizați capetele folosind un demagnetizator de capete de bandă disponibil în comerț.
![Sony - CFD-S300L - Tape Player Tape Player]()
Telecomandă
Telecomanda nu funcționează.
- Înlocuiți toate bateriile din telecomandă cu altele noi dacă sunt slabe.
- Asigurați-vă că îndreptați telecomanda spre senzorul de telecomandă de pe player.
- Îndepărtați orice obstacole din calea telecomenzii și a playerului.
- Asigurați-vă că senzorul de telecomandă nu este expus la lumină puternică, cum ar fi lumina directă a soarelui sau lumina lămpii fluorescente.
- Apropiați-vă de player când utilizați telecomanda.
După ce ați încercat remediile de mai sus, dacă aveți în continuare probleme, deconectați cablul de alimentare și scoateți toate bateriile. După ce dispar toate indicațiile de pe afișaj, conectați din nou cablul de alimentare și introduceți din nou bateriile. Dacă problema persistă, vă rugăm să consultați cel mai apropiat dealer Sony.
Specificații
Secțiunea CD player
System: Sistem audio digital cu disc compact
Laser diode properties (Proprietățile diodei laser)
Material: GaAlAs
Wave length: 780 nm
Emission duration: Continuous (Durată de emisie: Continuă)
Laser output: Less than 44.6 µW (Putere laser: Mai puțin de 44.6 µW)
(This output is the value measured at a distance of about 200 mm from the objective lens surface on the optical pick-up block with 7 mm aperture.) (Această putere este valoarea măsurată la o distanță de aproximativ 200 mm de suprafața lentilei obiectivului de pe blocul de captare optică cu apertură de 7 mm.)
Spindle speed: 200 r/min (rpm) to 500 r/min (rpm) (CLV) (Viteza axului: 200 r/min (rpm) până la 500 r/min (rpm) (CLV))
Number of channels: 2 (Număr de canale: 2)
Frequency response: 20 - 20 000 Hz +1/–2 dB (Răspuns în frecvență: 20 - 20 000 Hz +1/–2 dB)
Wow and flutter: Below measurable limit (Sub limita măsurabilă)
Secțiunea radio
Frequency range (Gama de frecvențe)
| CFD-S300 | |
| FM | 87.5 - 108 MHz |
| AM | 531 - 1 611 kHz (9 kHz step) 530 - 1 610 kHz (10 kHz step) |
| CFD-S300L | |
| FM | 87.5 - 108 MHz |
| MW | 531 - 1 611 kHz (9 kHz step) 530 - 1 610 kHz (10 kHz step) |
| LW | 153 - 279 kHz |
IF
FM: 10.7 MHz
AM/MW/LW: 450 kHz
Aerials (Antene)
FM: Telescopic aerial (Antenă telescopică)
AM/MW/LW: Built-in ferrite bar aerial (Antenă cu bară de ferită încorporată)
Secțiunea Cassette-corder
Recording system: 4-track 2 channel stereo (Sistem de înregistrare: Stereo cu 4 piste și 2 canale)
Fast winding time: Approx. 120 s (sec.) with Sony cassette C-60 (Timp de bobinare rapidă: Aprox. 120 s (sec.) cu caseta Sony C-60)
Frequency response: TYPE I (normal): 80 - 10 000 Hz (Răspuns în frecvență: TIP I (normal): 80 - 10 000 Hz)
General
Speaker: Full range: 10 cm dia., 3.2 ohms, cone type (2) (Difuzor: Gamă completă: 10 cm diam., 3.2 ohmi, tip con (2))
Input (Intrare)
LINE IN jack (stereo minijack) (CFD-S300L only): (Mufă LINE IN (minijack stereo) (doar CFD-S300L):)
Minimum input level 330 mV (Nivel minim de intrare 330 mV)
Outputs (Ieșiri)
Headphones jack (stereo minijack): (Mufă pentru căști (minijack stereo):)
For 16 - 68 ohms impedance headphones OPTICAL DIGITAL OUT (CD) (Optical output connector) (CFD-S300L only): (Pentru căști cu impedanță de 16 - 68 ohmi IEȘIRE DIGITALĂ OPTICĂ (CD) (Conector de ieșire optică) (doar CFD-S300L):)
Wavelength: 630 - 690 nm (Lungime de undă: 630 - 690 nm)
Maximum power output: 5.2 W (Putere maximă de ieșire: 5.2 W)
Power requirements (Cerințe de alimentare)
For CD radio cassette-corder: (Pentru CD radio cassette-corder:)
For Korean model: 220V AC, 60 Hz (Pentru modelul coreean: 220V AC, 60 Hz)
For Other models: 230 V AC, 50 Hz 9 V DC, 6 R20 (size D) batteries (Pentru alte modele: 230 V AC, 50 Hz 9 V DC, 6 baterii R20 (mărime D))
For remote control: 3 V DC, 2 R03 (size AAA) batteries (Pentru telecomandă: 3 V DC, 2 baterii R03 (mărime AAA))
Power consumption: AC 14 W (Consum de energie: AC 14 W)
Battery life: For CD radio cassette-corder: (Durata de viață a bateriei: Pentru CD radio cassette-corder:)
| FM recording (Înregistrare FM) | Sony R20P: approx. 13.5 h | |
| Sony alkaline LR20: approx. 20 h | ||
| Tape playback (Redare casetă) | Sony R20P: approx. 7.5 h | |
| Sony alkaline LR20: approx. 15 h | ||
| CD playback (Redare CD) | Sony R20P: approx. 2.5 h | |
| Sony alkaline LR20: approx. 7 h | ||
Dimensions (Dimensiuni)
Approx. 414 × 164 × 257 mm (w/h/d) (Aprox. 414 × 164 × 257 mm (l/î/a))
(16 3 ⁄ 8 × 6 1 ⁄ 2 × 10 1 ⁄ 8 inches) (incl. projecting parts) ((16 3 ⁄ 8 × 6 1 ⁄ 2 × 10 1 ⁄ 8 țoli) (inclusiv părțile proeminente))
Mass: Approx. 3.6 kg (7 lb. 15 oz) (incl. batteries) (Greutate: Aprox. 3.6 kg (7 lb. 15 oz) (inclusiv bateriile))
Supplied accessory (Accesorii furnizate)
Mains lead (1) (Cablu de alimentare (1))
Remote control (1) (Telecomandă (1))
Design and specifications are subject to change without notice. Optional accessories Sony MDR headphone series (Designul și specificațiile pot fi modificate fără notificare prealabilă. Accesorii opționale seria de căști Sony MDR)
Accesorii opționale
Sony MDR headphone series (Seria de căști Sony MDR)

Descărcați manualul
Aici puteți descărca versiunea completă pdf a manualului, aceasta poate conține instrucțiuni suplimentare de siguranță, informații despre garanție, reguli FCC etc.
Descărcați Sony CFD-S300, CFD-S300L - Manual de utilizare CD Radio Cassette-Corder





















