Muse M-692 BTC - Difuzor Bluetooth cu Radio FM - Manual de utilizare
- 1 AMPLASAREA COMENZILOR
- 2 TELECOMANDĂ
- 3 ÎNLOCUIREA BATERIEI PENTRU TELECOMANDĂ
- 4 ALIMENTARE
- 5 PORNIREA/OPRIREA UNITĂȚII
- 6 SELECTAREA FUNCȚIEI
- 7 SETAREA OREI
- 8 FUNCȚIA BLUETOOTH
- 9 ASCULTAREA UNUI DISC
- 10 RADIO
- 11 REDARE USB
- 12 MODURI DE REDARE (CD/MP3)
- 13 CONECTAREA UNEI SURSE AUXILIARE
- 14 DIMMER
- 15 OPRIREA SUNETULUI
- 16 ÎNCĂRCARE USB
- 17 ÎNTREȚINERE
- 18 SPECIFICAȚII TEHNICE
- 19 GHID DE DEPANARE
- 20 MAI MULTE INFORMAȚII
- 21 Referințe
- 22 Descărcați manualul
- 23 În alte limbi

Vă rugăm să citiți cu atenție instrucțiunile înainte de a utiliza unitatea.
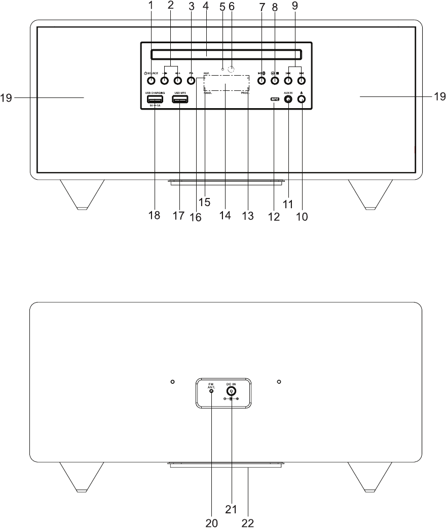
AMPLASAREA COMENZILOR

: Pentru a porni/opri unitatea;
SOURCE (Sursă): Pentru a selecta modul BLUETOOTH, CD, FM, USB, AUX IN.
/
: Pentru a regla volumul- P+: Presetare sus
- Compartimentul pentru disc
- Indicator Bluetooth
- Senzor telecomandă
PLAY/PAUSE (Redare/Pauză)
Asociere Bluetooth
Memorie
Oprire redare
,
: Salt/căutare / Acordare
Pentru a deschide/închide tava pentru disc- Mufă AUX IN (3,5 mm)
- Etichetă NFC
- Indicator program
- Afișaj LED
- Indicator aleatoriu
- Indicator repetare
- Port USB pentru redare MP3
- Port USB pentru încărcare
- DIFUZOR
- Antenă FM cu fir
- Mufă intrare DC
- Subwoofer pasiv
TELECOMANDĂ

R1.
Pentru a porni/opri unitatea
R2. Butonul SOURCE (Sursă): Pentru a selecta modul de funcționare: Bluetooth, CD, FM, USB, AUX
R3.
/
: Pentru a regla volumul
R4.
: Memorare; Oprire redare
R5. ATS /DIM.: Scanare automată și presetare posturi de radio; Pentru a regla luminozitatea afișajului
R6. Butonul REP.: Pentru a repeta redarea
R7.
: Pentru a dezactiva sau restabili sunetul
R8.
/
: Salt/ căutare / Acordare
R9.
/PAIRING (Asociere): redare/pauză; Funcție de asociere Bluetooth
R10. P+: Presetare radio sus;
R11. Butonul RAND.: Pentru a activa/dezactiva funcția de redare aleatorie
Telecomanda funcționează cu o baterie litiu "CR2025" (inclusă). Pentru a porni telecomanda, scoateți folia izolatoare de pe spatele unității.
ÎNLOCUIREA BATERIEI PENTRU TELECOMANDĂ

- Introduceți o monedă în canelura capacului bateriei.
- Răsuciți moneda în sens invers acelor de ceasornic pentru a deschide ușa bateriei până când punctul de marcare "CLOSE" (ÎNCHIS) se mută la "OPEN" (DESCHIS).
- Scoateți ușa bateriei
- Introduceți o baterie de dimensiune "CR2025" cu partea pozitivă (+) orientată în sus.
- Înlocuiți capacul. Răsuciți moneda în sensul acelor de ceasornic pentru a închide ușa bateriei până când punctul de marcare "OPEN" (DESCHIS) se mută la "CLOSE" (ÎNCHIS).
NOTE:
- Înainte de a arunca bateriile, consultați distribuitorul care ar putea să le preia pentru reciclare specifică.
- Dacă telecomanda nu va fi utilizată pentru o perioadă lungă de timp, scoateți bateria pentru a evita deteriorările cauzate de coroziunea scurgerilor bateriei.
- Trebuie acordată atenție aspectelor de mediu ale eliminării bateriilor.
- Nu aruncați bateriile în foc!
- Bateria nu trebuie expusă la căldură excesivă, cum ar fi lumina soarelui, focul sau altele asemenea.
Pericol de explozie dacă bateria este înlocuită incorect. Înlocuiți numai cu același tip sau echivalent.
Nu ingerați bateria, pericol de arsuri chimice
(Telecomanda furnizată cu) Acest produs conține o baterie tip monedă/buton. Dacă bateria tip monedă/buton este înghițită, poate provoca arsuri interne severe în doar 2 ore și poate duce la deces.
Păstrați bateriile noi și uzate departe de copii.
Dacă compartimentul bateriei nu se închide bine, opriți utilizarea produsului și păstrați-l departe de copii.
Dacă credeți că bateriile ar fi putut fi înghițite sau plasate în interiorul oricărei părți a corpului, solicitați imediat asistență medicală.
ALIMENTARE
ADAPTOR AC
Adaptorul AC furnizat este adecvat pentru utilizarea la surse de alimentare AC de 100-240V ~ 50/60Hz și trebuie conectat numai la o sursă de alimentare în cadrul acestor parametri.
În preocuparea de a economisi energie, atunci când redarea a ajuns la sfârșit sau volumul de ascultare este setat la un nivel foarte scăzut și nicio comandă nu este operată pe dispozitiv pentru o perioadă de 2 ore, unitatea va comuta automat în modul Standby (Așteptare).
- Adaptorul AC inclus cu această unitate este doar pentru utilizarea acesteia. Nu-l utilizați cu alte echipamente.
- Opriți unitatea înainte de a deconecta adaptorul AC de la unitate pentru a evita deteriorarea unității.
- Când unitatea nu va fi utilizată pentru o perioadă lungă de timp, deconectați adaptorul AC de la priza AC.
- Asigurați-vă că îl utilizați lângă priza de perete și ușor accesibil. Dacă apare o defecțiune, deconectați imediat ștecherul de la priza de perete.
- Adaptorul AC este utilizat ca dispozitiv de deconectare. Acesta trebuie să rămână ușor de utilizat și nu trebuie obstrucționat în timpul utilizării intenționate. Pentru a deconecta complet aparatul de la rețeaua de alimentare, adaptorul AC al aparatului trebuie deconectat complet de la priza de alimentare.
- Nu utilizați niciodată un adaptor AC care este deteriorat, dirijați cablul de alimentare într-un mod sigur și asigurați-vă că nu este supus prinderii sau ciupirii. Dacă cablul de alimentare este deteriorat, adresați-vă unui agent de service calificat.
PORNIREA/OPRIREA UNITĂȚII
- Apăsați butonul
pentru a porni unitatea. - Apăsați și mențineți apăsat butonul
de pe unitate sau apăsați scurt butonul
de pe telecomandă pentru a opri unitatea.
SELECTAREA FUNCȚIEI
Funcția (BLUETOOTH/ CD/ FM / USB/ AUX) este selectată prin apăsarea repetată a butonului SOURCE (Sursă).
SETAREA OREI
- În modul standby (așteptare), apăsați
o dată pentru a intra în modul de setare a orei și cifrele orelor clipesc. - Apăsați
/
pe unitate sau telecomandă pentru a seta valoarea orelor. Apăsați
pentru a confirma și cifrele minutelor clipesc. - Apăsați
/
pe unitate sau telecomandă pentru a seta valoarea minutelor și apăsați din nou
pentru a confirma.
FUNCȚIA BLUETOOTH
Marca și logo-urile Bluetooth® sunt mărci comerciale înregistrate deținute de Bluetooth SIG, Inc. și orice utilizare a acestor mărci de către New One S.A.S se face sub licență. Alte mărci comerciale și nume comerciale aparțin proprietarilor respectivi.
Asocierea unui dispozitiv Bluetooth
- Când unitatea este pornită (ON), apăsați butonul SOURCE (Sursă) în mod repetat pentru a selecta modul Bluetooth. Afișajul va arăta "
" timp de câteva secunde și se va schimba în ora curentă. Indicatorul Bluetooth va începe să clipească rapid. - Pe dispozitivul Bluetooth, activați Bluetooth și selectați "M-692 BTC" din lista de dispozitive. (Consultați manualul de utilizare al dispozitivului care urmează să fie conectat pentru operațiuni detaliate.) Dacă dispozitivul Bluetooth solicită un cod de acces, utilizați "0000". Unele dispozitive Bluetooth vă vor cere să acceptați conexiunea. Veți auzi o voce de indicare când asocierea a reușit.
Sfat: Dacă doriți să conectați difuzorul Bluetooth la un alt dispozitiv audio Bluetooth, trebuie să deconectați mai întâi dispozitivul curent și să urmați pașii de mai sus pentru a realiza o nouă conexiune.
Dacă asocierea eșuează, efectuați următoarele:
Apăsați și mențineți apăsat butonul
până când indicatorul Bluetooth clipește rapid pentru a intra în modul de asociere. Pe dispozitivul Bluetooth, activați Bluetooth și selectați "M-692 BTC" din lista de dispozitive (consultați pasul 2 de mai sus).
- Pe unele dispozitive, cum ar fi computerele, odată asociate, trebuie să selectați unitatea din meniul Bluetooth și să alegeți "Utilizare ca dispozitiv audio (stereo)" sau similar.
- Asocierea rămâne intactă atunci când unitatea și/sau dispozitivul Bluetooth sunt scoase din raza de comunicare. O conexiune activă va fi restabilită atunci când dispozitivul Bluetooth revine în raza de acțiune.
- Când unitatea este pornită din nou, va încerca automat să se reconecteze cu cel mai recent dispozitiv Bluetooth asociat.
Utilizarea unui dispozitiv Bluetooth
- Cu o unitate asociată (consultați secțiunea anterioară), operați dispozitivul Bluetooth și sunetul său va fi auzit prin difuzoarele M-692 BTC.
- Apăsați butonul
pentru a întrerupe redarea. Apăsați din nou pentru a relua redarea. - Selectați piesa dorită cu
/
. - Reglați volumul folosind butoanele de volum
/
. Puteți regla, de asemenea, volumul pe dispozitivul cu care sunteți asociat.
Utilizarea unui dispozitiv NFC
NFC (Near Field Communication) este o tehnologie care permite comunicarea wireless pe rază scurtă între dispozitivele compatibile NFC, cum ar fi telefoanele mobile.
- Când unitatea este pornită (ON), apăsați butonul SOURCE (Sursă) în mod repetat pentru a selecta modul Bluetooth. Afișajul va arăta "
" timp de câteva secunde și se va schimba în ora curentă. Indicatorul Bluetooth va începe să clipească rapid. Veți auzi o voce de indicare care indică faptul că unitatea este în modul de asociere. - Activați NFC și Bluetooth pe dispozitivul Bluetooth (consultați manualul de utilizare al dispozitivului pentru detalii), atingeți dispozitivul NFC pe eticheta NFC de pe unitate până când auziți o voce de indicare. Dispozitivul NFC este conectat la această unitate prin Bluetooth.
- Selectați și redați fișiere audio sau muzică pe dispozitivul NFC.
- Pentru a întrerupe conexiunea, atingeți din nou dispozitivul NFC cu eticheta NFC de pe această unitate.
Notă: Raza de acțiune operațională între unitatea principală și un dispozitiv NFC este de aproximativ 10 metri.
Prin prezenta, NEW ONE S.A.S, declară că acest MUSE M-692 BTC este în conformitate cu cerințele esențiale și alte prevederi relevante ale Directivei 2014/53/UE. Declarația de conformitate poate fi consultată la www.muse-europe.com
ASCULTAREA UNUI DISC
- Când unitatea este pornită (ON), apasă butonul SOURCE în mod repetat pentru a selecta modul CD. Ecranul va afișa "
" pentru câteva secunde. Apasă
pentru a deschide tava pentru disc. Introdu un disc cu eticheta în sus. Apasă
din nou pentru a închide discul. (Notă: Dacă nu este introdus niciun disc, ecranul va afișa "
"). - După câteva secunde, numărul total de piese va apărea pe ecran pentru câteva secunde și redarea va începe automat.
RADIO
Ascultarea radioului
Când unitatea este pornită, apasă butonul SOURCE în mod repetat pentru a selecta modul FM. Ecranul va afișa "
" pentru câteva secunde și se va schimba la ora curentă.
Căutare manuală
- Alege postul de radio cu
sau
. - Ajustează volumul cu
sau
la nivelul dorit.
Căutare automată
Apasă și menține apăsat
sau
pentru câteva secunde. Căutarea automată localizează posturile puternice. Un post cu un semnal slab poate fi setat manual prin apăsarea repetată a
sau
.
Notă: Pentru o recepție mai bună în FM, extinde antena.
Posturi presetate
Unitatea poate stoca 20 de posturi FM.
Stocare manuală
- Selectează un post de radio manual sau prin căutare automată.
- Apasă
. "
" apare pe ecran. - Apasă P+ pe unitate sau P+ pe telecomandă pentru a selecta un canal presetat.
- Apasă
pentru a-l salva. - Repetă pașii 1-4 pentru a stoca alte posturi.
Stocare automată
Apasă ATS pe telecomandă și unitatea va salva automat primele 20 de posturi FM. Când stochezi pe un canal deja presetat, postul anterior va fi șters automat și înlocuit cu noul post.
Ascultă posturile presetate
- Apasă P+ pe unitate sau P+ pe telecomandă pentru a selecta postul presetat.
- Ajustează volumul cu
sau
la nivelul dorit.
REDARE USB
- Conectează un dispozitiv USB la portul USB MP3 de pe unitate.
- Apasă butonul SOURCE în mod repetat pentru a selecta modul USB. Ecranul va afișa "
" pentru câteva secunde și se va schimba la ora curentă. Redarea va începe automat. Indicatorul USB clipește în timpul redării. - Selectează piesa dorită cu
/
.
Note:
- Numărul total de fișiere MP3 de pe dispozitivul USB nu trebuie să depășească 999.
- Dispozitivul nu poate conține mai mult de 99 de directoare.
- Timpul de citire durează câteva secunde sau mai mult, în funcție de cantitatea de fișiere MP3 și foldere de pe dispozitivul USB.
- Nu introduce nimic altceva decât un dispozitiv USB în portul acestei unități. Alte obiecte pot deteriora mecanismul USB.
- Priza USB nu trebuie conectată direct la computer, deoarece acest lucru poate deteriora unitatea.
- Există multe dispozitive USB pe piață. Nu putem garanta suportul pentru toate modelele diferite. Încearcă un alt dispozitiv USB dacă dispozitivul tău nu este acceptat.
MODURI DE REDARE (CD/MP3)
Redare repetată
Apasă butonul REP. de pe telecomandă în mod repetat pentru a selecta un mod de redare, indicatorul de repetare se va aprinde
- Repetă una: ecranul afișează "
". - Repetă folder: ecranul afișează "
". (Doar MP3) - Repetă tot: ecranul afișează "
".
Pentru a anula redarea repetată, apasă butonul REP. în mod repetat până când ecranul afișează "
" și indicatorul de repetare dispare.
Redare aleatorie
Apasă butonul RAND. de pe telecomandă. Indicatorul aleatoriu se aprinde. Va reda toate piesele în ordine aleatorie. Apasă din nou butonul RAND. pentru a anula această funcție. Indicatorul aleatoriu se stinge.
Redare programată
- În modul stop, apasă butonul P+, ecranul va afișa "
" pentru câteva secunde și se va schimba în "
". Indicatorul de program se aprinde. - Selectează piesa dorită cu
/
, apoi apasă butonul P+ pentru a confirma. - Repetă pașii de mai sus pentru a programa până la 32 de piese pentru CD și 99 de piese pentru MP3.
- Apasă
pentru a începe redarea programată. - Apasă butonul
o dată pentru a opri redarea programată. Apasă
de două ori pentru a anula această funcție.
CONECTAREA UNEI SURSE AUXILIARE
- Conectează sursa auxiliară (de exemplu, mp3 player) la mufa AUX IN de pe partea superioară a unității (cablu inclus).
- Apasă SOURCE în mod repetat pentru a selecta modul AUX. Ecranul va afișa "
" pentru câteva secunde și se va schimba la ora curentă. - Începe redarea de la sursa auxiliară.
- Ajustează volumul la nivelul dorit.
- Pentru a opri redarea, deconectează sursa auxiliară de la mufa AUX IN.
DIMMER
Apasă butonul DIM. de pe telecomandă pentru a selecta luminozitatea ecranului: ridicată, scăzută sau oprită.
OPRIREA SUNETULUI
Când unitatea este pornită, apasă butonul
pentru a opri sunetul. Apasă din nou pentru a restabili.
ÎNCĂRCARE USB
Această unitate este echipată cu un port de încărcare USB încorporat (Ieșire: 5V
1A) pentru reîncărcarea dispozitivului mobil (de exemplu, smartphone, tabletă, etc.)
Pur și simplu conectează cablul de încărcare USB (nu este inclus) în portul de încărcare USB și conectează-l la dispozitivul mobil.
ÎNTREȚINERE
Curățare
Deconectează unitatea de la sursa de alimentare înainte de curățare.
- Utilizează o cârpă moale, uscată și curată. Șterge regulat praful de pe orificiile de ventilație de pe spate sau de pe părțile laterale.
- Utilizarea solvenților, a produselor abrazive sau pe bază de alcool riscă să deterioreze aparatul.
- Dacă un obiect sau un lichid intră în interiorul aparatului, deconectează-l imediat și verifică-l de către un inginer autorizat.
Note despre disc
- Nu utiliza CD-uri cu forme neregulate (de exemplu: în formă de inimă, octogonale). Poate duce la defecțiuni.
- Nu introduce mai mult de un disc în compartimentul pentru disc.
- Nu încerca să deschizi compartimentul pentru disc în timpul redării.
- Nu atinge lentila. Acest lucru poate provoca defecțiuni.
- Dacă există o zgârietură, murdărie sau amprente pe disc, poate provoca erori de urmărire. Înainte de redare, curăță discul cu o cârpă de curățare. Șterge discul din centru spre exterior. Nu depozita discurile în locuri cu temperaturi ridicate sau umiditate ridicată, deoarece se pot deforma. După redare, depozitează discul în cutia sa.
- Capacitatea de redare a CD-R-urilor sau CD-RW-urilor la acest player poate varia în funcție de calitatea suportului media, CD-Burner, viteza de ardere și software-ul de aplicație.
- Înainte de a transporta unitatea, scoate discul din compartimentul pentru disc.
SPECIFICAȚII TEHNICE
GENERAL
ALIMENTARE: AC 100-240V ~ 50/60Hz, consum de 18W
RADIO
FM 87.5-108MHz
BLUETOOTH
Bluetooth: 2.402-2.48GHz
Putere de ieșire RF: -2.656 dBm
Versiunea Bluetooth: V4.1
Distanța de lucru: Până la 10 metri măsurată în spațiu deschis (pereții și structurile pot afecta raza de acțiune a dispozitivului)
Specificațiile pot fi modificate fără notificare prealabilă.
GHID DE DEPANARE
Dacă această unitate prezintă o problemă, verifică următoarele înainte de a solicita service:
Fără alimentare
- Asigură-te că unitatea este conectată la sursa de alimentare AC.
Fără sunet – General
- Volumul dispozitivului extern este setat la minimum; mărește volumul.
- Volumul M-692 BTC este setat la minimum; mărește volumul.
Dispozitivul Bluetooth nu se poate asocia sau conecta cu unitatea
- Nu ai activat funcția Bluetooth a dispozitivului tău. Consultă manualul de utilizare al dispozitivului tău pentru a activa funcția Bluetooth.
- Unitatea nu este în modul de asociere. Apasă și menține apăsat butonul
până când indicatorul Bluetooth clipește rapid. - Unitatea este deja conectată cu un alt dispozitiv Bluetooth; deconectează acel dispozitiv și apoi încearcă din nou.
MAI MULTE INFORMAȚII

Pentru a reduce riscul de electrocutare, nu deschideți dispozitivul, nu există nicio componentă în interior pentru utilizator. Încredințați toate reparațiile personalului calificat.
Fulgerul cu simbolul săgeții în triunghi este un semn de avertizare care alertează utilizatorul cu privire la "tensiunea periculoasă" ("tensiune periculoasă") din interiorul unității.
Semnul de exclamare din triunghi este un semn de avertizare care alertează utilizatorul cu privire la instrucțiunile importante care însoțesc produsul.
Marca de precauție este situată pe spatele dispozitivului.
- Utilizarea aparatului în climate moderate.
- Plăcuța de marcare este situată pe spatele dispozitivului.
- Asigurați-vă că aveți o distanță minimă de 5 cm în jurul unității pentru o ventilație suficientă.
- Asigurați-vă că orificiile de ventilație nu sunt acoperite cu obiecte precum ziare, fețe de masă, perdele etc.
- Nu așezați surse de flacără deschisă, cum ar fi lumânări aprinse, pe aparat.
- Nu expuneți acest aparat la picături sau stropi de apă.
- Nu așezați obiecte umplute cu lichide, cum ar fi pahare, vaze, pe dispozitiv.
- Nu aruncați bateriile în foc! Respectați mediul înconjurător atunci când aruncați bateriile uzate.
- Bateriile nu trebuie expuse la căldură excesivă, cum ar fi lumina soarelui, focul sau alte surse de căldură similare.
- Ștecherul este utilizat ca dispozitiv de deconectare și trebuie să fie ușor accesibil. Pentru a fi complet deconectat de la curent, ștecherul aparatului trebuie deconectat complet. Priza nu trebuie să fie obstrucționată și trebuie să fie ușor accesibilă în timpul utilizării prevăzute.
- Sub influența fenomenelor electrice tranzitorii rapide și / sau electrostatice, produsul poate funcționa defectuos, iar utilizatorul trebuie să efectueze o resetare a alimentării dispozitivului.

Dacă în viitor trebuie să scăpați de acest produs, vă rugăm să rețineți că deșeurile de produse electrice nu trebuie aruncate împreună cu deșeurile menajere. Există instalații de reciclare. Verificați cu municipalitatea dumneavoastră sau adresați-vă dealerului pentru sfaturi. (Directiva privind deșeurile de echipamente electrice și electronice)
NEW ONE S.A.S
10, Rue de la Mission, 25480 Ecole Valentin, France


Referințe
Descărcați manualul
Aici puteți descărca versiunea completă pdf a manualului, aceasta poate conține instrucțiuni suplimentare de siguranță, informații despre garanție, reguli FCC etc.
Descărcați Muse M-692 BTC - Difuzor Bluetooth cu Radio FM - Manual de utilizare
Asociere Bluetooth
Pentru a deschide/închide tava pentru disc
" timp de câteva secunde și se va schimba în ora curentă. Indicatorul Bluetooth va începe să clipească rapid.
" pentru câteva secunde. Apasă
").
" apare pe ecran.
" pentru câteva secunde și se va schimba la ora curentă. Redarea va începe automat. Indicatorul USB clipește în timpul redării.
".
". (Doar MP3)
".
". Indicatorul de program se aprinde.
" pentru câteva secunde și se va schimba la ora curentă.