Zanussi ZNLN14ES - Navodila za vgradni hladilnik z zamrzovalnikom

NAMESTITEV
Glejte poglavja o varnosti.
Za namestitev aparata glejte dokument z navodili za namestitev.
| Aparat pritrdite v skladu z dokumentom z navodili za namestitev, da preprečite nevarnost nestabilnosti aparata. |
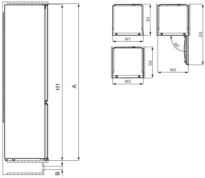
Mere

| Skupne mere ¹ | ||
| H1 | mm | 1441 |
| W1* | mm | 548 |
| D1 | mm | 549 |
¹ višina, širina in globina aparata brez ročaja
* vključno s širino spodnjih tečajev (8 mm)
| Prostor, potreben za uporabo ² | ||
| H2 (A+B) | mm | 1482 |
| W2* | mm | 548 |
| D2 | mm | 551 |
| A | mm | 1446 |
| B | mm | 36 |
² višina, širina in globina aparata, vključno z ročajem, ter prostor, potreben za prosto kroženje hladilnega zraka
* vključno s širino spodnjih tečajev (8 mm)
| Skupni prostor, potreben za uporabo ³ | ||
| H3 (A+B) | mm | 1482 |
| W3* | mm | 548 |
| D3 | mm | 1071 |
³ višina, širina in globina aparata, vključno z ročajem, ter prostor, potreben za prosto kroženje hladilnega zraka, ter prostor, potreben za odpiranje vrat do minimalnega kota, ki omogoča odstranitev vse notranje opreme
* vključno s širino spodnjih tečajev (8 mm)
Lokacija
Za zagotovitev najboljše funkcionalnosti aparata ga ne smete namestiti na mesto z neposredno sončno svetlobo. Aparata ne nameščajte v bližini radiatorjev ali kuhalnikov, pečic ali kuhalnih plošč, razen če je v navodilih za namestitev drugače navedeno.
Prepričajte se, da zrak lahko prosto kroži okoli zadnje strani ohišja.
Ta aparat mora biti nameščen v suhem, dobro prezračenem notranjem prostoru.
Ta aparat je namenjen uporabi pri temperaturi okolice od 10 °C do 38 °C.
| |
| |
| |
Električni priključek
| Vsa električna dela, potrebna za namestitev tega aparata, mora opraviti usposobljen električar ali kompetentna oseba. |
| Ta aparat mora biti ozemljen. Proizvajalec zavrača kakršno koli odgovornost, če se teh varnostnih ukrepov ne upošteva. |
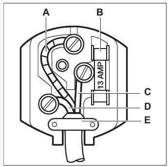
Žice v napajalnem kablu so obarvane v skladu z naslednjo kodo:

- A – zelena in rumena: ozemljitev
- C – rjava: faza
- D – modra: nevtralna
Ker se barve žic v napajalnem kablu tega aparata morda ne ujemajo z barvnimi oznakami, ki označujejo priključke v vašem vtiču, postopajte na naslednji način:
- Žico zelene in rumene barve priključite na priključek, označen s črko »E« ali z simbolom za ozemljitev
ali obarvan zeleno in rumeno. - Žico modre barve priključite na priključek, označen s črko »N« ali obarvan črno.
- Žico rjave barve priključite na priključek, označen s črko »L« ali obarvan rdeče.
- Preverite, ali ni prisotnih prerezanih ali potepuških žic in ali je sponka kabla (E) varno pritrjena na zunanji ovoj.
Prepričajte se, da je napetost električnega omrežja enaka tisti, ki je navedena na tipski ploščici aparata. - Vklopite aparat. Aparat je opremljen z varovalko 13 amperov (B). V primeru, da morate zamenjati varovalko v priloženem vtiču, morate uporabiti varovalko 13 amperov, ki jo je odobrila ASTA (BS 1362).
Odrezan vtič, vstavljen v vtičnico 13 amperov, je resna varnostna nevarnost (električni udar).
Zagotovite, da ga varno zavržete.
Zahteve glede prezračevanja
Pretok zraka za aparatom mora biti zadosten.

Za namestitev glejte navodila za namestitev.
Možnost spreminjanja strani odpiranja vrat
Glejte ločen dokument z navodili za namestitev in spreminjanje strani odpiranja vrat.
| V vsaki fazi spreminjanja strani odpiranja vrat zaščitite tla pred praskami s trpežnim materialom. |
NADZORNA PLOŠČA

- LED-indikator temperature hladilnika
- LED-indikator temperature zamrzovalnika
- Indikator FastFreeze
- Indikator hladilnega dela
- Indikator zamrzovalnega dela
- Gumb za VKLOP/IZKLOP
Gumb za izbiro dela - Gumb FastFreeze
Regulator temperature
Vklop
- Vstavite vtič v stensko vtičnico.
- Dotaknite se gumba za VKLOP/IZKLOP (ON/OFF button) (6), če so vsi LED-indikatorji izklopljeni.
Izklop
Gumb za VKLOP/IZKLOP (ON/OFF button) (6) držite pritisnjen 3 sekunde.
Vsi indikatorji se izklopijo.
Regulacija temperature
Pred regulacijo temperature je treba izbrati del (hladilnik ali zamrzovalnik).
Zgornjo ali spodnjo votlino izberete z gumbom za izbiro dela (6).
Za izbiro zamrzovalnega dela se dotikajte gumba za izbiro dela (6), dokler ne zasveti LED-dioda, ki ustreza spodnji votlini.
LED-indikator temperature prikazuje zadnjo nastavljeno temperaturo. Priporočena nastavitev je -18 °C.
Za izbiro hladilnega dela se dotikajte gumba za izbiro dela (6), dokler ne zasveti LED-dioda, ki ustreza zgornji votlini.
LED-indikator temperature prikazuje zadnjo nastavljeno temperaturo. Priporočena nastavitev je +4 °C.
Za nastavitev temperature:
- Dotaknite se gumba regulatorja temperature (temperature regulator button) (7). Indikator trenutne temperature utripa.
- Vsakič, ko se dotaknete gumba regulatorja temperature (temperature regulator button) (7), se nastavitev premakne za en položaj. Ko izberete temperaturo, LED-dioda, ki ustreza izbrani vrednosti temperature, nekaj časa utripa in nastavitev je fiksna.
Nastavljena temperatura bo dosežena v 24 urah. Po izpadu električne energije nastavljena temperatura ostane shranjena.
Funkcija FastFreeze
Funkcija FastFreeze se uporablja za zaporedno predzamrzovanje in hitro zamrzovanje v zamrzovalnem delu. Ta funkcija pospeši zamrzovanje sveže hrane in hkrati ščiti živila, ki so že shranjena v zamrzovalnem delu, pred neželenim segrevanjem.
| |
Za aktiviranje funkcije FastFreeze pritisnite gumb FastFreeze (FastFreeze button) (7) za 3 sekunde. Indikator FastFreeze se vklopi.
| |
Funkcijo lahko kadar koli deaktivirate tako, da ponovno pritisnete gumb FastFreeze (FastFreeze button) (7) za 3 sekunde. Indikator FastFreeze se izklopi.
Alarm visoke temperature
Ko se temperatura v zamrzovalnem delu poveča (na primer zaradi prejšnjega izpada električne energije), indikator zamrzovalnega dela utripa in se oglasi zvok.
Za izklop zvoka pritisnite kateri koli gumb.
LED-indikator temperature zamrzovalnika še naprej utripa, dokler se ne vzpostavijo normalni pogoji.
Če ne pritisnete nobenega gumba, se zvok samodejno izklopi po približno eni uri, da ne bi motil.
Alarm odprtih vrat
Če so vrata hladilnika odprta približno 5 minut, indikator hladilnega dela utripa in se oglasi zvok.
Med alarmom lahko zvok izklopite s pritiskom na kateri koli gumb. Zvok se samodejno izklopi po približno eni uri, da ne bi motil.
Alarm se deaktivira po zaprtju vrat.
DNEVNA UPORABA
Namestitev polic na vratih
Za shranjevanje živilskih izdelkov različnih velikosti lahko police na vratih postavite na različne višine.
- Polico postopoma povlecite navzgor, dokler se ne sprosti.
- Po potrebi jo prestavite.
![Zanussi - ZNLN14ES - Namestitev polic na vratih Namestitev polic na vratih]()
Premične police
Stene hladilnika so opremljene z nizom vodil, tako da lahko police namestite po želji.

| |
Predali za zelenjavo
V spodnjem delu aparata so posebni predali, primerni za shranjevanje sadja in zelenjave.
Zamrzovanje sveže hrane
Zamrzovalni predel je primeren za zamrzovanje sveže hrane in dolgotrajno shranjevanje zamrznjene in globoko zamrznjene hrane.
Za zamrzovanje sveže hrane aktivirajte funkcijo FastFreeze vsaj 24 ur, preden hrano, ki jo želite zamrzniti, položite v zamrzovalni predel.
Svežo hrano enakomerno razporedite v prvi predel ali predal od zgoraj.
Največja količina hrane, ki jo je mogoče zamrzniti brez dodajanja druge sveže hrane v 24 urah, je navedena na tipski ploščici (nalepka, ki se nahaja v notranjosti aparata).
Ko je postopek zamrzovanja končan, se aparat samodejno vrne na prejšnjo nastavitev temperature (glejte "Funkcija FastFreeze").
Za več informacij glejte "Nasveti za zamrzovanje".
Shranjevanje zamrznjene hrane
Ko prvič aktivirate aparat ali po obdobju, ko ga niste uporabljali, pustite, da aparat deluje vsaj 3 ure z vklopljeno funkcijo FastFreeze, preden v predel vstavite izdelke.
Zamrzovalni predali zagotavljajo hitro in enostavno iskanje želene živilske embalaže.
Če želite shraniti velike količine hrane, odstranite vse predale in hrano položite na police.
Hrana naj ne bo bližje kot 15 mm od vrat.
| V primeru nenamernega odtaljevanja, na primer zaradi izpada električne energije, če je bila električna energija izklopljena dlje, kot je vrednost, prikazana na tipski ploščici pod "čas dviga", je treba odtaljeno hrano hitro porabiti ali jo takoj kuhati, nato ohladiti in ponovno zamrzniti. Oglejte si "Alarm za visoko temperaturo". |
Odtajanje
Globoko zamrznjeno ali zamrznjeno hrano lahko pred zaužitjem odtalite v hladilniku ali v plastični vrečki pod hladno vodo.
Ta postopek je odvisen od razpoložljivega časa in vrste hrane. Majhne kose je mogoče kuhati celo zamrznjene.
Proizvodnja ledenih kock
Ta aparat je opremljen z enim ali več pladnji za proizvodnjo ledenih kock.
| |
- Te pladnje napolnite z vodo.
- Pladnje za led vstavite v zamrzovalni predel.
NASVETI
Nasveti za varčevanje z energijo
- Zamrzovalnik: Notranja konfiguracija aparata zagotavlja najučinkovitejšo porabo energije.
- Hladilnik: Najbolj učinkovita poraba energije je zagotovljena v konfiguraciji s predali v spodnjem delu aparata in enakomerno razporejenimi policami. Položaj posod na vratih ne vpliva na porabo energije.
- Ne odpirajte vrat pogosto in jih ne puščajte odprtih dlje, kot je potrebno.
- Zamrzovalnik: Nižja kot je nastavitev temperature, večja je poraba energije.
- Hladilnik: Ne nastavite previsoke temperature, da bi prihranili energijo, razen če to zahtevajo lastnosti hrane.
- Če je temperatura okolice visoka in je regulator temperature nastavljen na nizko temperaturo ter je aparat popolnoma napolnjen, lahko kompresor deluje neprekinjeno, kar povzroči nastanek zmrzali ali ledu na uparjalniku. V tem primeru nastavite regulator temperature na višjo temperaturo, da omogočite samodejno odtaljevanje in tako prihranite energijo.
- Zagotovite dobro prezračevanje. Ne prekrivajte prezračevalnih rešetk ali lukenj.
Nasveti za zamrzovanje
- Aktivirajte funkcijo FastFreeze vsaj 24 ur, preden hrano vstavite v zamrzovalni predel.
- Pred zamrzovanjem svežo hrano zavijte in zaprite v: aluminijasto folijo, plastično folijo ali vrečke, nepredušno zaprte posode s pokrovom.
- Za učinkovitejše zamrzovanje in odtaljevanje hrano razdelite na majhne porcije.
- Priporočljivo je, da na vso zamrznjeno hrano nalepite etikete in datume. To bo pomagalo prepoznati živila in vedeti, kdaj jih je treba uporabiti pred poslabšanjem.
- Živila morajo biti sveža, ko jih zamrznete, da ohranite dobro kakovost. Zlasti sadje in zelenjavo je treba zamrzniti po obiranju, da se ohranijo vse njihove hranilne snovi.
- Ne zamrzujte steklenic ali pločevink s tekočinami, zlasti pijač, ki vsebujejo ogljikov dioksid - med zamrzovanjem lahko eksplodirajo.
- V zamrzovalni predel ne vstavljajte vroče hrane. Preden jo vstavite v predel, jo ohladite na sobno temperaturo.
- Da bi se izognili dvigu temperature že zamrznjene hrane, ne postavljajte sveže nezamrznjene hrane neposredno ob njo. Hrano na sobni temperaturi postavite v tisti del zamrzovalnega predela, kjer ni zamrznjene hrane.
- Ne jejte ledenih kock, vodnih ledenih kock ali sladoleda na palčki takoj, ko jih vzamete iz zamrzovalnika. Nevarnost ozeblin.
- Ne zamrzujte ponovno odtaljene hrane. Če se je hrana odtalila, jo skuhajte, ohladite in nato zamrznite.
Nasveti za shranjevanje zamrznjene hrane
- Zamrzovalni predel je označen z
. - Srednja nastavitev temperature zagotavlja dobro ohranitev zamrznjenih živilskih izdelkov. Višja nastavitev temperature v aparatu lahko skrajša rok trajanja.
- Celoten zamrzovalni predel je primeren za shranjevanje zamrznjenih živilskih izdelkov.
- Pustite dovolj prostora okoli hrane, da lahko zrak prosto kroži.
- Za ustrezno shranjevanje si oglejte etiketo na embalaži živila, da preverite rok trajanja živila.
- Živila je treba zaviti tako, da preprečite vdor vode, vlage ali kondenzacije.
Nakupovalni nasveti
Po nakupu živil:
- Prepričajte se, da embalaža ni poškodovana - hrana bi se lahko poslabšala. Če je embalaža nabrekla ali mokra, morda ni bila shranjena v optimalnih pogojih in se je odtaljevanje morda že začelo.
- Da bi omejili postopek odtaljevanja, kupite zamrznjeno blago ob koncu nakupa živil in ga prevažajte v termoizolirani hladilni torbi.
- Zamrznjeno hrano takoj po prihodu iz trgovine položite v zamrzovalnik.
- Če se je hrana celo delno odtalila, je ne zamrzujte ponovno. Porabite jo čim prej.
- Upoštevajte rok uporabnosti in informacije o shranjevanju na embalaži.
Rok trajanja za zamrzovalni predel
| Vrsta hrane | Rok trajanja (meseci) | ||||
| Kruh | 3 | ||||
| Sadje (razen citrusov) | 6 - 12 | ||||
| Zelenjava | 8 - 10 | ||||
| Ostanki brez mesa | 1 - 2 | ||||
| Mlečni izdelki: | |||||
| Maslo Mehak sir (npr. mocarela) Trdi sir (npr. parmezan, čedar) | 6 - 9 3 - 4 6 | ||||
| Morska hrana: | |||||
| Mastne ribe (npr. losos, skuša) Puste ribe (npr. trska, iverka) Kozice Olupine školjke in klapavice Kuhana riba | 2 - 3 4 - 6 12 3 - 4 1 - 2 | ||||
| Meso: | |||||
| Perutnina Govedina Svinjetina Jagnjetina Klobase Šunka Ostanki z mesom | 9 - 12 6 - 12 4 - 6 6 - 9 1 - 2 1 - 2 2 - 3 | ||||
Nasveti za hlajenje sveže hrane
- Dobra nastavitev temperature, ki zagotavlja ohranitev sveže hrane, je temperatura, manjša ali enaka +4 °C. Višja nastavitev temperature v aparatu lahko skrajša rok trajanja hrane.
- Hrano pokrijte z embalažo, da ohranite njeno svežino in aromo.
- Vedno uporabljajte zaprte posode za tekočine in za živila, da preprečite okuse ali vonjave v predelu.
- Da bi se izognili navzkrižni kontaminaciji med kuhano in surovo hrano, pokrijte kuhano hrano in jo ločite od surove.
- Priporočljivo je, da hrano odtalite v hladilniku.
- V aparat ne vstavljajte vroče hrane. Prepričajte se, da se je ohladila na sobno temperaturo, preden jo vstavite.
- Da bi preprečili zavrženo hrano, je treba nove zaloge hrane vedno postaviti za staro.
Nasveti za hlajenje hrane
- Predel za svežo hrano je označen (na tipski ploščici) z
![]()
- Meso (vse vrste): zavijte v primerno embalažo in ga položite na stekleno polico nad predalom za zelenjavo. Meso shranjujte največ 1-2 dni.
- Sadje in zelenjava: temeljito očistite (odstranite zemljo) in ga položite v poseben predal (predal za zelenjavo).
- Priporočljivo je, da eksotičnega sadja, kot so banane, mango, papaja itd., ne hranite v hladilniku.
- Zelenjave, kot so paradižnik, krompir, čebula in česen, ne smete hraniti v hladilniku.
- Maslo in sir: položite v nepredušno posodo ali zavijte v aluminijasto folijo ali polietilensko vrečko, da izključite čim več zraka.
- Steklenice: jih zaprite s pokrovčkom in jih postavite na polico za steklenice na vratih ali (če je na voljo) na stojalo za steklenice.
- Vedno si oglejte rok uporabnosti izdelkov, da veste, kako dolgo jih lahko hranite.
NEGA IN ČIŠČENJE
| Glejte poglavja o varnosti. |
Čiščenje notranjosti
Pred prvo uporabo aparata je treba notranjost in vso notranjo opremo oprati z mlačno vodo in nevtralnim milom, da odstranite značilen vonj novega izdelka, nato pa temeljito posušite.
Ne uporabljajte detergentov, abrazivnih praškov, klora ali čistil na osnovi olja, ker bodo poškodovali površino.
| Dodatna oprema in deli aparata niso primerni za pranje v pomivalnem stroju. |
Redno čiščenje
Opremo je treba redno čistiti:
- Notranjost in opremo očistite z mlačno vodo in nevtralnim milom.
- Redno preverjajte tesnila vrat in jih obrišite, da so čista in brez ostankov.
- Sperite in temeljito posušite.
Odtaljevanje hladilnika
Med normalno uporabo se led samodejno odstrani iz uparjalnika hladilnega dela. Odtaljena voda odteka skozi korito v posebno posodo na zadnji strani aparata, nad motornim kompresorjem, kjer izhlapi.
Pomembno je, da redno čistite odtočno luknjo za odtaljeno vodo na sredini kanala hladilnega dela, da preprečite prelivanje vode in kapljanje na hrano v notranjosti.
V ta namen uporabite cevni čistilec, ki je priložen aparatu.

Odtaljevanje zamrzovalnika
| Nikoli ne uporabljajte ostrih kovinskih orodij za strganje ledu z uparjalnika, ker ga lahko poškodujete. Ne uporabljajte mehanskih naprav ali drugih umetnih sredstev za pospešitev procesa odtaljevanja, razen tistih, ki jih priporoča proizvajalec. Priloženega strgala za led ne uporabljajte za pripravo hrane. |
| |
Na policah zamrzovalnika in okoli zgornjega dela se bo vedno nabrala določena količina ledu.
Zamrzovalnik odtalite, ko plast ledu doseže debelino približno 3–5 mm.
- Izklopite aparat ali izvlecite električni vtič iz vtičnice.
- Odstranite vso shranjeno hrano in jo postavite na hladno mesto.
| Povišanje temperature zamrznjenih živil med odtaljevanjem lahko skrajša njihovo varno shranjevanje. Ne dotikajte se zamrznjenih živil z mokrimi rokami. Roke se lahko zamrznejo na živila. |
- Pustite vrata odprta. Zaščitite tla pred odtaljeno vodo, npr. s krpo ali plitvo posodo.
- Za pospešitev postopka odtaljevanja postavite posodo s toplo vodo v zamrzovalni del. Poleg tega odstranite kose ledu, ki se odlomijo, preden je odtaljevanje končano. Za ta namen uporabite priloženo strgalo za led.
- Ko je odtaljevanje končano, temeljito posušite notranjost. Shranite strgalo za led za prihodnjo uporabo.
- Vklopite aparat in zaprite vrata.
- Nastavite regulator temperature na največjo hladnost in pustite aparat delovati vsaj 3 ure s to nastavitvijo.
Šele po tem času vrnite hrano v zamrzovalni del.
Obdobje neuporabe
Ko aparata dlje časa ne uporabljate, upoštevajte naslednje varnostne ukrepe:
- Izključite aparat iz električnega omrežja.
- Odstranite vso hrano.
- Odtalite aparat.
- Očistite aparat in vso opremo.
- Pustite vrata odprta, da preprečite neprijetne vonjave.
ODPRAVLJANJE TEŽAV
| Glejte poglavja o varnosti. |
Kaj storiti, če ...
| Težava | Možen vzrok | Rešitev |
| Aparat ne deluje. | Aparat je izklopljen. | Vklopite aparat. |
| Omrežni vtič ni pravilno priključen v omrežno vtičnico. | Pravilno priključite omrežni vtič v omrežno vtičnico. | |
| V omrežni vtičnici ni napetosti. | Priključite drug električni aparat v omrežno vtičnico. Obrnite se na kvalificiranega električarja. | |
| Aparat je glasen. | Aparat ni pravilno podprt. | Preverite, ali aparat stoji stabilno. |
| Vklopljen je zvočni ali vizualni alarm. | Ohišje je bilo pred kratkim vklopljeno. | Glejte »Alarm za visoko temperaturo« ali »Alarm za odprta vrata«. |
| Temperatura v aparatu je previsoka. | Glejte »Alarm za visoko temperaturo« ali »Alarm za odprta vrata«. | |
| Vrata so ostala odprta. | Zaprite vrata. | |
| Kompresor deluje neprekinjeno. | Temperatura je nepravilno nastavljena. | Glejte poglavje »Nadzorna plošča«. |
| Veliko živil je bilo danih noter hkrati. | Počakajte nekaj ur in ponovno preverite temperaturo. | |
| Temperatura v prostoru je previsoka. | Glejte poglavje »Namestitev«. | |
| Živila, ki so bila postavljena v aparat, so bila pretopla. | Pustite, da se živila ohladijo na sobno temperaturo, preden jih shranite. | |
| Vrata niso pravilno zaprta. | Glejte razdelek »Zapiranje vrat«. | |
| Funkcija FastFreeze je vklopljena. | Glejte razdelek »Funkcija FastFreeze«. | |
| Kompresor se ne zažene takoj po pritisku na »FastFreeze« ali po spremembi temperature. | Kompresor se zažene po določenem času. | To je normalno, ni prišlo do napake. |
| Vrata so neusklajena ali ovirajo rešetko za prezračevanje. | Aparat ni izravnan. | Glejte navodila za namestitev. |
| Vrat se ne da enostavno odpreti. | Poskušali ste ponovno odpreti vrata takoj po zapiranju. | Počakajte nekaj sekund med zapiranjem in ponovnim odpiranjem vrat. |
| Svetilka ne deluje. | Svetilka je v stanju pripravljenosti. | Zaprite in odprite vrata. |
| Svetilka je okvarjena. | Obrnite se na najbližji pooblaščeni servisni center. | |
| Preveč je zmrzali in ledu. | Vrata niso pravilno zaprta. | Glejte razdelek »Zapiranje vrat«. |
| Tesnilo je deformirano ali umazano. | Glejte razdelek »Zapiranje vrat«. | |
| Živila niso pravilno zavita. | Bolje zavijte živila. | |
| Temperatura je nepravilno nastavljena. | Glejte poglavje »Nadzorna plošča«. | |
| Aparat je popolnoma naložen in nastavljen na najnižjo temperaturo. | Nastavite višjo temperaturo. Glejte poglavje »Nadzorna plošča«. | |
| Temperatura, nastavljena v aparatu, je prenizka, temperatura okolice pa previsoka. | Nastavite višjo temperaturo. Glejte poglavje »Nadzorna plošča«. | |
| Voda teče po zadnji plošči hladilnika. | Med postopkom samodejnega odtaljevanja se zmrzal topi na zadnji plošči. | To je pravilno. |
| Na zadnji steni hladilnika je preveč kondenzirane vode. | Vrata so bila prepogosto odprta. | Odprite vrata samo, ko je to potrebno. |
| Vrata niso bila popolnoma zaprta. | Prepričajte se, da so vrata popolnoma zaprta. | |
| Shranjena hrana ni bila zavita. | Živila zavijte v primerno embalažo, preden jih shranite v aparatu. | |
| Voda teče v hladilniku. | Živila preprečujejo, da bi voda stekla v zbiralnik vode. | Prepričajte se, da se živila ne dotikajo zadnje plošče. |
| Odtok za vodo je zamašen. | Očistite odtok za vodo. | |
| Voda teče po tleh. | Odtok za talilno vodo ni priključen na posodo za izhlapevanje nad kompresorjem. | Priključite odtok za talilno vodo na posodo za izhlapevanje. |
| Temperature ni mogoče nastaviti. | Funkcija FastFreeze je vklopljena. | Ročno izklopite funkcijo FastFreeze ali počakajte, da se funkcija samodejno izklopi, da nastavite temperaturo. Glejte razdelek »Funkcija FastFreeze«. |
| Temperatura v aparatu je prenizka/previsoka. | Temperatura ni pravilno nastavljena. | Nastavite višjo/nižjo temperaturo. |
| Vrata niso pravilno zaprta. | Glejte razdelek »Zapiranje vrat«. | |
| Temperatura živil je previsoka. | Pred shranjevanjem pustite, da se temperatura živil zniža na sobno temperaturo. | |
| Veliko živil je shranjenih hkrati. | Hkrati shranite manj živil. | |
| Debelina zmrzali je večja od 4–5 mm. | Odtalite aparat. | |
| Vrata so bila pogosto odprta. | Odprite vrata samo, če je to potrebno. | |
| Funkcija FastFreeze je vklopljena. | Glejte razdelek »Funkcija FastFreeze«. | |
| V aparatu ni kroženja hladnega zraka. | Prepričajte se, da v aparatu kroži hladen zrak. Glejte poglavje »Nasveti in priporočila«. | |
| LED-diode za nastavitev temperature hkrati utripajo. | Prišlo je do napake pri merjenju temperature. | Obrnite se na najbližji pooblaščeni servisni center. Hladilni sistem bo še naprej ohranjal živila hladna, vendar nastavitev temperature ne bo mogoča. |
Če nasvet ne pripelje do želenega rezultata, pokličite najbližji pooblaščeni servisni center.
Zamenjava žarnice
Aparat je opremljen z notranjo LED-lučko z dolgo življenjsko dobo.
Samo serviser lahko zamenja svetilko. Obrnite se na pooblaščeni servisni center.
Zapiranje vrat
- Očistite tesnila vrat.
- Po potrebi nastavite vrata. Glejte navodila za namestitev.
- Po potrebi zamenjajte okvarjena tesnila vrat. Obrnite se na pooblaščeni servis.
HRUP

TEHNIČNI PODATKI
Tehnične informacije se nahajajo na tablici s podatki na notranji strani aparata in na energijski nalepki.
Koda QR na energijskih nalepkah EU in Združenega kraljestva, ki so priložene aparatu, omogoča spletno povezavo do informacij, povezanih z zmogljivostjo aparata. Za energijsko nalepko z zastavo EU je mogoče informacije najti tudi v podatkovni bazi EU EPREL s povezavo https://eprel.ec.europa.eu ter z imenom modela in številko izdelka, ki ju najdete na tablici s podatki na aparatu. Energijske nalepke shranite skupaj z navodili za uporabo in vsemi drugimi dokumenti, priloženimi temu aparatu.
VARNOSTNE INFORMACIJE
Pred namestitvijo in uporabo aparata natančno preberite priložena navodila. Proizvajalec ne odgovarja za poškodbe ali škodo, ki nastanejo zaradi nepravilne namestitve ali uporabe. Navodila vedno hranite na varnem in dostopnem mestu za prihodnjo uporabo.
Varnost otrok in ranljivih oseb
- Ta aparat lahko uporabljajo otroci, stari 8 let in več, ter osebe z zmanjšanimi telesnimi, senzoričnimi ali duševnimi sposobnostmi ali s pomanjkanjem izkušenj in znanja, če so dobili navodila ali usposabljanje o varni uporabi aparata in razumejo nevarnosti, ki so s tem povezane.
- Otroci, stari od 3 do 8 let, lahko nalagajo in razkladajo aparat, pod pogojem, da so bili ustrezno poučeni.
- Ta aparat lahko uporabljajo osebe z zelo obsežnimi in kompleksnimi invalidnostmi, pod pogojem, da so bile ustrezno poučene.
- Otroke, mlajše od 3 let, je treba hraniti stran od aparata, razen če so pod stalnim nadzorom.
- Otroke je treba nadzorovati, da se zagotovi, da se ne igrajo z aparatom.
- Otroci ne smejo izvajati čiščenja in vzdrževanja aparata brez nadzora.
- Vso embalažo hranite stran od otrok in jo ustrezno zavrzite.
Splošna varnost
- Ta aparat je namenjen samo shranjevanju hrane in pijače.
- Ta aparat je zasnovan za uporabo v gospodinjstvih v zaprtih prostorih.
- Ta aparat se lahko uporablja v pisarnah, hotelskih sobah, sobah za goste v prenočiščih z zajtrkom, sobah za goste na kmetijah in drugih podobnih nastanitvah, kjer taka uporaba ne presega (povprečnih) ravni domače uporabe.
- Da bi se izognili kontaminaciji hrane, upoštevajte naslednja navodila:
- ne odpirajte vrat za dalj časa;
- redno čistite površine, ki lahko pridejo v stik s hrano, in dostopne drenažne sisteme;
- surovo meso in ribe shranjujte v primernih posodah v hladilniku, da ne pridejo v stik z drugo hrano ali kapljajo nanjo.
Prezračevalne odprtine v ohišju aparata ali v vgradni konstrukciji ne smejo biti ovirane.
Ne uporabljajte mehanskih naprav ali drugih sredstev za pospeševanje postopka odtaljevanja, razen tistih, ki jih priporoča proizvajalec.
Ne poškodujte kroga hladilnega sredstva.
Ne uporabljajte električnih aparatov v notranjosti predelkov za shranjevanje hrane v aparatu, razen če so tisti, ki jih priporoča proizvajalec.- Za čiščenje aparata ne uporabljajte vodnega pršila in pare.
- Aparat očistite z vlažno mehko krpo. Uporabljajte samo nevtralne detergente. Ne uporabljajte abrazivnih izdelkov, abrazivnih čistilnih blazinic, topil ali kovinskih predmetov.
- Ko je aparat dalj časa prazen, ga izklopite, odtalite, očistite, posušite in pustite vrata odprta, da preprečite nastanek plesni v aparatu.
- V tem aparatu ne shranjujte eksplozivnih snovi, kot so pločevinke z aerosolom z vnetljivim potisnim plinom.
- Če je napajalni kabel poškodovan, ga mora zamenjati proizvajalec, njegov pooblaščeni servisni center ali podobno usposobljene osebe, da se izognete nevarnosti.
VARNOSTNA NAVODILA
| To napravo sme namestiti samo usposobljena oseba. |
Namestitev
- Odstranite vso embalažo.
- Ne nameščajte ali uporabljajte poškodovane naprave.
- Naprave ne uporabljajte, preden jo namestite v vgrajeno konstrukcijo, zaradi varnosti.
- Upoštevajte navodila za namestitev, ki so priložena napravi.
- Pri premikanju naprave vedno bodite previdni, saj je težka. Vedno uporabljajte zaščitne rokavice in zaprto obutev.
- Prepričajte se, da zrak lahko kroži okoli naprave.
- Ob prvi namestitvi ali po obračanju vrat počakajte vsaj 4 ure, preden priključite napravo na električno omrežje. S tem omogočite, da se olje vrne v kompresor.
- Preden začnete izvajati kakršna koli dela na napravi (npr. obračanje vrat), odstranite vtič iz električne vtičnice.
- Ne nameščajte naprave blizu radiatorjev ali kuhalnikov, pečic ali kuhalnih plošč, razen če je v navodilih za namestitev drugače določeno.
- Ne izpostavljajte naprave dežju.
- Ne nameščajte naprave na mestih, kjer je neposredna sončna svetloba.
- Ne nameščajte te naprave na območjih, ki so preveč vlažna ali prehladna.
- Ko premikate napravo, jo dvignite za sprednji rob, da ne opraskate tal.
Električna povezava
| Nevarnost požara in električnega udara. |
| Pri nameščanju naprave pazite, da napajalni kabel ni ujet ali poškodovan. |
| Ne uporabljajte adapterjev z več vtiči in podaljškov. |
Nevarnost poškodb, opeklin, električnega udara ali požara. |
- Naprava mora biti ozemljena.
- Prepričajte se, da se parametri na nazivni ploščici ujemajo z električnimi karakteristikami električnega omrežja.
- Vedno uporabljajte pravilno nameščeno vtičnico z zaščito pred električnim udarom.
- Pazite, da ne poškodujete električnih komponent (npr. omrežni vtič, omrežni kabel, kompresor). Za zamenjavo električnih komponent se obrnite na pooblaščeni servisni center ali električarja.
- Omrežni kabel mora biti nameščen pod nivojem omrežnega vtiča.
- Priključite omrežni vtič v omrežno vtičnico šele na koncu namestitve. Prepričajte se, da je dostop do omrežnega vtiča po namestitvi omogočen.
- Ne vlecite omrežnega kabla, da odklopite napravo. Vedno povlecite omrežni vtič.
Uporaba
Nevarnost poškodb, opeklin, električnega udara ali požara.
Naprava vsebuje vnetljiv plin, izobutan (R600a), naravni plin z visoko stopnjo okoljske združljivosti. Pazite, da ne poškodujete hladilnega kroga, ki vsebuje izobutan.
- Ne spreminjajte specifikacij te naprave.
- Vsakršna uporaba vgrajenega izdelka kot samostoječega je strogo prepovedana.
- Ne postavljajte električnih naprav (npr. aparatov za sladoled) v napravo, razen če proizvajalec navede, da so primerne.
- Če pride do poškodbe hladilnega kroga, se prepričajte, da v prostoru ni plamenov in virov vžiga. Prezračite prostor.
- Ne dovolite, da se vroči predmeti dotikajo plastičnih delov naprave.
- Ne shranjujte brezalkoholnih pijač v zamrzovalnem delu. To bo ustvarilo pritisk na posodo za pijačo.
- Ne shranjujte vnetljivega plina in tekočine v napravi.
- Ne postavljajte vnetljivih izdelkov ali predmetov, ki so mokri od vnetljivih izdelkov, v, blizu ali na napravo.
- Ne dotikajte se kompresorja ali kondenzatorja. Sta vroča.
- Ne odstranjujte ali se dotikajte predmetov iz zamrzovalnega dela, če so vaše roke mokre ali vlažne.
- Ne zamrzujte ponovno hrane, ki je bila odtaljena.
- Upoštevajte navodila za shranjevanje na embalaži zamrznjene hrane.
- Zavijte hrano v material, ki je primeren za stik s hrano, preden jo daste v zamrzovalni del.
Notranja osvetlitev
| Nevarnost električnega udara. |
- Ta izdelek vsebuje enega ali več svetlobnih virov energijskega razreda G.
- Glede svetilke(k) znotraj tega izdelka in nadomestnih svetilk, ki se prodajajo ločeno: Te svetilke so namenjene prenesti ekstremne fizične pogoje v gospodinjskih aparatih, kot so temperatura, vibracije, vlaga, ali so namenjene za signaliziranje informacij o stanju delovanja naprave. Niso namenjene za uporabo v drugih aplikacijah in niso primerne za osvetljevanje gospodinjskih prostorov.
Nega in čiščenje
| Nevarnost poškodb ali okvare naprave. |
- Pred vzdrževanjem izklopite napravo in odklopite omrežni vtič iz omrežne vtičnice.
- Ta naprava vsebuje ogljikovodike v hladilni enoti. Samo usposobljena oseba sme opravljati vzdrževanje in polnjenje enote.
- Redno pregledujte odtok naprave in ga po potrebi očistite. Če je odtok zamašen, se odtaljena voda zbira na dnu naprave.
Servis
- Za popravilo naprave se obrnite na pooblaščeni servisni center. Uporabljajte samo originalne nadomestne dele.
- Upoštevajte, da lahko imata samopopravilo ali neprofesionalno popravilo varnostne posledice in lahko razveljavita garancijo.
- Naslednji nadomestni deli bodo na voljo 7 let po tem, ko model ne bo več v proizvodnji: termostati, temperaturni senzorji, tiskana vezja, svetlobni viri, ročaji vrat, tečaji vrat, pladnji in košare. Upoštevajte, da so nekateri od teh nadomestnih delov na voljo samo profesionalnim serviserjem in da vsi nadomestni deli niso pomembni za vse modele.
- Tesnila vrat bodo na voljo 10 let po tem, ko model ne bo več v proizvodnji.
Odstranjevanje
Nevarnost poškodb ali zadušitve.
- Odklopite napravo iz električnega omrežja.
- Odrežite omrežni kabel in ga zavrzite.
- Odstranite vrata, da preprečite, da bi otroci in hišni ljubljenčki bili zaprti v notranjosti naprave.
- Hladilni krog in izolacijski materiali te naprave so okolju prijazni.
- Izolacijska pena vsebuje vnetljiv plin. Za informacije o pravilnem načinu odstranjevanja naprave se obrnite na vašo občinsko upravo.
- Ne poškodujte dela hladilne enote, ki je blizu toplotnega izmenjevalnika.
zanussi.com\register
OBišČITE NAŠO SPLETNO STRAN ZA:

Dobite nasvete za uporabo, brošure, reševalec težav, informacije o servisiranju in popravilu:
www.zanussi.com/support
Pridržujemo si pravico do sprememb brez predhodnega obvestila.
Reference
Prenesi navodilo
Tukaj lahko prenesete polno pdf različico navodila, ki lahko vsebuje dodatna varnostna navodila, informacije o garanciji, FCC pravila itd.
Prenesi Zanussi ZNLN14ES - Navodila za vgradni hladilnik z zamrzovalnikom

.