VTech VM981 - Wi-Fi HD Video Monitor o'rnatish bo'yicha qo'llanma
- 1 Kirish
- 2 Qutida nima bor
- 3 Talablar
- 4 Umumiy ko'rinish
- 5 Tizim qanday ishlaydi
- 6 Maxfiyligingizni va onlayn xavfsizligingizni himoya qiling
- 7 Ulanish
- 8 micro SD kartani joylashtiring (ixtiyoriy)
- 9 HD video monitorni sozlang
- 10 Kamera blokining joylashuvini tekshiring
- 11 Ishlatishdan oldin
- 12 Yangi kamera blokini ulash
- 13 Mahsulotga umumiy g'amxo'rlik
- 14 Saqlash
- 15 Tez-tez beriladigan savollar
- 16 Cheklangan kafolat
- 17 Texnik xususiyatlar
- 18 Manbalar
- 19 Qo'llanmani yuklab olish
- 20 Boshqa tillarda

Kirish
Yangi VTech mahsulotini sotib olganingiz bilan tabriklaymiz!
Ushbu HD video monitordan foydalanishdan oldin, iltimos, Muhim xavfsizlik ko'rsatmalarini o'qing.
Qo'llab-quvvatlash, xaridlar va VTechdagi barcha yangiliklar uchun bizning veb-saytimizga tashrif buyuring: www.vtechcanada.com.
VTech Wi-Fi HD Video Monitor siz harakatda bo'lganingizda yoki uzoqda bo'lganingizda ham chaqalog'ingizga yaqin bo'lishingizga imkon beradi.
Ushbu monitor Wi-Fi bilan ta'minlangan bo'lib, u HD kamera bloki va 5 dyuymli sensorli ekranli ota-ona bloki orqali jonli video va audioni uzatish uchun uy simsiz tarmog'ingizdan foydalanadi. Bu sizga chaqalog'ingiz bilan doimiy aloqani saqlashga imkon beradi.
Bundan tashqari, smartfon va mobil planshetingizdan ham kuzatishingiz mumkin.
VTech Wi-Fi HD Video Monitor MyVTech Baby ilovasidan foydalanadi, bu sizga dunyoning istalgan nuqtasidan chaqalog'ingiz bilan nima bo'layotganini darhol ko'rish va eshitish imkonini beradi.
Ilovani smartfon yoki mobil planshetingizdan to'g'ridan-to'g'ri App Store yoki Google PlayTM Store dan yuklab olishingiz mumkin.
Qutida nima bor
Sizning HD video monitor to'plamingiz quyidagi elementlarni o'z ichiga oladi. Kafolat xizmati zarur bo'lganda, sotuv chekingizni va asl qadoqlashni saqlang.

Talablar
Tizimingiz quyidagi komponentlarni o'z ichiga olishiga va ular minimal talablarga javob berishiga ishonch hosil qiling.
| Tarmoq | Wi-Fi |
| Wi-Fi router | 2.4GHz IEEE 802.11 b/g/n |
| Internetga ulanish | Har bir kamera uchun kamida 1.0 Mbps yuklash o'tkazuvchanligi |
| Ota-ona bloki | 4 tagacha kamera blokini ulang |
| MyVTech Baby mobil ilovasi | 10 tagacha kamera blokini ulang |
Umumiy ko'rinish
Kamera blokining umumiy ko'rinishi

| 1 | Yorug'lik sensori |
| 2 | Infraqizil LEDlar
|
| 3 | Kamera linzalari |
| 4 | LED indikatorlari
MASLAHAT
|
| 5 | Mikrofon |

| 6 | Quvvat ulagichi |

| 7 |
Ulash/qayta o'rnatish tugmasi
|
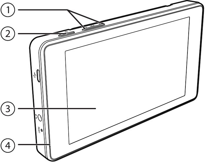
Ota-ona blokining umumiy ko'rinishi

| 1 | + / VOL / - |
|
|
| 2 |
|
| 3 | 5 dyuymli sensorli ekranli monitor
|
| 4 | Mikrofon |

| 5 | Antenna |
| 6 | Dinamik |
| 7 |
micro SD karta uyasi
|
| 8 |
QAYTA O'RNATISH
|
| 9 |
3.5 mm audio ulagich
|
| 10 |
Micro USB 2.0 porti
|
Tizim qanday ishlaydi
Wi-Fi router (qo'shilmagan) HD video monitor tizimingizga Internetga ulanish imkonini beradi. U kamera bloki va ota-ona bloki o'rtasida aloqa kanali bo'lib xizmat qiladi va sizga qayerda bo'lsangiz ham kamera blokini kuzatish va/yoki boshqarish imkonini beradi.

Maxfiyligingizni va onlayn xavfsizligingizni himoya qiling
VTech sizning maxfiyligingiz va xotirjamligingiz haqida qayg'uradi. Shuning uchun biz simsiz ulanishingizni maxfiy saqlashga va onlayn rejimda qurilmalaringizni himoya qilishga yordam beradigan sanoat tomonidan tavsiya etilgan eng yaxshi amaliyotlar ro'yxatini tuzdik. Quyidagi maslahatlarni diqqat bilan ko'rib chiqishingizni va ularga rioya qilishingizni tavsiya qilamiz.
Simsiz ulanishingiz xavfsiz ekanligiga ishonch hosil qiling.
- Qurilmani o'rnatishdan oldin, routeringizning simsiz signali routeringizning simsiz xavfsizlik menyusida "WPA2-PSK with AES" sozlamasini tanlash orqali shifrlanganligiga ishonch hosil qiling.
Standart sozlamalarni o'zgartiring.
- Simsiz routeringizning standart simsiz tarmoq nomini (SSID) noyob narsaga o'zgartiring.
- Standart parollarni noyob, kuchli parollarga o'zgartiring. Kuchli parol:
- Kamida 10 ta belgidan iborat.
- Murakkab.
- Lug'at so'zlari yoki shaxsiy ma'lumotlarni o'z ichiga olmaydi.
- Katta harflar, kichik harflar, maxsus belgilar va raqamlar aralashmasini o'z ichiga oladi.
Qurilmalaringizni yangilab turing.
- Ishlab chiqaruvchilardan xavfsizlik yamoqlarini ular mavjud bo'lishi bilanoq yuklab oling. Bu sizda har doim eng so'nggi xavfsizlik yangilanishlari bo'lishini ta'minlaydi.
- Agar funksiya mavjud bo'lsa, kelajakdagi versiyalar uchun avtomatik yangilanishlarni yoqing.
Routeringizda Universal Plug and Play (UPnP) ni o'chiring.
- Routerda yoqilgan UPnP sizning aralashuvingiz yoki roziligingizsiz boshqa tarmoq qurilmalariga kiruvchi portlarni ochishga ruxsat berish orqali xavfsizlik devoringizning samaradorligini cheklashi mumkin. Virus yoki boshqa zararli dastur butun tarmoq xavfsizligini buzish uchun ushbu funksiyadan foydalanishi mumkin.
Simsiz ulanishlar va ma'lumotlaringizni himoya qilish haqida ko'proq ma'lumot olish uchun sanoat mutaxassislarining quyidagi resurslarini ko'rib chiqing:
- Federal Aloqa Komissiyasi: Simsiz ulanishlar va Bluetooth xavfsizligi
Maslahatlar –
www.fcc.gov/consumers/guides/how-protectyourself-online. - AQSh Ichki Xavfsizlik Departamenti: Yangi kompyuterni Internetga ulashdan oldin –
www.us-cert.gov/ncas/tips/ST15-003. - Federal Savdo Komissiyasi: IP kameralardan xavfsiz foydalanish –
https://www.consumer.ftc.gov/articles/0382using-ip-cameras-safely. - Wi-Fi Alyansi: Wi-Fi Xavfsizligini kashf eting –
http://www.wi-fi.org/discover-wi-fi/security.
Ulanish
ESLATMALAR
- Faqat ushbu mahsulot bilan birga taqdim etilgan quvvat adapterlaridan foydalaning.
- Elektr rozetkalari devor kalitlari bilan boshqarilmasligiga ishonch hosil qiling.
- Quvvat adapterlari vertikal yoki polga o'rnatilgan holatda to'g'ri yo'naltirilishi uchun mo'ljallangan. Agar vilkalar shipga, stol ostiga yoki shkaf rozetkasiga ulangan bo'lsa, tishlar vilkani joyida ushlab turish uchun mo'ljallanmagan.
- Ota-ona bloki, kamera bloki va quvvat adapteri shnurlari bolalar qo'li etmaydigan joyda ekanligiga ishonch hosil qiling.
Kamera blokini ulang
Wi-Fi ulanishi
ESLATMALAR
- Kamera blokini ulashdan oldin, Internetga ulanishingiz va Wi-Fi routeringiz (IEEE 802.11 b/g/n) borligiga ishonch hosil qiling. To'lovlar qo'llaniladi va Internetga ulanish uchun xizmat rejasi farq qilishi mumkin. Router qo'shilmagan.
- FCCning RF ta'sir qilish bo'yicha ko'rsatmalariga rioya qilishni ta'minlash uchun kamera blokini yaqin atrofdagi odamlardan kamida 20 sm uzoqlikda joylashtiring.
- Quvvat adapterini kamera blokiga va quvvat manbaiga ulang.
![VTech - VM981 - Quvvat adapterini kamera blokiga ulang Quvvat adapterini kamera blokiga ulang]()
- Kamera blokini kerakli joyga qo'ying.
![VTech - VM981 - Kamera blokini joylashtiring Kamera blokini joylashtiring]()
ESLATMA
- Kamera blokini o'chirish uchun kamera blokini quvvat manbaidan uzing.
Ota-ona blokini ulang va zaryadlang

Ishlatishdan oldin zaryadlang
ESLATMALAR
- Ishlatishdan oldin ota-ona blokini zaryadlang. Ota-ona bloki 3 soat uzluksiz zaryadlashdan keyin to'liq zaryadlanadi.
- Ota-ona bloki yoqilganda zaryadlash uzoqroq davom etadi. Zaryadlash vaqtini qisqartirish uchun zaryadlash vaqtida ota-ona blokini o'chiring.
- Kutish vaqti sizning haqiqiy foydalanishingizga qarab farq qiladi.
Ota-ona bloki to'liq zaryadlanganidan so'ng, yoqish uchun bosib turing
tugmasini bosing.

Batareya belgisi batareya holatini ko'rsatadi (quyidagi jadvalga qarang).
| Batareya indikatorlari | Batareya holati | Harakat |
Ekran ni ko'rsatadi.
|
Batareya juda kam zaryadlangan va faqat qisqa vaqt davomida ishlatilishi mumkin. | Uzluksiz zaryadlang (taxminan 30 daqiqa). |
Batareya belgisi qattiq ga aylanadi.
|
Batareya to'liq zaryadlangan. |
Batareyani zaryadlangan holda saqlash uchun, foydalanilmayotganda uni AC quvvatiga ulang. |
micro SD kartani joylashtiring (ixtiyoriy)
Ota-ona blokiga micro SD kartani joylashtiring (ixtiyoriy).
Sizning ota-ona blokingiz kamera bilan qo'lda olingan suratlar va yozib olingan videolarni saqlashga imkon beruvchi 4GB ichki flesh-xotira bilan birga keladi. Ko'proq saqlash imkoniyatiga ega bo'lish uchun ota-ona blokiga micro SD karta ham joylashtirishingiz mumkin.
ESLATMA
- Ichki flesh-xotiraning bir qismi ota-ona blokining operatsion tizimi va ma'lumotlarni saqlash uchun ishlatiladi. Mavjud xotira hajmi 4GB dan kam bo'ladi.

HD video monitorni sozlang
Ota-ona blokini va kamera blokini ulaganingizdan so'ng, HD video monitor tizimini sozlash uchun to'plamingizga kiritilgan Tezkor ishga tushirish qo'llanmasiga murojaat qiling.
HD video monitor sozlamalari:
- Wi-Fi ulanishini sozlang
- Kamerani qo'shing
Kamera blokining joylashuvini tekshiring
Kamera blokini o'rnatishdan oldin, uy ichidagi tanlangan kuzatuv joylaringizdan qaysi birida Wi-Fi signalining kuchi yaxshi ekanligini tekshirishingiz kerak. Ota-ona blokini Wi-Fi tarmog'iga ulaganingizdan so'ng, tekshirishda yordam berish uchun ota-ona blokining Wi-Fi signal kuchi indikatoridan foydalanishingiz mumkin. Tegishli joyni aniqlaganingizdan so'ng, kamera blokini o'rnatishingiz mumkin. Agar kerak bo'lsa, kamera bloki va Wi-Fi routeri orasidagi masofani sozlang.

MASLAHAT
- Atrof-muhit va to'siq bo'luvchi omillarga qarab, masalan, masofa va ichki devorlarning signal kuchiga ta'siri, siz Wi-Fi signalining pasayishini his qilishingiz mumkin. Wi-Fi signalining kuchini yaxshilash uchun ota-ona blokining masofasini yoki yo'nalishini sozlang.
Ota-ona blokingiz bilan yana tekshiring.
Ishlatishdan oldin
DIQQAT
- Ushbu HD video monitor yordamchi vosita sifatida mo'ljallangan. U kattalar nazoratining o'rnini bosa olmaydi va shunday ishlatilmasligi kerak.
HD video monitorning ovoz darajasini tekshirish

- Eshitishni himoya qilish uchun, ota-ona bloki kamera blokidan 1 metrdan (3 fut) uzoqroq bo'lishiga ishonch hosil qiling. Agar kamera blokining "Play sound" (ovozni ijro etish) funksiyasi yoqilganda ota-ona blokidan yuqori tonli shovqin eshitsangiz, shovqin to'xtaguncha ota-ona blokini uzoqroqqa suring. Shuningdek, shovqinni pasaytirish yoki o'chirish uchun ota-ona blokidagi -/VOL tugmasini bosishingiz mumkin.
MASLAHAT
- Agar "Play sound" (ovozni ijro etish) funksiyasi yoqilganda kamera blokidan uzatilayotgan tovushlarni eshita olmasangiz, ota-ona bloki dinamikining ovozini oshiring.

HD video monitorni joylashtirish
- Kamera blokini chaqalog'ingizning qo'li yetmaydigan joyda saqlang. Kamera blokini hech qachon chaqaloqning karavotiga yoki o'yin maydonchasiga joylashtirmang yoki o'rnatmang.
- Kamera blokini chaqalog'ingizdan 1 metrdan (3 fut) uzoqroq joyga qo'ying.
![VTech - VM981 - Kamera blokini chaqalog'ingizdan 1 metrdan uzoqroq joyga qo'ying. Kamera blokini chaqalog'ingizdan 1 metrdan uzoqroq joyga qo'ying.]()
- Kameraning burchagini chaqalog'ingizga qaratish uchun qo'lda sozlang.
![VTech - VM981 - Kameraning burchagini qo'lda sozlang Kameraning burchagini qo'lda sozlang]()
- Kamera blokining "Play sound" (ovozni ijro etish) funksiyasi yoqilganda HD video monitordan yuqori tonli qichqiriq shovqinining oldini olish uchun:
- Kamera bloki va ota-ona bloki orasida 1 metrdan (3 fut) ko'proq masofa bo'lishiga ishonch hosil qiling; YOKI
- Ota-ona blokining ovozini pasaytiring.

Yangi kamera blokini ulash
HD video monitor tizimiga istalgan kamera blokini qo'shishingiz yoki almashtirishingiz mumkin.
HD video monitoring oilasiga VM981 va VM991 kiradi. Ularning tegishli kamera bloklari VM980 va VM990 bo'lib, ularni alohida sotib olish mumkin. Ularni oila ichida o'zaro ulash mumkin, masalan, VM981 va VM990 kombinatsiyasiga ega bo'lishingiz mumkin. Ota-ona blokingizga maksimal 4 ta kamera blokini ulashingiz mumkin.
Qo'shimcha ma'lumot olish uchun yangi kamera blokining (VM980 yoki VM990) o'rnatish qo'llanmasiga murojaat qiling. Shuningdek, ota-ona blokining "Help" (yordam) sahifasida HD video monitor tizimining (VM981 yoki VM991) onlayn o'rnatish qo'llanmalari va ilova qo'llanmalariga murojaat qilishingiz mumkin.
DIQQAT
- Ota-ona blokingiz maksimal 4 ta kamera blokini ulashi va ularga kirishi mumkin. MyVTech Baby mobil ilovasi yordamida HD video monitor tizimiga ko'proq kamera bloklarini qo'shishingiz mumkin. Mobil ilovani yuklab oling va kamera hisobini yarating. Keyin, ota-ona blokingizdagi mavjud kamera bloklarini kamera hisobingizga ulash uchun mobil ilovadan foydalanishingiz, shuningdek, hisobingizga qo'shimcha kamera bloklarini ulashingiz mumkin. Mobil ilova 10 tagacha kamera blokini ulashi va ularga kirishi mumkin. Qo'shimcha kamera bloklarini faqat mobil ilova orqali ulash va ularga kirish mumkin.
Mahsulotga umumiy g'amxo'rlik
Ushbu mahsulotning yaxshi ishlashi va ko'rinishini saqlab qolish uchun quyidagi ko'rsatmalarga amal qiling:
- Uni isitish moslamalari va elektr shovqinini hosil qiluvchi qurilmalar (masalan, motorlar yoki lyuminestsent lampalar) yaqiniga qo'ymang.
- Uni to'g'ridan-to'g'ri quyosh nuriga yoki namlikka ta'sir qilmang.
- Mahsulotni tushirib yubormang yoki unga qo'pol munosabatda bo'lmang.
- Yumshoq mato bilan tozalang.
- Kamera blokini suvga botirmang va uni kranning ostida tozalamang.
- Tozalash spreyi yoki suyuq tozalagichlardan foydalanmang.
- Kamera blokini elektr tarmog'iga qayta ulashdan oldin quruq ekanligiga ishonch hosil qiling.
Saqlash
Agar kameradan bir muncha vaqt foydalanmoqchi bo'lmasangiz, kamera blokini va adapterini salqin va quruq joyda saqlang.
Tez-tez beriladigan savollar
Quyida HD video monitor haqida eng ko'p beriladigan savollar keltirilgan. Agar savolingizga quyidagi jadvalda javob topa olmasangiz, www.vtechcanada.com veb-saytimizga tashrif buyuring yoki 1-888-211-2005 raqamiga qo'ng'iroq qiling.
| Ota-ona bloki ekranini o'chirib, kamera blokidan ovozni eshitishni davom ettira olamanmi? |
Ota-ona blokini o'chirmasdan ekran displeyini o'chirish uchun tugmasini bosing. Agar kamera translyatsiya qilayotgan bo'lsa va ota-ona bloki dinamikining ovozi yoqilgan bo'lsa, siz hali ham kamera blokidan ovoz eshitishingiz mumkin.
|
| Kamera blokidagi LEDlar juda yorqin. Ularni o'chira olamanmi? | Kamera bloklarining LEDlarini o'chirishingiz mumkin. Ko'rsatmalar uchun ota-ona blokining ilova qo'llanmasidagi Camera settings (kamera sozlamalari) ostidagi Online indication (onlayn ko'rsatkich) bo'limini o'qing. |
| Nima uchun kamera odatdagidek javob bermaydi? |
Umumiy davolash uchun quyidagilarni sinab ko'ring (ro'yxatdagi tartibda):
|
| Nima uchun ekranim qora va oq rangda? | Kamera blokida atrof-muhit yorug'ligini o'lchaydigan yorug'lik sensori mavjud. Atrof-muhit yorug'ligi xira bo'lganda, masalan, kechasi yoki qorong'i xonada, kamera infraqizil LEDlarini faollashtiradi va kamera ko'rinishini qora va oq rangda ko'rsatadi. |
| Nima uchun kameram oflayn ko'rsatadi? Nima uchun aloqa vaqti-vaqti bilan yo'qoladi? | Kamera bloki Internetga ulanishni yo'qotishi mumkin. Tarmoq va router sozlamalarini tekshiring. |
| Boshqa elektron mahsulotlar kameraga xalaqit berishi mumkin. Kamerani ushbu elektron qurilmalardan iloji boricha uzoqroqqa o'rnatishga harakat qiling. |
Cheklangan kafolat
Ushbu cheklangan kafolat nimani qamrab oladi?
Ushbu VTech mahsulotining ishlab chiqaruvchisi sotib olinganligini tasdiqlovchi hujjatga ega bo'lgan shaxsga ("Iste'molchi" yoki "siz") mahsulot va sotuv paketida taqdim etilgan barcha aksessuarlar ("Mahsulot") material va ish sifati nuqsonlaridan xoli ekanligini kafolatlaydi. Mahsulotdan foydalanish bo'yicha ko'rsatmalarga muvofiq normal sharoitlarda o'rnatilgan va ishlatilgan taqdirda, quyidagi shartlar va qoidalarga muvofiq. Ushbu cheklangan kafolat faqat Amerika Qo'shma Shtatlari va Kanadada sotib olingan va ishlatilgan mahsulotlar uchun iste'molchiga tegishli.
Agar mahsulot cheklangan kafolat muddati davomida materiallar va ish sifati nuqsonlaridan xoli bo'lmasa, VTech nima qiladi ("Material jihatdan nuqsonli mahsulot")?
Cheklangan kafolat muddati davomida VTechning vakolatli xizmat ko'rsatish vakili VTechning xohishiga ko'ra, material jihatdan nuqsonli mahsulotni bepul ta'mirlaydi yoki almashtiradi. Agar biz mahsulotni ta'mirlasak, biz yangi yoki qayta tiklangan ehtiyot qismlardan foydalanishimiz mumkin. Agar biz mahsulotni almashtirishni tanlasak, biz uni bir xil yoki shunga o'xshash dizayndagi yangi yoki qayta tiklangan mahsulot bilan almashtirishimiz mumkin. Biz nuqsonli qismlarni, modullarni yoki uskunalarni saqlab qolamiz. VTechning xohishiga ko'ra, mahsulotni ta'mirlash yoki almashtirish sizning yagona himoya vositangizdir. VTech ta'mirlangan yoki almashtirilgan mahsulotlarni sizga ish holatida qaytaradi. Ta'mirlash yoki almashtirish taxminan 30 kun davom etishini kutishingiz kerak.
Cheklangan kafolat muddati qancha?
Mahsulot uchun cheklangan kafolat muddati sotib olingan kundan boshlab BIR (1) YIL davom etadi. Agar VTech ushbu cheklangan kafolat shartlariga muvofiq material jihatdan nuqsonli mahsulotni ta'mirlasa yoki almashtirsa, ushbu cheklangan kafolat ta'mirlangan yoki almashtirilgan mahsulotga ham (a) ta'mirlangan yoki almashtirilgan mahsulot sizga jo'natilgan kundan boshlab 90 kun yoki (b) asl bir yillik kafolatda qolgan vaqt davomida qo'llaniladi; qaysi biri uzoqroq bo'lsa.
Ushbu cheklangan kafolat nimalarni qamrab olmaydi?
Ushbu cheklangan kafolat quyidagilarni qamrab olmaydi:
- Noto'g'ri foydalanish, baxtsiz hodisa, tashish yoki boshqa jismoniy shikastlanish, noto'g'ri o'rnatish, g'ayrioddiy ishlash yoki ishlov berish, beparvolik, suv toshqini, yong'in, suv yoki boshqa suyuqlikning kirib kelishi natijasida shikastlangan mahsulot; yoki
- VTechning vakolatli xizmat ko'rsatish vakilidan boshqa har qanday shaxs tomonidan ta'mirlash, o'zgartirish yoki modifikatsiya qilish natijasida shikastlangan mahsulot; yoki
- Muammo signal sharoitlari, tarmoq ishonchliligi yoki kabel yoki antenna tizimlari tufayli yuzaga kelgan darajada mahsulot; yoki
- Muammo VTech bo'lmagan aksessuarlar bilan ishlatish natijasida yuzaga kelgan darajada mahsulot; yoki
- Kafolat/sifat stikerlari, mahsulot seriya raqami plastinkalari yoki elektron seriya raqamlari olib tashlangan, o'zgartirilgan yoki o'qib bo'lmaydigan holga keltirilgan mahsulot; yoki
- Amerika Qo'shma Shtatlari yoki Kanadadan tashqarida sotib olingan, ishlatilgan, xizmat ko'rsatilgan yoki ta'mirlash uchun jo'natilgan yoki tijorat yoki institutsional maqsadlarda ishlatilgan mahsulot (shu jumladan, lekin ijaraga berish maqsadlarida ishlatiladigan mahsulotlar bilan cheklanmaydi); yoki
- Sotib olinganligini tasdiqlovchi haqiqiy hujjatsiz qaytarilgan mahsulot (keyingi sahifadagi 2-bandga qarang); yoki
- O'rnatish yoki sozlash, mijoz boshqaruvlarini sozlash va qurilmadan tashqaridagi tizimlarni o'rnatish yoki ta'mirlash uchun to'lovlar.
Kafolat xizmatini qanday olish mumkin?
Kanadada kafolat xizmatini olish uchun www.vtechcanada.com veb-saytimizga tashrif buyuring yoki 1-888-211-2005 raqamiga qo'ng'iroq qiling.
DIQQAT: Xizmatga qo'ng'iroq qilishdan oldin, foydalanuvchi qo'llanmasini ko'rib chiqing - mahsulotning boshqaruv elementlari va xususiyatlarini tekshirish sizni xizmatga qo'ng'iroq qilishdan qutqarishi mumkin.
Amaldagi qonun bilan ta'minlanganidan tashqari, siz tranzit va tashish paytida yo'qotish yoki shikastlanish xavfini o'z zimmangizga olasiz va mahsulot(lar)ni xizmat ko'rsatish joyiga tashishda yuzaga keladigan yetkazib berish yoki ishlov berish to'lovlari uchun javobgarsiz. VTech ushbu cheklangan kafolat ostida ta'mirlangan yoki almashtirilgan mahsulotni qaytaradi. Tashish, yetkazib berish yoki ishlov berish to'lovlari oldindan to'langan. VTech tranzit paytida mahsulotning shikastlanishi yoki yo'qolishi uchun hech qanday xavfni o'z zimmasiga olmaydi. Agar mahsulotning nosozligi ushbu cheklangan kafolat bilan qoplanmagan bo'lsa yoki sotib olinganligini tasdiqlovchi hujjat ushbu cheklangan kafolat shartlariga javob bermasa, VTech sizga xabar beradi va har qanday keyingi ta'mirlash faoliyatidan oldin ta'mirlash narxini tasdiqlashingizni so'raydi. Siz ushbu cheklangan kafolat bilan qoplanmagan mahsulotlarni ta'mirlash uchun ta'mirlash narxi va qaytarib yuborish xarajatlarini to'lashingiz kerak.
Kafolat xizmatini olish uchun mahsulot bilan birga nimani qaytarishingiz kerak?
- Mahsulotni VTech xizmat ko'rsatish joyiga nosozlik yoki qiyinchilik tavsifi bilan birga butun asl paket va tarkibni, shu jumladan mahsulotni qaytaring; va
- Sotib olingan mahsulotni (mahsulot modeli) va sotib olingan yoki olingan sanani ko'rsatuvchi "sotib olinganligini tasdiqlovchi haqiqiy hujjatni" (sotuv cheki) qo'shing; va
- Ismingizni, to'liq va to'g'ri pochta manzilini va telefon raqamingizni ko'rsating.
Boshqa cheklovlar
Ushbu kafolat siz va VTech o'rtasidagi to'liq va eksklyuziv kelishuvdir. U ushbu mahsulotga tegishli barcha boshqa yozma yoki og'zaki aloqalarni almashtiradi. VTech ushbu mahsulot uchun boshqa kafolatlar bermaydi. Kafolat faqat VTechning mahsulotga nisbatan barcha majburiyatlarini tavsiflaydi. Boshqa hech qanday aniq kafolatlar yo'q. Hech kimga ushbu cheklangan kafolatga o'zgartirishlar kiritishga ruxsat berilmagan va siz bunday o'zgartirishga ishonmasligingiz kerak.
Shtat/viloyat qonunlari bo'yicha huquqlar: Ushbu kafolat sizga aniq qonuniy huquqlar beradi va sizda shtatdan shtatga yoki viloyatdan viloyatga farq qiladigan boshqa huquqlar ham bo'lishi mumkin.
Cheklovlar: Ma'lum bir maqsadga muvofiqligi va sotuvga yaroqliligi (mahsulotning oddiy foydalanishga yaroqliligi haqidagi yozilmagan kafolat) kafolatlarini o'z ichiga olgan nazarda tutilgan kafolatlar sotib olingan kundan boshlab bir yil bilan cheklangan. Ba'zi shtatlar/viloyatlar nazarda tutilgan kafolat qancha davom etishi bo'yicha cheklovlarga yo'l qo'ymaydi, shuning uchun yuqoridagi cheklov sizga tegishli bo'lmasligi mumkin. Hech qanday holatda VTech ushbu mahsulotdan foydalanish natijasida yuzaga keladigan har qanday bilvosita, maxsus, tasodifiy, oqibatli yoki shunga o'xshash zararlar (shu jumladan, lekin yo'qotilgan foyda yoki daromad, mahsulotdan yoki boshqa tegishli uskunadan foydalana olmaslik, o'rniga uskunaning narxi va uchinchi tomonlarning da'volari) uchun javobgar bo'lmaydi. Ba'zi shtatlar/viloyatlar tasodifiy yoki oqibatli zararlarni istisno qilish yoki cheklashga yo'l qo'ymaydi, shuning uchun yuqoridagi cheklov yoki istisno sizga tegishli bo'lmasligi mumkin.
Iltimos, sotib olinganligini tasdiqlash uchun asl sotuv chekingizni saqlab qoling.
Texnik xususiyatlar
| Chastota | Kamera bloki: 2412 - 2462 MHz |
| Kanallar | 11 |
| LCD | 5'' Rangli LCD (IPS 480x854 piksel) |
| Nominal samarali masofa | FCC va IC tomonidan ruxsat etilgan maksimal quvvat. Haqiqiy ishlash masofasi foydalanish vaqtida atrof-muhit sharoitlariga qarab farq qilishi mumkin. |
| Quvvat talabi |
Kirish: 100-240V AC 50/60Hz Chiqish: 5V DC 1000mA |


Texnik xususiyatlar ogohlantirishsiz o'zgartirilishi mumkin.
© 2017 VTech Communications, Inc.
Barcha huquqlar himoyalangan. 10/17. VM981_CA_IG_V7.0
Hujjat tartib raqami: 91-010301-050-100
www.vtechcanada.com saytiga o'ting
VM981 qo'llab-quvvatlash va VTech mahsulotlarining so'nggi yangiliklari uchun.

Manbalar
VTech Canada Official Site | Best Home Office & Business Phones
App Store - Apple
Google PlayConsumer Help Center | Federal Communications Commission
Before You Connect a New Computer to the Internet | CISA
Security | Wi-Fi Alliance
Qo'llanmani yuklab olish
Bu yerda siz qo'llanmaning to'liq pdf versiyasini yuklab olishingiz mumkin, u qo'shimcha xavfsizlik ko'rsatmalari, kafolat ma'lumotlari, FCC qoidalari va hokazolarni o'z ichiga olishi mumkin.
VTech VM981 - Wi-Fi HD Video Monitor o'rnatish bo'yicha qo'llanma ni yuklab olish

micro SD karta uyasi
3.5 mm audio ulagich
Micro USB 2.0 porti


ni ko'rsatadi.
ga aylanadi.


tugmasini bosing. Agar kamera translyatsiya qilayotgan bo'lsa va ota-ona bloki dinamikining ovozi yoqilgan bo'lsa, siz hali ham kamera blokidan ovoz eshitishingiz mumkin.