Stihl BG 56, BG 66, BG 86, SH 56, SH 86, BG 56 C-E, BG 86 C-E Manual
- 1 Introduction
- 2 Guide to Using this Manual
- 3 Assembling the Blower
- 4 Assembling the Vacuum Shredder
- 5 Fuel
- 6 Fueling
- 7 Starting / Stopping the Engine
- 8 Cleaning the Air Filter
- 9 Engine Management
- 10 Adjusting the Carburettor
- 11 Spark Plug
- 12 Engine Running Behaviour
- 13 Storing the Machine
- 14 Spark Arresting Screen in Muffler
- 15 Maintenance and Care
- 16 Main Parts
- 17 Specifications
- 18 Maintenance and Repairs
- 19 Safety Precautions and Working Techniques
- 20 Download manual
- 21 In Other Languages

Introduction
Allow only persons who fully understand this manual to operate your blower.
To receive maximum performance and satisfaction from your STIHL blower, it is important that you read, understand and follow the safety precautions and the operating and maintenance instructions in chapter "Safety Precautions and Working Techniques" before using your blower. For further information you can go to www.stihlusa.com.
Contact your STIHL dealer or the STIHL distributor for your area if you do not understand any of the instructions in this manual.
Because a blower is a high-speed tool, some special safety precautions must be observed as with any other power tool to reduce the risk of personal injury. Careless or improper use may cause serious or even fatal injury.
This instruction manual is protected by copyright. All rights reserved, especially the rights to reproduce, translate and process with electronic systems.
Guide to Using this Manual
Pictograms
The meanings of the pictograms attached to or embossed on the machine are explained in this manual.
Depending on the model concerned, the following pictograms may be on your machine.
![]() | Fuel tank for gasoline and engine oil mixture |
![]() | Press to operate manual fuel pump |
Symbols in Text
Many operating and safety instructions are supported by illustrations.
The individual steps or procedures described in the manual may be shown in different ways:
- A bullet indicates a step or procedure.
A description of a step or procedure that refers directly to an illustration may contain item numbers that appear in the illustration. For example:
- Remove the screw (1)
- Pull the spark arresting screen (2) upwards out of the muffler
In addition to the operating instructions, this manual may contain paragraphs that require your special attention. Such paragraphs are indicated with the symbols and signal words described below:
Indicates a hazardous situation that, if not avoided, will result in death or serious injury.
Indicates a hazardous situation that, if not avoided, could result in death or serious injury.
NOTICE
Indicates a risk of property damage, including damage to the machine or its individual components.
Engineering Improvements
STIHL's philosophy is to continually improve all of its products. As a result, engineering changes and improvements are made from time to time. Therefore, some changes, modifications and improvements may not be covered in this manual. If the operating characteristics or the appearance of your machine differs from those described in this manual, please contact your STIHL dealer or the STIHL distributor for your area for assistance.
Assembling the Blower
Mounting the Blower Tube

- Line up the arrows (1).
- Position the union nut so that the symbol ‚ is in line with the arrows.
- Push the blower tube (2) into the fan housing stub (3) as far as stop.

- Push the union nut (4) over the fan housing stub as far as stop.
- Rotate the union nut (4) in direction of arrow until symbol ƒ is in line with the arrows – union nut snaps audibly into position.
BG 56, BG 86, SH 56, SH 86

- Push nozzle (5) onto blower tube (2) as far as lug (6), position (a) (long) or position (b) (short), and rotate nozzle in direction of arrow to lock in position.
BG 66

- Line up the arrows (1).
- Position the union nut so that the symbol
is in line with the arrows. - Push the blower tube (2) into the fan housing stub (3) as far as stop.

- Push the union nut (4) over the fan housing stub as far as stop.
- Rotate the union nut (4) in direction of arrow until symbol
is in line with the arrows – union nut snaps audibly into position.

- Push nozzle (5) in position (a) onto the blower tube (2) as far as lug (6) and rotate in direction of arrow to lock in position.
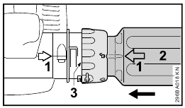
Removing the Blower Tube

- Shut down the engine.
- Insert a suitable tool through the opening in the union nut to press down the tab.
- Rotate the union nut in the direction of the arrow as far as the stop.
- Remove the blower tube.
Assembling the Vacuum Shredder
Mounting the Elbow

- Push the elbow (1) into the catcher bag (2) as far as the mark (smaller arrow).
- Tighten strap (3) on catcher bag and press down the tab (4).
NOTICE
Make sure the zipper on the catcher bag is closed.

- Line up the arrows (5).
- Position the union nut so that the symbol
is in line with the arrows. - Push the elbow into the recess in the fan housing stub (6) as far as stop.

- Push the union nut (7) over the fan housing stub as far as stop.
- Rotate the union nut (7) in direction of arrow until symbol
is in line with the arrows – union nut snaps audibly into position.
Assembling the Suction Tube

- Line up the arrows on the suction tube and extension tube. Push together and lock in position.
Mounting the Suction Tube
- Shut down the engine.

- Insert screwdriver in the tab (1) and press down to disengage the intake screen (2) and then open the intake screen.

- Line up the arrows (3).
- Position union nut (5) so that the opening lines up with the arrows (3).
- Push the suction tube into the fan housing stub (4) as far as stop.
- Push the union nut (5) over the fan housing stub.

- Rotate union nut (5) in direction of arrow until it snaps audibly into position.
- Continue turning the union nut in direction of arrow and tighten it down firmly.
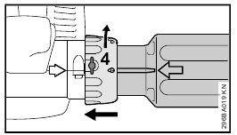
Removing the Elbow
- Shut down the engine.
![]()
- Insert a suitable tool through the opening in the union nut to press down the tab.
- Rotate the union nut in the direction of the arrow as far as the stop.
- Remove the elbow.
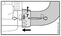
Removing the Suction Tube
- Shut down the engine.
![]()
- Rotate the union nut in the direction of the arrow as far as the stop.
- Insert a suitable tool through the opening in the union nut to press down the tab.
- Continue turning the union nut in the direction of the arrow as far as the next stop.
- Remove the suction tube.
- Close the intake screen and lock it in position.
Fuel
This engine is certified to operate on unleaded gasoline and the STIHL twostroke engine oil at a mix ratio of 50:1.
Your engine requires a mixture of highquality gasoline and two-stroke air cooled engine oil.
Use mid-grade unleaded gasoline with a minimum octane rating of 89 ((R+M)/2) and no more than 10% ethanol content.
NOTICE
Fuel with an octane rating below 89 may increase engine temperatures. This, in turn, increases the risk of piston seizure and damage to the engine.
The chemical composition of the fuel is also important. Some fuel additives not only detrimentally affect elastomers (carburetor diaphragms, oil seals, fuel lines, etc.), but magnesium castings and catalytic converters as well. This could cause running problems or damage the engine. For this reason STIHL recommends that you use only quality unleaded gasoline!
NOTICE
Gasoline with an ethanol content of more than 10% can cause running problems and major damage in engines and should not be used. For further details, see www.STIHLusa.com/ethanol
The ethanol content in gasoline affects engine speed – it may be necessary to readjust the carburettor if you use fuels with various ethanol contents.
To reduce the risk of personal injury from loss of control and/or contact with the running cutting tool, do not use your unit with an incorrect idle adjustment. At correct idle speed, the cutting tool should not move.
If your machine's idle speed is incorrectly adjusted, have your authorized STIHL servicing dealer check your machine and make the proper adjustments and repairs.
The idle speed and maximum speed of the engine change if you switch from a fuel with a certain ethanol content to a fuel with a much higher or lower ethanol content.
This problem can be avoided by always using fuel with the same ethanol content.
To ensure the maximum performance of your STIHL engine, use a high quality 2cycle engine oil. To help your engine run cleaner and reduce harmful carbon deposits, STIHL recommends using
STIHL HP Ultra 2-cycle engine oil or ask your dealer for an equivalent fully synthetic 2-cycle engine oil.
To meet the requirements of EPA and CARB we recommend to use STIHL HP Ultra oil.
STIHL MotoMix
STIHL recommends the use of STIHL MotoMix. STIHL MotoMix has a high octane rating and ensures that you always use the right gasoline/oil mix ratio.
STIHL MotoMix uses STIHL HP Ultra two-stroke engine oil suited for high performance engines. For further details, see www.STIHLusa.com/ethanol
If not using MotoMix, use only STIHL two-stroke engine oil or equivalent highquality two-stroke engine oils that are designed for use in air cooled two-cycle engines.
The use of non-seasonal gasoline blends may increase the potential for pressure to build in the fuel tank during operation. For example, using a winter blend during the summer will increase pressure in the fuel tank. Always use gasoline blends appropriate to the season, altitude and other environmental factors.
Do not use NMMA or TCW rated (twostroke water cooled) mix oils or other mix oils that state they are for use in both water cooled and air cooled engines (e.g., outboard motors, snowmobiles, chain saws, mopeds, etc.).
Take care when handling gasoline. Avoid direct contact with the skin and avoid inhaling fuel vapour. When filling at the pump, first remove the container from your vehicle and place the container on the ground before filling. To reduce the risk of sparks from static discharge and resulting fire and/or explosion, do not fill fuel containers that are sitting in or on a vehicle or trailer.
The container should be kept tightly closed in order to limit the amount of moisture that gets into the mixture.
The machine's fuel tank should be cleaned as necessary.
Fuel mix ages
If not using MotoMix, only mix sufficient fuel for a few days of work, not to exceed 30 days of storage. Store in approved fuel-containers only. When mixing, pour oil into the container first, and then add gasoline. Close the container and shake it by hand to ensure proper mix of oil and gasoline.
Shaking fuel can cause pressure to build in the fuel container. To reduce the risk of fire and severe personal injury or property damage from fuel spraying, allow the fuel container to sit for several minutes before opening. Open the container slowly to release any residual pressures. Never open the fuel container in the vicinity of any ignition source. Read and follow all warnings and instructions that accompany your fuel container.
| Gasoline | Oil (STIHL 50:1 or equivalent high-quality oils) |
| US gal. | US fl.oz. |
| 1 | 2.6 |
| 2 1/2 | 6.4 |
| 5 | 12.8 |
Dispose of empty mixing-oil containers only at authorized disposal locations.
Fueling

Removing the cap on a pressurized fuel tank can result in gasoline, vapors and fumes being forcefully sprayed out from the tank in all directions. The escaping gasoline, vapors or fumes, sometimes referred to as fuel spraying or "geysering," can cause serious personal injury, including fire and burn injury, or property damage.
Fuel spraying can occur when the engine is hot and the tank is opened while under pressure. It can occur in hot environments even if the engine has not been running. Spraying is more likely to occur when the fuel tank is half full or more.
Avoid Injuries from Fuel Spraying.
Always follow the fueling instructions in this manual:
- Treat every fuel tank as if it is pressurized, particularly if it is half full or more.
- Always allow the power tool to cool adequately before attempting to open the fuel tank or refueling; this will take longer in hot conditions.
- Never remove the cap by turning it directly to the open position. Turn it first approximately 1/2 of a turn counter-clockwise to relieve any residual pressure.
- Never open the fuel tank while the engine is still hot or running.
- Never open the fuel tank or re-fuel the power tool near any sparks, flames or other ignition sources.
- Pick the right fuel: use only good quality (89 octane or higher), fresh fuel blended for the season.
- Vapor lock: do not remove the fuel cap in an effort to relieve vapor lock. Removing the cap has no effect on vapor lock.
- Be aware that fuel spraying is more likely at higher altitudes.
![]()
Preparations

- Before fueling, clean the filler cap and the area around it to ensure that no dirt falls into the tank.
- Position the machine so that the filler cap is facing up.
In order to reduce the risk of fire and other personal injury from escaping gas vapour and fumes, remove the fuel filler cap slowly and carefully so as to allow any pressure build-up in the tank to release slowly.
Opening

After allowing the power tool to cool, remove the fuel filler cap slowly and carefully to allow any remaining pressure build-up in the tank to release:
- While maintaining steady, downward pressure, slowly turn the cap approximately a 1/2 turn counter-clockwise.
- If any significant venting occurs, immediately re-seal the tank by turning the cap clockwise to the closed position. Allow the power tool to cool further before attempting to open the tank.
- Turn the cap to the open position only after the contents of the tank are no longer under pressure.
- Remove the fuel filler cap.
Never remove the cap by turning it directly to the open position. First allow the power tool to cool adequately and then release any residual pressure by slowly turning the cap approximately 1/2 turn counter-clockwise. Never attempt to remove the cap while the engine is still hot or running.
Refueling
Take care not to spill fuel while fueling and do not overfill the tank – leave approximately 1/2" (13 mm) air space.
Closing

An improperly tightened fuel filler cap can loosen or come off and spill quantities of fuel. To reduce the risk of fuel spillage and fire from an improperly installed fuel cap, tighten the fuel filler cap by hand with as much force as possible:
- If your fuel cap still does not tighten properly, it may be damaged or broken. Stop using the power tool and take it to your authorized STIHL dealer for repair or replacement.
Change the fuel pick up body every year

Before storing your machine for a long period, drain and clean the fuel tank and run engine until carburettor is dry.
Starting / Stopping the Engine
Starting the Engine
- Observe safety precautions.
![]()
- Press the manual fuel pump bulb (1) at least five times – even if the bulb is already filled with fuel.
Adjusting the setting lever
BG 86, SH 86 only

- To start, move the setting lever to the run position
![]()

The setting lever (2) allows the throttle trigger (3) to be locked in the full throttle position during operation.
Adjusting the choke knob
If the engine is cold

- Set the choke knob to
![]()
If the engine is warm

- Set the choke knob to
![]()
Also use this setting if the engine has been running but is still cold.
Cranking

- Place the machine on the ground so that it is secure.
- Make sure you have a firm footing: Hold the machine firmly with your right hand on the housing and press down.
- Hold the starter grip with your left hand.
Version with Easy2Start
- Pull the starter grip steadily.
Version without Easy2Start
- Pull the starter grip slowly until you feel it engage and then give it a brisk strong pull.
NOTICE
Do not pull out the starter rope all the way – it might otherwise break.
- Do not let the starter grip snap back. Guide it slowly back into the housing so that the starter rope can rewind properly.
As Soon as Engine Runs

- Blip the throttle trigger (3) – the choke knob moves to the run position
– the engine returns to idle speed.
Stopping the Engine
BG 56, BG 66, SH 56

- Move the stop switch to 0 – the engine stops – the stop switch springs back to the on position.
BG 86, SH 86

- Move the setting lever to 0 – the engine stops – the setting lever springs back to the on position.
Other Hints on Starting
If the engine stops while the choke knob in on
or during acceleration
- Move the choke knob to
and continue cranking until the engine runs.
If engine does not start
- Make sure all settings are correct (choke knob, setting lever in run position
). - Repeat the starting procedure.
If fuel tank has been run completely dry and then refueled

- Press the manual fuel pump bulb (1) at least five times – even if the bulb is already filled with fuel.
- Now start the engine.
Cleaning the Air Filter
Dirty air filters reduce engine power, increase fuel consumption and make starting more difficult.
Different Air Filters
Different models are equipped with different air filters. The models can be identified by the filter housing and the air filter itself.
Version with Flat Filter Material

- Turn the filter cover lock (1) counterclockwise to the vertical position.
- Remove the filter cover (2).
- Clean away loose dirt from around the filter.

- Pull off the retainer (3) and take the air filter element (4) out of the filter housing (5).
- Replace the filter element. As a temporary measure you can knock it out on the palm of your hand or blow it out with compressed air – do not wash.
Replace any damaged parts.
Installing the filter element
- Fit the filter (4) in the filter housing (5) and push the retainer (3) into position.
- Refit the filter cover (2) and turn the filter cover lock clockwise to the horizontal position.
Version with Pleated Filter Material

- Unscrew the filter cover lock (1) counterclockwise.
- Remove the filter cover (2).
- Clean away loose dirt from around the filter.
![]()
- Take the air filter (3) out of the filter housing (4).
Cleaning the air filter
- Carefully knock the filter out on the palm of your hand or blow it clear with compressed air from the inside outwards.
In case of stubborn dirt or sticky filter fabric
- Wash the air filter in STIHL special cleaner (special accessory) or a clean, non-flammable solution (e.g. warm soapy water). Rinse the filter from the inside outwards under a jet of water – do not use a pressure washer.
- Dry the filter – do not expose to high temperatures.
Place the filter in position.
- Install the filter element in the filter housing.
- Fit the filter cover and tighten the filter cover lock clockwise.
Engine Management
Exhaust emissions are controlled by the design of the engine and components (e.g. carburation, ignition, timing and valve or port timing).
Adjusting the Carburettor
The carburettor has been set at the factory to provide an optimum fuel-air mixture under most operating conditions.
Adjusting Idle Speed

Engine stops while idling
- Turn the idle speed screw (LA) clockwise until the engine runs smoothly.
Spark Plug
If there is a loss of engine power, the machine is difficult to start or runs poorly at idle, first check the spark plug.
Install a new spark plug after approximately 100 operating hours or earlier if the electrodes are eroded/corroded.
The wrong fuel mix (too much engine oil in the gasoline), a dirty air filter and unfavourable running conditions (mostly at part throttle etc.) affect the condition of the spark plug. These factors cause deposits to form on the insulator nose, which may degrade performance.
Removing the spark plug

- Pull off the spark plug boot (1).
- Unscrew the spark plug.
Checking the Spark Plug

- Clean dirty spark plug.
- Check electrode gap (A) and readjust if necessary – see chapter "Specifications."
- Use only resistor type spark plugs of the approved range.
Rectify problems which have caused fouling of spark plug:
- too much oil in fuel mix,
- dirty air filter,
- unfavourable running conditions, e.g. operating at part load.

To reduce the risk of fire and burn injury, use only spark plugs authorized by STIHL. Always press the spark plug boot (1) snugly onto the spark plug terminal (2).
Do not use a spark plug with a detachable SAE adapter terminal (3). Arcing may occur that could ignite combustible fumes and cause a fire. This can result in serious injuries or damage to property.
- Only use resistor type spark plugs with solid, non-threaded terminals
Installing the spark plug

- Screw the spark plug (3) into the cylinder and fit the boot (2) (press it down firmly).
Engine Running Behaviour
If engine running behavior is unsatisfactory even though the air filter is clean and the carburettor is properly adjusted, the cause may be the muffler.
Have the muffler checked for contamination (carbonization) by your servicing dealer.
STIHL recommends that you have servicing and repair work carried out exclusively by an authorized STIHL servicing dealer.
Storing the Machine
If out of use for periods of about 30 days or longer
- Drain and clean the fuel tank in a well ventilated area.
- Dispose of fuel properly in accordance with local environmental requirements.
- If a manual fuel pump is fitted: Press the manual fuel pump at least 5 times.
- Start the engine and run it at idling speed until it stops
- Thoroughly clean the machine, especially the cylinder fins and air filter.
- Store the machine in a dry and safe location. Keep out of the reach of children and other unauthorized persons
Spark Arresting Screen in Muffler
Spark arresting screen in muffler
To reduce the risk of fire caused by hot particles escaping from the machine, never operate the machine without a spark arresting screen, or with the spark arresting screen damaged. Do not modify the muffler or spark arresting screen. To reduce the risk of fire from accumulated debris such as pine needles, branches or leaves, ensure that the muffler plugs are in place before taking up work.
NOTICE
According to the law or regulations in some countries or federal states, certain operations may only be carried out if a properly serviced spark arresting screen is provided.
- If the engine is down on power, check the spark arresting screen in the muffler.
- If the muffler plugs are missing or damaged, mount new plugs.
STIHL recommends that maintenance and repair work be carried out only by authorized STIHL dealers.
Maintenance and Care

- STIHL recommends that this work be done by a STIHL servicing dealer.
- Not in all versions, country-specific
Main Parts

- Setting Lever (BG 86, SH 86)
- Spark Plug Boot
- Muffler
- Starter Grip
- Carburettor Adjusting Screws
- Manual Fuel Pump
- Choke Knob
- Filter Housing
- Filter Cover Lock
- Fuel Filler Cap
- Fuel Tank
- Assist Handle
- Control Handle
- Stop Switch (BG 56, BG 66, SH 56)
- Throttle Trigger
- Intake Screen
- Union Nut
- Blower Tube (BG 56, BG 86, SH 56, SH 86)
- Round Nozzle
- Fan Nozzle *
- Suction Tube *
- Elbow *
- Catcher Bag *
- Blower Tube Silencer (BG 66)
# Serial number
* Depending on version – special accessory
Definitions
- Setting Lever (BG 86, SH 86)
Holds the throttle trigger in position. - Spark Plug Boot
Connects the spark plug to the ignition wire. - Muffler
Attenuates exhaust noises and diverts exhaust gases away from operator. - Starter Grip
The grip of the pull starter, which is the device to start the engine. - Carburettor Adjusting Screws
For tuning carburetor. - Manual Fuel Pump
Delivers fuel for cold start. - Choke Knob
Eases engine starting by enriching mixture. - Filter Housing
Covers the air filter element. - Filter Cover Lock
Secures the filter cover. - Fuel Filler Cap
For closing the fuel tank. - Fuel Tank
For fuel and oil mixture. - Assist Handle
Additional handle for use with the suction tube as a vacuum and held by the left hand. - Control Handle
The handle of the blower held by the right hand. - Stop Switch (BG 56, BG 66, SH 56)
Switches the machine off. - Throttle Trigger
Controls the speed of the engine. - Intake Screen
Reduces the risk of direct contact with the fan. - Union Nut
For mounting the blower tube to the blower. - Blower Tube (BG 56, BG 86, SH 56, SH 86)
Directs airstream. - Round Nozzle
To be mounted on the blower tube to aim the airstream. - Fan Nozzle
Alternative nozzle for the blower tube to accelerate the airstream. - Suction Tube
To be mounted on the blower. - Elbow
Directs airstream and debris into the catcher bag. - Catcher Bag
Mounts to elbow to collect the vacuumed debris. - Blower Tube Silencer (BG 66)
Reduces blower noise.
Specifications
EPA / CEPA
The Emission Compliance Period referred to on the Emissions Compliance Label indicates the number of operating hours for which the engine has been shown to meet Federal emission requirements.
Category
- 300 hours
- 125 hours
- 50 hours
CARB
The Emission Compliance Period used on the CARB-Air Index Label indicates the terms:
Extended = 300 hours
Intermediate = 125 hours
Moderate = 50 hours
Engine
Single-cylinder two-stroke engine
| Displacement: | 1.66 cu in (27.2 cc) |
| Cylinder bore: | 1.34 in (34 mm) |
| Piston stroke: | 1.18 in (30 mm) |
| Idle speed: | 2,500 rpm |
Engine power acc. to ISO 7293:
BG 56: 0.7 kW (0.9 hp)
BG 66: 0.6 kW (0.8 hp)
BG 86: 0.8 kW (1.1 hp)
SH 56: 0.7 kW (0.9 hp)
SH 86: 0.8 kW (1.1 hp)
Ignition system
Electronic magneto ignition
| Spark plug (suppressed): | NGK CMR 6 H, BOSCH USR 4 AC |
| Electrode gap: | 0.020 in (0.5 mm) |
Fuel system
All-position diaphragm carburettor with integral fuel pump
Fuel tank capacity:
BG 56: 18.3 oz (0.54 l)
BG 66: 18.3 oz (0.54 l)
BG 86: 14.9 oz (0.44 l)
SH 56: 18.3 oz (0.54 l)
SH 86: 14.9 oz (0.44 l)
Maximum air throughput
| Blower mode, without nozzle | Suction mode | |
| BG 56: | 430 cf/min (730 m 3 /h) | - - - |
| BG 66: | 430 cf/min (730 m 3 /h) | - - - |
| BG 86: | 477 cf/min (810 m 3 /h) | - - - |
| SH 56: | 430 cf/min (730 m 3 /h) | 418 cf/min (710 m 3 /h) |
| SH 86: | 477 cf/min (810 m 3 /h) | 453 cf/min (770 m 3 /h) |
Air velocity
Blower mode, at round nozzle
| BG 56: | 143 mph (64 m/sec) |
| BG 66: | 143 mph (64 m/sec) |
| BG 86: | 154 mph (69 m/sec) |
| SH 56: | 143 mph (64 m/sec) |
| SH 86: | 154 mph (69 m/sec) |
Blower mode, at flat nozzle
| BG 86: | 190 mph (85 m/sec) |
| SH 86: | 190 mph (85 m/sec) |
Weight
Dry, blower mode
BG 56: 9.0 lbs (4.1 kg)
BG 56 C: 9.3 lbs (4.2 kg)
BG 66: 9.7 lbs (4.4 kg)
BG 86: 9.7 lbs (4.4 kg)
BG 86 C: 9.9 lbs (4.5 kg)
Maintenance and Repairs
Users of this unit should carry out only the maintenance operations described in this manual. STIHL recommends that other repair work be performed only by authorized STIHL servicing dealers using genuine STIHL replacement parts.
Genuine STIHL parts can be identified by the STIHL part number, the
logo and, in some cases, by the STIHL parts symbol
. The symbol may appear alone on small parts.
For repairs of any component of this unit's air emissions control system, please refer to the air emissions systems warranty in this manual.
Safety Precautions and Working Techniques
Because the use of any blower may be dangerous, special safety precautions must be observed to reduce the risk of personal injury.

It is important that you read, fully understand and observe the following safety precautions and warnings. Read the instruction manual and the safety precautions periodically. Careless or improper use may cause serious or fatal injury.
Have your STIHL dealer show you how to operate your power tool. Observe all applicable local safety regulations, standards and ordinances.
Do not lend or rent your power tool without the instruction manual. Be sure that anyone using it understands the information contained in this manual.
Use your blower for clearing leaves, twigs, grass, clippings, paper, debris, and dust in yards, gardens, sport stadiums, parks, paths, streets, driveways and parking lots and for similar tasks. Do not use it for other purposes, since misuse may result in personal injury or property damage, including damage to the machine.
Minors should never be allowed to use this power tool. Bystanders, especially children, and animals should not be allowed in the area where it is in use.
To reduce the risk of injury to bystanders and damage to property, never let your power tool run unattended. When it is not in use (e.g. during a work break), shut it off and make sure that unauthorised persons do not use it. Most of these safety precautions and warnings apply to the use of all STIHL blowers. Different models may have different parts and controls. See the appropriate section of your instruction manual for a description of the controls and the function of the parts of your model.
Safe use of a blower involves
- the operator
- the power tool
- the use of the power tool
THE OPERATOR
Physical Condition
You must be in good physical condition and mental health and not under the influence of any substance (drugs, alcohol, etc.) which might impair vision, dexterity or judgement. Do not operate this machine when you are fatigued.
Be alert – if you get tired, take a break.
Tiredness may result in loss of control. Working with any power tool can be strenuous. If you have any condition that might be aggravated by strenuous work, check with your doctor before operating this machine.
Prolonged use of a power tool (or other machines) exposing the operator to vibrations may produce whitefinger disease (Rayn aud's phenomenon) or carpal tunnel syndrome.
These conditions reduce the hand's ability to feel and regulate temperature, produce numbness and burning sensations and may cause nerve and circulation damage and tissue necrosis.
All factors which contribute to whitefinger disease are not known, but cold weather, smoking and diseases or physical conditions that affect blood vessels and blood transport, as well as high vibration levels and long periods of exposure to vibration are mentioned as factors in the development of whitefinger disease. In order to reduce the risk of whitefinger disease and carpal tunnel syndrome, please note the following:
Most STIHL power tools are available with an anti-vibration ("AV") system designed to reduce the transmission of vibrations created by the machine to the operator's hands. An AV system is recommended for those persons using power tools on a regular or sustained basis.
Keep your hands warm.
Keep the antivibrationsystem well maintained. A power tool with loose components or with damaged or worn antivibration element will tend to have higher vibration levels.
Maintain a firm grip at all times, but do not squeeze the handles with constant, excessive pressure. Take frequent breaks.
All the above-mentioned precautions do not guarantee that you will not sustain whitefinger disease or carpal tunnel syndrome. Therefore, continual and regular users should closely monitor the condition of their hands and fingers. If any of the above symptoms appear, seek medical advice immediately.
The ignition system of the STIHL unit produces an electromagnetic field of a very low intensity. This field may interfere with some pacemakers. To reduce the risk of serious or fatal injury, persons with a pacemaker should consult their physician and the pacemaker manufacturer before operating this tool.
Proper Clothing
To reduce the risk of injury, the operator should wear proper protective apparel.

To reduce the risk of injury to your eyes never operate your power tool unless wearing goggles or properly fitted protective glasses with adequate top and side protection complying with ANSI Z87 "+" (or your applicable national standard).
Power tool noise may damage your hearing. Wear sound barriers (ear plugs or ear mufflers) to protect your hearing. Continual and regular users should have their hearing checked regularly.
Be particularly alert and cautious when wearing hearing protection because your ability to hear warnings (shouts, alarms, etc.) is restricted.

Clothing must be sturdy and snug-fitting, but allow complete freedom of movement.

Avoid loose-fitting jackets, scarfs, neckties, jewelry, flared or cuffed trousers, unconfined long hair or anything that could become drawn into the air intake. Secure hair so it is above shoulder level.

Good footing is very important. Do not wear sandals or go barefoot.
THE POWER TOOL
For illustrations and definitions of the power tool parts see the chapter on "Main Parts."
Never modify this power tool in any way. Only attachments supplied by STIHL or expressly approved by STIHL for use with the specific STIHL model are authorized. Although certain unauthorised attachments are useable with STIHL power tools, their use may, in fact, be extremely dangerous.
If this tool is subjected to unusually high loads for which it was not designed (e.g. heavy impact or a fall), always check that it is in good condition before continuing work. Check in particular that the fuel system is tight (no leaks) and that the controls and safety devices are working properly. Do not continue operating this machine if it is damaged. In case of doubt, have it checked by your STIHL servicing dealer.
Small particles (e.g. dust) blown through the blower tube and nozzle can cause a static charging of the blower tube. This is especially true in low humidity and high dust conditions. In order to reduce the risk of shock from static charging and subsequent injury from loss of control, your blower has features designed to help reduce the build up of static electricity in the blower tube and equalize the charge with the engine and/or operator.
The control handle is designed to conduct static electricity through the throttle cable to the engine and from the handle through the operator to the ground.
THE USE OF THE POWER TOOL
Transporting the Power Tool
When transporting your power tool in a vehicle, properly secure it to prevent turnover, fuel spillage and damage to the unit.
Fuel
Your STIHL power tool uses an oil- gasoline mixture for fuel (see the "Fuel" chapter in this instruction manual).

Gasoline is an extremely flammable fuel. If spilled and ignited by a spark or other ignition source, it can cause fire and serious burn injury or property damage. Use extreme caution when handling gasoline or fuel mix. Do not smoke or bring any fire or flame near the fuel or the power tool. Note that combustible fuel vapor may escape from the fuel system.
Fueling Instructions
To reduce the risk of fire and serious personal injury, always place the power tool on the ground before attempting to fuel the machine.

Pick a Safe Location
To reduce the risk of fire and explosion, fuel your power tool in a well-ventillated area, outdoors away from flames, pilot lights, heaters, electric motors, and other sources of ignition. Vapors can be ignited by a spark or flame many feet away. Select bare ground for fueling and move at least 10 feet (3 m) from the fueling spot before starting the engine. Wipe off any spilled fuel before starting your power tool. Take care not to get fuel on your clothing. If this happens, change your clothing immediately.
Allow the Power Tool to Cool Before Removing the Fuel Cap
Gasoline vapor pressure may build up inside the fuel tank. The amount of pressure depends on a number of factors such as the fuel used, altitude and temperature. To reduce the risk of burns and other personal injury from escaping gas, vapor and fumes, always shut off the engine and allow it to cool before removing the fuel cap.
The engine is air cooled. When it is shut off, cooling air is no longer drawn across the cylinder and engine temperatures will rise for several minutes before starting to cool. In hot environments, cooling will take longer. To reduce the risk of burns and other personal injury from escaping gas, vapor and fumes, allow the power tool to cool. If you need to refuel before completing a job, turn off the machine and allow the engine to cool before opening the fuel tank.
Fuel Spraying or "Geysering"
Removing the cap on a pressurized fuel tank can result in gasoline, vapors and fumes being forcefully sprayed out from the fuel tank in all directions. The escaping gasoline, vapors or fumes can cause serious personal injury, including fire and burn injury, or property damage.
Sometimes also referred to as "fuel geysering," fuel spraying is an expulsion of fuel, vapors and fumes which can occur in hot conditions, or when the engine is hot, and the tank is opened without allowing the power tool to cool adequately. It is more likely to occur when the fuel tank is half full or more.
Pressure is caused by fuel and heat and can occur even if the engine has not been running. When gasoline in the fuel tank is heated (by ambient temperatures, heat from the engine, or other sources), vapor pressure will increase inside the fuel tank.
Some blends of gasoline, particularly those designed for use in winter, are more volatile and may cause tanks to pressurize more quickly or create greater pressure. At higher altitudes, fuel tank pressurization is more likely.
How to Avoid Fuel Spraying
Removing the fuel cap on a pressurized tank can result in gasoline, vapours and fumes being forcefully sprayed out from the fuel tank in all directions. To reduce the risk of burns, serious injuries or property damage from fuel spraying:
- Follow the fuelling instructions in this chapter.
- Always assume your fuel tank is pressurized.
- Allow the power tool to cool before removing the fuel cap.
- In hot environments, cooling will take longer.
- The engine is air cooled. When it is shut off, cooling air is no longer drawn across the cylinder and the engine temperature will rise for several minutes before starting to cool.
After the power tool has cooled appropriately, follow the safety instructions in this chapter for removing the cap.
Never remove the fuel filler cap by turning it directly to the open position. First check for residual pressure in the tank by slowly turning the cap approximately 1/2 turn counterclockwise. The cap should be held in place by the threads while allowing residual vapour/pressure to be relieved. Once the fumes or vapour have been relieved, turn the cap further until it can be removed from the tank opening.
Use only good quality fuel that is appropriate for the season (summer v. winter blends). Some blends of gasoline, particularly winter blends, are more volatile and can contribute to fuel spraying.
Removing the Threaded Fuel Filler Cap
After allowing the power tool to cool, remove the fuel filler cap slowly and carefully to allow any remaining pressure build-up in the tank to release:
- While maintaining steady, downward pressure, slowly turn the cap approximately 1/2 turn counterclockwise.
- If any significant venting occurs, immediately re-seal the tank by turning the cap clockwise to the closed position. Allow the power tool to cool further before attempting to open the tank.
- Turn the cap to the open position only after the contents of the tank are no longer under pressure.
- Never remove the cap by turning it directly to the open position. First allow the power tool to cool adequately and then release any residual pressure by slowly turning it approximately 1/2 turn counterclockwise.
- Never attempt to remove the cap while the engine is still hot or running.
Installing the Threaded Fuel Filler Cap

Unit vibrations can cause an improperly tightened fuel filler cap to loosen or come off and spill quantities of fuel. To reduce the risk of fuel spillage and fire, tighten the fuel filler cap by hand with as much force as possible.
Damaged or Broken Cap
If your fuel cap does not tighten properly, it may be damaged or broken. Stop using the power tool and take it to your authorized STIHL dealer for repair.
Vapour Lock
Vapor lock occurs when fuel in the fuel line or carburetor vaporizes, causing bubbles to block the free flow of liquid fuel into the carburetor. Vapor lock cannot be relieved or affected by opening the fuel tank. Removing the fuel filler cap without first allowing the power tool to cool adequately can result in fuel spraying. Always follow the instructions in this section when removing the fuel cap.
To relieve vapour lock:
- Press the manual fuel pump bulb at least 20 to 30 times – even if the bulb is already filled with fuel – to clear the vapour and send liquid fuel into the carburetor. Then start the power tool. For specific starting instructions, see the appropriate section of your instruction manual.
- If the manual fuel pump bulb will not be filled, place the Choke Knob to the cold start position g
and pull the starter cord until the engine runs. If the engine does not fire after 10 pulls in the cold start position
, place the Choke Knob to the warm start position
and start the engine in the warm start position
. - If your power tool will not restart, or if vapour lock occurs again, the power tool is being used in conditions too extreme for the fuel being used. Discontinue use and let the engine cool completely before attempting to start the power tool.
Before Operation
Always check your power tool for proper condition and operation before starting, particularly the throttle trigger, setting lever and stop switch. The throttle trigger must move freely and always spring back to the idle position. Never attempt to modify the controls or safety devices.
Check fuel system for leaks, especially the visible parts, e.g., filler cap, hose connections, manual fuel pump (only for power tools equipped with a manual fuel pump). Do not start the engine if there are leaks or damage – risk of fire. Have the power tool repaired by a STIHL servicing dealer before using it.
Never operate your power tool if it is damaged, improperly adjusted or maintained, or not completely and securely assembled.
To reduce the risk of injury, do not operate your blower unless it has a properly mounted blower tube.
Check that the spark plug boot is securely mounted on the spark plug – a loose boot may cause arcing that could ignite combustible fumes and cause a fire.
Keep the handles clean and dry at all times; it is particularly important to keep them free of moisture, pitch, oil, fuel mix, grease or resin in order for you to maintain a firm grip and properly control your power tool.
For specific starting instructions, see the appropriate section of your instruction manual.
Starting
Start the engine at least 10 feet (3 meters) from the fuelling spot, outdoors only.
Your power tool is a one-person machine. Do not allow other persons in the general work area, even when starting.
For specific starting instructions, see the appropriate section of your manual. Place the power tool on firm ground or other solid surface in an open area. Maintain good balance and secure footing.
To reduce the risk of injury from loss of control, do not attempt to "drop start" your power tool.
When you pull the starter grip, do not wrap the starter rope around your hand. Do not let the grip snap back, but guide the starter rope to rewind it properly. Failure to follow this procedure may result in injury to your hand or fingers and may damage the starter mechanism.
Once the engine has started, immediately blip the throttle trigger, which should release the starting throttle and allow the engine to slow down to idle.
This unit is equipped with an ignition system that is normally in operational readiness. After the setting lever is used to stop the engine, it automatically springs back to the "on" position. If the engine is warm, it may be possible to start it by simply pulling the starter rope, with no further adjustments. To reduce the risk of injury, be particularly alert to keep children away from the unit.
During Operation
Holding and Controlling the Power Tool

The blower is designed for singlehanded operation. It must be carried by the control handle in the right hand.
Watch out for small animals when using the blower on open ground, in yards and gardens.
Operate the unit only with a properly mounted blower tube.
The round nozzle is particularly suitable for use on uneven surfaces (e.g. fields and lawns).
The fan nozzle (either included with unit or available as special accessory) produces a broad and powerful airstream at ground level. It can be aimed and controlled very accurately. This nozzle is highly effective for blowsweeping sawdust, leaves, grass cuttings, etc. on paved surfaces.
Special care must be taken in slippery conditions (wet ground, snow) and in difficult, overgrown terrain. Watch for hidden obstacles such as tree stumps, roots and ditches to avoid stumbling. For better footing, clear away fallen branches, scrub and cuttings. Be extremely cautious when working on slopes or uneven ground.
To reduce the risk of injury from loss of control, never work on a ladder, in a tree or any other insecure support. Never hold the machine above shoulder height.
Working conditions
To minimize blowing time, use a rake and broom to loosen dirt particles before you start blowing.
Save water by using a blower instead of a water hose for lawn and garden work wherever possible, e.g. for cleaning yards and patios.
Recommended working technique to minimize air pollution:
- If conditions are very dusty, dampen surfaces slightly before blowing.
- Pull out the nozzle to full length so that the airstream is at ground level.
- Do not blow particles in the direction of bystanders, in particular in the direction of children, pets, open windows or freshly washed vehicles. Take special care in such situations.
- Remove the blow-swept debris in rubbish bins – do not blow it onto the neighbor's land.
Recommended working technique to minimize noise:
- Operate your power tool at reasonable times only – not early in the morning, late at night or during midday rest periods when people could be disturbed. Observe local rest periods.
- Fewer engines mean less noise. Where possible, do not run more than one power tool at any time.
- Operate blowers at the lowest engine speed necessary to accomplish the task.
- Check your blower before starting work. Pay special attention to the muffler, air intakes and air filter.
Operate and start your power tool only outdoors in a well ventilated area. Operate it under good visibility and daylight conditions only. Work carefully.

As soon as the engine is running, this product generates toxic exhaust fumes containing chemicals, such as unburned hydrocarbons (including benzene) and carbon monoxide, that are known to cause respiratory problems, cancer, birth defects, or other reproductive harm. Some of the gases (e.g. carbon monoxide) may be colourless and odourless. To reduce the risk of serious or fatal injury/illness from inhaling toxic fumes, never run the machine indoors or in poorly ventilated locations.
Inhalation of certain dusts, especially organic dusts such as mould or pollen, can cause susceptible persons to have an allergic or asthmatic reaction. Substantial or repeated inhalation of dust and other airborne contaminants, in particular those with a smaller particle size, may cause respiratory or other illnesses. Control dust at the source where possible. Use good work practices, such as operating the unit so that the wind or operating process directs any dust raised by the power tool away from the operator. Follow the recommendations of EPA/OSHA/NIOSH and occupational and trade associations with respect to dust ("particulate matter"). When the inhalation of dust cannot be substantially controlled, i.e., kept at or near the ambient (background) level, the operator and any bystanders should wear a respirator approved by NIOSH/MSHA for the type of dust encountered.
If the substance being blown is a commercial substance, review, understand and follow all warnings and instructions contained in the material safety data sheet for that substance and/or consult the material manufacturer/supplier. The state of California and some other authorities, for instance, have published lists of substances known to cause cancer, reproductive toxicity, etc.
Breathing asbestos dust is dangerous and can cause severe or fatal injury, respiratory illness or cancer. The use and disposal of asbestos-containing products have been strictly regulated by OSHA and the Environmental Protection Agency. If you have any reason to believe that you might be blowing or otherwise disturbing asbestos, immediately contact your employer or a local OSHA representative.
Dust with silica in its composition may contain crystalline silica. Silica is a basic component of sand, quartz, brick, clay, granite and numerous other minerals and rocks, including masonry and concrete products. Repeated and / or substantial inhalation of airborne crystalline silica can cause serious or fatal respiratory disease, including silicosis. In addition, the state of California and some other authorities have listed respirable crystalline silica as a substance known to cause cancer. When encountering such materials, always follow the respiratory precautions mentioned above.
Operating instructions
In the event of an emergency, switch off the engine immediately – move the slide control / stop switch to 0 or STOP

In order to reduce the risk of personal or even fatal injury to bystanders from blown objects keep bystanders at least 16 feet (5m) away when the power tool is running.
Stop the engine immediately if you are approached.
To reduce the risk of personal injury, do not direct air blast towards bystanders, since the high pressure of the air flow can injure eyes and can blow small objects at great speed. Do not direct airblast towards pets.
The blower fan between the air intake and output openings rotates whenever the engine is running.
Never insert any foreign object into the air intake of the machine or into the nozzle of the blower. It will damage the fan wheel and may cause serious injury to the operator or bystanders as a result of the object or broken parts being thrown out at high speed.
Do not place the blower on the ground when operating at high speed, because small objects such as sand, grass, dust, etc. may be pulled into the air intake and damage the fan wheel. It is best to turn the machine off when putting it on the ground.
Never modify your muffler. Any modification could cause an increase in heat radiation, sparks or sound level, thereby increasing the risk of fire, burn injury or hearing loss. You may also permanently damage the engine. Have your muffler serviced and repaired by your STIHL servicing dealer only.
The muffler and other parts of the engine (e.g. fins of the cylinder, spark plug) become hot during operation and remain hot for a while after stopping the engine. To reduce risk of burns, do not touch the muffler and other parts while they are hot. Keep the area around the muffler clean. Remove excess lubricant and all debris such as pine needles, branches or leaves. Let the engine cool down sitting on concrete, metal, bare ground or solid wood away from any combustible substances.
An improperly mounted or damaged cylinder housing or a damaged/deformed muffler shell may interfere with the cooling process of the muffler. To reduce the risk of fire or burn injury, do not continue work with a damaged or improperly mounted cylinder housing or a damaged/deformed muffler shell.
Your muffler is furnished with a spark arresting screen designed to reduce the risk of fire from the emission of hot particles. Never operate your unit with a missing or damaged spark arresting screen. If your gas/oil mix ratio is correct (i.e., not too rich), this screen will normally stay clean as a result of the heat from the muffler and need no service or maintenance. If you experience loss of performance and you suspect a clogged screen, have your muffler maintained by a STIHL servicing dealer. Some state or federal laws or regulations may require a properly maintained spark arrestor for certain uses. See the "Maintenance, Repair and Storing" section of these Safety Precautions. Remember that the risk of a brush or forest fire is greater in hot or dry conditions.

Some STIHL power tools are equipped with a catalytic converter, which is designed to reduce the exhaust emissions of the engine by a chemical process in the muffler. Due to this process, the muffler does not cool down as rapidly as conventional mufflers when the engine returns to idle or is shut off. To reduce the risk of fire and burn injuries when using a catalytic converter, always set your power tool down in the upright position and never locate it where the muffler is near dry brush, grass, wood chips or other combustible materials while it is still hot.
Using the Vacuum Attachment
(only BG 56, BG 86, SH 56, SH 86)
For specific assembling instructions, see the appropriate section of your instructions manual. Do not use this appliance in vacuum mode without the catcher bag.

The vacuum attachment is designed for two-handed operation. Hold and operate the unit with your right hand on the control handle and your left hand on the assist handle.
Wear the catcher bag shoulder strap over your left shoulder – not across your chest – so that you can quickly throw off the unit and catcher bag in an emergency.

To reduce the risk of injury, do not operate the machine unless it is fully assembled with a properly mounted suction tube and catcher bag.

In order to reduce the risk of injury from contact with rotating parts and damage to the engine, the intake screen must always be closed and the locking tab engaged when the suction tube is not mounted. Stop engine and wait until the fan is stopped before opening the intake screen.

To reduce the risk of personal injury from fire and explosion, never attempt to vacuum hot or burning substances (e.g. smoldering ashes, glowing cigarettes) or combustible fluids (e.g. gasoline, paint thinners).

Vacuuming unsuitable materials may block the fanwheel. Switch off the unit immediately. Then clear the blockage.
Take particular care when vacuuming wet leaves since they may block the blower wheel and elbow.
Never vacuum solid objects such as nails, steel shavings, tacks, rocks or broken glass. These objects may be struck by the fan wheel and flung away at high speed and may cause injury to the operator or bystander.
NOTICE
Vacuuming abrasive material (such as grit, stone chips, etc.) causes the blower wheel and blower housing to wear at a rapid rate. This results in a considerable loss of suction power. In such a case you should contact your dealer. STIHL recommends a STIHL servicing dealer.
Watch out for small animals when using the vacuum on open ground, in yards and gardens.
MAINTENANCE, REPAIR AND STORAGE
Use only identical STIHL replacement parts for maintenance and repair. Use of non-STIHL parts may cause serious or fatal injury.
Strictly follow the maintenance and repair instructions in the appropriate section in this instruction manual. Please refer to the maintenance chart in this instruction manual.
Always stop the engine and make sure that the fan is stopped before doing any maintenance or repair work or cleaning the power tool. Do not attempt any maintenance or repair work not described in this instruction manual. Have such work performed by your STIHL servicing dealer only.
Do not clean your machine with a pressure washer. The solid jet of water may damage parts of the machine.
Use the specified spark plug and make sure it and the ignition lead are always clean and in good condition. Always press spark plug boot snugly onto spark plug terminal of the proper size. A loose connection between spark plug terminal and the ignition wire connector in the boot may create arcing that could ignite combustible fumes and cause a fire. Keep spark plug clean, and make sure ignition lead is in good condition. Do not use a spark plug with a detachable SAE adapter terminal. Arcing may occur that could ignite combustible fumes and cause a fire. This can result in serious injuries or damage to property.
Never test the ignition system with the boot removed from the spark plug or with a removed spark plug, since uncontained sparking may cause a fire.
Do not operate your power tool if the muffler is damaged, missing or modified. An improperly maintained muffler will increase the risk of fire and hearing loss. Your muffler is equipped with a sparkarresting screen to reduce the risk of fire; never operate your power tool if the screen is missing, damaged or clogged. Remember that the risk of a brush or forest fire is greater in hot or dry weather.
In California, it is a violation of § 4442 or § 4443 of the Public Resources Code to use or operate gasoline-powered tools on forest-covered, brush-covered or grass-covered land unless the engine's exhaust system is equipped with a complying spark arrester that is maintained in effective working order. The owner/operator of this product is responsible for properly maintaining the spark arrester. Other states or governmental entities/agencies, such as the U.S. Forest Service, may have similar requirements. Contact your local fire agency or forest service for the laws or regulations relating to fire protection requirements.
Tighten all nuts, bolts and screws except the carburettor adjustment screws after each use.
For maintenance items please also refer to the maintenance chart in this instruction manual.
Store the power tool in a dry and high or locked location out of reach of children.
Before storing for longer than a few days, always empty the fuel tank. See chapter "Storing the machine" in this instruction manual.
Store fuel in an approved and properly labelled safety-type canister only. Take care when handling gasoline! For health and safety reasons, avoid direct contact with the skin and avoid inhaling fuel vapour!
Download manual
Here you can download full pdf version of manual, it may contain additional safety instructions, warranty information, FCC rules, etc.
Download Stihl BG 56, BG 66, BG 86, SH 56, SH 86, BG 56 C-E, BG 86 C-E Manual


is in line with the arrows.
is in line with the arrows – union nut snaps audibly into position.
is in line with the arrows.
is in line with the arrows – union nut snaps audibly into position.






– the engine returns to idle speed.
).
and pull the starter cord until the engine runs. If the engine does not fire after 10 pulls in the cold start position