Manual de ARIETE 1593, 1593/00
Símbolos
La información proporcionada en este manual está marcada con los siguientes símbolos que indican:
Peligro para niños
Peligro debido a la electricidad
Peligro de daños originados por otras causas
Daños materiales
USO PREVISTO
Puede utilizar el aparato para extender la masa de la pasta. Puede preparar lasaña, tallarines, tallarines finos, papardelle y fettuccine.
Este aparato está diseñado única y exclusivamente para uso privado, por lo que debe considerarse inadecuado para fines industriales o profesionales. El fabricante no contempla ningún otro uso del aparato, por lo que queda exento de toda responsabilidad por cualquier tipo de daño causado por un uso inadecuado del mismo. El uso indebido también conlleva la pérdida de cualquier forma de garantía. Está prohibida cualquier modificación del aparato. Está prohibido utilizar el aparato con motores o accesorios distintos de los suministrados.
DESCRIPCIÓN DEL APARATO

- Rodillo doble para papardelle y fettuccine
- Accesorios del rodillo
- Regulador del grosor de la masa con 9 posiciones
- Base con rodillos para lasaña
- Soporte
- Abrazadera
- Cable de alimentación + enchufe
- Cuerpo del motor
- Interruptor de encendido/apagado y selector de velocidad
- Botón de pulso para funcionamiento por impulsos
- Eje de transmisión
- Manivela
- Rodillo doble para tallarines y tallarines finos
Datos de identificación
La placa situada debajo de la base de soporte del aparato muestra los siguientes datos de identificación:
- fabricante y marca CE
- modelo (Mod.)
- número de serie (SN)
- tensión de alimentación eléctrica (V) y frecuencia (Hz)
- consumo de energía eléctrica (W)
- número de teléfono gratuito de asistencia
Al realizar un pedido en los centros de servicio autorizados, indique el modelo y el número de serie.
INSTRUCCIONES DE USO
Antes de usar
Atención
Compruebe que la tensión de red doméstica sea la misma que la tensión indicada en la etiqueta del aparato.
Atención
Coloque siempre el interruptor de encendido en "0" antes de enchufarlo.
Antes de utilizarlo, asegúrese de que el motor pueda apagarse rápidamente en caso de emergencia:
Lave los componentes como se describe en el párrafo "Limpieza del aparato".
El aparato puede utilizarse manualmente con la manivela (L) y la abrazadera (F) o con el motor (H).
Utilice el aparato con el motor
Atención
Peligro de que los dedos, el pelo, la ropa, las pulseras y los collares se enganchen. Durante el uso, asegúrese de que la ropa, el pelo y las joyas, como pulseras y collares, no queden atrapados en los rodillos del aparato.
- Coloque la base con el rodillo para lasaña (D) sobre una superficie horizontal capaz de soportar su peso.
- Inserte el soporte (E) en el lado derecho del aparato.
![]()
- Tome el cuerpo del motor e inserte el eje de transmisión en el orificio del rodillo para lasaña.
![]()
Si el eje de transmisión no entra, intente mover el cuerpo del motor hacia arriba y hacia abajo. El eje de transmisión (K) tiene que estar alineado con el orificio del rodillo.
![]()
- Sujete el aparato con una mano y, con la otra, empuje el motor para insertar la lengüeta de soporte en el soporte (Fig. 5). Empuje con firmeza (Fig. 6).
![ARIETE - 1593 - Utilice el aparato con el motor Utilice el aparato con el motor]()
- Asegúrese de que el interruptor de encendido/apagado esté en la posición "0" (Fig. 7). Introduzca el enchufe en una toma de corriente.
![]()
- Para arrancar el motor, coloque el interruptor de encendido/apagado en la posición "I" o "II" en función de la velocidad deseada: "I" para velocidad normal, "II" para velocidad turbo.
- El modo de impulsos puede activarse pulsando el botón de impulsos (J). El modo de impulsos puede activarse solo si el interruptor de encendido/apagado está en la posición "0". Los rodillos giran solo cuando se pulsa el botón.
![]()
- Apague el motor después de usarlo. Coloque el interruptor de encendido/apagado en la posición "0". Desenchúfelo de la toma de corriente. No utilice el aparato durante más de una hora consecutiva y, a continuación, déjelo reposar durante una hora.
Utilice el aparato manualmente
- Coloque la base con el rodillo para lasaña (D) sobre una superficie horizontal capaz de soportar su peso.
- Inserte la abrazadera (F) en el orificio situado en el lateral de la base con los rodillos para lasaña.
![]()
- Atornille la abrazadera y bloquee la base a la superficie.
- Inserte la manivela (L) en el orificio del rodillo deseado.
![]()
Uso de los rodillos para lasaña
Si quiere preparar lasaña, puede utilizar solo la base con los rodillos para lasaña. No es necesario utilizar los rodillos dobles.
- Gire el regulador del grosor de la masa en sentido contrario a las agujas del reloj (Fig. 9). Hacia "1" para una masa más gruesa.
![]()
- Introduzca entre los rodillos para lasaña la masa previamente preparada. Active el motor o gire la manivela en el sentido de las agujas del reloj para que giren los rodillos. Obtendrá una primera lámina de masa. Si es posible, trabaje la masa con ambas manos, sujetándola lo más estirada posible, mientras la introduce y la saca de los rodillos para lasaña.
- Doble la masa por la mitad. Espolvoree harina sobre la masa. Extienda de nuevo la masa. Repita la operación hasta que obtenga una lámina de masa uniforme.
- Para reducir el grosor de la masa, debe reducir la distancia entre los rodillos. Gire el regulador del grosor de la masa en el sentido de las agujas del reloj. Hacia "9" para una masa más fina.
- Extienda la masa varias veces, enharinándola cada vez, hasta obtener el grosor deseado.
Para obtener un resultado óptimo, le sugerimos que espolvoree harina sobre la masa por cada lado cada vez.
Utilice los rodillos dobles
Antes de cortar la masa con los rodillos dobles para papardelle y fettuccine o para tallarines y tallarines finos, tiene que extender la masa. Utilice los rodillos para lasaña para extender la masa.
Después de hacer las láminas de masa con los rodillos para lasaña, puede cortar la masa con el formato de pasta deseado.
- Retire el cuerpo del motor (H) o la manivela (L) de los rodillos para lasaña.
- Elija el formato de pasta que quiera preparar y monte el rodillo adecuado en la base (Fig. 10). Enganche el rodillo en los accesorios del rodillo (B) (Fig. 11).
![]()
![]()
- Inserte el motor o la manivela en el orificio del rodillo deseado.
![]()
- Si inserta el motor en el orificio externo de los rodillos, no es necesario montarlo en el soporte.
- Coloque un extremo de la lámina de masa en el rodillo y active el motor o gire la manivela en el sentido de las agujas del reloj.
Después de usar
- Al final de cada uso, desenganche el motor del soporte. Extraiga el eje de transmisión o la manivela del orificio de los rodillos para lasaña o de uno de los orificios de los otros rodillos.
![]()
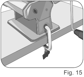
- Desenganche el soporte abriendo el lado interior (Fig. 14). Extraiga el soporte del lado de la base.
![]()
- Lave los componentes como se describe en el párrafo "Limpieza del aparato".
LIMPIEZA DEL APARATO
Atención
Todas las operaciones de limpieza descritas a continuación deben realizarse con el aparato apagado y con el enchufe desenchufado de la toma de corriente.
Atención
Un buen mantenimiento y una limpieza regular preservan y mantienen el aparato funcionando eficazmente durante un período de tiempo más largo.
Limpieza del cuerpo del motor
Nunca lave el cuerpo del motor con agua ni en el lavavajillas. Límpielo con un paño seco antes y después de cada uso.
Limpieza de la base y de los rodillos dobles
Al final de cada uso, retire el rodillo doble de la base con los rodillos para lasaña.
No retire la masa residual con objetos romos. Utilice un cepillo suave para limpiar las partes más difíciles.
La base con los rodillos para lasaña y los rodillos dobles pueden lavarse en la parte superior del lavavajillas o con agua corriente.
Atención
No utilice detergentes abrasivos ni utensilios metálicos, ya que rayarán las superficies de acero.
Asegúrese de que todos los componentes estén completamente secos antes de guardarlos.
RESOLUCIÓN DE PROBLEMAS
Si hay problemas con el funcionamiento, apague inmediatamente el aparato y desenchúfelo de la toma de corriente.
| Problemas | Causas | Soluciones |
| El motor no se enciende. | El aparato no está enchufado. | Introduzca el enchufe en una toma de corriente. |
| El botón de encendido/apagado está activado. | Encienda el motor, seleccionando la velocidad deseada. |
RIESGOS RESIDUALES
Las características constructivas del aparato, cubiertas por esta publicación, no permiten proteger al usuario del arrastre debido al movimiento de los rodillos.
Atención
Peligro de que los dedos, el pelo, la ropa, las pulseras y los collares se enganchen. Durante el uso, asegúrese de que la ropa, el pelo y las joyas, como pulseras y collares, no queden atrapados en los rodillos del aparato.
PRECAUCIONES IMPORTANTES
LEA ATENTAMENTE ESTAS INSTRUCCIONES.
- Este aparato es solo para uso doméstico.
- Declinamos cualquier responsabilidad derivada del uso indebido o de cualquier uso distinto de los contemplados en este folleto.
- Le sugerimos que conserve la caja y el embalaje originales, ya que nuestro servicio gratuito no cubre ningún daño resultante de un embalaje inadecuado del producto cuando se devuelve a un centro de servicio autorizado.
- Este aparato puede ser utilizado por personas con capacidades físicas, sensoriales o mentales reducidas, o con falta de experiencia y conocimiento, solo si son supervisadas por una persona responsable o si han recibido y comprendido las instrucciones relativas al uso seguro del aparato y si han comprendido los peligros que pueden surgir durante el uso del aparato:
- El aparato cumple con el Reglamento CE nº de sobre los materiales en contacto con alimentos.
Peligro para niños
- Este aparato no debe ser utilizado por niños.
- Los niños no deben jugar con el aparato ni con sus componentes.
- No deje el embalaje cerca de los niños porque es potencialmente peligroso.
- Mantenga el aparato y su cable fuera del alcance de los niños.
- No deje que el cable de alimentación cuelgue en un lugar donde pueda ser agarrado por un niño.
- En caso de que este aparato vaya a ser desechado, se sugiere que se corte el cable de alimentación. También se recomienda que todos los componentes potencialmente peligrosos, incluido el cable de alimentación, se inutilicen para evitar lesiones personales. No deje que los niños jueguen con el aparato ni con sus componentes.
Peligro debido a la electricidad
- Antes de conectar la unidad a la fuente de alimentación, compruebe que la tensión que se muestra en la placa situada debajo del aparato corresponde a la red eléctrica local.
- El uso de extensiones no aprobadas por el fabricante puede provocar daños a la propiedad y lesiones personales.
- Si el cable de alimentación está dañado, debe ser sustituido por el fabricante o por su Servicio de Asistencia Técnica o por una persona cualificada similar para evitar cualquier peligro.
- Nunca ponga las partes activas en contacto con el agua: ¡Puede causar un cortocircuito!
- El aparato no debe ser alimentado por temporizadores externos o sistemas separados controlados a distancia.
- Retire el enchufe de la toma de corriente antes de la limpieza o el mantenimiento.
- Nunca toque el aparato, el enchufe y el cable de alimentación con las manos mojadas.
- No sumerja el cuerpo del motor en agua u otros líquidos.
- No utilice el aparato cerca de recipientes de agua o fregaderos.
- Apague siempre el motor colocando el interruptor de encendido/apagado en "0" y, a continuación, desenchúfelo.
- Si el cuerpo del motor cae al agua, no intente alcanzarlo, sino que retire inmediatamente el enchufe de la toma de corriente.
- El montaje y desmontaje de los componentes debe realizarse con el aparato apagado y el cable de alimentación desenchufado de la toma de corriente.
Peligro de daños originados por otras causas
- Elija una habitación adecuadamente iluminada y limpia con una toma de corriente de fácil acceso.
- Nunca deje el aparato desatendido cuando esté conectado a la fuente de alimentación.
- El aparato no debe utilizarse si se ha caído, si hay signos visibles de daños o fugas de agua. No utilice el aparato si el cable de alimentación o el enchufe están dañados, o si el aparato está defectuoso. Para evitar cualquier accidente, todas las reparaciones, incluida la sustitución del cable de alimentación, deben ser realizadas por un centro de servicio autorizado o por personal debidamente cualificado.
Daños materiales
- El aparato debe utilizarse y dejarse en reposo sobre una superficie estable.
- Desenrolle siempre el cable de alimentación antes de usarlo.
- No tire del cable de alimentación para desenchufar el aparato.
- No utilice el aparato en exteriores.
- No coloque el aparato sobre superficies muy calientes o cerca de llamas abiertas para evitar que la carcasa se dañe.
- No coloque el aparato cerca o encima de cocinas eléctricas o de gas calientes, o cerca de un horno microondas.
- No deje el aparato expuesto a la intemperie, la lluvia, el sol, etc.
Para desechar el producto correctamente de acuerdo con la Directiva Europea E8, consulte y lea el folleto adjunto al producto.
Consumo de energía en modo apagado: 0,0 W
Descargar manual
Aquí puedes descargar la versión completa en pdf del manual, puede contener instrucciones de seguridad adicionales, información de garantía, reglas de la FCC, etc.
Descargar Manual de ARIETE 1593, 1593/00













