Sharp EL-1197PIII - Manual de la Calculadora Electrónica con Impresión
- 1 NOTAS OPERATIVAS
- 2 USO DE LA CALCULADORA POR PRIMERA VEZ
- 3 CONTROLES DE OPERACIÓN
- 4 SUSTITUCIÓN DE LA CINTA DE TINTA
- 5 SUSTITUCIÓN DEL ROLLO DE PAPEL
- 6 ERRORES
- 7 SUSTITUCIÓN DE LA BATERÍA PARA LA PROTECCIÓN DE LA MEMORIA
- 8 ESPECIFICACIONES
- 9 RESTABLECIMIENTO DE LA UNIDAD
-
10
EJEMPLOS DE CÁLCULO
- 10.1 IMPRESIÓN DE FECHA Y HORA
- 10.2 CÁLCULO MIXTO
- 10.3 SUMA Y RESTA CON MODO DE SUMA
- 10.4 CONSTANTE
- 10.5 CORRECCIÓN DE ERRORES
- 10.6 POR CIENTO
- 10.7 AUMENTO Y DESCUENTO
- 10.8 MARGEN DE BENEFICIO Y MARGEN
- 10.9 CAMBIO DE PORCENTAJE
- 10.10 TOTAL GENERAL
- 10.11 CÁLCULO DEL CONTEO DE ARTÍCULOS
- 10.12 PROMEDIADO
- 10.13 MEMORIA
- 10.14 CÁLCULOS DE TASA DE IMPUESTOS
- 10.15 CÁLCULOS DE TIEMPO
- 10.16 EJEMPLOS DE CÁLCULO DE CONVERSIÓN
- 11 GARANTÍA LIMITADA
- 12 FCC
- 13 Referencias
- 14 Descargar el manual
- 15 En otros idiomas

NOTAS OPERATIVAS
Para asegurar un funcionamiento sin problemas de su calculadora SHARP, le recomendamos lo siguiente:
- La calculadora debe mantenerse en áreas libres de cambios extremos de temperatura, humedad y polvo.
- Se debe usar un paño suave y seco para limpiar la calculadora. No use disolventes ni un paño húmedo.
- Dado que este producto no es impermeable, no lo use ni lo guarde donde los fluidos, por ejemplo, el agua, puedan salpicarlo. Las gotas de lluvia, el rocío de agua, el jugo, el café, el vapor, la transpiración, etc., también causarán un mal funcionamiento.
- Si se requiere servicio, use solo un distribuidor de servicio SHARP, un centro de servicio aprobado por SHARP o un servicio de reparación SHARP.
- No opere la unidad con la lámina de aislamiento de la batería adjunta. La lámina de aislamiento de la batería evita que la batería de protección de la memoria se desgaste y se encuentra en la parte posterior de la unidad.
Operar con la lámina de aislamiento de la batería adjunta puede resultar en la pérdida de información como la fecha y la hora, el tipo de cambio y la tasa de impuestos/descuentos si el enchufe de alimentación de CA se desenchufa accidentalmente de la toma de corriente. - No enrolle el cable de CA alrededor del cuerpo ni lo doble o retuerza a la fuerza.
SHARP no será responsable de ningún daño económico o patrimonial incidental o consecuente causado por el uso indebido y/o el mal funcionamiento de este producto y sus periféricos, a menos que dicha responsabilidad sea reconocida por la ley.
USO DE LA CALCULADORA POR PRIMERA VEZ
Primero, retire la lámina de aislamiento de la batería de protección de la memoria (instalada para retener la información de fecha/hora, tipo de cambio y tasa de impuestos/descuentos). Restablezca la calculadora para inicializar el estado de la unidad, luego ajuste la fecha y la hora.
Retirar la lámina de aislamiento y restablecer
- Retire la lámina de aislamiento de la batería de protección de la memoria.
![Sharp - EL-1197PIII - Retirar la lámina de aislamiento y restablecer Retirar la lámina de aislamiento y restablecer]()
- Presione el interruptor RESET ubicado en la parte posterior de la unidad.
(Ver "RESTABLECIMIENTO DE LA UNIDAD").
*El reloj comienza, indicando la fecha y hora actuales como 1 de enero de 2005, 12:00:00 a.m.
Ajuste de fecha y hora
Ejemplo: Cuando la fecha es 15 de septiembre de 2004 y la hora es 3:38 p.m.

(ver "TOTAL GENERAL / SELECTOR DE MODO DE CONFIGURACIÓN DE TARIFAS")
*Cuando se completa el ajuste, el reloj comienza a las 3:38:00 p.m.
CONTROLES DE OPERACIÓN
INTERRUPTOR DE ALIMENTACIÓN; SELECTOR DE MODO IMPRESIÓN / CONTEO DE ARTÍCULOS

"OFF" (apagado): Apagado.
"•": Encendido. Establecido en el modo sin impresión.
"P": Encendido. Establecido en el modo de impresión.
"P•IC": Encendido. Establecido en el modo de impresión y conteo de artículos.
- El contador contará el número de veces que se ha presionado la tecla
además.
Nota:
- Cada vez que se utiliza la tecla
en la resta, se restará 1 del conteo. - El conteo se imprime cuando se obtiene el resultado calculado.
- Al presionar la tecla
,
,
,
o
se borra el contador.
- Cuando el selector de modo de total general/configuración de tasa está en la posición ON (GT), el contador contará el número de veces que los resultados del cálculo se han almacenado en la memoria del total general. Para imprimir y borrar el conteo, presione la tecla
. - El contador de elementos de memoria contará el número de veces que se ha presionado la tecla
en la suma.
Nota:
- Cada vez que se utiliza la tecla
en la resta, se restará 1 del conteo. - El conteo se imprime cuando se recupera la memoria.
- Al presionar la tecla
se borra el contador.
Nota: El contador tiene una capacidad máxima de 3 dígitos (hasta ±999). Si el conteo excede el máximo, el contador volverá a contar desde cero.
SELECTOR DECIMAL

Preestablece el número de decimales en la respuesta. En la posición ''F'', la respuesta se muestra en el sistema de decimal flotante.
SELECTOR DE MODO CONSTANTE/SUMA

''K'': Se realizarán las siguientes funciones constantes:
Multiplicación:
La calculadora recordará automáticamente el primer número ingresado (el multiplicando) y la instrucción
.
División:
La calculadora recordará automáticamente el segundo número ingresado (el divisor) y la instrucción
.
''•'': Neutral
''A'': El uso del modo Add (sumar) permite la suma y resta de números sin ingresar el punto decimal. Cuando el modo Add (sumar) está activado, el punto decimal se posiciona automáticamente de acuerdo con la configuración del selector decimal.
El uso de
y
anulará automáticamente el modo Add (sumar) y las respuestas decimalmente correctas se imprimirán en la posición decimal preestablecida.
SELECTOR DE REDONDEO

"
": Una respuesta se redondea hacia arriba.
"5/4": Una respuesta se redondea al valor más cercano.
"
": Una respuesta se redondea hacia abajo.
Nota: El punto decimal flota durante el cálculo sucesivo mediante el uso de
o
.
Si el selector decimal está configurado en "F", entonces la respuesta siempre se redondea hacia abajo (
).
SELECTOR DE MODO DE TOTAL GENERAL/CONFIGURACIÓN DE TASA

"GT": Grand Total (Total General)
"•": Neutral
"
": Para configurar la fecha, la hora, la tasa de conversión y la tasa de impuestos/descuentos, coloque el interruptor en la posición "RATE SET" (CONFIGURAR TASA).
Fecha:
- Ingrese en el orden de mes, día y año, luego presione
para completar la entrada. - Use
para separar el mes, el día y el año. - Cuando se presiona
, el número ingresado se evalúa y se muestra como "date" (fecha) si el valor está dentro del siguiente rango; de lo contrario, se muestra "Error" (error) y se restaura la fecha establecida anteriormente.
Mes: 1 - 12; día: 1 - 31; Año: 2000 - 2099 (en 4 dígitos) o 00 - 99 (en 2 dígitos)
Hora:
- Ingrese en el orden de hora, minutos, luego presione
para completar la entrada.
(No hay entrada disponible para el valor de los segundos. El reloj comienza en cero segundos.) - Si el dígito de hora/minuto es menor que 10, no es necesario ingresar el primer dígito "0".
- Use
para separar los valores de hora y minuto. - Cuando se presiona
, el número ingresado se evalúa y se muestra como "time" (hora) si el valor está dentro del siguiente rango; de lo contrario, se muestra "Error" (error) y se restaura la hora establecida anteriormente.
Hora: 0 - 23 (sistema de 24 horas para la entrada de hora), Minuto: 0 - 59
Tasa de conversión:
- Presione
dos veces, ingrese la tasa de conversión, seguido de ![]()
- Se puede almacenar un máximo de 6 dígitos (el punto decimal no se cuenta como un dígito).
Tasa de impuesto / descuento:
- Presione
dos veces, ingrese la tasa de impuesto, seguido de
.
Presione
dos veces, ingrese la tasa de descuento, seguido de ![]()
- Se puede almacenar un máximo de 4 dígitos (el punto decimal no se cuenta como un dígito).
Nota:
- Asegúrese de configurar este selector en la posición "•" después de almacenar cada tasa.
- Para la tasa de conversión y la tasa de impuesto / descuento, se puede almacenar un solo valor para cada uno. Si ingresa una nueva tasa, la tasa anterior se borrará.
TECLA DE CÁLCULO DE TIEMPO

- Utilice esta tecla para ingresar horas y minutos en los cálculos de tiempo.
- Presione esta tecla después de ingresar un valor de hora o minuto. (No es necesario presionar esta tecla al ingresar un valor de segundo).
- Para omitir la entrada de hora, presione esta tecla después de ingresar 0.
- Para omitir la entrada de minutos, puede presionar esta tecla sola o presionarla después de ingresar 0.
- Cuando se presiona esta tecla, si la entrada anterior está en alguno de los siguientes rangos, se establece como un valor de hora o minuto:
Hora: Dentro de 6 dígitos
Minuto: 0 a 99 (Una entrada superior a 60 se redondea a una hora. Si se ingresa un valor de más de 3 dígitos, solo los dos dígitos menos significativos tienen efecto). - Se establece un valor de segundo cuando se ingresa en el siguiente rango:
Segundo: 0 a 99 (Una entrada superior a 60 se redondea a un minuto. Si se ingresa un valor de más de 3 dígitos, solo los dos dígitos menos significativos tienen efecto).
TECLA DE RELOJ / CALENDARIO
- Cada vez que se presiona esta tecla, el modo cambia. Modo de cálculo → Modo de visualización de fecha → Modo de visualización de reloj → Modo de cálculo
- Use esta tecla también para ajustar la fecha y la hora (consulte "SELECTOR DE MODO DE TOTAL GENERAL / CONFIGURACIÓN DE TASA").
TECLA DE ALIMENTACIÓN DE PAPEL
TECLA DE CORRECCIÓN DEL ÚLTIMO DÍGITO
TECLA DE TOTAL GENERAL
TECLA DE BORRADO DE ENTRADA
TECLA DE TOTAL:
Presione esta tecla dos veces, seguido de
, para imprimir la tasa de impuesto establecida.
La tasa de impuesto se imprime con el símbolo "TX".
TECLA DE MULTIPLICACIÓN
TECLA DE DIVISIÓN
TECLA DE MENOS IGUAL
TECLA DE MÁS IGUAL
TECLA DE CAMBIO DE SIGNO
TECLA DE MARGEN DE BENEFICIO
TECLA DE BORRADO DE TOTAL DE MEMORIA
TECLA DE RECUPERACIÓN DE SUBTOTAL DE MEMORIA
TECLA DE MÁS DE MEMORIA
TECLA DE MENOS DE MEMORIA
TECLA DE INCLUSIÓN DE IMPUESTOS
TECLA DE ANTES DE IMPUESTOS
TECLA DE PORCENTAJE
TECLA DE NO SUMAR/SUBTOTAL:
No sumar – Cuando se presiona esta tecla justo después de ingresar un número en el modo Print (imprimir), la entrada se imprime en el lado izquierdo con el símbolo "#". Esta tecla se utiliza para imprimir números que no están sujetos a cálculo, como código, fecha, etc.
Subtotal – Se utiliza para obtener subtotal(es) de sumas y/o
restas. Cuando se presiona después de la tecla
o
, el subtotal se imprime con el símbolo "
" y el cálculo puede continuarse.
Al presionar esta tecla incluso en el modo Non-print (no imprimir), el número mostrado se imprime con el símbolo "P".
- Cuando el POWER SWITCH (INTERRUPTOR DE ALIMENTACIÓN); PRINT (IMPRESIÓN) / ITEM COUNT MODE SELECTOR (SELECTOR DE MODO DE CONTEO DE ARTÍCULOS) está en la posición "•", "P" o "P•IC", y se muestra Date (fecha) o Clock (reloj), presione esta tecla para imprimir el contenido mostrado, incluido el símbolo "#", desde el lado izquierdo del rollo de papel.
Ejemplo:
Impresión de fecha
#9 • 15 • 2004 • • • • • •
(cuando la fecha es 15 de septiembre de 2004)
Impresión de reloj
#10 • 30 • • • • • • • • • • A
(cuando la hora es 10:30 a.m.)
#6 • 25------------ P
(cuando la hora es 6:25 p.m.)
- Cuando la impresión de Date (fecha) / Clock (reloj) está completa, se restaura el modo Calculation (cálculo).
TECLA DE PROMEDIO:
Se utiliza para calcular el promedio.
TECLA DE CONVERSIÓN:
Esta tecla se utiliza:
- para almacenar la tasa de conversión (mediante el uso del selector de modo de configuración de tasa).
- obtiene un valor multiplicando un número dado por una tasa de conversión especificada.
- para recuperar la tasa almacenada actualmente para su verificación. Presione
![]()
primero para borrar el registro de cálculo y restablecer una condición de error, luego presione
. La tasa de conversión se imprime con el símbolo "TC".
TECLA DE CONVERSIÓN:
Esta tecla se utiliza para obtener un valor dividiendo un número dado por una tasa de conversión especificada.
SÍMBOLOS DE PANTALLA:
M: Se ha almacenado un número en la memoria.
–: El valor de la pantalla es negativo.
E: Error (error) o desbordamiento de capacidad.
•: Aparece cuando hay un número en la memoria del total general.
SUSTITUCIÓN DE LA CINTA DE TINTA
- Retire el rollo de papel de la calculadora. (Rasgue el papel y retírelo del mecanismo de impresión utilizando
). - Apague la alimentación antes de sustituir la cinta.
- Retire la cubierta de la impresora. (Fig. 1)
![]()
- Retire la cinta vieja tirando de ella hacia arriba.
- Inserte la cinta nueva.
- Con el lado negro de la cinta hacia arriba, coloque uno de los carretes en el eje del carrete de la derecha. (Fig. 2) Asegúrese de que el carrete esté bien colocado.
![]()
- Pase la cinta por el exterior de las guías metálicas. (Fig. 3)
![]()
- Elimine la holgura girando manualmente uno de los carretes.
- Vuelva a colocar la cubierta de la impresora. (Fig. 4)
![]()
- Vuelva a colocar el rollo de papel.
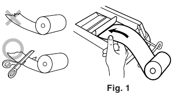
SUSTITUCIÓN DEL ROLLO DE PAPEL
Nunca inserte un rollo de papel si está roto. Si lo hace, el papel se atascará.
Corte siempre primero el borde de ataque con unas tijeras.
- Inserte el borde de ataque del rollo de papel en la abertura. (Fig. 1)
![Sharp - EL-1197PIII - SUSTITUCIÓN DEL ROLLO DE PAPEL SUSTITUCIÓN DEL ROLLO DE PAPEL]()
- Encienda la alimentación y alimente el papel pulsando
. (Fig. 2)
![]()
- Inserte el rollo de papel en el soporte de papel. (Fig. 3)
![]()
NO TIRE DEL PAPEL HACIA ATRÁS, YA QUE PODRÍA DAÑAR EL MECANISMO DE IMPRESIÓN.
ERRORES
Hay varias situaciones que provocarán un desbordamiento o una condición de error. Cuando esto ocurre, se mostrará "E". Se conservan los contenidos de la memoria en el momento del error.
Si se muestra un ''
'' en el momento del error, debe utilizarse
para borrar la calculadora. Si se muestra una ''E'' con cualquier número que no sea cero, el error puede borrarse con
o
y el cálculo puede continuar.
Además, en casos raros, la impresión puede detenerse a mitad de camino y la indicación "E" aparece en la pantalla. Esto no es un mal funcionamiento, sino que se produce cuando la calculadora está expuesta a fuertes ruidos electromagnéticos o electricidad estática de una fuente externa. Si esto ocurre, pulse la tecla
y, a continuación, repita el cálculo desde el principio.
Condiciones de error:
- Introducción de más de 12 dígitos u 11 decimales. Este error se puede borrar con
o
. - Cuando la parte entera de una respuesta supera los 12 dígitos.
- Cuando la parte entera del contenido de la memoria o de la memoria del total general supera los 12 dígitos.
(Ej.
999999999999
1
) - Cuando cualquier número se divide por cero. (Ej. 5
0
)
SUSTITUCIÓN DE LA BATERÍA PARA LA PROTECCIÓN DE LA MEMORIA
Momento de sustituir la batería
La vida útil de la batería de protección de la memoria es de aproximadamente 2.500 horas a 25 °C (77 °F) con el enchufe no conectado a la toma de corriente.
* Cuando la batería de protección de la memoria está baja, la configuración de fecha/hora se inicializa (1/1/2005, 12:00:00 a.m.).
Verifique la configuración de fecha/hora en el modo de visualización de fecha/reloj al conectar el enchufe a la toma de corriente.
Si la configuración de fecha/hora se modifica o es incorrecta, sustituya inmediatamente la batería de protección de la memoria por una nueva.
(La vida útil de la batería preinstalada puede ser inferior a la esperada debido al tiempo que la calculadora pasa durante el envío).
Método de sustitución de la batería
Utilice una batería de litio (CR2032).
La sustitución de la batería borrará la configuración de fecha y hora, así como el tipo de conversión y el tipo de impuesto/descuento.
- Gire el interruptor de alimentación a "OFF" (apagado) y desenchufe el enchufe de la toma de corriente.
- Retire la tapa de la batería de la parte posterior de la unidad. (Fig. 1)
![Sharp - EL-1197PIII - Método de sustitución de la batería Método de sustitución de la batería]()
- Retire la batería agotada e instale una nueva batería de litio. Limpie bien la batería con un paño seco y coloque el lado positivo "+" hacia arriba. (Fig. 2)
![]()
- Vuelva a colocar la tapa de la batería invirtiendo el procedimiento de extracción.
- Pulse el interruptor RESET (restablecer) en la parte posterior de la unidad (consulte "RESTABLECIMIENTO DE LA UNIDAD").
Después de la sustitución de la batería
- Conecte el enchufe a una toma de corriente y gire el interruptor de alimentación a "ON" (encendido).
Compruebe que se muestra "0.". Si no se muestra "0.", retire la batería, vuelva a instalarla y compruebe de nuevo la pantalla. - Vuelva a configurar la fecha, la hora, el tipo de conversión y el tipo de impuesto/descuento.
- En la etiqueta de la fecha de sustitución de la batería que se encuentra en la parte posterior de la unidad, anote el mes y el año en que se sustituyó la batería, como referencia para la próxima sustitución de la batería.
Precauciones sobre el uso de la batería
- No deje una batería agotada en el equipo.
- No exponga la batería al agua o a las llamas, y no la desmonte.
- Guarde las baterías fuera del alcance de los niños pequeños.
Notas para la manipulación de baterías de litio
Peligro de explosión si la batería se sustituye incorrectamente.
Sustituya la batería únicamente por el mismo tipo o por un tipo equivalente recomendado por el fabricante.
Deseche las baterías usadas según las instrucciones del fabricante.
ESPECIFICACIONES
Capacidad de funcionamiento: 12 dígitos
Fuente de alimentación:
Funcionamiento: CA: 120V, 60Hz
Copia de seguridad de la memoria: 3V ... (CC) (batería de litio CR2032 × 1)
Vida útil de la batería de protección de la memoria:
Unas 2.500 horas (a 25 °C (77 °F) y con el enchufe no conectado a la toma de corriente).
SECCIÓN DEL RELOJ
Precisión: Con una media de ±60 segundos al mes (a 25 °C (77 °F))
Elementos que se mostrarán: mes, día, año, hora, minuto, segundo, a.m. "A", p.m. "P"
Elementos que se imprimirán: mes, día, año, hora, minuto, a.m. "A", p.m. "P"
Sistema horario: 12 horas
SECCIÓN DE IMPRESIÓN
Impresora: Impresora mecánica
Velocidad de impresión: Aprox. 4,3 líneas/seg.
(a una temperatura ambiente de 25 °C (77 °F))
Papel de impresión: 57 mm (2-1/4") - 58 mm (2-9/32") de ancho
80 mm (3-5/32") de diámetro (máx.)
Temperatura de funcionamiento: 0 °C – 40 °C (32 °F – 104 °F)
Consumo de energía: 66 mA
Dimensiones: 222 mm (ancho) × 327 mm (profundidad) × 78 mm (alto)
(8-3/4" (ancho) × 12-7/8" (profundidad) × 3-1/16" (alto))
Peso: Aprox. 1,9 kg (4,19 lb.) (con batería)
Accesorios:
1 batería de litio (instalada), 1 etiqueta de fecha de sustitución de la batería (pegada en el cuerpo posterior de la unidad), 1 rollo de papel, 1 cinta de tinta (instalada) y manual de instrucciones
EL VOLTAJE UTILIZADO DEBE SER EL MISMO QUE SE ESPECIFICA EN ESTA CALCULADORA. EL USO DE ESTA CALCULADORA CON UN VOLTAJE SUPERIOR AL ESPECIFICADO ES PELIGROSO Y PUEDE PROVOCAR UN INCENDIO U OTRO TIPO DE ACCIDENTE QUE CAUSE DAÑOS. NO NOS RESPONSABILIZAMOS DE LOS DAÑOS QUE SE PRODUZCAN POR EL USO DE ESTA CALCULADORA CON UN VOLTAJE DISTINTO AL ESPECIFICADO.
RESTABLECIMIENTO DE LA UNIDAD
Los impactos fuertes, la exposición a campos eléctricos u otras condiciones inusuales pueden hacer que la unidad deje de funcionar, y pulsar las teclas no tendrá ningún efecto. Si esto ocurre, tendrá que pulsar el interruptor RESET (restablecer) en la parte inferior de la unidad. El interruptor RESET (restablecer) sólo debe pulsarse cuando:
- se produce un evento anormal y todas las teclas están desactivadas.
Notas:
- Al pulsar el interruptor RESET (restablecer) se borrará la configuración de fecha y hora establecida, así como el tipo de conversión, el tipo de impuesto/descuento y el contenido de la memoria.
- Utilice únicamente un bolígrafo para pulsar el interruptor RESET (restablecer). No utilice nada que se pueda romper ni nada con una punta afilada, como una aguja.
- Después de pulsar el interruptor RESET (restablecer), conecte el enchufe a una toma de corriente. Gire el interruptor de alimentación a "ON" (encendido) y compruebe que se muestra "0.".
![Sharp - EL-1197PIII - RESTABLECIMIENTO DE LA UNIDAD RESTABLECIMIENTO DE LA UNIDAD]()
EJEMPLOS DE CÁLCULO
- Ajuste el selector decimal como se especifica en cada ejemplo. El selector de redondeo debe estar en la posición "5/4" a menos que se especifique lo contrario.
- El selector de modo constante/suma y el selector de modo de ajuste de total general/tasa deben estar en la posición "•" (apagado) a menos que se especifique lo contrario.
- El selector de modo de impresión/conteo de artículos debe estar en la posición "P" a menos que se especifique lo contrario.
- Si se comete un error al ingresar un número, presione
o
e ingrese el número correcto. - Los valores negativos se imprimen con el símbolo ''–'' en rojo.
IMPRESIÓN DE FECHA Y HORA
EJEMPLO: Cuando es 20 de octubre de 2005, 1:52:00 p.m.

*1: Si la fecha no se muestra en la pantalla, presione
para mostrar la fecha.
CÁLCULO MIXTO

SUMA Y RESTA CON MODO DE SUMA

CONSTANTE

CORRECCIÓN DE ERRORES

POR CIENTO

AUMENTO Y DESCUENTO

MARGEN DE BENEFICIO Y MARGEN
El margen de beneficio y el margen son formas de calcular el porcentaje de beneficio.
- El margen de beneficio es el porcentaje de beneficio en comparación con el precio de venta.
- El margen es el porcentaje de beneficio en comparación con el costo.
- Costo es el costo.
- Venta es el precio de venta.

CAMBIO DE PORCENTAJE
- Calcule la diferencia en dólares (a) y el cambio de porcentaje (b) entre dos cifras de ventas anuales: $1,500 en un año y $1,300 en el año anterior.

TOTAL GENERAL

CÁLCULO DEL CONTEO DE ARTÍCULOS

PROMEDIADO

MEMORIA

*: Presione
para borrar la memoria antes de comenzar un cálculo de memoria.
CÁLCULOS DE TASA DE IMPUESTOS
EJEMPLO 1: Establezca una tasa de impuestos del 5%.
Calcule el impuesto sobre $800 y calcule el total incluyendo el impuesto.

EJEMPLO 2: Realice dos cálculos usando $840 y $525, ambos de los cuales ya incluyen impuestos. Calcule el impuesto sobre el total y el total sin impuestos. (tasa de impuestos: 5%)

CÁLCULOS DE TIEMPO
EJEMPLO 1: 4 horas 15 minutos 20 segundos + 3 horas 50 minutos 18 segundos =

EJEMPLO 2: Calcule el monto de la nómina a una tarifa por hora de $15 por el número total de horas trabajadas durante 7 horas 45 minutos por día durante cinco días.

- Cada vez que se presiona
después de que se muestra un resultado, el resultado alterna entre los formatos sexagesimal y decimal. - Esta calculadora de impresora admite el siguiente repertorio de cálculos de tiempo: Suma, resta, multiplicación y división, cálculo constante, cálculo de memoria, cálculo de memoria de total general, cálculo de promedio y cálculo de porcentaje.
- Rango de cálculo: –999999 horas 59 minutos 59 segundos – 999999 horas 59 minutos 59 segundos
- Debido a que los resultados del cálculo de tiempo se redondean a 13 lugares decimales después de la conversión de sexagesimal a decimal, se pueden introducir errores de cálculo. Los cálculos de tiempo se muestran en sexagesimal con la parte fraccionaria de un segundo redondeada.
- Las especificaciones aritméticas sexagesimales de esta impresora calculadora son las siguientes: Suma (La resta es similar a la suma). (Sexagesimal) + (Sexagesimal) = (Sexagesimal) (Sexagesimal) + (Decimal) = (Sexagesimal) (Decimal) + (Sexagesimal) = (Sexagesimal)
Multiplicación (La división es similar a la multiplicación.) (Sexagesimal) × (Sexagesimal) = (Decimal) (Sexagesimal) × (Decimal) = (Decimal) (Decimal) × (Sexagesimal) = (Decimal)
EJEMPLOS DE CÁLCULO DE CONVERSIÓN
EJEMPLO 1: Establezca la tasa de conversión ($1 = ¥123.45).

EJEMPLO 2: Convierta $120 a yenes ($1 = ¥123.45).

EJEMPLO 3: Establezca la tasa de conversión (1 metro = 39.3701 pulgadas).

EJEMPLO 4: Convierta 472.4412 pulgadas a metros (1 metro = 39.3701 pulgadas).

La toma de corriente debe instalarse cerca del equipo y debe ser fácilmente accesible
GARANTÍA LIMITADASu producto: Calculadora electrónica Período de garantía para este Seis (6) meses para piezas y mano de obra a partir de la fecha de compra. Dónde obtener servicio: En un centro de servicio autorizado de Sharp ubicado en los Estados Unidos. Para averiguar la ubicación del centro de servicio autorizado de Sharp más cercano, llame gratis a Sharp al 1-800-BE-SHARP. |
PARA OBTENER INFORMACIÓN SOBRE SUMINISTROS, ACCESORIOS O PRODUCTOS, LLAME AL 1-800-BE-SHARP.
FCC
Las regulaciones de la FCC establecen que cualquier cambio o modificación no autorizados a este equipo que no estén expresamente aprobados por el fabricante podrían anular la autoridad del usuario para operar este equipo.
Nota: Este equipo ha sido probado y se ha determinado que cumple con los límites para un dispositivo digital de Clase B, de acuerdo con la Parte 15 de las Reglas de la FCC. Estos límites están diseñados para proporcionar una protección razonable contra interferencias dañinas en una instalación residencial. Este equipo genera, usa y puede irradiar energía de radiofrecuencia y, si no se instala y usa de acuerdo con las instrucciones, puede causar interferencias dañinas en las comunicaciones de radio. Sin embargo, no hay garantía de que no se produzcan interferencias en una instalación en particular. Si este equipo causa interferencias dañinas en la recepción de radio o televisión, lo que se puede determinar apagando y encendiendo el equipo, se recomienda al usuario que intente corregir la interferencia mediante una o más de las siguientes medidas:
- Reoriente o reubique la antena receptora.
- Aumente la separación entre el equipo y el receptor.
- Conecte el equipo a una toma de corriente en un circuito diferente al que está conectado el receptor.
- Consulte al distribuidor o a un técnico experimentado en radio/TV para obtener ayuda.
Para su comodidad, los suministros, accesorios y productos Sharp genuinos adicionales se pueden comprar en el distribuidor autorizado de Sharp donde compró su producto o en línea en:
www.sharpplace.com

Referencias
Descargar el manual
Aquí puede descargar la versión PDF completa del manual. Puede contener instrucciones de seguridad adicionales, información de garantía, reglas de la FCC, etc.
Descargar Sharp EL-1197PIII - Manual de la Calculadora Electrónica con Impresión

además.
en la resta, se restará 1 del conteo.
,
,
,
o
se borra el contador.
.
en la suma.
en la resta, se restará 1 del conteo.
se borra el contador.
para completar la entrada.
para separar el mes, el día y el año.
dos veces, ingrese la tasa de conversión, seguido de 
Presione 
. La tasa de conversión se imprime con el símbolo "TC".




. (Fig. 2)

999999999999
0
)


o
e ingrese el número correcto.