GENERAL LIFE ARUNA 302S RF - Digitaalse ruumitermostaadi kasutusjuhend
- 1 ÜLDISED SPETSIFIKATSIOONID
- 2 ARUNA 302S RF ja SEADMED
- 3 TEHNILISED ANDMED
- 4 RUUMITERMOSTAAT
- 5 VASTUVÕTJA
- 6 VASTUVÕTJA LED-TULEDE KIRJELDUSED
- 7 RUUMITERMOSTAADI PAIGUTUS
- 8 PATAREIDE PAIGUTAMINE
- 9 VASTUVÕTJA PAIGUTAMINE
- 10 VASTUVÕTJA SEADISTAMINE
- 11 VASTUVÕTJA JUHTMESTIKU SKEEM
- 12 TOATERMOSTAADI JA VASTUVÕTJA SIDUMINE
- 13 TOATERMOSTAADI TEMPERATUURI KALIBREERIMINE
- 14 TEHASE SEADETE TAASTAMINE
- 15 PÄEVA JA KELLAAJA SEADED
- 16 REŽIIMI SEADISTAMINE
- 17 NÄDALAPROGRAMM
- 18 TPI TOATERMOSTAADI TÖÖLOOGIKA
- 19 MIDA TULEB TPI TOATERMOSTAADI KOHTA TEADA
- 20 KORDUMA KIPPUVAD KÜSIMUSED
- 21 Laadi alla juhend
- 22 Teistes keeltes

ÜLDISED SPETSIFIKATSIOONID
ARUNA 302S RF on juhtmevaba ruumitermostaat. Kasutaja saab mugavama ja ökonoomsema kütte/jahutuse, reguleerides ruumitermostaati vastavalt vajalikule temperatuurile.
- Igapäevane ja iganädalane programmeerimine
- Erinevad režiimivalikud (Comfort (mugavus), Economy (säästlik), Holiday (puhkus))
- Kütte kalibreerimine
- ON/OFF (sees/väljas) juhtimine
- Juhtmevaba ühendus
- Kütte/jahutuse valik
- TPI algoritm
- Täpne temperatuuri mõõtmine
ARUNA 302S RF ja SEADMED

TEHNILISED ANDMED
Ruumitermostaat
| Mõõtmed | 85mm / 125mm / 20mm |
| Tööpinge | 3V DC (2 x AAA alkaline battery) (3V alalisvool (2 x AAA leelispatarei)) |
| Temperatuuri mõõtmise täpsus | 0.1oC |
| Töötemperatuuri vahemik | (5oC) – (30oC) |
| Patarei eluiga | 1 aasta (2 x AAA) |
| Töötemperatuur | (-10oC) – (+50oC) |
| Säilitustemperatuur | (-20oC) – (+60oC) |
Vastuvõtja
| Mõõtmed | 90mm / 90mm / 25mm |
| Tööpinge | 230V AC |
| Relee NO lülitusvool | 7A (240VAC – takistuslik koormus) 10A (120VAC – takistuslik koormus) |
| Säilitustemperatuur | (-20oC) – (+60oC) |
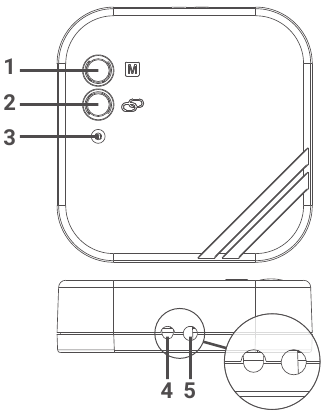
RUUMITERMOSTAAT
Nuppude funktsioonid

| 1 | On/Off Button (sees/väljas nupp) |
| 2 | Heating & Cooling Option (kütte ja jahutuse valik) |
| 3 | Weekly Program Button (iganädalase programmi nupp) |
| 4 | Temperature Adjustment Button (To Decrease) (temperatuuri reguleerimise nupp (vähendamiseks)) |
| 5 | Temperature Adjustment Button (To Increase) (temperatuuri reguleerimise nupp (suurendamiseks)) |
| 6 | Mode Button (režiimi nupp) |
Toote ekraani paigutus

| 1 | | Tunninäidik |
| 2 | ![]() | Ruumitemperatuur |
| 3 | ![]() | Economy Mode (säästurežiim) |
| 4 | ![]() | Comfort Mode (mugavusrežiim) |
| 5 | ![]() | Holiday Mode (puhkuserežiim) |
| 6 | ![]() | Weekly Program Mode (iganädalase programmi režiim) |
| 7 | ![]() | Päevanäidik |
| 8 | ![]() | Patarei näidik |
| 9 | ![]() | Seadistatud temperatuur |
| 10 | ![]() | Kütte näidik
|
| 11 | ![]() | Jahutuse näidik
|
VASTUVÕTJA

- Käsitsi juhtimise nupp: deaktiveerib vastuvõtja ja võimaldab teil kasutada kütte/jahutusseadet käsitsi.
- Sidumisnupp: võimaldab siduda vastuvõtja ruumitermostaadiga.
- Vastuvõtja LED-tuli
- Vastuvõtja toitekaabli sisend
- Kütte/jahutusseadme ühenduskaabli sisend
VASTUVÕTJA LED-TULEDE KIRJELDUSED
| Pidev punane | Vastuvõtjal on toide, kuid vastuvõtja ja ruumitermostaat ei ole seotud. |
| Vilkuv roheline | Ootab ruumitermostaadilt sidumissignaali. |
| Pidev roheline | Vastuvõtja ja ruumitermostaat on seotud. Kütte/jahutusseade ei tööta. |
| 3 lühikest oranži vilkumist | Kütte/jahutusseadme käivitamise signaal on jõudnud vastuvõtjani. |
| Pidev oranž | Kütte/jahutusseade töötab. |
| 3 lühikest rohelist vilkumist | Kütte/jahutusseadme väljalülitamise signaal on jõudnud vastuvõtjani. |
| Vilkuv oranž | Kütte/jahutusseade töötab käsirežiimis. |
| Vilkuv punane | Vastuvõtja ei saanud ruumitermostaadilt signaali 22 minutit või kauem. Kütte/jahutusseade on välja lülitatud. |
RUUMITERMOSTAADI PAIGUTUS
Ruumitermostaat tuleb paigutada ruumi, mida kasutatakse kõige sagedamini. Näiteks elutuppa või puhkeruumi. Ruumitermostaadi paigutamist õhuringlusega kohta, nagu ruumi sissepääs või akna külg, tuleks vältida. Samuti ei sobi kohad, mis asuvad kütte/jahutusseadmete lähedal, nagu radiaator, pliit, ja kohad, kuhu paistab otsene päikesevalgus. Ruumitermostaat peab asuma põrandast 150 cm kõrgusel. Kõige sobivama koha leidmiseks võib teha mõned katsed.

PATAREIDE PAIGUTAMINE

Vajutage kruvikeerajaga ruumitermostaadi põhjas olevast ruumist ettepoole, painutage sakke ja eraldage esikaas. Sisestage patareipesasse 2 uut AAA leelispatareid õiges suunas. Vahetage mõlemad patareid samal ajal. Joondage oma ruumitermostaadi esiosa tagaküljel oleva vastava pesaga ja seejärel lükake õrnalt, kuni termostaat klõpsatab oma kohale.
Tühja patarei hoiatus: Kui ekraanile ilmub ikoon "
", tähendab see "tühja patarei hoiatust". Kui see hoiatus ilmub, on soovitatav patareid välja vahetada.
Kui toodet ei kasutata pikka aega (rohkem kui 15 päeva), eemaldage patareid. Vastasel juhul ei kuulu võimalikud rikked garantii alla. Palun visake oma tühjad patareid patareide jäätmekonteinerisse.
VASTUVÕTJA PAIGUTAMINE

Olulised asjad, mida vastuvõtja paigutamisel silmas pidada, on vältida füüsilist kontakti vastuvõtja ja kütte/jahutusseadme vahel ning kaitsta seda selliste materjalide eest nagu vedelik, tolm jne.
Seadmed tuleks paigutada nii, et minimeerida kahju vastuvõetud ja edastatud signaalidele, pöörates tähelepanu järgmistele punktidele;
- Seadmeid ei tohiks paigaldada metallpindadele.
- Seadmeid ei tohiks paigaldada elektriliinide ja elektroonikaseadmete, nagu arvutid ja televiisorid, lähedusse.
- Seadmeid ei tohiks paigaldada suurte metallkonstruktsioonide või muude peeneid metallvõrke kasutavate ehitusmaterjalide, nagu spetsiaalne klaas või spetsiaalne betoon, lähedusse.
- Kaugus ruumitermostaadi ja vastuvõtja vahel ei tohiks ületada 20 meetrit või 2 korrust.
- Vastuvõtja peab olema paigaldatud kütte/jahutusseadmest vähemalt 50 cm kaugusele.
VASTUVÕTJA SEADISTAMINE
- Esmalt lülitage välja oma kütte/jahutusseade ja selle toiteallikas koos kogu elektrivooluga (kaitse, pistikupesa jne).
- Nagu ühendusskeemil näidatud, ühendage kütte/jahutusseadme ühenduskaabli üks ots COM-i ja teine vastuvõtja NO-sisendisse.
- Ühendage kaabli teised otsad - mille ühendasite vastuvõtjaga - ruumitermostaadi ühendusklemmiga, nagu on näidatud teie kütte/jahutusseadme kasutusjuhendis.
- Esmalt peate ühendama vastuvõtja toitekaabli vastuvõtjaga ja seejärel kaitsmega, millega on ühendatud kütte/jahutusseade.
- Pärast kaabli ühendamise protsessi lõpetamist lülitage esmalt sisse oma kaitse ja seejärel oma kütte/jahutusseade.
- Vajutades vastuvõtja käsitsi kasutamise nuppu 2 sekundit, peaksite nägema vastuvõtjal vilkuvat oranži tuld. Sel viisil, olles veendunud, et kütte/jahutusseade töötab, vajutage sama nuppu uuesti 2 sekundit ja veenduge, et oranž LED kustub.
- Seadistage ruumitermostaat, et siduda vastuvõtja ruumitermostaadiga.
VASTUVÕTJA JUHTMESTIKU SKEEM

Toiminguid kütte-/jahutusseadmes või elektrisüsteemis tohivad teha ainult professionaalselt kvalifitseeritud isikud.
TOATERMOSTAADI JA VASTUVÕTJA SIDUMINE
- Esmalt vajutage vastuvõtja sünkroonimisnuppu 2 sekundit ja vaadake vastuvõtja vilkuvat rohelist tuld.
- Kui seade on välja lülitatud, vajutage ja hoidke 3 sekundit all nuppu "On/Off" (sisse/välja).
- Vajutage nuppu, kuni ilmub menüü "
". - Vajutage toatermostaadi nuppu "Up" (üles) või "Down" (alla), kui LED vilgub roheliselt.
- Kui sidumine õnnestub, põleb vastuvõtja roheline vilkuv LED pidevalt.
- Vastuvõtja ja toatermostaat on omavahel seotud.
TOATERMOSTAADI TEMPERATUURI KALIBREERIMINE
Toatermostaatides kasutatavad temperatuuriandurid on väga tundlikud. Võimalik, et peate toatermostaadi kalibreerima, kui soovite saada samu temperatuurinäiteid, mis teistel termomeetritel teie eluruumis.
- Kui seade on välja lülitatud, vajutage ja hoidke 3 sekundit all nuppu "On/Off" (sisse/välja).
- Vajutage nuppu "On/Off" (sisse/välja), kuni ilmub menüü "
". Soovitud temperatuuri nägemiseks määrake temperatuuride erinevus, vajutades "Temperature Adjustment Buttons" (temperatuuri reguleerimise nupud). Seda väärtust saab reguleerida vahemikus "-8°C" kuni "+8°C". - Seadete salvestamiseks ja väljumiseks vajutage nuppu "On/Off" (sisse/välja), kuni seade välja lülitub.
Märkus: Soovitatav temperatuuri kalibreerimine on "0.0°C".
TEHASE SEADETE TAASTAMINE
Saate toatermostaadi tehase vaikeväärtustele lähtestada. See toiming lähtestab režiimi temperatuuriväärtused, kalibreerimisseaded ja kütte-/jahutusrežiimid tehaseseadetele. Toatermostaadi tehaseseadetele lähtestamiseks toimige järgmiselt:
- Kui seade on välja lülitatud, vajutage ja hoidke 3 sekundit all nuppu "On/Off" (sisse/välja).
- Vajutage nuppu "On/Off" (sisse/välja), kuni ilmub menüü "
". - Kui olete menüüs "
", valige nuppude "Up" (üles) või "Down" (alla) abil suvand "
" ja vajutage nuppu "On/Off" (sisse/välja). - Seade lülitub välja ja lähtestatakse tehaseseadetele.
PÄEVA JA KELLAAJA SEADED
- Kui toatermostaat on sisse lülitatud, hoidke nuppu "Weekly Program" (nädalaprogramm) 3 sekundit all.
- Esimesel kuvataval ekraanil vilgub tunni osa. Saate aega seadistada nuppudega "Up" (üles) ja "Down" (alla).
- Pärast kellaaja seadistamist tuleb üks kord vajutada nuppu "Heating & Cooling Option" (kütte- ja jahutusvalik). Minuti seadistamiseks vilgub minuti osa. Saate minutit seadistada nuppudega "Up" (üles) ja "Down" (alla).
- Pärast minuti seadistamist tuleb nädalapäeva seadistamiseks üks kord vajutada nuppu "Heating & Cooling Option" (kütte- ja jahutusvalik).
- Esimeseks nädalapäevaks on määratud esmaspäev ja seda tähistatakse numbriga "1".
- Numbrid tähistavad vastavalt järgmisi päevi: 2-teisipäev, 3-kolmapäev, 4-neljapäev, 5-reede, 6-laupäev ja 7-pühapäev.
- Kui seadistamine on lõpetatud, saate väljuda, vajutades 3 sekundit nuppu "Weekly Program" (nädalaprogramm).
REŽIIMI SEADISTAMINE

Teie toatermostaadil on 5 erinevat režiimi. Neist 3 (Comfort (mugavus), Economy (säästlik) ja Holiday Mode (puhkuserežiim)) on eelseadistatud režiimid. Muud režiimid on käsitsirežiim ja nädalaprogrammi režiim.
Eelseadistatud režiimides põhinevad temperatuuriväärtused kasutaja valikutel, mis on alguses määratud. Käsitsirežiim võimaldab toatermostaadil töötada temperatuurivahemikus, mis on kasutaja poolt otse nõutav ja seadistatud. Nädalaprogrammi režiim jätkab tööd vastavalt kasutaja määratud nädalakavale.
Eelseadistatud režiimide temperatuuriväärtuste muutmiseks toimige järgmiselt:
- Kui toatermostaat on sisse lülitatud, vajutage ja hoidke 3 sekundit all nuppu "Mode" (režiim).
- Ilmub Comfort Mode (mugavusrežiimi) temperatuuriväärtus. Saate Comfort Mode (mugavusrežiimi) temperatuuriväärtust reguleerida, vajutades nuppe "Up" (üles) ja "Down" (alla).
- Kui seadistamine on lõpetatud, saate Economy Mode (säästurežiimi) temperatuuriväärtust reguleerida nuppudega "Up" (üles) ja "Down" (alla), vajutades uuesti nuppu "Mode" (režiim).
- Seadistuskuvalt väljumiseks vajutage 3 sekundit nuppu "Mode" (režiim).
- Käsitsirežiimi temperatuuri muutmiseks vajutage põhiekraanil nuppu "Up" (üles) või "Down" (alla). Pärast nupu "Up" (üles) või "Down" (alla) vajutamist lülitub toatermostaat käsitsirežiimile.
- Muudele režiimidele lülitumiseks võite vajutada nuppu "Mode" (režiim).
NÄDALAPROGRAMM
Saate toatermostaadi töögraafiku seadistada nädalaprogrammi režiimis. Iga nädalapäeva jaoks saab nädalaprogrammis seadistada 7 erinevat temperatuuriväärtust. Neid väärtusi saab seadistada temperatuuri reguleerimise ekraanidel '' P0-P6''.
- Nädala graafiku seadistamiseks vajutage ja hoidke 3 sekundit all nuppu "Weekly Program" (nädalaprogramm), kui toatermostaat on sisse lülitatud. Ilmub seadistus "Hour, Minute and Day" (tund, minut ja päev). Vajutage nuppu "Heating & Cooling Option" (kütte- ja jahutusvalik), kuni ilmub menüü "Weekly Program" (nädalaprogramm) (P0).
- Nädalapäevad vilguvad ekraanil. Saate nädalaprogrammi seadistamise algatada, kui soovite määrata iga nädalapäeva jaoks sama graafiku.
- Vajutage üks kord nuppu "Up" (üles), kui soovite määrata tööpäevade jaoks sama graafiku. Ekraanil vilguvad nädala esimesed viis päeva.
- Vajutage veel kord nuppu "Up" (üles), kui soovite määrata sama graafiku ainult nädalavahetuseks. Ekraanil vilguvad nädala kaks viimast päeva.
- Vajutage veel üks kord nuppu "Up" (üles), kui soovite määrata iga nädalapäeva jaoks sama graafiku. Ekraanil vilgub nädala 1. päev. Päevade vahel saate vahetada, vajutades nuppu "Up" (üles). Eelmisele päevale lülitumiseks vajutage nuppu "Down" (alla).
- Graafiku seadistamiseks vajutage üks kord nuppu "Weekly Program" (nädalaprogramm).
- Ekraanil vilgub "P0". Seadistage "P0" temperatuuriväärtus, vajutades veel kord nuppu "Weekly Program" (nädalaprogramm). "P0" tunni seadistust ei saa muuta, kuna see on tehaseseadistus.
- Vajutage uuesti nuppu "Weekly Program" (nädalaprogramm). Päeva indikaator vilgub. Kui te päeva ei muuda, vajutage uuesti nuppu "Weekly Program" (nädalaprogramm) ja lülituge nupu "Up" (üles) vajutamisega seadistusele "P1".
- Esmalt kuvatakse ekraanil tunni seadistus. Kui olete tunni seadistamise lõpetanud, reguleerige minuti seadistust, vajutades nuppu "Weekly Program" (nädalaprogramm). Pärast minuti seadistamist vajutage temperatuuriväärtuse seadistamiseks nuppu "Weekly Program" (nädalaprogramm). Järgige samu samme ka muude graafikute seadistamiseks.
- Kui kõik muudatused on tehtud, vajutage salvestamiseks 3 sekundit ja hoidke all nuppu "Weekly Program" (nädalaprogramm).
Märkus: Seadistatud nädalakava kontrollimiseks ilma muudatusi tegemata vajutage üks kord nuppu "Weekly Program" (nädalaprogramm), kui toatermostaat on sisse lülitatud. Päevade nägemiseks vajutage nuppe "Up" (üles) ja "Down" (alla), seadete "P0-P6" nägemiseks vajutage nuppu "Mode" (režiim).
TPI TOATERMOSTAADI TÖÖLOOGIKA
Teie toatermostaat töötab TPI algoritmiga. TPI tehnoloogiat kasutavad toatermostaadid ennustavad, millal teie kodu temperatuur tõuseb või langeb seatud temperatuurist kõrgemale või madalamale, ning lülitavad vastavalt kütte-/jahutusseadme sisse ja välja. See tagab, et teie kodu temperatuur püsib teie seatud temperatuuril ilma maksimaalsete kõrvalekalleteta üles ja alla.
- Mis on TPI?
TPI tehnoloogia on loodud tagama, et saate oma kütte-/jahutussüsteemist parima võimaliku energiatõhususe. See mõõdab ja rakendab parimaid võimalikke ajastusi, et tarnida ja säilitada teie kodu seatud temperatuuril.
- Kuidas TPI töötab?
Tänu tarkvaras leiduvale täiustatud tehisintellekti tehnoloogiale kohandub see keskkonna temperatuurimuutusega, milles see asub. Luues teie kodust üldise temperatuurikaardi, õpib see, kui kaua kulub soovitud toatemperatuuri saavutamiseks ja selle temperatuuri säilitamiseks. Sel viisil tagab see minimaalse energiatarbimise, arvutades välja, kui kaua peaks teie kütte-/jahutusseade töötama.
- Mis on erinevus?
Mitte-TPI toatermostaatides töötab ja seiskub kütte-/jahutusseade pidevalt, kuni see ületab seatud temperatuuriväärtuse. Kui seatud temperatuur langeb alla teatud väärtuse, hakkab kütte-/jahutusseade uuesti tööle. See tekitab suuremaid temperatuurikõikumisi ja vähem energiakontrolli. TPI toatermostaadid seevastu pakuvad suuremat kokkuhoidu ja mugavust võrreldes sisse/välja toatermostaatidega oma eelistega.
Kütterežiim
Teie toatermostaat võtab aluseks viimase 40 sekundi keskmise toatemperatuuri. Tootes oleva TPI algoritmi abil, luues teie kodust üldise temperatuurikaardi, õpib see, kui kaua kulub soovitud toatemperatuuri saavutamiseks ja kuidas seda temperatuuri säilitatakse. Seega tagab see, et toatemperatuur jääb teatud vahemikku.
TPI TOATERMOSTAADI KÜTTEREŽIIMI TÖÖGRAAFIK

Jahutusrežiim
Teie toatermostaat võtab aluseks viimase 40 sekundi keskmise toatemperatuuri. Tootes oleva TPI algoritmi abil, luues teie kodust üldise temperatuurikaardi, õpib see, kui kaua kulub soovitud toatemperatuuri saavutamiseks ja kuidas seda temperatuuri säilitatakse. Seega tagab see, et toatemperatuur jääb teatud vahemikku.
TPI TOATERMOSTAADI JAHUTUSREŽIIMI TÖÖGRAAFIK

Teie toatermostaat saadab vastuvõtjale viimase olekusignaali iga 10 minuti järel. Seega töötavad teie toatermostaat ja vastuvõtja sünkroonselt. Kui signaal ei jõua toatermostaadist vastuvõtjani 22 minuti jooksul, tajub see, et ühendus on katkenud, ja peatab ohutuse kaalutlustel kütte-/jahutustoimingu. Samamoodi ei käivita vastuvõtja elektrikatkestuse järel elektri tagasitulekul kütte-/jahutusseadet enne, kui toatermostaadist jõuab signaal "operate" (tööta). Kui aga toatermostaat jätkab sel juhul tavapärast tööd, jätkab see korralikult tööd ilma sekkumiseta, kuna see saadab vastuvõtjale olekusignaali iga 10 minuti järel.
MIDA TULEB TPI TOATERMOSTAADI KOHTA TEADA
- Kui TPI toatermostaatide asukohta muudetakse, algab õppeprotsess uuesti. Õppeprotsessi tuleks arvestada 7 päevana.
- Kui TPI toatermostaadid on vooluvõrgust lahti ühendatud (aku vahetamine), algab õppeprotsess uuesti. Õppeprotsessi tuleks arvestada 7 päevana.
KORDUMA KIPPUVAD KÜSIMUSED
- Kas minu toatermostaat ühildub minu kütte-/jahutusseadmega?
- Kui teie kütte-/jahutusseadmel on sisse-välja ühendused, siis teie toatermostaat ühildub. Teavet oma kütte-/jahutusseadme kohta leiate oma kütte-/jahutusseadme kasutusjuhendist või kütte-/jahutusseadme teenindusest.
- Kuidas ma ühendan oma kütte-/jahutusseadme oma vastuvõtjaga (Receiver)?
Soovitame, et vastuvõtja (Receiver) ja kütte-/jahutusseadme vahelise ühenduse peaksid tegema professionaalselt kvalifitseeritud isikud.
Vastuvõtja (Receiver) ja kütte-/jahutusseadme ühenduse jaoks piisab 2x0,75 mm kaablist. Ühendage kaablipaari üks ots oma kütte-/jahutusseadme kasutusjuhendis märgitud toatermostaadi ühendusklemmidega.
Ühendage kaablipaari teine ots vastuvõtja (Receiver) sees oleva klemmi COM- ja NO-sisenditega, nagu on näidatud jaotises "VASTUVÕTJA (RECEIVER) JUHTMESKEEM".
Kaabli otste suund ei ole oluline.

Laadi alla juhend
Siin saate alla laadida juhendi täieliku pdf-versiooni, mis võib sisaldada täiendavaid ohutusjuhiseid, garantiiteavet, FCC eeskirju jne.
Laadi alla GENERAL LIFE ARUNA 302S RF - Digitaalse ruumitermostaadi kasutusjuhend










".
". Soovitud temperatuuri nägemiseks määrake temperatuuride erinevus, vajutades "Temperature Adjustment Buttons" (temperatuuri reguleerimise nupud). Seda väärtust saab reguleerida vahemikus "-8°C" kuni "+8°C".
".
" ja vajutage nuppu "On/Off" (sisse/välja).