Aeotec Nano Shutter ZW141 Pika-aloitusopas

Käytetään tässä oppaassa

Huomautus: QR-koodia käytetään SmartStart-lisäykseen. DSK-koodi löytyy pakkauksesta. Älä poista tai vahingoita niitä.

Tärkeitä turvallisuustietoja
Lue tämä ja online-opas (oppaat) huolellisesti osoitteessa support.aeotec.com/nanoshutter. Aeotec Limitedin asettamien suositusten noudattamatta jättäminen voi olla vaarallista tai aiheuttaa lain rikkomisen. Valmistajaa, maahantuojaa, jakelijaa ja / tai jälleenmyyjää ei pidetä vastuussa mistään menetyksestä tai vahingosta, joka johtuu tämän oppaan tai muun materiaalin ohjeiden noudattamatta jättämisestä.
Vain valtuutettu sähköasentaja, jolla on sähköjärjestelmien ja turvallisuuden tuntemus ja ymmärrys, saa suorittaa asennuksen.
Nano Shutterin suurin ampeerimäärä on 2,5 A kullekin liittimelle ja 5 A molemmille, kun kytketään moottorikuorma (COSφ=0,4, L/R=7ms)
Nano Shutter on tarkoitettu sisäkäyttöön vain kuivissa tiloissa. Älä käytä kosteissa ja / tai märissä tiloissa.
Asennusta edeltävät tarkistukset
Nano Shutter toimii vain, kun se on asennettu nollajohtimen kanssa. Jos nollajohdinta ei ole saatavilla, ammattitaitoisen sähköasentajan on johdotettava nolla asennuspaikkaan.
Pika-aloitus
Seuraavassa opastetaan Nano Shutterin asentamisessa ja sen yhdistämisessä Z-Wave-verkkoon.
- Jos Z-Wave-yhdyskäytäväsi tukee SmartStartia, skannaa Nano Shutterin QR-koodi yhdyskäytävän sopivalla sovelluksella. Kun olet suorittanut seuraavat asennusvaiheet ja käynnistänyt Nano Shutterin, Nano Shutter liittyy Z-Wave-verkkoosi automaattisesti 10 minuutin kuluessa. Jos Z-Wave-yhdyskäytäväsi ei tue SmartStartia, jatka seuraavaan vaiheeseen.
- Katkaise virta kytkimestä katkaisijasta.
Huomautus: Turvallisuuden vuoksi kotisi pääkatkaisijan on tuettava ylikuormitussuojaa.
- Irrota ja poista johdot olemassa olevasta seinäkytkimestä, jonka taakse Nano Shutter asennetaan.
- Varmista, että johdot eivät ole oikosulussa asennuksen aikana, jotta Nano Shutter ei vahingoitu.
- Varmista, että kojerasia, johon Nano Shutter asennetaan, on vähintään 3×2×2,75 tuumaa / 75×50×70 mm tai suurempi; vähimmäistilavuus on 14 in3 / 230cm3.
- Valmistele liitäntäjohdot. Käytä vain joustavia kuparijohtoja.
- 4 AWG virtajohtoa sisäänmenoa/ulostuloa varten.
- 18 AWG kuparijohtoa ulkoiselle manuaaliselle kytkimelle.
- Käytä johdonkuorintaa paljastaaksesi 5 mm johdosta.
Kaavio 1; paljasta 5 mm / 0,27" johdosta:

Kaavio 2; leikkaa ylimääräinen johto pois 5 mm / 0,27":n ylittävältä osalta:

Kaavio 3; AC120V/230V kytkentäkaavio:

Huomautuksia johdinliitäntöihin:
N – Virransyöttö nollajohtimelle
L – Virransyöttö jännitteiselle johtimelle
IN – Kuorman virtalähteen sisääntulo
OUT1 – Moottorin suunnan 1 ulostulo
OUT2 – Moottorin suunnan 2 ulostulo
S1 – Ulkoinen kytkin/painike 1 moottorin ohjausta varten
S2 – Ulkoinen kytkin/painike 2 moottorin ohjausta varten
- Johdota Nano Shutter kojerasiaan. Nano Shutter johdotetaan kaavion 3 mukaisesti.
- Jännitteisen/kuuman johtimen liitäntä: Liitä jännitteinen/kuuma johdin Nano Shutterin "L"-liittimeen ja yhdistä "L" ja "IN" lyhyellä johdolla.
- Nollajohtimen liitäntä: Liitä nollajohdin Nano Shutterin "N"-liittimeen.
- Kuormajohtimen liitäntä: Liitä 2 kuormajohtoa (moottorin suunta 1 ja moottorin suunta 2) Nano Shutterin "OUT1"- ja "OUT2"-liittimiin.
- Kuormajohtimen liitäntä: Liitä nollajohdin moottorin "Neutral"-liittimeen.
- Ulkoisen/manuaalisen kytkimen liitäntä: Liitä 2x18AWG-johtoa Nano Shutterin "S1"- ja "S2"-liittimiin.
- Ulkoisen/manuaalisen kytkimen liitäntä: Liitä 2x18AWG-johtoa ulkoisen/manuaalisen kytkimen 2 liittimestä jännitteiseen johtimeen.
Kaavio 4; fyysinen kytkentäkaavio AC120V/230V-virransyötöllä:

Nano Shutter johdotetaan fyysisesti kaavion 4 mukaisesti, kun johdotus on valmis.
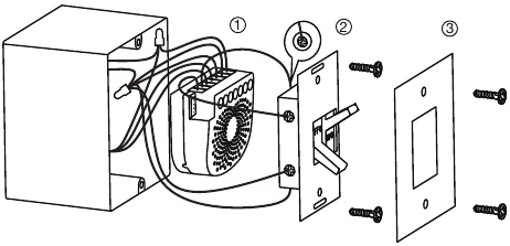
- Kojerasian asennus.
- Järjestä kaikki johdot, jotta Nano Shutterille jää tilaa.
- Aseta Nano Shutter kojerasian sisään antenni rasian takaosaa kohti ja poispäin kaikista muista johdoista.
- Kiinnitä kojerasian kansi takaisin.
Kaavio 5; Nano Shutter asennettuna kojerasiaan tyypillisillä kytkimillä:
![Aeotec - Nano Shutter ZW141 - Nano Shutter asennettuna kojerasiaan tyypillisillä kytkimillä Nano Shutter asennettuna kojerasiaan tyypillisillä kytkimillä]()
- Kytke virta kytkimeen katkaisijasta tai sulakkeesta.
- Jos Z-Wave-yhdyskäytäväsi ei tue SmartStartia:
- Aseta Z-Wave-yhdyskäytäväsi "lisää laite" (add device) -tilaan, jotta voit yhdistää Nano Shutterin Z-Wave-järjestelmääsi. Katso yhdyskäytävän käyttöohjeesta, jos olet epävarma tämän vaiheen suorittamisesta.
- Vaihda Nano Shutteriin johdotettua ulkoista kytkintä kerran. Vaihtoehtoisesti, jos Nano Shutter on edelleen esillä, paina sen toimintopainiketta (Action Button).
- Jos Z-Wave-yhdyskäytäväsi tukee S2-salausta ja DSK:ta, syötä DSK:n 5 ensimmäistä numeroa yhdyskäytäväsi käyttöliittymään, jos / kun sitä pyydetään. DSK on painettu Nano Shutterin koteloon.
- Kun Nano Shutter liittyy onnistuneesti Z-Wave-verkkoosi, sen LED muuttuu siniseksi. Jos Nano Shutterin LED muuttuu punaiseksi 2 sekunnin ajaksi ja vaihtuu sitten sateenkaaren väreissä, se ei ole onnistunut liittymään Z-Wave-verkkoosi; toista vaiheet 6–7 ja ota meihin yhteyttä saadaksesi lisätukea tarvittaessa.
Nano Shutter on nyt osa Z-Wave-kotiautomaatiojärjestelmääsi. Voit määrittää sen ja sen automaatiot Z-Wave-järjestelmäsi kautta; katso ohjelmiston käyttöoppaasta tarkat ohjeet.
Hanki apua ja opi lisää
Jos kohtaat ongelmia Nano Shutterin kanssa, käy osoitteessa support.aeotec.com/nanoshutter tai ota yhteyttä tukitiimiimme osoitteessa aeotec.com/contact. Voit myös oppia lisää Nano Shutterin ominaisuuksista, määritysvaihtoehdoista ja teknisistä tiedoista linkistä.
Yhdyskäytävän yhteensopivuus
Jos haluat nähdä, onko tämä laite tunnetusti yhteensopiva Z-Wave-yhdyskäytäväsi kanssa, katso
aeotec.com/z-wave-gateways
service@aeotec.com
www.aeotec.com

Viitteet
Lataa käyttöohje
Täältä voit ladata täydellisen pdf-version käyttöohjeesta, se voi sisältää lisäturvallisuusohjeita, takuutietoja, FCC-sääntöjä jne.
Lataa Aeotec Nano Shutter ZW141 Pika-aloitusopas
