First Alert 9120BA - Détecteur de fumée avec batterie de secours et manuel de l'utilisateur
- 1 INTRODUCTION
-
2
Principales fonctionnalités
- 2.1 CONSEILS DE SÉCURITÉ INCENDIE
- 2.2 AVANT D'INSTALLER CE DÉTECTEUR DE FUMÉE
- 2.3 Comprendre les différents types de détecteurs de fumée
- 2.4 Savoir où installer vos détecteurs de fumée
- 2.5 Savoir ce que les détecteurs de fumée peuvent et ne peuvent pas faire
- 2.6 Vérifiez vos codes du bâtiment locaux
- 3 COMMENT INSTALLER CE DÉTECTEUR DE FUMÉE
- 4 LES COMPOSANTS DE CE DÉTECTEUR DE FUMÉE
- 5 SUIVEZ CES ÉTAPES D'INSTALLATION
- 6 EXIGENCES SPÉCIALES POUR LES DÉTECTEURS DE FUMÉE INTERCONNECTÉS
- 7 FONCTIONS DE VERROUILLAGE
- 8 TEST HEBDOMADAIRE
- 9 ENTRETIEN RÉGULIER
- 10 SI CET AVERTISSEUR DE FUMÉE SE DÉCLENCHE
- 11 SI VOUS SUSPECTEZ UN PROBLÈME
- 12 EMPLACEMENTS RECOMMANDÉS POUR LES AVERTISSEURS DE FUMÉE
- 13 INSTALLATION D'AVERTISSEURS DE FUMÉE DANS LES MAISONS MOBILES ET LES VR
- 14 RECOMMANDATIONS DE PLACEMENT DES ORGANISMES
- 15 EMPLACEMENTS À ÉVITER POUR LES AVERTISSEURS DE FUMÉE
- 16 ÉVITER LES ESPACES D'AIR MORT
- 17 À PROPOS DES AVERTISSEURS DE FUMÉE
- 18 CONSIDÉRATIONS SPÉCIALES RELATIVES À LA CONFORMITÉ
- 19 LIMITATIONS DES AVERTISSEURS DE FUMÉE
- 20 GARANTIE LIMITÉE
- 21 Références
- 22 Télécharger le manuel
- 23 Dans d'autres langues

INTRODUCTION
Merci d'avoir choisi BRK Brands, Inc. pour vos besoins en détecteurs de fumée. Vous avez acheté un détecteur de fumée à la pointe de la technologie, conçu pour vous offrir une alerte précoce en cas d'incendie.
IMPORTANT ! VEUILLEZ LIRE ATTENTIVEMENT ET CONSERVER
Ce manuel de l'utilisateur contient des informations importantes sur le fonctionnement de votre détecteur de fumée. Si vous installez le détecteur de fumée pour d'autres personnes, vous devez laisser ce manuel — ou une copie — à l'utilisateur final.
Internet: www.firstalert.ca
| Tous les détecteurs de fumée First Alert® et BRK® sont conformes aux exigences réglementaires, y compris ULCS531, et sont conçus pour détecter les particules de combustion.
Pour une protection maximale, utilisez les deux types de détecteurs de fumée à chaque étage et dans chaque chambre de votre maison. |
Principales fonctionnalités
Technologie intelligente conçue pour aider à réduire les alarmes indésirables ou intempestives.
Test/Silence à bouton unique élimine la confusion. Selon le mode dans lequel se trouve l'alarme, le fait d'appuyer sur le bouton offre différentes fonctions telles que le test de l'alarme, la mise en silence de l'alarme, le re-test de l'alarme en mode silence et la réinitialisation de la fonction de mémorisation.
Indicateur d'alarme mémorisée identifie facilement l'alarme initiale même après que la condition d'alarme a disparu.
Système de montage parfait comprend une base sans joint pour une installation facile et un nouveau support de montage qui maintient l'alarme en place sur une large plage de rotation pour permettre un alignement parfait.
Les caractéristiques d'Installation/Maintenance facile incluent une grande ouverture dans le support de montage pour un accès facile au câblage. Une languette de retrait de la pile maintient la pile fraîche jusqu'à ce que la maison soit occupée. Un tiroir à piles à chargement latéral permet un remplacement facile de la pile sans retirer l'alarme du plafond ou du mur.
La Résistance améliorée aux UV empêche l'alarme de se décolorer avec le temps.
CONSEILS DE SÉCURITÉ INCENDIE
Suivez les règles de sécurité et prévenez les situations dangereuses :
- Utilisez correctement les matériaux à fumer. Ne fumez jamais au lit.
- Gardez les allumettes ou les briquets hors de portée des enfants ;
- Stockez les matériaux inflammables dans des conteneurs appropriés ;
- Maintenez les appareils électriques en bon état et ne surchargez pas les circuits électriques ;
- Gardez les cuisinières, les barbecues, les cheminées et les conduits de cheminée exempts de graisse et de débris ;
- Ne laissez jamais quelque chose cuire sur la cuisinière sans surveillance ;
- Gardez les chauffages portatifs et les flammes nues, comme les bougies, éloignés des matériaux inflammables ;
- Ne laissez pas les ordures s'accumuler.
Gardez les détecteurs propres et testez-les chaque semaine. Remplacez immédiatement les détecteurs s'ils ne fonctionnent pas correctement. Les détecteurs de fumée qui ne fonctionnent pas ne peuvent pas vous alerter en cas d'incendie. Gardez au moins un extincteur en état de marche à chaque étage, et un supplémentaire dans la cuisine. Ayez des échelles de secours ou d'autres moyens d'évasion fiables depuis un étage supérieur au cas où les escaliers seraient bloqués.
AVANT D'INSTALLER CE DÉTECTEUR DE FUMÉE
Lisez "Emplacements recommandés pour les détecteurs de fumée" et "Emplacements à éviter pour les détecteurs de fumée" avant de commencer. Cet appareil surveille l'air, et lorsque la fumée atteint sa chambre de détection, il se déclenche. Il peut vous donner plus de temps pour vous échapper avant que le feu ne se propage. Cet appareil ne peut donner une alerte précoce d'incendies en développement QUE s'il est installé, entretenu et situé là où la fumée peut l'atteindre, et où tous les résidents peuvent l'entendre, comme décrit dans ce manuel. Cet appareil ne détectera pas le gaz, la chaleur ou la flamme. Il ne peut ni prévenir ni éteindre les incendies.
Comprendre les différents types de détecteurs de fumée
Alimenté par batterie ou électrique ? Différents détecteurs de fumée offrent différents types de protection. Voir "À propos des détecteurs de fumée" pour plus de détails.
Savoir où installer vos détecteurs de fumée
Les professionnels de la sécurité incendie recommandent au moins un détecteur de fumée à chaque niveau de votre maison, dans chaque chambre, et dans chaque couloir de chambre ou zone de couchage séparée. Voir "Emplacements recommandés pour les détecteurs de fumée" et "Emplacements à éviter pour les détecteurs de fumée" pour plus de détails.
Savoir ce que les détecteurs de fumée peuvent et ne peuvent pas faire
Un détecteur de fumée peut vous aider à être alerté en cas d'incendie, vous donnant un temps précieux pour vous échapper. Il ne peut sonner l'alarme qu'une fois que la fumée atteint le capteur. Voir "Limitations des détecteurs de fumée" pour plus de détails.
Vérifiez vos codes du bâtiment locaux
Ce détecteur de fumée est conçu pour être utilisé dans une maison unifamiliale typique. À lui seul, il ne répondra pas aux exigences des pensions, des immeubles d'appartements, des hôtels ou des motels. Voir "Considérations spéciales de conformité" pour plus de détails.
Coupez l'alimentation électrique de la zone où le détecteur de fumée est installé avant de le retirer du support de montage. Ne pas couper l'alimentation électrique au préalable peut entraîner un choc électrique grave, des blessures ou la mort.
- Cet appareil n'alertera pas les résidents malentendants. Il est recommandé d'installer des unités spéciales qui utilisent des dispositifs comme des lumières stroboscopiques clignotantes pour alerter les résidents malentendants.
- L'installation de cet appareil doit être conforme aux codes électriques de votre région ; Articles 210 et 300.3 (B) de la NFPA 70 (NEC), NFPA 72, NFPA 101 ; ICC ; SBC (SBCCI) ; UBC (ICBO) ; NBC (BOCA) ; OTFDC (CABO), et tout autre code local ou du bâtiment applicable. Le câblage et l'installation doivent être effectués par un électricien agréé. Le non-respect de ces directives peut entraîner des blessures ou des dommages matériels.
- Cet appareil doit être alimenté par un circuit 120 V CA à onde sinusoïdale pure de 60 Hz, disponible 24 heures sur 24. Assurez-vous que le circuit ne peut pas être coupé par un interrupteur, un variateur ou un disjoncteur différentiel de fuite à la terre. Le non-raccordement de cet appareil à un circuit 24 heures sur 24 peut l'empêcher de fournir une protection constante. L'appareil peut être connecté à un disjoncteur de protection contre les arcs électriques.
- Ce détecteur de fumée doit être alimenté par CA ou par batterie pour fonctionner. En cas de coupure de courant CA, l'alimentation de secours par batterie permettra à l'alarme de retentir pendant au moins 4 minutes. Si l'alimentation CA tombe en panne et que la batterie est faible, la protection devrait durer jusqu'à 7 jours. Si l'alimentation CA tombe en panne et que la batterie est morte ou manquante, l'alarme ne peut pas fonctionner.
- Ne déconnectez jamais l'alimentation d'un appareil alimenté par CA pour arrêter une alarme intempestive. Cela désactiverait l'appareil et supprimerait votre protection. En cas de véritable alarme intempestive, ouvrez une fenêtre ou dispersez la fumée loin de l'appareil. L'alarme se réinitialisera automatiquement lorsqu'elle retrouvera son fonctionnement normal. Ne retirez jamais les piles d'un appareil alimenté par batterie pour arrêter une alarme intempestive (causée par la fumée de cuisson, etc.). Ouvrez plutôt une fenêtre ou dispersez la fumée loin de l'appareil. L'alarme se réinitialisera automatiquement.
- Connectez cet appareil UNIQUEMENT à d'autres unités compatibles. Voir "Comment installer ce détecteur de fumée" pour plus de détails. Ne le connectez à aucun autre type d'alarme ou de dispositif auxiliaire. Connecter quoi que ce soit d'autre à cet appareil pourrait l'endommager ou l'empêcher de fonctionner correctement.
- Le compartiment à piles résiste à la fermeture si une pile n'est pas installée. Cela vous avertit que l'appareil ne fonctionnera pas sous alimentation CC sans pile.
- Le compartiment à piles résiste à la fermeture si une pile n'est pas installée. Cela vous avertit que l'appareil ne fonctionnera pas sous alimentation CC sans pile.
- Ne peignez pas l'appareil. La peinture peut obstruer les ouvertures de la chambre de détection et empêcher l'appareil de fonctionner correctement.
COMMENT INSTALLER CE DÉTECTEUR DE FUMÉE
Ce détecteur de fumée est conçu pour être monté sur toute boîte de jonction électrique standard de 4 pouces (102 mm), au plafond ou au mur. Lisez "Emplacements recommandés pour les détecteurs de fumée" et "Emplacements à éviter pour les détecteurs de fumée" avant de commencer l'installation.
Outils nécessaires :
- Pinces à bec effilé ou couteau utilitaire
- Tournevis plat standard.
| Assurez-vous que le détecteur ne reçoit pas une alimentation électrique excessivement bruyante (courant parasité). Des exemples de courant parasité pourraient être des appareils électroménagers majeurs sur le même circuit, l'alimentation provenant d'un générateur ou de l'énergie solaire, un variateur de lumière sur le même circuit ou un montage à proximité d'un éclairage fluorescent. Un courant parasité excessif peut endommager votre détecteur. |
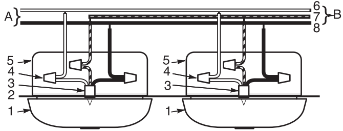
LES COMPOSANTS DE CE DÉTECTEUR DE FUMÉE
Le support de montage :
Pour retirer le support de montage de la base du détecteur de fumée, tenez fermement la base du détecteur de fumée et tournez le support de montage dans le sens inverse des aiguilles d'une montre. Le support de montage s'installe sur la boîte de jonction. Il dispose d'une variété de fentes de vis pour s'adapter à la plupart des boîtes.
Le connecteur d'alimentation :
Le connecteur d'alimentation se branche sur un bloc d'entrée d'alimentation du détecteur de fumée. Il alimente l'appareil en courant alternatif.
- Le fil noir est "chaud" (phase).
- Le fil blanc est neutre.
- Le fil orange est utilisé pour l'interconnexion.
Si vous devez retirer le connecteur d'alimentation, COUPER L'ALIMENTATION en premier. Insérez une lame de tournevis plat entre le connecteur d'alimentation et la languette de sécurité à l'intérieur du bloc d'entrée d'alimentation. Écartez délicatement la languette et retirez le connecteur.
Les composants de cet appareil

- Support de montage
- Fentes de montage
- Goupilles de verrouillage (à détacher du support)
- Fil CA (noir) chaud (phase)
- Fil CA (blanc) neutre
- Fil d'interconnexion (orange)
- Loquet pour ouvrir le compartiment à piles
- Compartiment à piles pivotant
- Connecteur d'alimentation rapide
SUIVEZ CES ÉTAPES D'INSTALLATION
L'installation de base de ce détecteur de fumée est similaire, que vous souhaitiez installer un seul détecteur de fumée ou interconnecter plusieurs détecteurs de fumée. Si vous interconnexionnez plusieurs détecteurs de fumée, vous DEVEZ lire les "EXIGENCES SPÉCIALES POUR LES DÉTECTEURS DE FUMÉE INTERCONNECTÉS" ci-dessous avant de commencer l'installation.
RISQUE DE CHOC ÉLECTRIQUE. Coupez l'alimentation de la zone où vous installerez cette unité au disjoncteur ou au panneau de fusibles avant de commencer l'installation. Le non-respect de cette consigne avant l'installation peut entraîner un grave choc électrique, des blessures ou la mort.
- Retirez le support de montage de la base et fixez-le à la boîte de jonction.
Activez la sauvegarde de la batterie en retirant la languette "Pull to Activate Battery BackUp" (Tirer pour activer la sauvegarde de la batterie). Ou, installez la sauvegarde de la batterie. La sauvegarde de la batterie ne peut fonctionner que si vous installez la batterie dans la bonne position. (Faites correspondre "+" à "+" et "-" à "-"). - À l'aide de capuchons de connexion, connectez le connecteur d'alimentation au câblage domestique.
Un câblage incorrect du connecteur d'alimentation ou du câblage menant au connecteur d'alimentation endommagera l'alarme et pourrait entraîner un dysfonctionnement de l'alarme.
|
ALARME AUTONOME SEULEMENT :
UNITÉS INTERCONNECTÉES SEULEMENT : Dénudez environ 1/2" (12 mm) du revêtement plastique du fil orange sur le connecteur d'alimentation.
|
- Branchez le connecteur d'alimentation à l'arrière du détecteur de fumée.
- Positionnez la base du détecteur de fumée sur le support de montage et tournez. L'alarme restera sécurisée sur une large plage de rotation pour permettre un alignement parfait. Lors du montage mural, cela permettra un ajustement précis du positionnement pour compenser les montants muraux mal alignés et pour maintenir le texte de niveau. L'alarme peut être positionnée sur le support tous les 120°. Faites pivoter l'alarme jusqu'à ce qu'elle soit correctement alignée.
- Vérifiez toutes les connexions.
|
ALARME AUTONOME SEULEMENT :
UNITÉS INTERCONNECTÉES SEULEMENT :
|
RISQUE DE CHOC ÉLECTRIQUE. Ne rétablissez pas l'alimentation tant que tous les détecteurs de fumée ne sont pas complètement installés. Le rétablissement de l'alimentation avant que l'installation ne soit terminée peut entraîner un grave choc électrique, des blessures ou la mort.
- Assurez-vous que le détecteur de fumée reçoit de l'alimentation CA. En fonctionnement normal, le voyant vert d'alimentation s'allumera en continu.
- Si le voyant vert d'alimentation ne s'allume pas, COUPEZ L'ALIMENTATION DE LA BOÎTE DE JONCTION et vérifiez à nouveau toutes les connexions. Si toutes les connexions sont correctes et que le voyant vert d'alimentation ne s'allume toujours pas lorsque vous rétablissez l'alimentation, l'unité doit être remplacée immédiatement.
- Testez chaque détecteur de fumée. Appuyez et maintenez le bouton Test/Silence (Test/Silence) jusqu'à ce que l'unité se déclenche.
Si une unité de la série ne se déclenche pas, COUPEZ L'ALIMENTATION et vérifiez à nouveau les connexions.
Si elle ne se déclenche pas lorsque vous rétablissez l'alimentation, remplacez-la immédiatement.
- Pour une nouvelle construction, placez le cache-poussière fourni sur l'alarme pour éviter les dommages causés par la poussière et les débris de construction. Une fois la construction terminée, retirez le cache.
La fumée ne pourra pas atteindre le capteur de fumée tant que le couvercle est en place. Le couvercle doit être retiré !
EXIGENCES SPÉCIALES POUR LES DÉTECTEURS DE FUMÉE INTERCONNECTÉS
- Le non-respect de l'une des exigences ci-dessus pourrait endommager les unités et les faire mal fonctionner, vous privant ainsi de protection.
- Les détecteurs de fumée CA et CA/CC peuvent être interconnectés. Sous alimentation CA, toutes les unités se déclenchent lorsqu'une seule détecte de la fumée. En cas de coupure de courant, seules les unités CA/CC de la série continueront à envoyer et à recevoir des signaux.
Les détecteurs de fumée alimentés en CA ne fonctionneront pas.
Les unités interconnectées peuvent fournir une alerte précoce d'incendie que les unités autonomes, surtout si un incendie se déclare dans une zone éloignée de l'habitation. Si une unité de la série détecte de la fumée, toutes les unités se déclencheront. Pour déterminer quel détecteur de fumée a initié une alarme, voir le tableau :
| Pendant une alarme : | |
| Sur l'alarme(s) initiatrice(s) | La ou les LED rouges clignotent en synchronisation avec l'avertisseur sonore |
| Sur toutes les autres alarmes | La LED rouge est éteinte |
| Après une alarme (Mémorisation) | |
| Sur l'alarme(s) initiatrice(s) | LED rouge 2 secondes allumée/2 secondes éteinte |
| Sur toutes les autres alarmes | La ou les LED vertes sont allumées, la ou les LED rouges sont éteintes |
| Sur alimentation CC, la mémorisation de l'alarme n'apparaîtra que pendant 15 minutes afin de conserver l'énergie. Appuyez sur le bouton Test/Silence (Test/Silence) pour éteindre l'indicateur. Vous entendrez un indicateur sonore, puis l'alarme passera en fonctionnement normal. |
|
Unités interconnectées compatibles
Interconnectez les unités uniquement au sein d'une seule résidence unifamiliale. Sinon, tous les foyers connaîtront des alarmes indésirables lorsque vous testerez une unité de la série. Les unités interconnectées ne fonctionneront que si elles sont câblées à des unités compatibles et si toutes les exigences sont respectées. Cette unité est conçue pour être compatible avec :
First Alert® / BRK® Models 9120A, 9120BA, 7010A, 7010BA, 100SA, RM4 Relay
Les unités interconnectées doivent respecter TOUTES les exigences suivantes :
- Un maximum de 18 unités compatibles peuvent être interconnectées (Maximum de 12 détecteurs de fumée).
- Le même fusible ou disjoncteur doit alimenter toutes les unités interconnectées.
- La longueur totale du fil interconnectant les unités doit être inférieure à 1000 pieds (300 mètres). Le fil d'interconnexion doit être de calibre #18 ou plus, et avoir une tension nominale d'au moins 300V. Si un fil d'interconnexion ne fait pas déjà partie de votre câblage domestique, vous devrez en installer un. Ce type de fil est couramment disponible dans les quincailleries et les magasins de fournitures électriques.
- Tout le câblage doit être conforme à tous les codes électriques locaux et au Code canadien de l'électricité, CSA 22.1

- Source 120 VCA 60 Hz non commutée
- Vers des unités supplémentaires ; Maximum = 18 au total (Maximum 12 détecteurs de fumée)
- Détecteur de fumée
- Plafond ou Mur
- Connecteur d'alimentation
- Capuchon de connexion
- Boîte de jonction
- Fil neutre (Blanc)
- Fil d'interconnexion (Orange)
- Fil sous tension (Noir)
FONCTIONS DE VERROUILLAGE
Les fonctions de verrouillage sont conçues pour décourager le retrait non autorisé de la pile ou de l'alarme. Il n'est pas nécessaire d'activer les verrous dans les foyers unifamiliaux où le retrait non autorisé de la pile ou de l'alarme n'est pas une préoccupation.
Ces alarmes disposent de deux fonctions de verrouillage distinctes : l'une pour verrouiller le compartiment à piles, et l'autre pour verrouiller le détecteur de fumée sur le support de montage. Vous pouvez choisir d'utiliser l'une ou l'autre de ces fonctions indépendamment, ou les deux.
Outils dont vous aurez besoin :
- Pince à bec effilé ou couteau utilitaire
- Tournevis plat standard.
Les deux fonctions de verrouillage utilisent des broches de verrouillage, qui sont moulées dans le support de montage. À l'aide d'une pince à bec effilé ou d'un couteau utilitaire, retirez une ou les deux broches du support de montage, selon le nombre de fonctions de verrouillage que vous souhaitez utiliser.

Pour retirer définitivement un verrou, insérez un tournevis plat entre la broche de verrouillage et le verrou, et faites levier pour retirer la broche du verrou.
POUR VERROUILLER LE COMPARTIMENT À PILES
Ne verrouillez pas le compartiment à piles avant d'avoir activé la pile et testé la pile de secours.
- Activez la pile de secours en retirant la languette « Pull to Activate Battery Back-Up » (Tirer pour activer la pile de secours) et en déverrouillant le compartiment à piles. Ou, installez la pile de secours. La pile de secours ne peut pas fonctionner tant que vous n'avez pas installé la pile dans la bonne position (faites correspondre « + » à « + » et « - » à « - »)
- Appuyez et maintenez le bouton de test jusqu'à ce que l'alarme retentisse : 3 bips, pause, 3 bips, pause.
![]()
Si l'unité ne déclenche pas d'alarme pendant le test, NE verrouillez PAS le compartiment à piles ! Installez une nouvelle pile et testez à nouveau. Si le détecteur de fumée ne déclenche toujours pas d'alarme, remplacez-le immédiatement.

- À l'aide d'une pince à bec effilé ou d'un couteau utilitaire, détachez une broche de verrouillage du support de montage.
- Poussez la broche de verrouillage à travers le point noir sur l'étiquette à l'arrière du détecteur de fumée.
![]()
POUR DÉVERROUILLER LE COMPARTIMENT À PILES
Une fois le détecteur de fumée installé, vous devez le déconnecter de l'alimentation CA avant de déverrouiller le compartiment à piles.
RISQUE DE CHOC ÉLECTRIQUE. Coupez l'alimentation de la zone où le détecteur de fumée est installé avant de le retirer du support de montage. Ne pas couper l'alimentation au préalable peut entraîner un choc électrique grave, des blessures ou la mort.
Déchargez toujours le circuit dérivé avant d'entretenir un détecteur de fumée CA ou CA/CC.
Tout d'abord, coupez l'alimentation CA au disjoncteur ou à la boîte à fusibles. Ensuite, retirez la pile des détecteurs de fumée avec pile de secours. Enfin, appuyez et maintenez le bouton de test pendant 5 à 10 secondes pour décharger le circuit dérivé.

- Retirez le détecteur de fumée du support de montage. Si l'unité est verrouillée sur le support, consultez la section « To Unlock the Mounting Bracket » (Pour déverrouiller le support de montage).
- Déconnectez le connecteur d'alimentation en le débranchant délicatement de l'arrière du détecteur de fumée.
- Entaillez la zone autour de la broche de verrouillage pour briser le joint. Insérez un tournevis plat sous la tête de la broche de verrouillage ou utilisez une pince à bec effilé pour la retirer délicatement du verrou du compartiment à piles. (Si vous prévoyez de reverrouiller le compartiment à piles, conservez la broche de verrouillage.)
- Pour reverrouiller le compartiment à piles, fermez le compartiment à piles et réinsérez la broche de verrouillage dans le verrou.
- Reconnectez le connecteur d'alimentation à l'arrière du détecteur de fumée, rattachez le détecteur de fumée au support de montage et rétablissez l'alimentation.
Lors du remplacement de la pile, testez toujours le détecteur de fumée avant de reverrouiller le compartiment à piles.
POUR VERROUILLER LE SUPPORT DE MONTAGE
- À l'aide d'une pince à bec effilé ou d'un couteau utilitaire, détachez une broche de verrouillage du support de montage.
![First Alert - 9120BA - POUR VERROUILLER LE SUPPORT DE MONTAGE - Étape 1 POUR VERROUILLER LE SUPPORT DE MONTAGE - Étape 1]()
- Insérez la broche de verrouillage dans le verrou situé sur la base, comme indiqué sur le diagramme.
![First Alert - 9120BA - POUR VERROUILLER LE SUPPORT DE MONTAGE - Étape 2 POUR VERROUILLER LE SUPPORT DE MONTAGE - Étape 2]()
- Lorsque vous fixez le détecteur de fumée au support de montage, la tête de la broche de verrouillage s'insérera dans une encoche du support
POUR DÉVERROUILLER LE SUPPORT DE MONTAGE
RISQUE DE CHOC ÉLECTRIQUE. Coupez l'alimentation de la zone où le détecteur de
fumée est installé avant de le retirer du support de montage. Ne pas couper l'alimentation au préalable peut entraîner un choc électrique grave, des blessures ou la mort.
Déchargez toujours le circuit dérivé avant d'entretenir un détecteur de fumée CA ou CA/CC. Tout d'abord, coupez l'alimentation CA au disjoncteur ou à la boîte à fusibles. Ensuite, retirez la pile des détecteurs de fumée avec pile de secours. Enfin, appuyez et maintenez le bouton de test pendant 5 à 10 secondes pour décharger le circuit dérivé.
- Insérez un tournevis plat entre la broche du support de montage et le support de montage.
![First Alert - 9120BA - POUR DÉVERROUILLER LE SUPPORT DE MONTAGE - Étape 1 POUR DÉVERROUILLER LE SUPPORT DE MONTAGE - Étape 1]()
- Faites levier pour éloigner le détecteur de fumée du support en tournant simultanément le tournevis et le détecteur de fumée dans le sens antihoraire (vers la gauche).
![First Alert - 9120BA - POUR DÉVERROUILLER LE SUPPORT DE MONTAGE - Étape 2 POUR DÉVERROUILLER LE SUPPORT DE MONTAGE - Étape 2]()
COMPRENDRE LES VOYANTS LUMINEUX ET LES SCHÉMAS SONORES DE L'ALARME
| Condition | DEL (Voyants rouges ou verts) | Sirène |
| Fonctionnement normal (Alimentation CA) | DEL verte ALLUMÉE | Pas d'alarme sonore |
| Fonctionnement normal (Alimentation CC) | DEL verte clignote brièvement toutes les minutes | Pas d'alarme sonore |
| PENDANT LE TEST | DEL rouge clignote en synchronisation avec la sirène![]() | Schéma sonore de la sirène : 3 bips, pause, 3 bips, pause |
| PILE FAIBLE OU ABSENTE | DEL verte clignote en synchronisation avec la sirène![]() | La sirène émet des « gazouillements » (chirps) environ une fois par minute |
| CONDITION D'ALARME : Détecteur de fumée initiateur | La DEL rouge clignote en synchronisation avec la sirène sur l'unité qui a déclenché l'alarme![]() | Schéma sonore de la sirène : 3 bips, pause, 3 bips, pause se répétant sur toutes les alarmes |
| CONDITION D'ALARME : Alarme interconnectée | La DEL sur les autres alarmes d'une série interconnectée sera ÉTEINTE![]() | Schéma sonore de la sirène : 3 bips, pause, 3 bips, pause se répétant sur toutes les alarmes |
| EN MODE SILENCE | DEL rouge clignote rapidement![]() | La sirène reste silencieuse pendant 10 minutes maximum. La sirène retentira si les niveaux de fumée augmentent |
| INDICATEUR D'ALARME « MÉMORISÉE » (LATCHING) | La DEL rouge clignote en rouge (2 s allumée/2 s éteinte) sur l'alarme initiatrice jusqu'à ce que le bouton de test/silence soit enfoncé. Sur les piles de secours, l'indicateur s'éteint après 15 minutes pour économiser la pile.![]() | La sirène reste silencieuse |
| DYSFONCTIONNEMENT | DEL verte clignote en synchronisation avec la sirène | La sirène émet 3 « gazouillements » (chirps) environ toutes les minutes |
| FIN DE VIE | DEL verte clignote en synchronisation avec la sirène | La sirène émet 5 « gazouillements » (chirps) environ toutes les minutes |
TEST HEBDOMADAIRE
- N'utilisez JAMAIS de flamme nue d'aucune sorte pour tester cette unité. Vous pourriez accidentellement endommager ou incendier l'unité ou votre maison. L'interrupteur de test intégré vérifie précisément le fonctionnement de l'unité, comme l'exigent les Underwriters' Laboratories of Canada (ULC).
- Si l'alarme ne se teste jamais correctement, remplacez-la immédiatement. Les produits sous garantie peuvent être retournés au fabricant pour remplacement. Voir « Limited Warranty » (Garantie limitée) à la fin de ce manuel.
NE VOUS TENEZ PAS près de l'alarme lorsque la sirène retentit. Une exposition à courte portée peut être nocive pour votre ouïe. Lors du test, éloignez-vous lorsque la sirène commence à retentir. Il est important de tester cette unité chaque semaine pour vous assurer qu'elle fonctionne correctement. L'utilisation du bouton de test est le moyen recommandé pour tester ce détecteur de fumée. Appuyez et maintenez le bouton de test sur le couvercle de l'unité jusqu'à ce que l'alarme retentisse (l'unité peut continuer à sonner pendant quelques secondes après avoir relâché le bouton). Si elle ne sonne pas, assurez-vous que l'unité reçoit de l'alimentation et testez-la à nouveau. Si elle ne sonne toujours pas, remplacez-la immédiatement. Pendant le test, vous entendrez un schéma sonore fort et répétitif : 3 bips, pause, 3 bips, pause. Lorsque vous testez une série d'unités interconnectées, vous devez tester chaque unité individuellement. Assurez-vous que toutes les unités sonnent lorsque chacune est testée.
ENTRETIEN RÉGULIER
Cette unité a été conçue pour être aussi facile d'entretien que possible, mais quelques gestes simples sont nécessaires pour assurer son bon fonctionnement.
N'utilisez que les piles de remplacement énumérées ci-dessous. L'unité pourrait ne pas fonctionner correctement avec d'autres piles. N'utilisez jamais de piles rechargeables car elles pourraient ne pas fournir une charge constante.
- Testez-le au moins une fois par semaine.
- Nettoyez le détecteur de fumée au moins une fois par mois ; aspirez délicatement l'extérieur du détecteur de fumée à l'aide de l'embout brosse souple de votre aspirateur ménager. Testez le détecteur de fumée. N'utilisez jamais d'eau, de nettoyants ou de solvants, car ils pourraient endommager l'unité.
- Si le détecteur de fumée est contaminé par une saleté, une poussière et/ou une crasse excessive, et ne peut pas être nettoyé pour éviter les alarmes intempestives, remplacez l'unité immédiatement.
- Déplacez l'unité si elle déclenche fréquemment des alarmes intempestives. Consultez la section « Locations To Avoid For Smoke Alarms » (Emplacements à éviter pour les détecteurs de fumée) pour plus de détails.
- Lorsque la pile de secours devient faible, le détecteur de fumée émettra un « gazouillement » (chirp) environ une fois par minute (l'« low battery warning » (avertissement de pile faible)). Cet avertissement devrait durer 7 jours, mais vous devez remplacer la pile immédiatement pour maintenir votre protection.
Choix d'une pile de remplacement :
Votre détecteur de fumée nécessite une pile standard de 9V. Les piles suivantes sont acceptables comme remplacements : Duracell #MN1604, (Ultra) #MX1604 ; Eveready (Energizer) #522, Eveready (Energizer) #1222. Vous pouvez également utiliser une pile au Lithium comme la Ultralife U9VL-J, U9VL-J-P pour une durée de vie plus longue entre les remplacements de piles. Ces piles sont disponibles dans de nombreux magasins de détail locaux.
La durée de vie réelle de la pile dépend du détecteur de fumée et de l'environnement dans lequel il est installé. Toutes les piles spécifiées ci-dessus sont des piles de remplacement acceptables pour cette unité. Quelle que soit la durée de vie de la pile suggérée par le fabricant, vous DEVEZ remplacer la pile immédiatement dès que l'unité commence à « gazouiller » (chirping) (l'« low battery warning » (avertissement de pile faible)).
SI CET AVERTISSEUR DE FUMÉE SE DÉCLENCHE
RÉPONDRE À UNE ALARME
Pendant une alarme, vous entendrez un motif de klaxon fort et répétitif : 3 bips, pause, 3 bips, pause.
- Si l'appareil se déclenche et que vous ne le testez pas, il vous avertit d'une situation potentiellement dangereuse qui nécessite votre attention immédiate. N'IGNOREZ JAMAIS une alarme. Ignorer l'alarme peut entraîner des blessures ou la mort.
- Ne débranchez jamais l'alimentation CA pour faire taire une alarme indésirable. Débrancher l'alimentation désactive l'avertisseur, l'empêchant de détecter la fumée. Cela annulera votre protection. Ouvrez plutôt une fenêtre ou dissipez la fumée de l'appareil à l'aide d'un ventilateur. L'alarme se réinitialisera automatiquement.
- Si l'appareil se déclenche, faites sortir tout le monde de la maison immédiatement.
- RISQUE DE CHOC ÉLECTRIQUE : Tenter de débrancher le connecteur d'alimentation de l'appareil lorsque l'alimentation est activée peut entraîner un choc électrique, des blessures graves ou la mort.
Lorsqu'un système interconnecté d'appareils alimentés en CA est en alarme, le voyant d'alarme sur l'appareil (ou les appareils) qui a initié l'alarme clignotera rapidement. Il restera ÉTEINT sur tous les autres appareils. Si l'appareil se déclenche et que vous êtes certain que la source de fumée n'est pas un incendie — fumée de cuisson ou fourneau extrêmement poussiéreux, par exemple — ouvrez une fenêtre ou une porte à proximité et dissipez la fumée loin de l'appareil. Utilisez la fonction de silence pour faire taire l'alarme. Cela fera taire l'alarme, et une fois la fumée dissipée, l'appareil se réinitialisera automatiquement.
QUE FAIRE EN CAS D'INCENDIE
- Ne paniquez pas ; restez calme. Suivez votre plan d'évacuation familial.
- Sortez de la maison le plus rapidement possible. Ne vous arrêtez pas pour vous habiller ou prendre quoi que ce soit.
- Sentez les portes avec le dos de votre main avant de les ouvrir. Si une porte est froide, ouvrez-la lentement. N'ouvrez pas une porte chaude. Gardez les portes et les fenêtres fermées, à moins que vous ne deviez vous échapper par celles-ci.
- Couvrez votre nez et votre bouche avec un chiffon (de préférence humide). Prenez de courtes respirations peu profondes.
- Rassemblez-vous à votre point de rencontre prévu à l'extérieur de votre maison, et faites un décompte pour vous assurer que tout le monde est sorti en toute sécurité.
- Appelez les pompiers dès que possible depuis l'extérieur. Donnez votre adresse, puis votre nom.
- Ne retournez jamais à l'intérieur d'un bâtiment en feu pour quelque raison que ce soit.
- Contactez votre service d'incendie pour des idées sur la façon de rendre votre maison plus sûre.
Les avertisseurs ont diverses limitations. Voir "Limitations of Smoke Alarms" (Limitations des avertisseurs de fumée) pour plus de détails.
UTILISATION DE LA FONCTION DE SILENCE
La fonction de silence de cet appareil peut temporairement faire taire une alarme indésirable pendant une durée maximale de 10 minutes.
La fonction de silence ne désactive pas l'appareil – elle le rend temporairement moins sensible à la fumée. Pour votre sécurité, si la fumée autour de l'appareil est suffisamment dense pour suggérer une situation potentiellement dangereuse, l'appareil restera en alarme ou pourrait se redéclencher rapidement.
Si vous ne connaissez pas la source de la fumée, ne supposez pas qu'il s'agit d'une alarme indésirable. Ne pas répondre à une alarme peut entraîner des pertes matérielles, des blessures ou la mort. Si l'appareil ne se tait pas et qu'il n'y a pas de fumée épaisse, ou s'il reste en mode silence en continu, il doit être remplacé immédiatement.
Pour faire taire les avertisseurs de fumée dans une série interconnectée :
- Pour faire taire plusieurs avertisseurs dans une série interconnectée, vous devez appuyer sur le bouton Test/Silence sur l'appareil (ou les appareils) qui a initié l'alarme.
REMARQUE : La LED rouge de l'alarme d'origine clignotera rapidement. La LED rouge sera éteinte sur toutes les autres alarmes non initiatrices. Aucun son audible ne sera émis. L'appareil quittera le "mode silence" après environ 10 minutes.
- Pendant que l'appareil est en "mode silence", appuyer et maintenir le bouton Test/Silence pendant environ 10 secondes testera l'appareil. Après le test, l'appareil réactivera le "mode silence" et la minuterie de 10 minutes sera réinitialisée.
INDICATEUR "ALARME MÉMORISÉE"

LÉGENDE:
ALARME MÉMORISÉE: L'appareil a été exposé à des niveaux d'alarme de fumée
ALARME NON ACTIVÉE: L'appareil n'a pas été exposé à des niveaux d'alarme de fumée
L'indicateur d'alarme mémorisée est automatiquement activé après qu'une alarme a été exposée à des niveaux de fumée déclenchant l'alarme. Une fois que les niveaux de fumée sont redescendus sous les niveaux d'alarme, la LED rouge s'allumera pendant 2 secondes/s'éteindra pendant 2 secondes, de manière répétée. Cette fonction aide les intervenants d'urgence, les enquêteurs ou les techniciens de service à identifier quel(s) appareil(s) de votre domicile ont été exposés à des niveaux d'alarme de fumée après que la situation s'est résorbée. L'indicateur d'alarme mémorisée reste allumé jusqu'à ce que vous le réinitialisiez en appuyant sur le bouton Test/Silence. L'indicateur d'alarme mémorisée est également réinitialisé lorsque l'alimentation CA et CC est coupée de l'alarme.
SI VOUS SUSPECTEZ UN PROBLÈME
Les avertisseurs de fumée peuvent ne pas fonctionner correctement en raison de piles mortes, manquantes ou faibles, d'une accumulation de saleté, de poussière ou de graisse sur le couvercle de l'avertisseur de fumée, ou d'une installation à un endroit inapproprié. Nettoyez l'avertisseur de fumée comme décrit dans "Regular Maintenance" (Entretien régulier), et installez une pile neuve, puis testez à nouveau l'avertisseur de fumée. S'il ne fonctionne pas correctement lorsque vous utilisez le bouton Test/Silence, ou si le problème persiste, remplacez l'avertisseur de fumée immédiatement.
- Si vous entendez un "gazouillis" une fois par minute, remplacez la pile.
- Si vous subissez de fréquentes alarmes non urgentes (comme celles causées par la fumée de cuisson), essayez de déplacer l'avertisseur de fumée.
- Si l'alarme retentit alors qu'aucune fumée n'est visible, essayez de nettoyer ou de déplacer l'avertisseur de fumée. Le couvercle peut être sale.
- Si l'alarme ne retentit pas pendant le test, assurez-vous qu'elle reçoit l'alimentation CA du courant domestique.
N'essayez pas de réparer l'alarme vous-même – cela annulera votre garantie !
Si l'avertisseur de fumée ne fonctionne toujours pas correctement, et qu'il est encore sous garantie, veuillez consulter "How to Obtain Warranty Service" (Comment obtenir un service de garantie) dans la garantie limitée.
EMPLACEMENTS RECOMMANDÉS POUR LES AVERTISSEURS DE FUMÉE
Installation d'avertisseurs de fumée dans les résidences unifamiliales
La National Fire Protection Association (NFPA) recommande un avertisseur de fumée à chaque étage, dans chaque zone de couchage et dans chaque chambre. Dans les nouvelles constructions, les avertisseurs de fumée doivent être alimentés en CA et interconnectés. Voir "Agency Placement Recommendations" (Recommandations de placement des organismes) pour plus de détails. Pour une couverture supplémentaire, il est recommandé d'installer un avertisseur de fumée dans toutes les pièces, couloirs, zones de rangement, greniers aménagés et sous-sols, où les températures restent normalement entre 40˚ F (4,4˚ C) et 100˚ F (37,8˚ C). Assurez-vous qu'aucune porte ou autre obstruction ne puisse empêcher la fumée d'atteindre les avertisseurs de fumée.
Plus spécifiquement, installez les avertisseurs de fumée :
- À chaque niveau de votre maison, y compris les greniers aménagés et les sous-sols.
- À l'intérieur de chaque chambre, surtout si les personnes dorment avec la porte partiellement ou complètement fermée.
- Dans le couloir près de chaque zone de couchage. Si votre maison a plusieurs zones de couchage, installez un appareil dans chacune. Si un couloir mesure plus de 40 pieds (12 mètres), installez un appareil à chaque extrémité.
- En haut de l'escalier du premier au deuxième étage, et en bas de l'escalier du sous-sol.
Les exigences spécifiques pour l'installation des avertisseurs de fumée varient d'un état à l'autre et d'une région à l'autre. Vérifiez auprès de votre service d'incendie local les exigences actuelles dans votre région. Il est recommandé d'interconnecter les appareils CA ou CA/CC pour une protection accrue.
À PILES ET SANS FIL

CÂBLÉ

LÉGENDE
AVERTISSEURS DE FUMÉE
AVERTISSEURS DE CO
AVERTISSEURS COMBINÉS FUMÉE/CO
AVERTISSEURS CÂBLÉS INTERCONNECTÉS CA OU CA/CC
INSTALLATION D'AVERTISSEURS DE FUMÉE DANS LES MAISONS MOBILES ET LES VR
Pour une sécurité minimale, installez un avertisseur de fumée aussi près que possible de chaque zone de couchage. Pour plus de sécurité, placez un appareil dans chaque pièce. De nombreuses maisons mobiles plus anciennes (surtout celles construites avant 1978) ont peu ou pas d'isolation. Si votre maison mobile n'est pas bien isolée, ou si vous n'êtes pas sûr de la quantité d'isolation, il est important d'installer des appareils uniquement sur les murs intérieurs. Les avertisseurs de fumée doivent être installés là où les températures restent normalement entre 4˚ C (40˚ F) et 38˚ C (100˚ F).
Testez les appareils utilisés dans les VR après que le véhicule a été stocké, avant chaque voyage et une fois par semaine pendant l'utilisation.
Le non-test des appareils utilisés dans les VR comme décrit peut annuler votre protection.
Cet équipement doit être installé conformément aux normes NFPA (National Fire Protection Association) 72 et 101. National Fire Protection Association, One Batterymarch Park, Quincy, MA 022699101 U.S.A. Des codes du bâtiment et réglementaires locaux supplémentaires peuvent s'appliquer dans votre région. Vérifiez toujours les exigences de conformité avant de commencer toute installation.
RECOMMANDATIONS DE PLACEMENT DES ORGANISMES
Cet avertisseur de fumée est conçu pour être utilisé dans une maison unifamiliale typique. Il ne répondra pas seul aux exigences pour les pensions, les immeubles d'appartements, les hôtels ou les motels. Les avertisseurs de fumée doivent être installés conformément au Code national du bâtiment du Canada (CNBC), au Code national de prévention des incendies du Canada, à la norme CAN/ULC S553 et aux exigences locales.
NFPA 72 (Code national de prévention des incendies)
Les avertisseurs de fumée doivent être installés dans chaque chambre séparée, à l'extérieur de chaque zone de couchage à proximité immédiate des chambres et à chaque étage supplémentaire de l'unité de vie familiale, y compris les sous-sols et à l'exclusion des vides sanitaires et des greniers non aménagés.
Dans les nouvelles constructions, les avertisseurs doivent être agencés de manière à ce que l'activation de l'un d'eux provoque l'activation de tous les avertisseurs de l'habitation.
Détection de fumée — Un plus grand nombre d'avertisseurs de fumée est-il souhaitable ? Le nombre requis d'avertisseurs de fumée pourrait ne pas fournir une protection fiable d'alerte précoce pour les zones séparées par une porte des zones protégées par les avertisseurs de fumée requis. Pour cette raison, il est recommandé au propriétaire d'envisager l'utilisation d'avertisseurs de fumée supplémentaires pour ces zones afin d'accroître la protection. Les zones supplémentaires comprennent le sous-sol, les chambres, la salle à manger, la chaufferie, la buanderie et les couloirs non protégés par les avertisseurs de fumée requis. L'installation d'avertisseurs de fumée dans les cuisines, les greniers (aménagés ou non) ou les garages n'est normalement pas recommandée, car ces emplacements connaissent occasionnellement des conditions pouvant entraîner un fonctionnement incorrect.
EMPLACEMENTS À ÉVITER POUR LES AVERTISSEURS DE FUMÉE
Pour une performance optimale, ÉVITEZ d'installer les avertisseurs de fumée dans ces zones :
- Là où des particules de combustion sont produites. Les particules de combustion se forment lorsque quelque chose brûle. Les zones à éviter comprennent les cuisines mal ventilées, les garages et les chaufferies. Gardez les appareils à au moins 20 pieds (6 mètres) des sources de particules de combustion (cuisinière, fournaise, chauffe-eau, chauffage d'appoint) si possible. Dans les zones où une distance de 20 pieds (6 mètres) n'est pas possible – dans les maisons modulaires, mobiles ou plus petites, par exemple – il est recommandé de placer l'avertisseur de fumée aussi loin que possible de ces sources de combustion. Les recommandations de placement visent à maintenir ces avertisseurs à une distance raisonnable d'une source de combustion, et ainsi à réduire les alarmes "indésirables". Des alarmes indésirables peuvent se produire si un avertisseur de fumée est placé directement à côté d'une source de combustion. Ventilez ces zones autant que possible.
- Dans les courants d'air près des cuisines. Les courants d'air peuvent aspirer la fumée de cuisson dans la chambre de détection d'un avertisseur de fumée près de la cuisine.
- Dans les zones très humides ou vaporeuses, ou directement près des salles de bain avec douches.
- Gardez les appareils à au moins 10 pieds (3 mètres) des douches, saunas, lave-vaisselle, etc.
- Où les températures sont régulièrement inférieures à 40˚ F (4,4˚ C) ou supérieures à 100˚ F (37,8˚ C), y compris les bâtiments non chauffés, les pièces extérieures, les porches ou les greniers ou sous-sols non aménagés.
- Dans les zones très poussiéreuses, sales ou grasses. N'installez pas un avertisseur de fumée directement au-dessus de la cuisinière ou de la plaque de cuisson. Nettoyez fréquemment un appareil de buanderie pour le garder exempt de poussière ou de peluches.
- Près des bouches d'aération, des ventilateurs de plafond ou dans des zones très exposées aux courants d'air. Les courants d'air peuvent éloigner la fumée de l'appareil, l'empêchant d'atteindre la chambre de détection.
- Dans les zones infestées d'insectes. Les insectes peuvent obstruer les ouvertures de la chambre de détection et provoquer des alarmes indésirables.
- À moins de 12 pouces (305 mm) des lumières fluorescentes. Le "bruit" électrique peut interférer avec le capteur.
- Dans les espaces d'"air mort". Les espaces d'"air mort" peuvent empêcher la fumée d'atteindre l'avertisseur de fumée.
ÉVITER LES ESPACES D'AIR MORT
Les espaces d'"air mort" peuvent empêcher la fumée d'atteindre l'avertisseur de fumée. Pour éviter les espaces d'air mort, suivez les recommandations d'installation ci-dessous.
Au plafond, installez les avertisseurs de fumée aussi près que possible du centre du plafond. Si cela n'est pas possible, installez l'avertisseur de fumée à au moins 4 pouces (102 mm) du mur ou du coin.
Pour un montage mural (si autorisé par les codes du bâtiment), le bord supérieur des avertisseurs de fumée doit être placé entre 4 pouces (102 mm) et 12 pouces (305 mm) de la ligne mur/plafond, en dessous des espaces d'"air mort" typiques.
Sur un plafond en pente, en pignon ou cathédrale, installez le premier avertisseur de fumée à moins de 3 pieds (0,9 mètre) du sommet du plafond, mesuré horizontalement. Des avertisseurs de fumée supplémentaires peuvent être nécessaires en fonction de la longueur, de l'angle, etc. de la pente du plafond. Référez-vous à la norme NFPA 72 pour plus de détails sur les exigences relatives aux plafonds en pente ou en pignon.
À PROPOS DES AVERTISSEURS DE FUMÉE
Avertisseurs de fumée alimentés par pile (CC) : Assurent une protection même en cas de panne de courant, à condition que les piles soient neuves et correctement installées. Les unités sont faciles à installer et ne nécessitent pas d'installation professionnelle. Cependant, elles n'offrent pas de fonctionnalité d'interconnexion.
Avertisseurs de fumée alimentés par CA : Peuvent être interconnectés de sorte que si une unité détecte de la fumée, toutes les unités se déclenchent. Ils ne fonctionnent pas en cas de panne de courant. CA avec pile de secours (CC) : fonctionneront en cas de panne de courant, à condition que les piles soient neuves et correctement installées. Les unités CA et CA/CC doivent être installées par un électricien qualifié.
Avertisseurs de fumée pour les utilisateurs d'énergie solaire ou éolienne et les systèmes d'alimentation de secours par batterie :
Les avertisseurs de fumée alimentés par CA ne doivent être utilisés qu'avec des onduleurs à onde sinusoïdale pure ou vraie. L'utilisation de cet avertisseur de fumée avec la plupart des produits UPS (alimentation sans interruption) alimentés par batterie ou des onduleurs à onde carrée ou "quasi sine wave" (onde quasi-sinusoïdale) endommagera l'avertisseur. Si vous n'êtes pas sûr du type de votre onduleur ou de votre UPS, veuillez consulter le fabricant pour vérification. Avertisseurs de fumée pour les personnes malentendantes : Des avertisseurs de fumée spéciaux doivent être installés pour les personnes malentendantes. Ils comprennent une alarme visuelle et une sirène d'alarme sonore, et répondent aux exigences de l'Americans With Disabilities Act. Ces unités peuvent être interconnectées de sorte que si une unité détecte de la fumée, toutes les unités se déclenchent.
Les avertisseurs de fumée ne doivent pas être utilisés avec des protections de détecteur, sauf si la combinaison a été évaluée et jugée appropriée à cette fin.
Tous ces avertisseurs de fumée sont conçus pour fournir une alerte précoce en cas d'incendie s'ils sont situés, installés et entretenus comme décrit dans le manuel de l'utilisateur, et si la fumée atteint l'avertisseur. Si vous n'êtes pas sûr du type d'unité à installer, reportez-vous à la norme NFPA (National Fire Protection Association) 72 (National Fire Alarm and Signaling Code) et NFPA 101 (Life Safety Code). National Fire Protection Association, One Batterymarch Park, Quincy, MA 02269-9101. Les codes du bâtiment locaux peuvent également exiger des unités spécifiques dans les nouvelles constructions ou dans différentes zones du logement.
CONSIDÉRATIONS SPÉCIALES RELATIVES À LA CONFORMITÉ
Cet avertisseur de fumée à lui seul ne remplace pas un système de détection d'incendie complet dans les lieux abritant de nombreuses personnes, comme les immeubles d'appartements, les condominiums, les hôtels, les motels, les dortoirs, les hôpitaux, les établissements de soins de longue durée, les maisons de retraite, les garderies ou les foyers de groupe de toute nature, même s'ils étaient autrefois des maisons unifamiliales. Il ne remplace pas non plus les systèmes de détection d'incendie complets dans les entrepôts, les installations industrielles, les bâtiments commerciaux et les bâtiments non résidentiels à usage spécial qui nécessitent des systèmes de détection et d'alarme incendie spéciaux. Selon les codes du bâtiment de votre région, cet avertisseur de fumée peut être utilisé pour fournir une protection supplémentaire dans ces installations.
Les informations suivantes s'appliquent aux quatre types de bâtiments ci-dessous :
Dans les nouvelles constructions, la plupart des codes du bâtiment exigent l'utilisation d'avertisseurs de fumée alimentés uniquement par CA ou CA/CC. Dans les constructions existantes, des avertisseurs de fumée alimentés par CA, CA/CC ou CC peuvent être utilisés comme spécifié par les codes du bâtiment locaux. Référez-vous à la norme NFPA 101 (Life Safety Code) ou NFPA 72 (National Fire Alarm Code), aux codes du bâtiment locaux, ou consultez votre service d'incendie pour connaître les exigences détaillées en matière de protection incendie dans les bâtiments non définis comme "households" (ménages).
- Résidence unifamiliale :
Maison unifamiliale, maison de ville. Il est recommandé d'installer des avertisseurs de fumée à chaque étage de la maison, dans chaque chambre et dans chaque couloir de chambre.
- Résidence multifamiliale ou à occupants multiples :
Immeuble d'appartements, condominium. Cet avertisseur de fumée convient à une utilisation dans des appartements ou des condominiums individuels, à condition qu'un système de détection d'incendie principal existe déjà pour répondre aux exigences de détection d'incendie dans les zones communes comme les halls, les couloirs ou les porches. L'utilisation de cet avertisseur de fumée dans les zones communes peut ne pas fournir un avertissement suffisant à tous les résidents ou ne pas respecter les ordonnances/réglementations locales en matière de protection incendie.
- Institutions :
Hôpitaux, garderies, établissements de soins de longue durée. Cet avertisseur de fumée convient à une utilisation dans les chambres individuelles de patients/résidents, à condition qu'un système de détection d'incendie principal existe déjà pour répondre aux exigences de détection d'incendie dans les zones communes comme les halls, les couloirs ou les porches. L'utilisation de cet avertisseur de fumée dans les zones communes peut ne pas fournir un avertissement suffisant à tous les résidents ou ne pas respecter les ordonnances/réglementations locales en matière de protection incendie.
- Hôtels et motels :
Également les pensions et les dortoirs. Cet avertisseur de fumée convient à une utilisation dans les chambres individuelles de couchage/résidents, à condition qu'un système de détection d'incendie principal existe déjà pour répondre aux exigences de détection d'incendie dans les zones communes comme les halls, les couloirs ou les porches. L'utilisation de cet avertisseur de fumée dans les zones communes peut ne pas fournir un avertissement suffisant à tous les résidents ou ne pas respecter les ordonnances/réglementations locales en matière de protection incendie.
LIMITATIONS DES AVERTISSEURS DE FUMÉE
Les avertisseurs de fumée ont joué un rôle clé dans la réduction des décès dus aux incendies domestiques dans le monde entier. Cependant, comme tout dispositif d'avertissement, les avertisseurs de fumée ne peuvent fonctionner que s'ils sont correctement situés, installés et entretenus, et si la fumée atteint les avertisseurs. Ils ne sont pas infaillibles.
Les avertisseurs de fumée peuvent ne pas réveiller toutes les personnes.
Entraînez-vous au plan d'évacuation au moins deux fois par an, en vous assurant que tout le monde y participe – des enfants aux grands-parents. Laissez les enfants maîtriser la planification et la pratique de l'évacuation en cas d'incendie avant de faire un exercice d'incendie la nuit pendant qu'ils dorment. Si les enfants ou d'autres personnes ne se réveillent pas facilement au son de l'avertisseur de fumée, ou s'il y a des nourrissons ou des membres de la famille ayant des limitations de mobilité, assurez-vous que quelqu'un est désigné pour les aider lors de l'exercice d'incendie et en cas d'urgence. Il est recommandé de faire un exercice d'incendie pendant que les membres de la famille dorment afin de déterminer leur réaction au son de l'avertisseur de fumée pendant leur sommeil et de déterminer s'ils pourraient avoir besoin d'aide en cas d'urgence.
Les avertisseurs de fumée ne peuvent pas fonctionner sans alimentation électrique.
Les unités alimentées par piles ne peuvent pas fonctionner si les piles sont manquantes, déconnectées ou mortes, si le mauvais type de piles est utilisé, ou si les piles ne sont pas installées correctement. Les unités CA ne peuvent pas fonctionner si l'alimentation CA est coupée pour une raison quelconque (fusible ou disjoncteur ouvert, panne le long d'une ligne électrique ou à une centrale électrique, incendie électrique qui brûle les fils électriques, etc.). Si vous êtes préoccupé par les limitations de l'alimentation par piles ou CA, installez les deux types d'unités.
Les avertisseurs de fumée ne peuvent pas détecter les incendies si la fumée n'atteint pas les avertisseurs.
La fumée provenant d'incendies dans les cheminées ou les murs, sur les toits, ou de l'autre côté de portes fermées peut ne pas atteindre la chambre de détection et déclencher l'alarme. C'est pourquoi une unité doit être installée à l'intérieur de chaque chambre ou zone de couchage – surtout si les portes des chambres ou des zones de couchage sont fermées la nuit – et dans le couloir entre elles.
Les avertisseurs de fumée peuvent ne pas détecter un incendie à un autre étage ou dans une autre zone du logement.
Par exemple, une unité autonome au deuxième étage peut ne pas détecter la fumée d'un incendie au sous-sol tant que le feu ne se propage pas. Cela peut ne pas vous laisser suffisamment de temps pour vous échapper en toute sécurité. C'est pourquoi la protection minimale recommandée est d'au moins une unité dans chaque zone de couchage et chaque chambre à chaque niveau de votre logement. Même avec une unité à chaque étage, les unités autonomes peuvent ne pas offrir autant de protection que les unités interconnectées, surtout si l'incendie se déclare dans une zone éloignée. Certains experts en sécurité recommandent d'installer des unités interconnectées alimentées par CA avec batterie de secours (voir "About Smoke Alarms" (À propos des avertisseurs de fumée)) ou des systèmes professionnels de détection d'incendie, de sorte que si une unité détecte de la fumée, toutes les unités se déclenchent. Les unités interconnectées peuvent fournir un avertissement plus précoce que les unités autonomes, car toutes les unités se déclenchent lorsqu'une seule détecte de la fumée.
Les avertisseurs de fumée peuvent ne pas être entendus.
Bien que la sirène d'alarme de cette unité respecte ou dépasse les normes actuelles, elle peut ne pas être entendue si :
- l'unité est située à l'extérieur d'une porte fermée ou partiellement fermée,
- les résidents ont récemment consommé de l'alcool ou des drogues,
- l'alarme est couverte par le bruit de la chaîne stéréo, de la télévision, de la circulation, du climatiseur ou d'autres appareils,
- les résidents sont malentendants ou dorment profondément. Des unités spéciales, comme celles avec alarmes visuelles et sonores, doivent être installées pour les résidents malentendants.
L'avertisseur peut ne pas avoir le temps de sonner avant que le feu lui-même ne cause des dommages, des blessures ou la mort, car la fumée de certains incendies peut ne pas atteindre l'unité immédiatement. Parmi les exemples, citons les personnes fumant au lit, les enfants jouant avec des allumettes, lorsqu'un vêtement prend feu pendant la cuisson, les incendies causés par des explosions violentes résultant d'une fuite de gaz, ou les incendies d'origine criminelle où le feu se propage si rapidement que l'évacuation d'un occupant est bloquée même avec des avertisseurs de fumée correctement situés.
Les avertisseurs de fumée ne sont pas infaillibles.
Comme tout appareil électronique, les avertisseurs de fumée sont fabriqués avec des composants qui peuvent s'user ou tomber en panne à tout moment. Vous devez tester l'unité chaque semaine pour assurer votre protection continue. Les avertisseurs de fumée ne peuvent pas prévenir ou éteindre les incendies. Ils ne remplacent pas une assurance habitation ou vie.
Les avertisseurs de fumée ont une durée de vie limitée.
L'unité doit être remplacée immédiatement si elle ne fonctionne pas correctement. Vous devez toujours remplacer un avertisseur de fumée après 10 ans à compter de la date d'achat. Écrivez la date d'achat sur l'espace prévu à l'arrière de l'unité.
GARANTIE LIMITÉE
BRK Brands, Inc. (« BRK »), le fabricant des produits de marque BRK® et First Alert®, garantit que, pendant une période de dix ans à compter de la date d'achat, ce produit sera exempt de défauts de matériaux et de fabrication. BRK, à sa discrétion, réparera ou remplacera ce produit ou tout composant du produit jugé défectueux pendant la période de garantie. Le remplacement sera effectué avec un produit ou un composant neuf ou remis à neuf. Si le produit n'est plus disponible, le remplacement pourra être effectué par un produit similaire de valeur égale ou supérieure. Cette garantie est votre seule garantie.
Cette garantie est valable pour l'acheteur au détail original à compter de la date d'achat au détail initial et n'est pas transférable. Conservez le reçu de vente original. Une preuve d'achat est requise pour obtenir la prestation de garantie. Les revendeurs BRK, les centres de service ou les magasins de détail vendant des produits BRK n'ont pas le droit de modifier, de changer ou d'altérer de quelque manière que ce soit les termes et conditions de cette garantie.
Comment obtenir le service de garantie
Service : Si un service est requis, ne retournez pas le produit à votre détaillant. Pour obtenir le service de garantie, contactez l'équipe du service clientèle au 1-800-323-9005. Pour nous aider à vous servir, veuillez avoir le numéro de modèle et la date d'achat à portée de main lorsque vous appelez.
Pour le service de garantie, retournez à : BRK Brands, Inc., 1301 Joe Battle, El Paso, TX 79936
Pile : BRK Brands, Inc. n'offre aucune garantie, expresse ou implicite, écrite ou orale, y compris celles de qualité marchande ou d'adéquation à un usage particulier, concernant la pile.

Références
Télécharger le manuel
Ici, vous pouvez télécharger la version PDF complète du manuel. Elle peut contenir des instructions de sécurité supplémentaires, des informations de garantie, des règles de la FCC, etc.
La technologie d'ionisation est généralement plus sensible que la technologie photoélectrique pour détecter les petites particules, qui ont tendance à être produites en plus grandes quantités par les feux à flammes nues, qui consument rapidement les matériaux combustibles et se propagent vite. Les sources de ces incendies peuvent inclure du papier brûlant dans une corbeille à papier ou un feu de graisse dans la cuisine.
La technologie photoélectrique est généralement plus sensible que la technologie d'ionisation pour détecter les grosses particules, qui ont tendance à être produites en plus grandes quantités par les feux couvants, qui peuvent couver pendant des heures avant de s'embraser. Les sources de ces incendies peuvent inclure des cigarettes brûlant dans des canapés ou de la literie.







