Manuel du Détecteur de monoxyde de carbone et de fumée FIRST ALERT SC9120B
- 1 INTRODUCTION
- 2 CONSEILS DE SÉCURITÉ INCENDIE
- 3 INFORMATIONS DE SÉCURITÉ DE BASE
- 4 INSTALLATION
- 5 UTILISATION DES FONCTIONNALITÉS DE VERROUILLAGE OPTIONNELLES
- 6 LE VERROU DU COMPARTIMENT DES PILES
- 7 LE VERROU DU SUPPORT DE MONTAGE
- 8 FONCTIONNEMENT DE VOTRE DÉTECTEUR DE FUMÉE/CO
- 9 TEST HEBDOMADAIRE
- 10 ENTRETIEN RÉGULIER
- 11 CE QUE VOUS DEVEZ SAVOIR SUR LE CO
-
12
INFORMATIONS RÉGLEMENTAIRES POUR LES DÉTECTEURS DE FUMÉE/CO
- 12.1 INFORMATIONS RÉGLEMENTAIRES POUR LES DÉTECTEURS DE CO
- 12.2 INFORMATIONS RÉGLEMENTAIRES POUR LES DÉTECTEURS DE FUMÉE
- 12.3 INSTALLATION DE DÉTECTEURS DE FUMÉE DANS LES MAISONS MOBILES ET LES VR
- 12.4 RECOMMANDATIONS DE PLACEMENT DES AGENCES
- 12.5 À PROPOS DES DÉTECTEURS DE FUMÉE
- 12.6 CONSIDÉRATIONS SPÉCIALES EN MATIÈRE DE CONFORMITÉ
- 13 LIMITATIONS GÉNÉRALES DES DÉTECTEURS DE FUMÉE/CO
- 14 GUIDE DE DÉPANNAGE
- 15 GARANTIE LIMITÉE
- 16 Télécharger le manuel
- 17 Dans d'autres langues

VEUILLEZ LIRE ATTENTIVEMENT ET CONSERVER
Ce manuel d'utilisation contient des informations importantes concernant le fonctionnement de votre alarme. Si vous installez l'alarme pour qu'elle soit utilisée par d'autres personnes, vous devez laisser ce manuel — ou une copie de celui-ci — à l'utilisateur final.
INTRODUCTION
Caractéristiques principales :
Détecteur combiné de fumée et de monoxyde de carbone. Une seule alarme protège contre deux menaces domestiques mortelles.
Technologie de détection intelligente conçue pour aider à réduire les alarmes indésirables ou intempestives.
Interconnexion intelligente peut être interconnectée aux avertisseurs de fumée BRK. Un seul fil d'interconnexion transmet les signaux d'alarme de fumée et de CO.
Test/Silence à bouton unique élimine la confusion. Selon le mode dans lequel se trouve l'alarme, l'appui sur le bouton offre différentes fonctions telles que le test de l'alarme, la mise en silence de l'alarme, le nouveau test de l'alarme lorsqu'elle est en mode silence et la suppression de la fonction de mémorisation d'alarme.
Indicateur d'alarme mémorisée identifie facilement l'alarme d'origine même après la cessation de la condition d'alarme.
Système de montage parfait comprend une base sans joint pour une installation facile et un nouveau support de montage qui maintient l'alarme en toute sécurité sur une large plage de rotation pour permettre un alignement parfait.
Cache-poussière est inclus pour maintenir l'alarme propre pendant la construction.
Installation/Maintenance facile comprend une grande ouverture dans le support de montage pour un accès facile au câblage. Une languette de traction de batterie qui maintient la batterie fraîche jusqu'à ce que la maison soit occupée. Un tiroir à batterie à chargement latéral permet un remplacement facile de la batterie sans retirer l'alarme du plafond ou du mur.
Résistance UV améliorée empêche l'alarme de se décolorer avec le temps.
Tous les détecteurs de fumée BRK® et First Alert® sont conformes aux exigences réglementaires, y compris UL217, et sont conçus pour détecter les particules de combustion. Des particules de fumée de nombre et de taille variables sont produites dans tous les incendies.

La technologie d'ionisation est généralement plus sensible que la technologie photoélectrique pour détecter les petites particules, qui ont tendance à être produites en plus grande quantité par les feux à flammes vives, qui consument rapidement les matériaux combustibles et se propagent rapidement. Les sources de ces incendies peuvent inclure le papier brûlant dans une poubelle ou un feu de graisse dans la cuisine.

La technologie photoélectrique est généralement plus sensible que la technologie d'ionisation pour détecter les grandes particules, qui ont tendance à être produites en plus grande quantité par les feux couvants, qui peuvent couver pendant des heures avant de s'embraser. Les sources de ces incendies peuvent inclure des cigarettes qui brûlent dans des canapés ou de la literie.
Pour une protection maximale, utilisez les deux types de détecteurs de fumée à chaque niveau et dans chaque chambre de votre maison.
CONSEILS DE SÉCURITÉ INCENDIE
Respectez les règles de sécurité et prévenez les situations dangereuses : 1) Utilisez correctement les matériaux à fumer. Ne fumez jamais au lit. 2) Gardez les allumettes ou les briquets hors de portée des enfants ; 3) Stockez les matériaux inflammables dans des récipients appropriés ; 4) Maintenez les appareils électriques en bon état et ne surchargez pas les circuits électriques ; 5) Maintenez les cuisinières, les barbecues, les cheminées et les conduits de cheminée exempts de graisse et de débris ; 6) Ne laissez jamais rien cuire sur la cuisinière sans surveillance ; 7) Gardez les chauffages portables et les flammes nues, comme les bougies, éloignés des matériaux inflammables ; 8) Ne laissez pas les ordures s'accumuler.
Gardez les alarmes propres et testez-les chaque semaine. Remplacez immédiatement les alarmes si elles ne fonctionnent pas correctement. Les détecteurs de fumée qui ne fonctionnent pas ne peuvent pas vous alerter en cas d'incendie. Gardez au moins un extincteur en état de marche à chaque étage, et un supplémentaire dans la cuisine. Disposez d'échelles de secours ou d'autres moyens fiables d'évacuation d'un étage supérieur en cas de blocage des escaliers.
INFORMATIONS DE SÉCURITÉ DE BASE
- Les Dangers, Avertissements et Mises en garde vous alertent sur des instructions d'utilisation importantes ou des situations potentiellement dangereuses. Portez une attention particulière à ces éléments.
- Ce détecteur de fumée/CO est approuvé pour une utilisation dans les résidences unifamiliales. Il N'EST PAS conçu pour une utilisation marine ou en VR.
Ce détecteur combiné de fumée/monoxyde de carbone possède deux alarmes distinctes. L'alarme de CO n'est pas conçue pour détecter un incendie ou tout autre gaz. Elle indiquera uniquement la présence de monoxyde de carbone au niveau du capteur. Du monoxyde de carbone peut être présent dans d'autres zones. L'alarme de fumée n'indiquera que la présence de fumée qui atteint le capteur. L'alarme de fumée n'est pas conçue pour détecter les gaz, la chaleur ou les flammes.
RISQUE DE CHOC ÉLECTRIQUE. Coupez l'alimentation de la zone où le détecteur de fumée/CO est installé avant de le retirer du support de montage. Le fait de ne pas couper l'alimentation au préalable peut entraîner un choc électrique grave, des blessures ou la mort.
Cette unité n'alertera pas les résidents malentendants. Il est recommandé d'installer des unités spéciales qui utilisent des dispositifs comme des lumières stroboscopiques clignotantes pour alerter les résidents malentendants.- L'installation de cette unité doit être conforme aux codes électriques de votre région ; aux articles 210, 760 de NFPA 70 (NEC), NFPA 72, NFPA 101 ; ICC ; SBC (SBCCI) ; UBC (ICBO) ; NBC (BOCA) ; OTFDC (CABO), et à tout autre code local ou de construction applicable. Le câblage et l'installation doivent être effectués par un électricien agréé. Le non-respect de ces directives peut entraîner des blessures ou des dommages matériels.
- Cette unité doit être alimentée par un circuit 120 V CA à onde sinusoïdale pure de 60 Hz, fonctionnant 24 heures sur 24. Assurez-vous que le circuit ne peut pas être coupé par un interrupteur, un gradateur ou un disjoncteur différentiel. Le fait de ne pas connecter cette unité à un circuit fonctionnant 24 heures sur 24 peut l'empêcher de fournir une protection constante. L'unité peut être connectée à un disjoncteur de défaut d'arc.
- Ce détecteur de fumée/CO doit être alimenté en courant alternatif ou par batterie pour fonctionner. Si l'alimentation CA tombe en panne et que la batterie est morte ou manquante, l'alarme ne peut pas fonctionner.
- Ne déconnectez jamais l'alimentation d'une unité alimentée en CA pour arrêter une alarme indésirable. Cela désactiverait l'unité et supprimerait votre protection. En cas de fausse alarme, utilisez la fonction Silence (si équipée), ouvrez une fenêtre ou aérez pour éloigner la fumée de l'unité. L'alarme se réinitialisera automatiquement lorsqu'elle retrouvera son fonctionnement normal. Ne retirez jamais les piles d'une unité alimentée par batterie pour arrêter une alarme indésirable (causée par la fumée de cuisson, etc.). Ouvrez plutôt une fenêtre ou aérez pour éloigner la fumée de l'unité. L'alarme se réinitialisera automatiquement.
- Connectez cette unité UNIQUEMENT à d'autres unités compatibles. Consultez « How To Install This Smoke/CO Alarm » (Comment installer ce détecteur de fumée/CO) pour plus de détails. Ne le connectez à aucun autre type d'alarme ou de dispositif auxiliaire. La connexion de tout autre élément à cette unité pourrait l'endommager ou l'empêcher de fonctionner correctement.
- Le compartiment à piles résiste à la fermeture si aucune pile n'est installée. Cela vous avertit que l'unité ne fonctionnera pas sur alimentation CC sans pile.
- Ne vous tenez pas trop près de l'unité lorsque l'alarme retentit. Elle est forte pour vous réveiller en cas d'urgence. L'exposition à la corne à courte portée peut nuire à votre audition.
- Ne peignez pas l'unité. La peinture peut obstruer les ouvertures des chambres de détection et empêcher l'unité de fonctionner correctement.
INSTALLATION
OÙ INSTALLER CETTE ALARME
Couverture minimale pour les détecteurs de fumée, telle que recommandée par la National Fire Protection Association (NFPA), est d'un détecteur de fumée à chaque étage, dans chaque zone de couchage et dans chaque chambre (Voir "Regulatory Information For Smoke Alarms" (Informations réglementaires pour les détecteurs de fumée) pour les détails sur les recommandations de la NFPA).
Pour les détecteurs de CO, la National Fire Protection Association (NFPA) recommande qu'un détecteur de CO soit situé de manière centrale à l'extérieur de chaque zone de couchage séparée, à proximité immédiate des chambres. Pour une protection accrue, installez des détecteurs de CO supplémentaires dans chaque chambre séparée et à chaque niveau de votre domicile.
En général, installez des détecteurs combinés de fumée et de monoxyde de carbone :
- À chaque niveau de votre domicile, y compris les combles aménagés et les sous-sols.
- À l'intérieur de chaque chambre, surtout si les gens dorment avec la porte partiellement ou complètement fermée.
- Dans le couloir près de chaque zone de couchage. Si votre domicile a plusieurs zones de couchage, installez une unité dans chacune. Si un couloir mesure plus de 40 pieds (12 mètres), installez une unité à chaque extrémité.
- En haut des escaliers du premier au deuxième étage.
- En bas des escaliers du sous-sol.
- Pour une couverture supplémentaire, installez des alarmes dans toutes les pièces, couloirs et zones de rangement, où les températures restent normalement entre 40˚ F et 100˚ F (4˚ C et 38˚ C).
Emplacement Recommandé
ZONES SUGGÉRÉES POUR L'INSTALLATION DE DÉTECTEURS DE FUMÉE, DE DÉTECTEURS DE CO ET D'UNITÉS COMBINÉES

LÉGENDE :
DÉTECTEURS DE FUMÉE
DÉTECTEUR DE FUMÉE AVEC FONCTION SILENCE
DÉTECTEURS DE CO
LES DEUX, OU DÉTECTEURS COMBINÉS FUMÉE/CO
Les emplacements suggérés sont basés sur les recommandations de la NFPA (NFPA 72 pour les détecteurs de fumée et NFPA 720 pour les détecteurs de monoxyde de carbone). Référez-vous toujours aux codes nationaux et locaux avant de commencer toute installation.
Dans les nouvelles constructions, les détecteurs de fumée CA et CA/CC DOIVENT être interconnectés pour répondre aux recommandations de la NFPA.
- Lors de l'installation murale, le bord supérieur des détecteurs de fumée doit être placé entre 4 pouces (102 mm) et 12 pouces (305 mm) de la ligne mur/plafond.
- Lors de l'installation au plafond, placez l'alarme aussi près que possible du centre.
- Dans les deux cas, installez à au moins 4 pouces (102 mm) de l'intersection du mur et du plafond. Voir "Avoiding Dead Air Spaces" (Éviter les zones d'air stagnant) pour plus d'informations.
REMARQUE : Pour tout emplacement, assurez-vous qu'aucune porte ou autre obstruction ne puisse empêcher le monoxyde de carbone ou la fumée d'atteindre le détecteur.
Installation des détecteurs de fumée/CO dans les maisons mobiles
Pour une sécurité minimale, installez un détecteur de fumée/CO aussi près que possible de chaque zone de couchage. Pour une sécurité accrue, placez une unité dans chaque pièce. De nombreuses maisons mobiles plus anciennes (surtout celles construites avant 1978) ont peu ou pas d'isolation. Si votre maison mobile n'est pas bien isolée, ou si vous n'êtes pas sûr de la quantité d'isolation, il est important d'installer les unités uniquement sur les murs intérieurs.
OÙ CETTE ALARME NE DOIT PAS ÊTRE INSTALLÉE
NE PAS installer ce détecteur de fumée/CO :
- Dans les garages, les cuisines, les chaufferies, les vides sanitaires et les combles non aménagés. Évitez les zones extrêmement poussiéreuses, sales ou grasses.
- Là où des particules de combustion sont produites. Les particules de combustion se forment lorsque quelque chose brûle. Les zones à éviter incluent les cuisines mal ventilées, les garages et les chaufferies. Gardez les unités à au moins 20 pieds (6 mètres) des sources de particules de combustion (cuisinière, fournaise, chauffe-eau, chauffage d'appoint) si possible. Dans les zones où une distance de 20 pieds (6 mètres) n'est pas possible – dans les maisons modulaires, mobiles ou plus petites, par exemple – il est recommandé de placer le détecteur de fumée/CO aussi loin que possible de ces sources de combustion. Les recommandations d'emplacement visent à maintenir ces détecteurs à une distance raisonnable d'une source de combustion, et ainsi à réduire les alarmes "unwanted" (indésirables). Des alarmes indésirables peuvent se produire si un détecteur de fumée/CO est placé directement à côté d'une source de combustion. Ventilez ces zones autant que possible.
- À moins de 5 pieds (1,5 mètre) de tout appareil de cuisson. Dans les courants d'air près des cuisines. Les courants d'air peuvent aspirer la fumée de cuisson dans le capteur de fumée et provoquer des alarmes indésirables.
- Dans des zones extrêmement humides. Ce détecteur doit être à au moins 10 pieds (3 mètres) d'une douche, d'un sauna, d'un humidificateur, d'un vaporisateur, d'un lave-vaisselle, d'une buanderie, d'une arrière-cuisine ou de toute autre source d'humidité élevée.
- En plein soleil.
- Dans un air turbulent, comme près des ventilateurs de plafond ou des fenêtres ouvertes. L'air soufflant peut empêcher le CO ou la fumée d'atteindre les capteurs.
- Dans les zones où la température est inférieure à 40˚ F (4˚ C) ou supérieure à 100˚ F (38˚C). Ces zones incluent les vides sanitaires non climatisés, les combles non aménagés, les plafonds non isolés ou mal isolés, les porches et les garages.
- Dans les zones infestées d'insectes. Les insectes peuvent obstruer les ouvertures de la chambre de détection.
- À moins de 12 pouces (305 mm) des lumières fluorescentes. Le "noise" (parasitage) électrique peut interférer avec le capteur.
- Dans les zones "dead air" (d'air stagnant). Voir "Avoiding Dead Air Spaces" (Éviter les zones d'air stagnant).
ÉVITER LES ZONES D'AIR STAGNANT
"Dead air" (Zones d'air stagnant) peuvent empêcher la fumée d'atteindre le détecteur de fumée/CO. Pour éviter les zones d'air stagnant, suivez les recommandations d'installation ci-dessous.
Aux plafonds, installez les détecteurs de fumée/CO aussi près que possible du centre du plafond. Si cela n'est pas possible, installez le détecteur de fumée/CO à au moins 4 pouces (102 mm) du mur ou du coin.
Pour un montage mural (si autorisé par les codes du bâtiment), le bord supérieur des détecteurs de fumée/CO doit être placé entre 4 pouces (102 mm) et 12 pouces (305 mm) de la ligne mur/plafond.
Sur un plafond en pente, à pignon ou cathédrale, installez le premier détecteur de fumée/CO à moins de 3 pieds (0,9 mètre) du sommet du plafond, mesuré horizontalement. Des détecteurs de fumée/CO supplémentaires peuvent être nécessaires en fonction de la longueur, de l'angle, etc. de la pente du plafond. Référez-vous à la NFPA 72 pour les détails sur les exigences pour les plafonds inclinés ou en pente.
AVANT DE COMMENCER L'INSTALLATION
Cette unité est conçue pour être montée sur n'importe quelle boîte de jonction de câblage standard jusqu'à une taille de 4 pouces (10 cm), soit au plafond, soit au mur. Lisez "Where to Install This Alarm" (Où installer cette alarme) et "Where This Alarm Should Not Be Installed" (Où cette alarme ne doit pas être installée) avant de commencer l'installation. Si une boîte de jonction n'est pas déjà en place, installez-en une en utilisant un fil de cuivre standard de calibre #12 ou #14.
- Assurez-vous que l'alarme ne reçoit pas une alimentation excessivement bruyante. Des exemples d'alimentation bruyante pourraient être des appareils majeurs sur le même circuit, l'alimentation provenant d'un générateur ou de l'énergie solaire, un variateur de lumière sur le même circuit ou monté près d'un éclairage fluorescent. Une alimentation excessivement bruyante peut endommager votre alarme.
Trouvez la paire d'étiquettes autocollantes incluses avec ce détecteur de fumée/CO.
- Sur chaque étiquette, inscrivez le numéro de téléphone de votre service d'urgence (comme le 911) et d'un technicien qualifié en appareils.
- Placez une étiquette près du détecteur de fumée/CO, et l'autre étiquette à l'emplacement "fresh air" (air pur) où vous prévoyez de vous rendre si l'alarme retentit.
REMARQUE : Un technicien qualifié en appareils est défini comme "une personne, une entreprise, une société ou une compagnie qui, en personne ou par l'intermédiaire d'un représentant, s'occupe de et est responsable de l'installation, des essais, de l'entretien ou du remplacement d'équipements de chauffage, ventilation, climatisation (CVC), d'appareils et équipements de combustion, et/ou de cheminées à gaz ou d'autres équipements décoratifs de combustion."

PIÈCES DE CE DÉTECTEUR DE FUMÉE/CO
- Support de montage
- Fente de montage et vis*
- Goupilles de verrouillage (à détacher du support)
- Fil CA sous tension (Noir)
- Fil CA neutre (Blanc)
- Fil d'interconnexion (Orange)
- Levier pour ouvrir le compartiment à piles
- Compartiment à piles pivotant
- Alimentation à connexion rapide
*Non inclus
COMMENT INSTALLER CE DÉTECTEUR DE FUMÉE/CO
Outils nécessaires : Tournevis plat standard, pinces à dénuder.
RISQUE DE CHOC ÉLECTRIQUE. Coupez l'alimentation de la zone où vous installerez cette unité au disjoncteur ou au boîtier de fusibles avant de commencer l'installation. Le non-respect de cette consigne avant l'installation peut entraîner un choc électrique grave, des blessures ou la mort.
Pour installer cette unité :
- Retirez le support de montage de la base. Positionnez les fentes de vis du support de montage sur les vis de la boîte de jonction. Serrez les vis.
Un câblage incorrect du connecteur d'alimentation ou du câblage menant au connecteur d'alimentation endommagera le détecteur et pourrait le rendre inopérant. - À l'aide de capuchons de connexion, connectez le connecteur d'alimentation à l'alimentation CA.
POUR DÉTECTEUR AUTONOME SEULEMENT :- Connectez le fil blanc du connecteur d'alimentation au fil neutre de la boîte de jonction.
- Connectez le fil noir du connecteur d'alimentation au fil sous tension de la boîte de jonction.
- Rentrez le fil orange à l'intérieur de la boîte de jonction. Il est utilisé uniquement pour l'interconnexion.
POUR DÉTECTEURS INTERCONNECTÉS SEULEMENT :
Dénudez environ 1/2 pouce du revêtement plastique du fil d'interconnexion orange sur le connecteur d'alimentation. - Connectez le fil blanc du connecteur d'alimentation au fil neutre (généralement blanc) de la boîte de jonction.
- Connectez le fil noir du connecteur d'alimentation au fil sous tension (généralement noir) de la boîte de jonction.
- Connectez le fil orange du connecteur d'alimentation au fil d'interconnexion de la boîte de jonction. Répétez l'opération pour chaque unité que vous interconnexez. Ne connectez jamais les fils sous tension ou neutres de la boîte de jonction au fil d'interconnexion orange. Ne croisez jamais les fils sous tension et neutres entre les détecteurs interconnectés.
- Branchez le connecteur d'alimentation à l'arrière du détecteur de fumée/CO.
- Positionnez la base du détecteur de fumée/CO sur le support de montage et tournez. Le détecteur restera sécurisé sur une large plage de rotation pour permettre un alignement parfait. Lors du montage mural, cela permettra un ajustement précis du positionnement pour compenser les montants muraux mal alignés et pour maintenir le texte à niveau. Le détecteur peut être positionné sur le support tous les 120°. Faites pivoter le détecteur jusqu'à ce qu'il soit correctement aligné.
- Vérifiez toutes les connexions.
POUR DÉTECTEUR AUTONOME SEULEMENT:
- Si vous n'installez qu'une seule unité, rétablissez l'alimentation de la boîte de jonction.
POUR DÉTECTEURS INTERCONNECTÉS SEULEMENT : - Si vous interconnexez plusieurs détecteurs de fumée/CO, répétez les étapes 1 à 5 pour chaque détecteur de fumée/CO de la série. Lorsque vous avez terminé, rétablissez l'alimentation de la boîte de jonction.
RISQUE DE CHOC ÉLECTRIQUE. Ne rétablissez pas l'alimentation tant que tous les détecteurs ne sont pas complètement installés. Le rétablissement de l'alimentation avant la fin de l'installation peut entraîner un choc électrique grave, des blessures ou la mort.
- Assurez-vous que le détecteur de fumée/CO reçoit l'alimentation CA. En fonctionnement normal, le voyant vert s'allumera en continu. Si le voyant d'alimentation vert ne s'allume pas, COUPEZ L'ALIMENTATION DE LA BOÎTE DE JONCTION et vérifiez toutes les connexions. Si toutes les connexions sont correctes et que le voyant d'alimentation vert ne s'allume toujours pas lorsque vous rétablissez l'alimentation, l'unité doit être remplacée immédiatement.
- ACTIVATION DE LA SAUVEGARDE PAR PILES
Activez la sauvegarde par piles en retirant la languette "Pull to Activate Battery Back-Up" (Tirer pour activer la sauvegarde par piles). Il n'est pas nécessaire d'ouvrir le compartiment à piles et de repositionner la pile pendant l'installation. NE retirez PAS la languette d'activation de la pile tant que l'alimentation CA n'est pas activée pour économiser l'énergie de la pile.
- Détecteurs à station unique : Testez chaque détecteur. Appuyez et maintenez le bouton Test/Silence (Test/Silence) jusqu'à ce que vous entendiez le "chirp" (bip) de confirmation ou que l'unité retentisse.
Détecteurs interconnectés : Appuyez et maintenez le bouton Test/Silence (Test/Silence) jusqu'à ce que l'unité retentisse. Tous les détecteurs interconnectés devraient sonner. Le déclenchement des autres détecteurs teste uniquement le signal d'interconnexion entre les détecteurs. Il ne teste pas le fonctionnement de chaque détecteur. Vous devez tester chaque détecteur individuellement pour vérifier s'il fonctionne correctement.
Si une unité de la série ne sonne pas pendant le test, COUPEZ L'ALIMENTATION, RETIREZ LES PILES et vérifiez les connexions. Si elle ne sonne pas lorsque vous rétablissez l'alimentation, remplacez-la immédiatement.
EXIGENCES SPÉCIALES POUR LES DÉTECTEURS INTERCONNECTÉS
- Le non-respect de l'une des exigences ci-dessus pourrait endommager les unités et les faire mal fonctionner, annulant ainsi votre protection.
- Les détecteurs de fumée/CO CA et CA/CC peuvent être interconnectés. Sous alimentation CA, toutes les unités sonneront lorsqu'une détecte de la fumée ou du CO. En cas de coupure de courant, seules les unités CA/CC de la série continueront à envoyer et recevoir des signaux. Les détecteurs de fumée/CO alimentés en CA ne fonctionneront pas. Voir "Smart Interconnect" (Interconnexion intelligente).
Les unités interconnectées peuvent fournir un avertissement plus précoce d'un problème de fumée/CO que les unités autonomes, surtout si le problème commence dans une zone éloignée du logement. Si une unité de la série détecte de la fumée/CO, toutes les unités sonneront. Pour déterminer quel détecteur de fumée/CO a déclenché une alarme, consultez le tableau.
Pendant une alarme :
Sur le(s) détecteur(s) initiateur(s) – Le(s) LED rouge(s) clignote(nt) rapidement
Sur tous les autres détecteurs – Le LED rouge est éteint
Après une alarme (Mémorisation) :
Sur le(s) détecteur(s) initiateur(s) – Le(s) LED vert(s) est/sont allumé(s), le(s) LED rouge(s) clignote(nt) une fois toutes les 5 secondes
Sur tous les autres détecteurs – Le(s) LED vert(s) est/sont allumé(s), le(s) LED rouge(s) est/sont éteint(s)
Unités interconnectées compatibles
N'interconnectez les unités qu'au sein d'une seule résidence unifamiliale. Sinon, tous les ménages déclencheront des alarmes indésirables lorsque vous testerez une unité de la série. Les unités interconnectées ne fonctionneront que si elles sont câblées à des unités compatibles et si toutes les exigences sont respectées. Cette unité est conçue pour être compatible avec : les modèles de détecteurs de fumée BRK Electronics® 9120, 9120B, 7010, 7010B, 7020B, 4120, 4120B, 4120SB, 4919, 2002RAC, 100S, 5919, 5919TH ; les modèles de détecteurs de chaleur BRK Electronics® HD6135F, HD6135FB ; les modèles de détecteurs de CO BRK Electronics® CO5120BN, CO5120PDBN ; les modèles de détecteurs de fumée/CO SC6120B, SC9120B ; et les modèles de détecteurs de fumée First Alert® SA4120, SA4120B, SA4121B, SA4919B, SA100B, SC7010B, SC7010BV ; les dispositifs accessoires modèles RM3, RM4, SL177.
Les unités interconnectées doivent satisfaire À TOUTES les exigences suivantes :
- Un maximum de 18 détecteurs de fumée, de chaleur ou de CO BRK Electronics® compatibles peuvent être interconnectés. Pas plus de 12 des 18 ne peuvent être des détecteurs de fumée selon la NFPA 72.
- Le même fusible ou disjoncteur doit alimenter toutes les unités interconnectées.
- La longueur totale du fil interconnectant les unités ne doit pas dépasser 1000 pieds (300 mètres). Ce type de fil est couramment disponible dans les quincailleries et les magasins de fournitures électriques.
- Tout le câblage doit être conforme à tous les codes électriques locaux et à la NFPA 70 du National Electrical Code. Référez-vous à la NFPA 72, à la NFPA 101, et/ou à votre code du bâtiment local pour des exigences de connexion supplémentaires.

- Source non commutée 120 VCA 60 Hz
- Vers des détecteurs supplémentaires, Maximum = 18 détecteurs
- Détecteur de fumée/CO
- Plafond ou Mur
- Connecteur d'alimentation
- Capuchon de connexion
- Boîte de jonction
- Fil neutre (Blanc)
- Fil d'interconnexion (Orange)
- Fil sous tension (Noir)
UTILISATION DES FONCTIONNALITÉS DE VERROUILLAGE OPTIONNELLES
Les fonctionnalités de verrouillage optionnelles sont conçues pour décourager le retrait non autorisé de la pile ou de l'alarme. Il n'est pas nécessaire d'activer les verrous dans les foyers unifamiliaux où le retrait non autorisé de la pile ou de l'alarme n'est pas une préoccupation.
Ces avertisseurs de fumée/CO ont deux fonctionnalités de verrouillage distinctes : l'une verrouille le compartiment des piles, et l'autre verrouille l'avertisseur de fumée/CO au support de montage. Vous pouvez choisir d'utiliser l'une ou l'autre fonctionnalité indépendamment, ou les deux.
Outils nécessaires :
- Pince à bec effilé ou couteau utilitaire
- Tournevis standard/plat.
Les deux fonctionnalités de verrouillage utilisent des goupilles de verrouillage, moulées dans le support de montage. À l'aide d'une pince à bec effilé ou d'un couteau utilitaire, retirez une ou les deux goupilles, selon les fonctionnalités de verrouillage que vous utilisez.


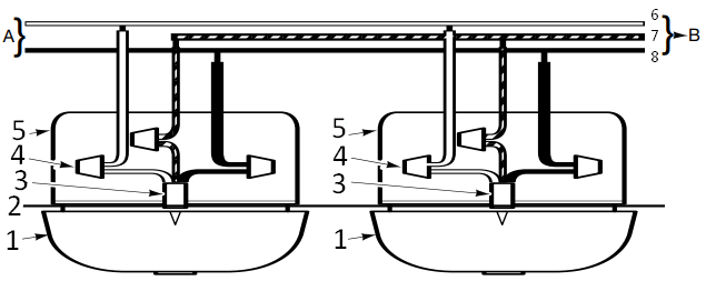
LE VERROU DU COMPARTIMENT DES PILES
POUR VERROUILLER LE COMPARTIMENT DES PILES :
Ne verrouillez pas le compartiment des piles tant que vous n'avez pas activé la pile et testé la batterie de secours.
- Activez la batterie de secours en retirant la languette "Pull to Activate Battery Back-Up" (Tirer pour activer la batterie de secours). Maintenez le bouton de test du couvercle de l'avertisseur de fumée/CO enfoncé jusqu'à ce que l'alarme retentisse : 4 bips, pause, 4 bips, pause, 3 bips, pause, 3 bips, pause.
Si l'appareil ne déclenche pas d'alarme pendant le test, NE VERROUILLEZ PAS le compartiment des piles ! Installez une nouvelle pile et testez à nouveau. Si l'alarme ne se déclenche toujours pas, remplacez immédiatement l'avertisseur de fumée/CO.
![First Alert - SC9120B - POUR VERROUILLER LE COMPARTIMENT DES PILES Étape 1 POUR VERROUILLER LE COMPARTIMENT DES PILES Étape 1]()
- À l'aide d'une pince à bec effilé ou d'un couteau utilitaire, détachez une goupille de verrouillage du support de montage.
![First Alert - SC9120B - POUR VERROUILLER LE COMPARTIMENT DES PILES Étape 2 POUR VERROUILLER LE COMPARTIMENT DES PILES Étape 2]()
- Enfoncez la goupille de verrouillage à travers le point noir sur l'étiquette au dos de l'avertisseur de fumée/CO.
![First Alert - SC9120B - POUR VERROUILLER LE COMPARTIMENT DES PILES Étape 3 POUR VERROUILLER LE COMPARTIMENT DES PILES Étape 3]()
POUR DÉVERROUILLER LE COMPARTIMENT DES PILES :
Une fois l'avertisseur de fumée/CO installé, vous devez le déconnecter de l'alimentation CA avant de déverrouiller le compartiment des piles.
RISQUE DE CHOC ÉLECTRIQUE. Coupez l'alimentation de la zone où l'avertisseur de fumée/CO est installé avant de le retirer du support de montage. Le fait de ne pas couper l'alimentation au préalable peut entraîner un choc électrique grave, des blessures ou la mort.
- Retirez l'avertisseur de fumée/CO du support de montage. Si l'appareil est verrouillé au support, consultez la section "To Deactivate the Locking Feature" (Pour désactiver la fonctionnalité de verrouillage).
- Débranchez le connecteur d'alimentation en le décollant délicatement de l'arrière de l'avertisseur de fumée/CO.
- Insérez un tournevis plat sous la tête de la goupille de verrouillage et retirez-la délicatement du verrou du compartiment des piles. (Si vous prévoyez de reverrouiller le compartiment des piles, conservez la goupille de verrouillage.)
- Pour reverrouiller le compartiment des piles, fermez le couvercle des piles et réinsérez la goupille de verrouillage dans le verrou.
- Reconnectez le connecteur d'alimentation à l'arrière de l'avertisseur de fumée/CO, refixez l'avertisseur de fumée/CO au support de montage et rétablissez l'alimentation.

Lors du remplacement de la pile, testez toujours l'avertisseur de fumée/CO avant de reverrouiller le compartiment des piles.
LE VERROU DU SUPPORT DE MONTAGE
POUR ACTIVER LE VERROU DU SUPPORT :
- À l'aide d'une pince à bec effilé, détachez une goupille de verrouillage du support de montage.
- Insérez la goupille de verrouillage dans le verrou situé sur la base comme indiqué dans le diagramme.
- Lorsque vous fixez l'avertisseur de fumée/CO au support de montage, la tête de la goupille de verrouillage s'insérera dans une encoche du support.


POUR DÉSACTIVER LE VERROU DU SUPPORT :
RISQUE DE CHOC ÉLECTRIQUE. Coupez l'alimentation de la zone où l'avertisseur de fumée/CO est installé avant de le retirer du support de montage. Le fait de ne pas couper l'alimentation au préalable peut entraîner un choc électrique grave, des blessures ou la mort.
Déchargez toujours le circuit de dérivation avant d'entretenir un avertisseur de fumée/CO CA ou CA/CC. Tout d'abord, coupez l'alimentation CA au disjoncteur ou au tableau de fusibles. Ensuite, retirez la pile des avertisseurs de fumée/CO avec batterie de secours. Enfin, appuyez et maintenez le bouton de test.
- Insérez un tournevis plat entre la goupille du support de montage et le support de montage.
- Éloignez l'avertisseur de fumée/CO du support en tournant simultanément le tournevis et l'avertisseur de fumée/CO dans le sens inverse des aiguilles d'une montre (à gauche).


POUR RETIRER DÉFINITIVEMENT LE VERROU DU SUPPORT :
Insérez le tournevis plat entre la goupille de verrouillage et le verrou, et retirez la goupille du verrou.

FONCTIONNEMENT DE VOTRE DÉTECTEUR DE FUMÉE/CO
LE COUVERCLE DE VOTRE DÉTECTEUR DE FUMÉE/CO

- Bouton Test/Silence (Test/Silencieux) : Appuyez et maintenez enfoncé pour activer le test, ou pour faire taire l'alarme.
- Voyant D'ALIMENTATION (VERT) / Voyant D'ALARME FUMÉE (ROUGE)
- Voyant D'ALARME CO (ROUGE)
- Tiroir à piles
- (Derrière le couvercle) Sirène d'alarme : alarme sonore de 85 dB pour le test, l'alarme et l'avertissement de dysfonctionnement de l'unité.
COMPRENDRE LES MOTIFS LUMINEUX ET SONORES
| Condition | DEL (Voyants Rouges ou Verts) | Sirène |
| MISE SOUS TENSION | La DEL verte clignote une fois, puis reste allumée en continu![]() |
La sirène reste silencieuse![]() |
| PENDANT LE TEST | Les DEL rouges Fumée et CO clignotent une fois par seconde pendant leurs motifs sonores répétitifs respectifs![]() |
Motif sonore : (Fumée) 3 bips, pause, 3 bips, pause ; (CO) 4 bips, pause, 4 bips, pause![]() |
| PILE FAIBLE OU MANQUANTE | La DEL verte clignote (avec la sirène)![]() |
La sirène émet des "gazouillis" environ une fois par minute![]() |
| CONDITION D'ALARME Série interconnectée de détecteurs de fumée/CO | La DEL rouge Fumée ou CO clignote rapidement sur l'unité qui a déclenché l'alarme.![]() Les DEL des autres alarmes d'une série interconnectée ne clignoteront pas. ![]() |
Motif sonore : (CO) 4 bips, pause, 4 bips, pause répétés sur tous les détecteurs de CO et les détecteurs "Smart Interconnect" ; (Fumée) 3 bips, pause, 3 bips, pause répétés sur tous les détecteurs de fumée, de chaleur et les détecteurs "Smart Interconnect"![]() |
| EN MODE SILENCE D'ALARME | La DEL rouge Fumée ou CO clignote une fois par seconde sur l'unité initiatrice![]() |
La sirène reste silencieuse : CO pendant 4 minutes ; Fumée pendant jusqu'à 15 minutes. La sirène retentira si les niveaux de fumée ou de CO augmentent.![]() |
| INDICATEUR D'ALARME "VERROUILLÉ" | La DEL rouge Fumée et/ou CO clignote une fois toutes les 5 secondes![]() |
La sirène reste silencieuse![]() |
| DYSFONCTIONNEMENT | La DEL verte clignote 3 fois synchronisée avec 3 gazouillis rapides![]() |
La sirène émet 3 gazouillis rapides consécutifs toutes les minutes![]() |
SI VOTRE DÉTECTEUR DE FUMÉE/CO SE DÉCLENCHE
QUE FAIRE EN PREMIER – IDENTIFIER LE TYPE D'ALARME
| Type d'alarme | Ce que vous voyez et entendez |
| Monoxyde de carbone (CO) | Voyant CO : ROUGE clignotant Sirène : 4 bips, pause, 4 bips, pause![]() |
| Fumée | Voyant Fumée : ROUGE clignotant Sirène : 3 bips, pause, 3 bips, pause![]() |
QUE FAIRE EN CAS DE DÉTECTION DE MONOXYDE DE CARBONE

"ALARM-MOVE TO FRESH AIR" (ALARME - ALLEZ À L'AIR FRAIS)
Si vous entendez la sirène d'alarme retentir 4 bips, pause, 4 bips, pause, et que le voyant CO ROUGE clignote, déplacez tout le monde vers une source d'air frais.
Le déclenchement de votre détecteur de CO indique la présence de monoxyde de carbone (CO) qui peut vous tuer. En d'autres termes, lorsque votre détecteur de CO sonne, vous ne devez pas l'ignorer !
SI LE DÉTECTEUR DE CO SONNE :
- Actionnez le bouton Test/Silence (Test/Silencieux).
- Appelez les services d'urgence, les pompiers ou le 911. Notez le numéro de votre service d'urgence local ici :
_____________________________________________________________ - Rendez-vous immédiatement à l'air frais — à l'extérieur ou près d'une porte ou fenêtre ouverte. Effectuez un décompte pour vous assurer que toutes les personnes sont présentes. Ne réintégrez pas les lieux, ni ne vous éloignez de la porte ou fenêtre ouverte tant que le personnel des services d'urgence n'est pas arrivé, que les lieux n'ont pas été aérés et que votre détecteur de fumée/CO n'est pas revenu à son état normal.
- Après avoir suivi les étapes 1 à 3, si votre détecteur de fumée/CO se réactive dans les 24 heures, répétez les étapes 1 à 3 et appelez un technicien qualifié en appareils pour rechercher les sources de CO provenant d'équipements et d'appareils à combustion, et vérifier le bon fonctionnement de cet équipement. Si des problèmes sont identifiés lors de cette inspection, faites réparer l'équipement immédiatement. Notez tout équipement de combustion non inspecté par le technicien et consultez les instructions du fabricant, ou contactez directement les fabricants, pour plus d'informations sur la sécurité du CO et cet équipement. Assurez-vous que les véhicules à moteur ne sont pas, et n'ont pas été, en marche dans un garage attenant ou adjacent à la résidence. Notez le numéro d'un technicien qualifié en appareils ici :
_____________________________________________________________
QUE FAIRE EN CAS DE DÉTECTION DE FUMÉE

Si vous entendez la sirène d'alarme retentir 3 bips, pause, 3 bips, pause et que le voyant FUMÉE ROUGE clignote, de la fumée a été détectée. Évacuez tout le monde du bâtiment.
- Si l'unité déclenche l'alarme et que vous n'êtes pas en train de la tester, elle vous avertit d'une situation potentiellement dangereuse qui nécessite votre attention immédiate. N'IGNOREZ JAMAIS une alarme. Ignorer l'alarme peut entraîner des blessures graves ou la mort.
- Ne débranchez jamais l'alimentation CA pour faire taire une alarme indésirable. Débrancher l'alimentation désactive l'alarme de sorte qu'elle ne peut pas détecter la fumée. Cela supprimera votre protection. Au lieu de cela, ouvrez une fenêtre ou évacuez la fumée de l'unité. L'alarme se réinitialisera automatiquement.
- Si l'unité déclenche l'alarme, faites sortir tout le monde de la maison immédiatement.
- RISQUE DE CHOC ÉLECTRIQUE : Tenter de débrancher le connecteur d'alimentation de l'unité lorsque l'alimentation est activée peut entraîner un choc électrique, des blessures graves ou la mort.
Lorsqu'un système interconnecté d'unités alimentées en CA est en alarme, le voyant indicateur d'alarme sur la ou les unités qui ont déclenché l'alarme clignotera rapidement. Il restera ÉTEINT sur toutes les autres unités.
Si l'unité déclenche l'alarme, faites sortir tout le monde de l'habitation immédiatement.
Si l'unité déclenche l'alarme et que vous êtes certain que la source de fumée n'est pas un incendie — fumée de cuisson ou une fournaise extrêmement poussiéreuse, par exemple — ouvrez une fenêtre ou une porte à proximité et dissipez la fumée de l'unité. Utilisez la fonction Silence (Silencieux) pour faire taire l'alarme. Cela mettra l'alarme en veille, et une fois la fumée dissipée, l'unité se réinitialisera automatiquement.
QUE FAIRE EN CAS D'INCENDIE
- Ne paniquez pas ; restez calme. Suivez votre plan d'évacuation familial.
- Sortez de la maison le plus rapidement possible. Ne vous arrêtez pas pour vous habiller ou récupérer quoi que ce soit.
- Touchez les portes avec le dos de votre main avant de les ouvrir. Si une porte est froide, ouvrez-la lentement. N'ouvrez pas une porte chaude. Gardez les portes et fenêtres fermées, à moins que vous ne deviez vous échapper par celles-ci.
- Couvrez votre nez et votre bouche avec un tissu (de préférence humide). Prenez des respirations courtes et peu profondes.
- Rassemblez-vous à votre point de rencontre prévu à l'extérieur de votre maison, et faites un décompte pour vous assurer que tout le monde est sorti en toute sécurité.
- Appelez les pompiers dès que possible depuis l'extérieur. Donnez votre adresse, puis votre nom.
- Ne retournez jamais à l'intérieur d'un bâtiment en feu pour quelque raison que ce soit.
- Contactez votre service d'incendie pour des idées sur la façon de rendre votre maison plus sûre.
Les alarmes ont diverses limitations. Voir "Limitations générales des détecteurs de fumée/CO" pour plus de détails.
FONCTIONNALITÉ "SMART INTERCONNECT"
Cette alarme inclut la fonctionnalité "Smart Interconnect" qui permet à l'alarme d'être interconnectée avec d'autres détecteurs de fumée, de chaleur et de CO "Smart Interconnect" de BRK. Lorsque de la fumée est détectée, toutes les alarmes émettront le motif sonore de fumée. Lorsque du CO est détecté, les alarmes "Smart Interconnect" émettront le motif sonore de CO. Les alarmes qui n'ont pas la fonction "Smart Interconnect" resteront silencieuses pendant une alarme CO.
UTILISATION DE LA FONCTION SILENCE
Ne débranchez JAMAIS l'alimentation de votre détecteur de fumée/CO pour faire taire la sirène — utilisez la fonction Silence (Silencieux). Débrancher le détecteur de fumée/CO supprime votre protection ! Si l'unité ne se tait pas ou si elle reste en mode silence continuellement, elle doit être remplacée immédiatement.
- La fonction Silence (Silencieux) est destinée à faire taire temporairement la sirène pendant que vous identifiez et corrigez le problème. N'utilisez pas la fonction Silence (Silencieux) dans les situations d'urgence. Elle ne corrigera pas un problème de CO ni n'éteindra un incendie.
- Pour utiliser la fonction Silence (Silencieux), appuyez sur le bouton Test/Silence (Test/Silencieux) jusqu'à ce que vous entendiez un "gazouillis" de confirmation ou jusqu'à ce que la sirène soit silencieuse.
- Si le bouton Test/Silence (Test/Silencieux) est enfoncé pendant que le détecteur de fumée/CO est en mode silence, l'alarme recommencera à sonner.
Pour faire taire les alarmes dans une série interconnectée :
Pour faire taire une série interconnectée de détecteurs de fumée/CO, vous devez appuyer sur le bouton Test/Silence (Test/Silencieux) de l'alarme initiatrice (l'unité avec le voyant rouge clignotant ; le voyant rouge sera éteint sur toutes les autres alarmes). Si vous appuyez sur le bouton Test/Silence (Test/Silencieux) sur une autre alarme, cela ne fera taire que cette unité, et non toute la série interconnectée.
QUAND L'ALARME FUMÉE EST SILENCIEUSE...
L'alarme fumée restera silencieuse pendant un maximum de 15 minutes, puis reviendra à son fonctionnement normal. Si la fumée n'a pas été dissipée pendant la période de silence ou si la fumée atteint un niveau critique pendant cette période, l'unité repassera en mode alarme.
Utilisez la fonction Silence (Silencieux) uniquement si vous êtes certain de la source de fumée. Si vous n'êtes pas certain de la source ou qu'un incendie se déclare pendant que vous dissipez la fumée, évacuez la maison immédiatement. Ne pas réagir à une alarme peut entraîner des pertes matérielles, des blessures ou la mort.
QUAND L'ALARME CO EST SILENCIEUSE...
L'alarme CO restera silencieuse pendant 4 minutes. Pendant que l'alarme est silencieuse, elle continuera à surveiller l'air pour le CO. Après 4 minutes, si les niveaux de CO restent potentiellement dangereux, la sirène recommencera à retentir.
La fonction Silence (Silencieux) est destinée à faire taire temporairement la sirène d'alarme.
Elle ne corrigera pas un problème de CO.
FONCTION SILENCE PILE FAIBLE
Cette fonction Silence (Silencieux) peut temporairement faire taire le "gazouillis" d'avertissement de pile faible pendant un maximum de 8 heures si l'alimentation CA est présente. Appuyez sur le bouton Test/Silence (Test/Silencieux) sur le couvercle de l'alarme jusqu'à ce que vous entendiez un "gazouillis" de confirmation. Une fois la fonction silence du "gazouillis" d'avertissement de pile faible activée, l'unité continue de faire clignoter le voyant vert une fois par minute pendant 8 heures. Après 8 heures, le "gazouillis" de pile faible reprendra. L'alarme continuera à fonctionner tant que l'alimentation CA est fournie. Cependant, remplacez la pile dès que possible, pour maintenir la protection en cas de panne de courant.
L'INDICATEUR D'ALARME "VERROUILLÉ"
L'indicateur d'alarme verrouillé (Latching Alarm Indicator) est activé après qu'une alarme a été exposée à des niveaux d'alarme de fumée ou de monoxyde de carbone. Cette fonction ne fonctionnera qu'avec l'alimentation CA. Une fois que les niveaux de fumée ou de CO chutent en dessous des niveaux d'alarme, la DEL rouge de fumée ou de CO commencera à clignoter une fois toutes les 5 secondes. Elle continuera à clignoter ou à se "verrouiller" jusqu'à ce que vous la désactiviez en testant l'alarme. Cette fonction aide les intervenants d'urgence, les enquêteurs ou les techniciens de service à identifier quelle(s) unité(s) de votre domicile ont été exposées à des niveaux d'alarme de fumée ou de monoxyde de carbone. Cela peut aider les enquêteurs à localiser la source de fumée ou de CO.
Alarmes interconnectées. L'indicateur d'alarme verrouillé (Latching Alarm Indicator) indique quelle(s) alarme(s) de la série ont été exposées à des niveaux d'alarme de fumée ou de monoxyde de carbone. L'indicateur d'alarme verrouillé (Latching Alarm Indicator) reste ACTIF jusqu'à ce que vous le réinitialisiez, afin qu'il puisse vous alerter d'une alarme survenue pendant que vous étiez absent de chez vous, même si la fumée ou le CO présents dans l'air sont retombés en dessous des niveaux d'alarme.
TEST HEBDOMADAIRE
- N'utilisez JAMAIS une flamme nue de quelque nature que ce soit pour tester cette unité. Vous pourriez accidentellement l'endommager ou mettre le feu à l'unité ou à votre domicile. L'interrupteur de test intégré teste avec précision le fonctionnement de l'unité, comme l'exige Underwriters Laboratories, Inc. (UL). N'utilisez JAMAIS l'échappement de véhicule ! L'échappement peut causer des dommages permanents et annule votre garantie.
- NE VOUS TENES PAS près de l'alarme lorsque la sirène retentit. Une exposition à courte portée peut être nocive pour votre ouïe. Lors du test, éloignez-vous lorsque la sirène commence à retentir.
Il est important de tester cette unité chaque semaine pour s'assurer qu'elle fonctionne correctement. L'utilisation du bouton de test est le moyen recommandé pour tester ce détecteur de fumée/CO.
- Appuyez et maintenez enfoncé le bouton Test/Silence (Test/Silencieux) sur le couvercle jusqu'à ce que vous entendiez un "gazouillis".
- Le "gazouillis" marque le début de la séquence d'autotest.
- Pendant le test, vous entendrez un motif sonore fort et répétitif : 3 bips, pause, 3 bips, pause, tandis que la DEL rouge de fumée clignote. Ensuite, vous entendrez un motif sonore fort et répétitif : 4 bips, pause, 4 bips, pause, tandis que la DEL rouge de CO clignote.
- Lors du test d'une série d'unités interconnectées, vous devez tester chaque unité individuellement. Assurez-vous que toutes les unités déclenchent l'alarme lorsque chacune est testée.
Si le détecteur de fumée/CO ne se teste pas correctement :
- Assurez-vous que l'alimentation CA est appliquée et que la pile est neuve et installée correctement.
- Assurez-vous que l'alarme est propre et exempte de poussière.
- Testez l'unité à nouveau.
Si le détecteur de fumée/CO ne fonctionne toujours pas correctement, remplacez-le immédiatement. Reportez-vous à la "Garantie limitée" à la fin de ce manuel.
S'il y a toujours un problème, n'essayez pas de réparer l'alarme vous-même. Cela annulera votre garantie !
ENTRETIEN RÉGULIER
N'utilisez que les piles de remplacement énumérées ci-dessous. L'appareil pourrait ne pas fonctionner correctement avec d'autres piles. N'utilisez jamais de piles rechargeables car elles pourraient ne pas fournir une charge constante.
Cet appareil a été conçu pour nécessiter le moins d'entretien possible, mais quelques gestes simples sont nécessaires pour qu'il fonctionne correctement :
- Testez-le au moins une fois par semaine.
- Nettoyez le détecteur de fumée/CO au moins une fois par mois ; aspirez délicatement l'extérieur du détecteur de fumée/CO à l'aide de la brosse douce de votre aspirateur ménager. Testez le détecteur de fumée/CO. N'utilisez jamais d'eau, de nettoyants ou de solvants car ils pourraient endommager l'appareil.
- Si le détecteur de fumée/CO est contaminé par un excès de saleté, de poussière et/ou de crasse, et ne peut être nettoyé pour éviter les alarmes intempestives, remplacez l'appareil immédiatement.
- Déplacez l'appareil s'il émet fréquemment des alarmes intempestives. Consultez "Where This Alarm Should Not Be Installed" (Où ce détecteur ne doit pas être installé) pour plus de détails.
- Lorsque la pile de secours devient faible, l'alarme émettra un "chirp" (bip) environ une fois par minute (l'avertissement de pile faible). Cet avertissement devrait durer 7 jours, mais vous devez remplacer la pile immédiatement pour maintenir votre protection. Ce détecteur doit être alimenté par le courant alternatif ou par pile pour fonctionner. Si l'alimentation secteur tombe en panne et que la pile est déchargée ou absente, le détecteur ne peut pas fonctionner.
NE vaporisez PAS de produits chimiques de nettoyage ou d'insecticides directement sur ou près du détecteur. NE peignez PAS le détecteur. Cela pourrait l'endommager de façon permanente.
CHOISIR UNE PILE DE REMPLACEMENT :
Votre détecteur de fumée/CO nécessite une pile standard 9V. Les piles suivantes sont acceptables comme remplacements : Duracell #MN1604, (Ultra) #MX1604 ; Eveready (Energizer) #522. Vous pouvez également utiliser une pile au lithium comme la Ultralife U9VL-J pour une durée de vie plus longue entre les remplacements de piles. Ces piles sont disponibles dans de nombreux magasins de détail locaux.
La durée de vie réelle de la pile dépend du détecteur de fumée/CO et de l'environnement dans lequel il est installé. Toutes les piles spécifiées ci-dessus sont des piles de remplacement acceptables pour cet appareil. Indépendamment de la durée de vie de la pile suggérée par le fabricant, vous DEVEZ remplacer la pile immédiatement dès que l'appareil commence à "chirping" (biper) (l'"low battery warning" (avertissement de pile faible)).
CE QUE VOUS DEVEZ SAVOIR SUR LE CO
QU'EST-CE QUE LE CO ?
Le CO est un gaz invisible, inodore et insipide produit lorsque les combustibles fossiles ne brûlent pas complètement ou sont exposés à la chaleur (généralement le feu). Les appareils électriques ne produisent généralement pas de CO.
Ces combustibles comprennent : Le bois, le charbon, le charbon de bois, le mazout, le gaz naturel, l'essence, le kérosène et le propane.
Les appareils courants sont souvent des sources de CO. S'ils ne sont pas correctement entretenus, sont mal ventilés ou fonctionnent mal, les niveaux de CO peuvent augmenter rapidement. Le CO est un réel danger maintenant que les maisons sont plus économes en énergie. Les maisons "Air-tight" (étanches à l'air) avec isolation supplémentaire, fenêtres scellées et autres protections contre les intempéries peuvent "trap" (piéger) le CO à l'intérieur.
SYMPTÔMES DE L'INTOXICATION AU CO
Ces symptômes sont liés à l'INTOXICATION AU CO et devraient être discutés avec TOUS les membres du foyer.
Exposition légère : Légers maux de tête, nausées, vomissements, fatigue ("flu-like" (pseudo-grippaux) symptômes).
Exposition moyenne : Maux de tête lancinants, somnolence, confusion, rythme cardiaque rapide.
Exposition extrême : Convulsions, perte de conscience, insuffisance cardiaque et pulmonaire. L'exposition au monoxyde de carbone peut entraîner des lésions cérébrales, la mort.
Ce détecteur de CO mesure l'exposition au CO au fil du temps. Il déclenche l'alarme si les niveaux de CO sont extrêmement élevés sur une courte période, ou si les niveaux de CO atteignent un certain minimum sur une longue période. Le détecteur de CO déclenche généralement une alarme avant l'apparition des symptômes chez les adultes moyens et en bonne santé.
Pourquoi est-ce important ? Parce que vous devez être averti d'un problème potentiel de
CO tant que vous pouvez encore réagir à temps. Dans de nombreux cas d'exposition au CO signalés, les victimes peuvent être conscientes de ne pas se sentir bien, mais deviennent désorientées et ne peuvent plus réagir suffisamment pour quitter le bâtiment ou obtenir de l'aide. De plus, les jeunes enfants et les animaux domestiques peuvent être les premiers affectés. L'adulte moyen en bonne santé pourrait ne ressentir aucun symptôme lorsque le détecteur de CO sonne. Cependant, les personnes ayant des problèmes cardiaques ou respiratoires, les nourrissons, les bébés à naître, les femmes enceintes ou les personnes âgées peuvent être plus rapidement et gravement affectées par le CO. Si vous ressentez même de légers symptômes d'intoxication au CO, consultez immédiatement votre médecin !
TROUVER LA SOURCE DE CO APRÈS UNE ALARME
Le monoxyde de carbone est un gaz inodore et invisible, ce qui rend souvent difficile la localisation de la source de CO après une alarme. Voici quelques-uns des facteurs qui peuvent rendre difficile la localisation des sources de CO :
- Maison bien ventilée avant l'arrivée de l'enquêteur.
- Problème causé par un "backdrafting" (refoulement).
- Problème transitoire de CO causé par des circonstances spéciales.
Parce que le CO peut se dissiper avant l'arrivée d'un enquêteur, il peut être difficile de localiser la source de CO. BRK Brands, Inc. ne sera pas tenue de payer pour toute enquête sur le monoxyde de carbone ou tout appel de service.
SOURCES POTENTIELLES DE CO DANS LA MAISON
Appareils à combustion tels que : chauffage portable, cheminée à gaz ou à bois, cuisinière ou plaque de cuisson à gaz, sèche-linge à gaz.
Ventilation endommagée ou insuffisante : tuyau d'évacuation de chauffe-eau corrodé ou déconnecté, tuyau de cheminée ou conduit qui fuit, ou échangeur de chaleur fissuré, ouverture de cheminée bloquée ou obstruée.
Utilisation incorrecte de l'appareil/dispositif : utilisation d'un barbecue ou d'un véhicule dans un espace clos (comme un garage ou un porche grillagé).
Problèmes de CO transitoires : Les problèmes de CO "transient" (transitoires) ou intermittents peuvent être causés par des conditions extérieures et d'autres circonstances spéciales.

Les conditions suivantes peuvent entraîner des situations de CO transitoires :
- Déversement excessif ou refoulement des appareils à combustible causé par des conditions extérieures telles que :
- Direction et/ou vitesse du vent, y compris les vents forts et rafaleux. Air lourd dans les tuyaux de ventilation (air froid/humide avec de longues périodes entre les cycles).
- Différentiel de pression négative résultant de l'utilisation de ventilateurs d'extraction.
- Plusieurs appareils fonctionnant en même temps et se disputant un air frais limité.
- Connexions de tuyaux de ventilation se desserrant à cause des vibrations des sèche-linge, des fournaises ou des chauffe-eau.
- Obstructions ou conceptions de tuyaux de ventilation non conventionnelles qui peuvent amplifier les situations ci-dessus.
- Fonctionnement prolongé d'appareils à combustion non ventilés (cuisinière, four, cheminée).
- Inversions de température, qui peuvent piéger les gaz d'échappement près du sol.
- Voiture tournant au ralenti dans un garage attenant ouvert ou fermé, ou près d'une maison.
Ces conditions sont dangereuses car elles peuvent piéger les gaz d'échappement dans votre maison. Étant donné que ces conditions peuvent apparaître et disparaître, elles sont également difficiles à recréer lors d'une enquête sur le CO.
COMMENT PROTÉGER MA FAMILLE DE L'INTOXICATION AU CO ?
Un détecteur de CO est un excellent moyen de protection. Il surveille l'air et déclenche une alarme sonore avant que les niveaux de monoxyde de carbone ne deviennent menaçants pour les adultes moyens et en bonne santé.
Un détecteur de CO ne remplace pas un entretien approprié des appareils ménagers.
- Pour aider à prévenir les problèmes de CO et réduire le risque d'intoxication au CO :
- Nettoyez les cheminées et les conduits chaque année. Gardez-les exempts de débris, de feuilles et de nids pour un bon flux d'air. De plus, faites vérifier par un professionnel la rouille et la corrosion, les fissures ou les séparations. Ces conditions peuvent empêcher une circulation d'air adéquate et provoquer un refoulement. Ne jamais "cap" (coiffer) ou couvrir une cheminée d'une manière qui bloquerait le flux d'air.
- Testez et entretenez tous les équipements à combustion annuellement. De nombreuses compagnies de gaz ou de pétrole locales et entreprises de CVC proposent des inspections d'appareils pour une somme modique.
- Effectuez des inspections visuelles régulières de tous les appareils à combustible. Vérifiez les appareils pour la rouille excessive et l'entartrage. Vérifiez également la flamme sur le brûleur et les veilleuses. La flamme doit être bleue. Une flamme jaune signifie que le combustible ne brûle pas complètement et que du CO peut être présent. Gardez la porte du ventilateur de la fournaise fermée. Utilisez des évents ou des ventilateurs lorsqu'ils sont disponibles sur tous les appareils à combustible. Assurez-vous que les appareils sont ventilés vers l'extérieur. Ne faites pas de grillades ou de barbecues à l'intérieur, ni dans les garages ou sur les porches grillagés.
- Vérifiez le refoulement des gaz d'échappement des sources de CO. Vérifiez le déflecteur d'une fournaise en fonctionnement pour détecter un refoulement. Recherchez des fissures sur les échangeurs de chaleur de la fournaise.
- Vérifiez la maison ou le garage de l'autre côté d'un mur mitoyen.
- Gardez les fenêtres et les portes légèrement ouvertes. Si vous soupçonnez que du CO s'échappe dans votre maison, ouvrez une fenêtre ou une porte. L'ouverture des fenêtres et des portes peut réduire considérablement les niveaux de CO.
De plus, familiarisez-vous avec tous les documents inclus. Lisez ce manuel dans son intégralité et assurez-vous de comprendre ce qu'il faut faire si votre détecteur de CO sonne.
INFORMATIONS RÉGLEMENTAIRES POUR LES DÉTECTEURS DE FUMÉE/CO
INFORMATIONS RÉGLEMENTAIRES POUR LES DÉTECTEURS DE CO
QUELS NIVEAUX DE CO DÉCLENCHENT UNE ALARME ?
La norme UL2034 d'Underwriters Laboratories Inc. exige que les détecteurs de CO résidentiels sonnent lorsqu'ils sont exposés à des niveaux de CO et à des durées d'exposition décrits ci-dessous. Ils sont mesurés en parties par million (ppm) de CO sur une période de temps (en minutes).
Points d'alarme requis par UL2034* :
- Si l'alarme est exposée à 400 ppm de CO, ELLE DOIT SE DÉCLENCHER ENTRE 4 et 15 MINUTES.
- Si l'alarme est exposée à 150 ppm de CO, ELLE DOIT SE DÉCLENCHER ENTRE 10 et 50 MINUTES.
- Si l'alarme est exposée à 70 ppm de CO, ELLE DOIT SE DÉCLENCHER ENTRE 60 et 240 MINUTES.
* Exposition à environ 10 % de COHb à des niveaux d'humidité relative (HR) de 10 % à 95 %.
L'appareil est conçu pour ne pas se déclencher lorsqu'il est exposé à un niveau constant de 30 ppm pendant 30 jours.
Les détecteurs de CO sont conçus pour se déclencher avant qu'il n'y ait une menace immédiate pour la vie. Puisque vous ne pouvez ni voir ni sentir le CO, ne supposez jamais qu'il n'est pas présent.
- Une exposition à 100 ppm de CO pendant 20 minutes peut ne pas affecter les adultes moyens et en bonne santé, mais après 4 heures, le même niveau peut provoquer des maux de tête.
- Une exposition à 400 ppm de CO peut provoquer des maux de tête chez les adultes moyens et en bonne santé après 35 minutes, mais peut entraîner la mort après 2 heures.
Normes : Détecteurs de monoxyde de carbone à station unique et multiple Underwriters Laboratories Inc. UL2034.
Selon Underwriters Laboratories Inc. UL2034, Section 1-1.2 : "Les détecteurs de monoxyde de carbone couverts par ces exigences sont destinés à réagir à la présence de monoxyde de carbone provenant de sources telles que, sans s'y limiter, les gaz d'échappement des moteurs à combustion interne, le fonctionnement anormal des appareils à combustible et les cheminées. Les détecteurs de CO sont destinés à se déclencher à des niveaux de monoxyde de carbone inférieurs à ceux qui pourraient entraîner une perte de capacité à réagir aux dangers de l'exposition au monoxyde de carbone." Ce détecteur de CO surveille l'air au niveau de l'alarme et est conçu pour se déclencher avant que les niveaux de CO ne deviennent mortels. Cela vous donne un temps précieux pour quitter la maison et corriger le problème. Cela n'est possible que si les détecteurs sont situés, installés et entretenus comme décrit dans ce manuel.
Détection de gaz aux plages de température et d'humidité typiques : Le détecteur de CO n'est généralement pas formulé pour détecter des niveaux de CO inférieurs à 30 ppm.
Alarme sonore : 85 dB minimum à 10 pieds (3 mètres).
INFORMATIONS RÉGLEMENTAIRES POUR LES DÉTECTEURS DE FUMÉE
EMPLACEMENTS RECOMMANDÉS POUR LES DÉTECTEURS DE FUMÉE
Installation de détecteurs de fumée dans les résidences unifamiliales
La National Fire Protection Association (NFPA) recommande un détecteur de fumée à chaque étage, dans chaque zone de couchage et dans chaque chambre. Dans les nouvelles constructions, les détecteurs de fumée doivent être alimentés en courant alternatif et interconnectés. Voir "Recommandations de placement des agences" pour plus de détails. Pour une couverture supplémentaire, il est recommandé d'installer un détecteur de fumée dans toutes les pièces, couloirs, zones de stockage, greniers aménagés et sous-sols, où les températures restent normalement entre 40˚ F (4˚ C) et 100˚ F (38˚ C). Assurez-vous qu'aucune porte ou autre obstruction ne puisse empêcher la fumée d'atteindre les détecteurs de fumée.
Plus spécifiquement, installez les détecteurs de fumée :
- À chaque niveau de votre maison, y compris les greniers aménagés et les sous-sols.
- À l'intérieur de chaque chambre, surtout si les gens dorment avec la porte partiellement ou complètement fermée.
- Dans le couloir près de chaque zone de couchage. Si votre maison a plusieurs zones de couchage, installez une unité dans chacune. Si un couloir mesure plus de 40 pieds (12 mètres), installez une unité à chaque extrémité.
- En haut de l'escalier du premier au deuxième étage, et en bas de l'escalier du sous-sol.
Les exigences spécifiques pour l'installation des détecteurs de fumée varient d'un état à l'autre et d'une région à l'autre. Vérifiez auprès de votre service d'incendie local les exigences actuelles dans votre région. Il est recommandé que les unités CA ou CA/CC soient interconnectées pour une protection accrue.



INSTALLATION DE DÉTECTEURS DE FUMÉE DANS LES MAISONS MOBILES ET LES VR
Pour une sécurité minimale, installez un détecteur de fumée aussi près que possible de chaque zone de couchage. Pour plus de sécurité, placez une unité dans chaque pièce. De nombreuses maisons mobiles plus anciennes (surtout celles construites avant 1978) ont peu ou pas d'isolation. Si votre maison mobile n'est pas bien isolée, ou si vous n'êtes pas sûr de la quantité d'isolation, il est important d'installer les unités uniquement sur les murs intérieurs. Les détecteurs de fumée doivent être installés là où les températures restent normalement entre 40˚ F (4˚ C) et 100˚ F (38˚ C).
Testez les unités utilisées dans les VR après que le véhicule a été entreposé, avant chaque voyage, et une fois par semaine pendant l'utilisation. Le non-respect de ce test pour les unités utilisées dans les VR peut annuler votre protection.
Cet équipement doit être installé conformément aux normes NFPA (National Fire Protection Association) 72 et 101. National Fire Protection Association, One Batterymarch Park, Quincy, MA 02269-9101. Des codes du bâtiment et réglementaires locaux supplémentaires peuvent s'appliquer dans votre région. Vérifiez toujours les exigences de conformité avant de commencer toute installation.
RECOMMANDATIONS DE PLACEMENT DES AGENCES
NFPA 72 (Code National de Prévention des Incendies)
Les détecteurs de fumée doivent être installés dans chaque chambre à coucher séparée, à l'extérieur de chaque zone de couchage à proximité immédiate des chambres et à chaque étage supplémentaire de l'unité de vie familiale, y compris les sous-sols et à l'exclusion des vides sanitaires et des greniers non aménagés.
Dans les nouvelles constructions, les détecteurs doivent être agencés de manière à ce que l'activation d'un seul détecteur entraîne l'activation de tous les détecteurs de l'habitation.
Détection de fumée – Est-il souhaitable d'avoir plus de détecteurs de fumée ? Le nombre requis de détecteurs de fumée pourrait ne pas fournir une protection d'alerte précoce fiable pour les zones séparées par une porte des zones protégées par les détecteurs de fumée requis. Pour cette raison, il est recommandé au propriétaire d'envisager l'utilisation de détecteurs de fumée supplémentaires pour ces zones afin d'accroître la protection. Les zones supplémentaires comprennent le sous-sol, les chambres, la salle à manger, la chaufferie, la buanderie et les couloirs non protégés par les détecteurs de fumée requis. L'installation de détecteurs de fumée dans les cuisines, les greniers (aménagés ou non) ou les garages n'est normalement pas recommandée, car ces emplacements connaissent occasionnellement des conditions pouvant entraîner un fonctionnement incorrect.
California State Fire Marshal (CSFM)
La détection précoce est mieux réalisée par l'installation d'équipements de détection d'incendie dans toutes les pièces et zones du ménage, comme suit : Un détecteur de fumée installé dans chaque zone de couchage séparée (à proximité, mais à l'extérieur des chambres), et des détecteurs de chaleur ou de fumée dans les salons, les salles à manger, les chambres, les cuisines, les couloirs, les greniers aménagés, les chaufferies, les placards, les buanderies et débarras, les sous-sols et les garages attenants.
À PROPOS DES DÉTECTEURS DE FUMÉE
Détecteurs de fumée à piles (CC) : Assurent une protection même en cas de panne de courant, à condition que les piles soient neuves et correctement installées.
Les unités sont faciles à installer et ne nécessitent pas d'installation professionnelle. Cependant, elles n'offrent pas de fonctionnalité interconnectée.
Détecteurs de fumée alimentés en CA : Peuvent être interconnectés de sorte que si une unité détecte de la fumée, toutes les unités se déclenchent. Ils ne fonctionnent pas en cas de panne de courant. CA avec pile (CC) de secours : fonctionnera en cas de panne de courant, à condition que les piles soient neuves et correctement installées. Les unités CA et CA/CC doivent être installées par un électricien qualifié.
Alarmes interconnectées sans fil : Offrent la même fonctionnalité interconnectée que les alarmes câblées, sans fil. Les unités sont faciles à installer et ne nécessitent pas d'installation professionnelle. Elles offrent une protection même en cas de panne d'électricité, à condition que les piles soient neuves et correctement installées.
Détecteurs de fumée pour les utilisateurs d'énergie solaire ou éolienne et les systèmes d'alimentation de secours par batterie : Les détecteurs de fumée alimentés en CA ne doivent être utilisés qu'avec des onduleurs à onde sinusoïdale vraie ou pure. L'utilisation de ce détecteur de fumée avec la plupart des produits UPS (alimentation sans interruption) alimentés par batterie ou des onduleurs à onde carrée ou "quasi sinusoïdale" endommagera le détecteur. Si vous n'êtes pas sûr du type de votre onduleur ou UPS, veuillez consulter le fabricant pour vérifier.
Détecteurs de fumée pour les malentendants : Des détecteurs de fumée à usage spécial doivent être installés pour les malentendants. Ils comprennent une alarme visuelle et une sirène d'alarme sonore, et répondent aux exigences de l'Americans With Disabilities Act. Ces unités peuvent être interconnectées de sorte que si une unité détecte de la fumée, toutes les unités se déclenchent.
Les détecteurs de fumée ne doivent pas être utilisés avec des protections de détecteur à moins que la combinaison n'ait été évaluée et jugée adaptée à cet usage.
Tous ces détecteurs de fumée sont conçus pour fournir une alerte précoce d'incendie s'ils sont situés, installés et entretenus comme décrit dans le manuel de l'utilisateur, et si la fumée atteint le détecteur. Si vous n'êtes pas sûr du type d'unité à installer, consultez la NFPA (National Fire Protection Association) 72 (National Fire Alarm Code) et la NFPA 101 (Life Safety Code). National Fire Protection Association, One Batterymarch Park, Quincy, MA 02269-9101. Les codes du bâtiment locaux peuvent également exiger des unités spécifiques dans les nouvelles constructions ou dans différentes zones de la maison.
CONSIDÉRATIONS SPÉCIALES EN MATIÈRE DE CONFORMITÉ
Cette unité seule ne constitue pas un substitut approprié aux systèmes complets de détection d'incendie dans les lieux hébergeant de nombreuses personnes — comme les immeubles d'appartements, les condominiums, les hôtels, les motels, les dortoirs, les hôpitaux, les établissements de soins de longue durée, les maisons de retraite, les garderies, ou les foyers de groupe de toute nature — même s'ils étaient autrefois des maisons unifamiliales. Elle ne constitue pas un substitut approprié aux systèmes complets de détection d'incendie dans les entrepôts, les installations industrielles, les bâtiments commerciaux et les bâtiments non résidentiels à usage spécial qui nécessitent des systèmes spéciaux de détection et d'alarme incendie. Selon les codes du bâtiment de votre région, cette unité peut être utilisée pour offrir une protection supplémentaire dans ces installations.
Les informations suivantes s'appliquent aux quatre types de bâtiments listés ci-dessous :
Dans les nouvelles constructions, la plupart des codes du bâtiment exigent l'utilisation de détecteurs de fumée alimentés uniquement en CA ou CA/CC. Les détecteurs de fumée alimentés en CA, CA/CC ou CC peuvent être utilisés dans les constructions existantes selon les codes du bâtiment locaux. Référez-vous à la NFPA 72 (National Fire Alarm Code) et à la NFPA 101 (Life Safety Code), aux codes du bâtiment locaux, ou consultez votre service d'incendie pour connaître les exigences détaillées en matière de protection incendie dans les bâtiments non définis comme "ménages".
- Résidence unifamiliale :
Maison individuelle, maison de ville. Il est recommandé d'installer cette unité à chaque niveau de la maison, dans chaque chambre et dans chaque couloir de chambre. - Résidence multifamiliale ou à occupants multiples :
Immeuble d'appartements, condominium. Cette unité convient à une utilisation dans des appartements ou des condos individuels, à condition qu'un système de détection d'incendie primaire existe déjà pour répondre aux exigences de détection d'incendie dans les zones communes comme les halls, les couloirs ou les porches. L'utilisation de cette unité dans les zones communes peut ne pas fournir un avertissement suffisant à tous les résidents ou ne pas satisfaire aux ordonnances/règlements locaux de protection incendie. - Établissements :
Hôpitaux, garderies, établissements de soins de longue durée. Cette unité convient à une utilisation dans les chambres individuelles des patients/résidents, à condition qu'un système de détection d'incendie primaire existe déjà pour répondre aux exigences de détection d'incendie dans les zones communes comme les halls, les couloirs ou les porches. L'utilisation de cette unité dans les zones communes peut ne pas fournir un avertissement suffisant à tous les résidents ou ne pas satisfaire aux ordonnances/règlements locaux de protection incendie. - Hôtels et motels :
Également les pensions de famille et les dortoirs. Cette unité convient à une utilisation dans les chambres individuelles/résidentielles, à condition qu'un système de détection d'incendie primaire existe déjà pour répondre aux exigences de détection d'incendie dans les zones communes comme les halls, les couloirs ou les porches. L'utilisation de cette unité dans les zones communes peut ne pas fournir un avertissement suffisant à tous les résidents ou ne pas satisfaire aux ordonnances/règlements locaux de protection incendie.
LIMITATIONS GÉNÉRALES DES DÉTECTEURS DE FUMÉE/CO
Ce détecteur de fumée/CO est destiné à un usage résidentiel. Il n'est pas destiné à être utilisé dans des applications industrielles où les exigences de l'Occupational Safety and Health Administration (OSHA) concernant les détecteurs de monoxyde de carbone doivent être respectées. La partie détecteur de fumée de cet appareil n'est pas destinée à alerter les résidents malentendants. Des détecteurs de fumée à usage spécial doivent être installés pour les résidents malentendants (les détecteurs de CO ne sont pas encore disponibles pour les malentendants).
Les détecteurs de fumée/CO peuvent ne pas réveiller toutes les personnes. Entraînez-vous au plan d'évacuation au moins deux fois par an, en vous assurant que tout le monde est impliqué – des enfants aux grands-parents. Laissez les enfants maîtriser la planification et la pratique de l'évacuation en cas d'incendie avant de tenir un exercice d'incendie la nuit pendant qu'ils dorment. Si les enfants ou d'autres personnes ne se réveillent pas facilement au son du détecteur de fumée/CO, ou s'il y a des nourrissons ou des membres de la famille ayant des limitations de mobilité, assurez-vous que quelqu'un est désigné pour les aider lors d'un exercice d'incendie et en cas d'urgence. Il est recommandé de tenir un exercice d'incendie pendant que les membres de la famille dorment afin de déterminer leur réaction au son du détecteur de fumée/CO pendant le sommeil et de déterminer s'ils pourraient avoir besoin d'aide en cas d'urgence.
Les détecteurs de fumée/CO ne peuvent pas fonctionner sans alimentation électrique. Les unités alimentées par batterie ne peuvent pas fonctionner si les piles sont manquantes, déconnectées ou mortes, si le mauvais type de piles est utilisé, ou si les piles ne sont pas installées correctement. Les unités CA ne peuvent pas fonctionner si l'alimentation CA est coupée pour quelque raison que ce soit (fusible ouvert ou disjoncteur, défaillance le long d'une ligne électrique ou à une centrale électrique, incendie électrique qui brûle les fils électriques, etc.). Si vous êtes préoccupé par les limitations de l'alimentation par batterie ou CA, installez les deux types d'unités.
Ce détecteur de fumée/CO ne détectera pas la fumée ou le CO qui n'atteint pas les capteurs. Il ne détectera la fumée ou le CO qu'au niveau du capteur. La fumée ou le CO peuvent être présents dans d'autres zones. Les portes ou d'autres obstructions peuvent affecter la vitesse à laquelle le CO ou la fumée atteint les capteurs. Si les portes des chambres sont généralement fermées la nuit, nous vous recommandons d'installer un appareil d'alarme (détecteur combiné de CO et de fumée, ou détecteurs de CO et de fumée séparés) dans chaque chambre et dans le couloir entre elles.
Ce détecteur de fumée/CO peut ne pas détecter la fumée ou le CO à un autre niveau de la maison. Exemple : Cet appareil d'alarme, installé au deuxième étage, peut ne pas détecter la fumée ou le CO au sous-sol. Pour cette raison, un seul appareil d'alarme peut ne pas donner un avertissement précoce adéquat. La protection minimale recommandée est un appareil d'alarme dans chaque zone de couchage, chaque chambre et à chaque niveau de votre maison. Certains experts recommandent d'utiliser des détecteurs de fumée et de CO alimentés par batterie en conjonction avec des détecteurs de fumée interconnectés alimentés par CA. Pour plus de détails, voir "À propos des détecteurs de fumée" pour plus de détails.
Les détecteurs de fumée/CO peuvent ne pas être entendus. Le volume de la corne d'alarme respecte ou dépasse les normes UL actuelles de 85 dB à 10 pieds (3 mètres). Cependant, si le détecteur de fumée/CO est installé à l'extérieur de la chambre, il peut ne pas réveiller un dormeur profond ou une personne ayant récemment consommé des drogues ou de l'alcool. C'est particulièrement vrai si la porte est fermée ou seulement partiellement ouverte. Même les personnes éveillées peuvent ne pas entendre la corne d'alarme si le son est bloqué par la distance ou des portes fermées. Le bruit de la circulation, de la chaîne hi-fi, de la radio, de la télévision, du climatiseur ou d'autres appareils peut également empêcher les personnes alertes d'entendre la corne d'alarme. Ce détecteur de fumée/CO n'est pas destiné aux personnes malentendantes.
L'avertisseur peut ne pas avoir le temps de sonner avant que le feu lui-même ne cause des dommages, des blessures ou la mort, car la fumée de certains incendies peut ne pas atteindre l'appareil immédiatement. Des exemples incluent des personnes fumant au lit, des enfants jouant avec des allumettes, ou des incendies causés par des explosions violentes résultant de fuites de gaz.
Ce détecteur de fumée/CO ne remplace pas une assurance-vie. Bien que ce détecteur de fumée/CO avertisse des niveaux croissants de CO ou de la présence de fumée, BRK Brands, Inc. ne garantit ni n'implique en aucune manière qu'il protégera des vies. Les propriétaires et les locataires doivent toujours assurer leur vie.
Ce détecteur de fumée/CO a une durée de vie limitée. Bien que ce détecteur de fumée/CO et toutes ses pièces aient passé de nombreux tests rigoureux et soient conçus pour être aussi fiables que possible, l'une de ces pièces pourrait tomber en panne à tout moment. Par conséquent, vous devez tester cet appareil chaque semaine. L'unité doit être remplacée immédiatement si elle ne fonctionne pas correctement.
Ce détecteur de fumée/CO n'est pas infaillible. Comme tous les autres appareils électroniques, ce détecteur de fumée/CO a des limitations. Il ne peut détecter la fumée ou le CO qui atteint les capteurs. Il peut ne pas donner d'alerte précoce si la source de fumée ou de CO se trouve dans une partie éloignée de la maison, loin de l'appareil d'alarme.
GUIDE DE DÉPANNAGE
RISQUE DE CHOC ÉLECTRIQUE. Coupez l'alimentation de la zone où le détecteur est installé AVANT de le retirer du support de montage ou de vérifier toute connexion électrique ! Ne pas couper l'alimentation au préalable peut entraîner un choc électrique grave, des blessures ou la mort.
| Si votre avertisseur fait ceci... | Cela signifie... | Vous devez... |
| Le voyant vert est ÉTEINT. L'unité ne sonne pas lorsque vous appuyez sur le bouton Test/Silence. | L'unité peut ne pas recevoir d'alimentation. | Vérifiez l'alimentation CA. Assurez-vous que le connecteur d'alimentation est bien fixé à l'avertisseur. Assurez-vous qu'une nouvelle pile 9V est installée pour alimenter la batterie de secours*. |
| Le voyant vert clignote UNE fois par minute (la corne est silencieuse). | L'avertisseur ne reçoit pas d'alimentation CA. | L'unité fonctionne sur la batterie de secours. Vérifiez l'alimentation CA. |
| Une fois par minute, le voyant vert clignote et la corne "gazouille". | Avertissement de pile faible. La pile est faible ou manquante. | Remplacez la pile, évitez d'interrompre l'alimentation CA. |
| Une fois par minute, l'avertisseur émet 3 "gazouillements" rapides, et le voyant vert clignote rapidement trois fois. | SIGNAL DE DÉFAILLANCE. L'unité doit être remplacée. Sur la base des autodiagnostics, l'unité a détecté une anomalie. | Les unités sous garantie doivent être retournées au fabricant pour remplacement. Voir "Garantie limitée" pour plus de détails. |
| L'avertisseur se remet en alarme après avoir appuyé sur le bouton Test/Silence pour couper une alarme. | Les niveaux de fumée et/ou de CO sont potentiellement toujours dangereux. | Reportez-vous à "Si votre avertisseur de fumée/CO retentit" pour des détails sur la manière de réagir à une alarme. Si quelqu'un se sent mal, ÉVACUEZ votre domicile immédiatement et appelez le 911. |
| L'avertisseur sonne fréquemment même si aucune concentration élevée de fumée ou de CO n'est révélée lors d'une investigation. | L'avertisseur peut être mal placé. Reportez-vous à "Où installer cet avertisseur". | Déplacez votre avertisseur. Si les alarmes fréquentes persistent, faites vérifier votre domicile pour d'éventuels problèmes. Vous pourriez rencontrer un problème intermittent de fumée ou de CO. |
*Pour une liste des piles de remplacement acceptables, voir "Entretien régulier".
Si vous avez des questions qui ne peuvent être répondues en lisant ce manuel, appelez le service Consommateurs : 1-800-323-9005.
GARANTIE LIMITÉE
BRK Brands, Inc., ("BRK"), le fabricant des produits de marque BRK® et First Alert®, garantit que pendant une période de cinq ans à compter de la date d'achat, ce produit sera exempt de défauts de matériaux et de fabrication. BRK, à son gré, réparera ou remplacera ce produit ou tout composant du produit jugé défectueux pendant la période de garantie. Le remplacement sera effectué avec un produit ou un composant neuf ou remis à neuf. Si le produit n'est plus disponible, le remplacement peut être effectué avec un produit similaire de valeur égale ou supérieure. Il s'agit de votre garantie exclusive.
Cette garantie est valable pour l'acheteur initial au détail à partir de la date d'achat initial au détail et n'est pas transférable. Conservez le reçu de vente original. Une preuve d'achat est requise pour obtenir l'exécution de la garantie. Les revendeurs BRK, les centres de service ou les magasins de détail vendant des produits BRK n'ont pas le droit de modifier, d'altérer ou de changer de quelque manière que ce soit les termes et conditions de cette garantie.
Cette garantie ne couvre pas l'usure normale des pièces ou les dommages résultant de l'une des situations suivantes : utilisation négligente ou mauvaise utilisation du produit, utilisation sous une tension ou un courant inapproprié, utilisation contraire aux instructions d'utilisation, démontage, réparation ou altération par toute personne autre que BRK ou un centre de service autorisé. En outre, la garantie ne couvre pas les catastrophes naturelles, telles que les incendies, les inondations, les ouragans et les tornades, ni les piles incluses avec cet appareil.
BRK ne sera pas responsable des dommages accessoires ou consécutifs causés par la violation de toute garantie expresse ou implicite. Sauf dans la mesure interdite par la loi applicable, toute garantie implicite de qualité marchande ou d'adéquation à un usage particulier est limitée à la durée de la garantie ci-dessus. Certains États, provinces ou juridictions n'autorisent pas l'exclusion ou la limitation des dommages accessoires ou consécutifs ou les limitations sur la durée d'une garantie implicite, de sorte que les limitations ou exclusions ci-dessus peuvent ne pas s'appliquer à vous. Cette garantie vous confère des droits légaux spécifiques, et vous pouvez également avoir d'autres droits qui varient d'un État à l'autre ou d'une province à l'autre.
Comment obtenir le service de garantie
Service : Si un service est requis, ne retournez pas le produit à votre détaillant. Pour obtenir le service de garantie, contactez la Division des Affaires Consommateurs au 1-800-323-9005, de 7h30 à 17h00 heure normale du Centre, du lundi au vendredi. Pour nous aider à vous servir, veuillez avoir le numéro de modèle et la date d'achat à portée de main lors de votre appel.
Pour le service de garantie, retourner à : BRK Brands, Inc., 25 Spur Drive, El Paso, TX 79906
Pile : BRK Brands, Inc. ne donne aucune garantie, expresse ou implicite, écrite ou orale, y compris celle de qualité marchande ou d'adéquation à un usage particulier concernant la pile.
Pour vos dossiers, veuillez noter :
Date d'achat : _______________________________
Lieu d'achat : __________________________________________
Date d'installation : ____________/____________Mois/Année
La date de remplacement est cinq ans après l'installation : ________/______ Mois/Année
REMARQUE : Signal de fin de vie — Une fois que l'unité atteint la fin de son cycle de vie, le SIGNAL DE DÉFAILLANCE retentira une fois par minute pour indiquer la nécessité de remplacer immédiatement l'avertisseur.

BRK Electronics® est une marque déposée de BRK Brands, Inc.
First Alert® est une marque déposée du First Alert Trust.
Télécharger le manuel
Ici, vous pouvez télécharger la version PDF complète du manuel. Elle peut contenir des instructions de sécurité supplémentaires, des informations de garantie, des règles de la FCC, etc.
Télécharger Manuel du Détecteur de monoxyde de carbone et de fumée FIRST ALERT SC9120B







