Sony ICD-TX650 - IC жазғышты іске қосу нұсқаулығы
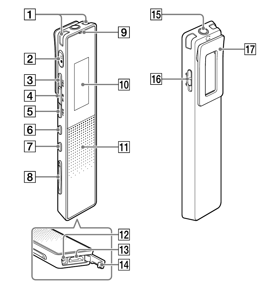
- 1 Бөлшектер мен басқару элементтері
- 2 Зарядтау
- 3 Қуатты қосу
- 4 Бастапқы параметрлерді орнатыңыз
- 5 Мәзір тілін таңдаңыз
- 6 Жазу
- 7 Тыңдау
- 8 Жою
- 9 HOME мәзірін пайдалану
- 10 OPTION мәзірін пайдалану
- 11 IC жазғыштан компьютерге файлдарды көшіру
- 12 Sound Organizer бағдарламасын орнату
- 13 Сақтық шаралары
- 14 Жеткізілген элементтерді тексеріңіз
- 15 Нұсқаулықты жүктеп алу
- 16 Басқа тілдерде

Бөлшектер мен басқару элементтері

- Кіріктірілген микрофондар (L/R)
(жазу/жазуды тоқтату) батырмасы
(белгі/жылдам алға) батырмасы
(ойнату/енгізу/тоқтату) батырмасы*1
(шолу/жылдам артқа) батырмасы- OPTION батырмасы
- BACK/HOME батырмасы
- VOL (дыбыс деңгейі) –/+ батырмасы*1
- Жұмыс индикаторы
- Дисплей терезесі
- Динамик*2
- RESET батырмасы (USB қосқыш қақпағының ішінде)
- USB қосқышы (USB қосқыш қақпағының ішінде)
- USB қосқыш қақпағы
(құлаққаптар) ұясы- POWER•HOLD қосқышы
- Бекіткіш
*1 Бұл батырмаларда тактильді нүкте бар. Оны операциялар үшін тірек нүктесі ретінде немесе әрбір терминалды анықтау үшін пайдаланыңыз.
*2 Кіріктірілген динамик жазылған дыбысты тексеруге арналған, сондықтан дыбыс деңгейі шектеулі.
Егер ойнату дыбысы жеткілікті қатты болмаса немесе есту қиын болса, құлаққаптарды пайдаланыңыз (жинақта жоқ).
Зарядтау
- IC жазғышты зарядтаңыз.
Жеткізілген USB кабелін пайдаланып, USB қосқыш қақпағының ішіндегі USB қосқышын жұмыс істеп тұрған компьютердің USB портына қосыңыз.
Зарядтау басталады.
Батарея толық зарядталған кезде, батарея индикаторы "
" көрсетеді.
![Sony - ICD-TX650 - Зарядтау Зарядтау]()
- IC жазғышты ажыратыңыз.
Жұмыс индикаторы жанбағанына көз жеткізіңіз.
Содан кейін IC жазғышты қауіпсіз алып тастау үшін Анықтама нұсқаулығын қараңыз.
Қуатты қосу
Қуатты қосыңыз.
POWER•HOLD қосқышын терезе дисплейі пайда болғанша "POWER" бағытында жылжытып, ұстап тұрыңыз.


Қуатты өшіру үшін POWER•HOLD қосқышын "Power Off" ("Қуат өшірулі") көрсетілгенше "POWER" бағытында жылжытып, ұстап тұрыңыз.
Кездейсоқ әрекеттердің алдын алу үшін (HOLD)

* IC жазғышты HOLD күйінен шығару үшін POWER•HOLD қосқышын ортаға қарай жылжытыңыз
Бастапқы параметрлерді орнатыңыз
Қуатты бірінші рет қосқанда немесе сағат орнатылмаған кезде "Setting Date&Time" ("Күні мен уақытты орнату") пайда болады және сіз сағатты орната аласыз.

-
"Next" ("Келесі") таңдау үшін
немесе
басыңыз, содан кейін
басыңыз.
![]()
-
Жыл санын өзгерту үшін
немесе
басыңыз, содан кейін санды енгізу үшін
басыңыз.
Айды, күнді, сағатты және минутты ретімен орнату үшін осы процедураны қайталаңыз.
![]()
BACK/HOME батырмасын басу арқылы курсорды алдыңғы элементке жылжытуға болады. -
"Next" ("Келесі") таңдау үшін
немесе
басыңыз, содан кейін
басыңыз.
![]()
Сағат параметрді көрсетеді және дыбыстық сигналды қосу немесе өшіру үшін параметр терезесі көрсетіледі. -
"Yes" ("Иә") немесе "No" ("Жоқ") таңдау үшін
немесе
басыңыз, содан кейін
басыңыз.
![]()
Дыбыстық сигналды орнатуды аяқтаған кезде, HOME мәзірінің терезесі көрсетіледі.
Ескертпелер
- Егер сіз бастапқы параметрлерде 1 минут ішінде ешқандай батырманы баспасаңыз, дисплей терезесінде "Quit Initial Set-up?" ("Бастапқы орнатудан шығу керек пе?") немесе "Quit Beep Settings?" ("Дыбыстық сигнал параметрлерінен шығу керек пе?") пайда болады.
- Сағат параметрін және дыбыстық сигнал параметрін кейінірек орнатуға болады. Толық мәліметтерді IC жазғыштың Анықтама нұсқаулығынан қараңыз.
Мәзір тілін таңдаңыз

- BACK/HOME батырмасын басып тұрыңыз.
- "
Settings - "Common Settings" - "Language" ("Параметрлер" - "Жалпы параметрлер" - "Тіл") таңдау үшін
немесе
басыңыз, содан кейін
басыңыз.
![]()
-
Дисплей терезесінде пайдаланғыңыз келетін тілді таңдау үшін
немесе
басыңыз, содан кейін
басыңыз.
Сіз келесі тілдерді таңдай аласыз: Deutsch (неміс), English (ағылшын)*, Español (испан), Français (француз), Italiano (итальян), Русский (орыс),
(корей),
(қытай),
(қытай) және
(тай)
* Әдепкі параметр -
HOME мәзіріне оралу үшін BACK/HOME батырмасын басып тұрыңыз.
Жазу

Ескертпе
IC жазғышты пайдалануды бастамас бұрын, HOLD күйін босату үшін POWER•HOLD қосқышын ортаға қарай жылжытыңыз.
-
басыңыз.
Жазу басталады және жұмыс индикаторы қызыл түспен жанады.
![]()
-
Кіріктірілген микрофондар жазылатын көздің бағытына қарайтындай етіп IC жазғышты орналастырыңыз.
-
Жазуды тоқтату үшін
қайтадан басыңыз.
"Saving..." ("Сақталуда...") пайда болады және дисплей жазуды тоқтату режимі терезесіне оралады.
Жазуды тоқтатқаннан кейін
басу арқылы жаңа жазылған файлды ойнатуға болады.
Тыңдау

- HOME мәзірінен " таңдау үшін
немесе
басыңыз, содан кейін
басыңыз. - Қажетті қалтаны таңдау үшін
немесе
басыңыз, содан кейін
басыңыз. - Қажетті файлды таңдау үшін
немесе
басыңыз, содан кейін
басыңыз.
Ойнату басталады және жұмыс индикаторы жасыл түспен жанады.
![]()
- VOL –/+ басу арқылы дыбыс деңгейін реттеңіз.
- Ойнатуды тоқтату үшін
басыңыз.
Жою

Ескертпе
Файл жойылғаннан кейін, оны қалпына келтіру мүмкін емес.
- Жазылған файлдар тізімінен жойғыңыз келетін файлды таңдаңыз немесе жойғыңыз келетін файлды ойнатыңыз.
- OPTION түймесін басыңыз,
немесе
түймесін басып, "Delete a File" ("Файлды жою") тармағын таңдаңыз, содан кейін
түймесін басыңыз.
"Delete?" ("Жою керек пе?") деген сұрақ пайда болады және растау үшін көрсетілген файл ойнатылады.
![]()
-
немесе
түймесін басып, "Yes" ("Иә") тармағын таңдаңыз, содан кейін
түймесін басыңыз.
Дисплей терезесінде "Please Wait" ("Күте тұрыңыз") деген хабарлама пайда болады және таңдалған файл жойылады.
![]()
HOME мәзірін пайдалану
BACK/HOME түймесін басып тұру арқылы әрбір функцияны пайдалану үшін HOME мәзірін көрсете аласыз.
HOME мәзірі IC жазғышта функцияны таңдауға, жазылған файлдарды іздеуге немесе параметрлерді өзгертуге мүмкіндік береді.

- BACK/HOME түймесін басып тұрыңыз.
HOME мәзірінің терезесі пайда болады.
![]()
HOME мәзірінің элементтері келесі ретпен тураланады.
![]()
* Қазір пайдаланып жатқан функцияңыз "XX" ішінде көрсетіледі. - Пайдаланғыңыз келетін функцияны таңдау үшін
немесе
түймесін басыңыз, содан кейін
түймесін басыңыз.
Төменде көрсетілген функцияларды таңдауға болады:
![]() Podcast | Компьютерден импортталған подкаст файлдарын таңдап, ойнатуға болады. |
![]() Music | Компьютерден импортталған музыкалық файлдарды таңдап, ойнатуға болады. |
![]() Recorded Files | IC жазғышты пайдаланып жазылған файлдарды таңдап, ойнатуға болады. Жазылған файлдар ҚАПШЫҚТА сақталады. |
![]() Record | Жазу терезесін көрсетуге болады. Жазуды бастау үшін түймесін басыңыз. |
![]() Settings | Параметрлер мәзірін көрсетіп, IC жазғышта әртүрлі параметрлерді өзгертуге болады. |
![]() Return to XX* | HOME мәзіріне кірмес бұрын көрсетілген терезеге оралу үшін осы элементті таңдаңыз. * Қазір пайдаланып жатқан функцияңыз "XX" ішінде көрсетіледі. |
OPTION мәзірін пайдалану
OPTION түймесін басу арқылы OPTION мәзірін көрсетуге болады. OPTION мәзірінің элементтері IC жазғыштың әрбір функциясы үшін әртүрлі болады және әртүрлі параметрлерді өзгертуге мүмкіндік береді.

- HOME мәзірінен пайдаланғыңыз келетін функцияны таңдаңыз,
түймесін басыңыз, содан кейін OPTION түймесін басыңыз.
Таңдаған функцияңыз үшін OPTION мәзірінің элементтері көрсетіледі.
![]()
- Параметрді орнатқыңыз келетін мәзір элементін таңдау үшін
немесе
түймесін басыңыз, содан кейін
түймесін басыңыз. - Орнатқыңыз келетін параметрді таңдау үшін
немесе
түймесін басыңыз, содан кейін
түймесін басыңыз.
Ескертпе
Әрбір функциямен параметр элементтерінің мәліметтері туралы анықтамалық нұсқаулықты қараңыз.
IC жазғыштан компьютерге файлдарды көшіру
Файлдарды және қалталарды сақтау үшін IC жазғыштан компьютерге көшіруге болады.
- IC жазғышты компьютерге қосыңыз.
- Компьютерге тасымалдағыңыз келетін файлдарды немесе қалталарды көшіріңіз.
Көшіргіңіз келетін файлдарды немесе қалталарды "IC RECORDER" ішінен компьютердегі жергілікті дискіге апарып тастаңыз.
Файлды немесе қалтаны көшіру (апарып тастау)
![Sony - ICD-TX650 - IC жазғыштан компьютерге файлдарды көшіру IC жазғыштан компьютерге файлдарды көшіру]()
- IC жазғышты компьютерден ажыратыңыз.
Sound Organizer бағдарламасын орнату
Sound Organizer бағдарламасын компьютерге орнатыңыз.
Sound Organizer IC жазғыш пен компьютер арасында файлдармен алмасуға мүмкіндік береді.
Музыкалық CD-лерден және басқа медиадан импортталған әндерді, компьютерге импортталған MP3 және басқа аудио файлдарды, сондай-ақ подкасттарды ойнатуға және IC жазғышқа тасымалдауға болады.
Ескертпе
Sound Organizer тек Windows компьютерлерімен үйлесімді. Ол Mac-пен үйлесімді емес.
Sound Organizer бағдарламасын орнатқан кезде, әкімші құқықтары бар тіркелгіге кіріңіз.
- Жеткізілген USB кабелін пайдаланып, USB қосқыш қақпағының ішіндегі USB қосқышын жұмыс істеп тұрған компьютердің USB портына қосыңыз.
![Sony - ICD-TX650 - Sound Organizer бағдарламасын орнату Sound Organizer бағдарламасын орнату]()
- IC жазғыштың дұрыс танылғанына көз жеткізіңіз.
IC жазғыш компьютерге қосылған кезде, IC жазғыштың дисплей терезесінде "Connecting" ("Қосылуда") көрсетіледі. - [Start] ("Бастау") мәзіріне өтіп, [Computer] ("Компьютер") тармағын басыңыз, содан кейін [IC RECORDER] → [FOR WINDOWS] тармағын екі рет басыңыз.
- [SoundOrganizer_V1601] (немесе [SoundOrganizer_V1601.exe]) тармағын екі рет басыңыз.
Экранда пайда болатын нұсқауларды орындаңыз. - Лицензиялық келісімнің шарттарын қабылдағаныңызға көз жеткізіңіз, [I accept the terms in the license agreement] ("Лицензиялық келісімнің шарттарын қабылдаймын") тармағын таңдаңыз, содан кейін [Next] ("Келесі") тармағын басыңыз.
- [Setup Type] ("Орнату түрі") терезесі пайда болғанда, [Standard] ("Стандартты") немесе [Custom] ("Реттелетін") тармағын таңдаңыз, содан кейін [Next] ("Келесі") тармағын басыңыз.
Экрандағы нұсқауларды орындаңыз және [Custom] ("Реттелетін") тармағын таңдаған кезде орнату параметрлерін орнатыңыз. - [Ready to Install the Program] ("Бағдарламаны орнатуға дайын") терезесі пайда болғанда, [Install] ("Орнату") тармағын басыңыз.
Орнату басталады. - [Sound Organizer has been installed successfully.] ("Sound Organizer сәтті орнатылды.") терезесі пайда болғанда, [Launch Sound Organizer Now] ("Sound Organizer бағдарламасын қазір іске қосу") құсбелгісін қойыңыз, содан кейін [Finish] ("Аяқтау") тармағын басыңыз.
Ескертпе
Sound Organizer бағдарламасын орнатқаннан кейін компьютеріңізді қайта іске қосу қажет болуы мүмкін.
Ескертпе
Егер кірістірілген жадты пішімдесеңіз, онда сақталған барлық деректер жойылады. (Sound Organizer бағдарламалық жасақтамасы да жойылады.)
Сақтық шаралары
Қуат туралы
- DC 3.7 V: Кірістірілген қайта зарядталатын литий-ионды батареяны пайдаланыңыз
- DC 5.0 V: USB айнымалы ток адаптерін пайдаланған кезде
Номиналды ток тұтыну: 500 мА
Қауіпсіздік туралы
Көлік жүргізіп бара жатқанда, велосипедпен жүргенде немесе кез келген моторлы көлікті басқарып бара жатқанда құрылғыны пайдаланбаңыз.
Өңдеу туралы
- Құрылғыны жылу көздерінің жанында немесе тікелей күн сәулесі түсетін, шаңы көп немесе механикалық соққыға ұшырайтын жерде қалдырмаңыз.
- Қатты зат немесе сұйықтық құрылғыға түсіп кетсе, оны одан әрі пайдаланбас бұрын құрылғыны білікті қызметкерлерге тексертіңіз.
- IC жазғышты пайдаланған кезде, корпустың майысуын немесе IC жазғыштың дұрыс жұмыс істемеуін болдырмау үшін төмендегі сақтық шараларын орындауды ұмытпаңыз.
- IC жазғыш артқы қалтаңызда болған кезде отырмаңыз.
- IC жазғышты құлаққап/құлаққап сымы оралған сөмкеге салып, сөмкені қатты соққыға ұшыратпаңыз.
Құрылғыңызға қатысты сұрақтарыңыз немесе мәселелеріңіз болса, жақын жердегі Sony дилеріне хабарласыңыз.
Батареяларды (батарея жинағын немесе орнатылған батареяларды) ұзақ уақыт бойы күн сәулесі, от немесе сол сияқты шамадан тыс қызуға ұшыратпаңыз.
Сыйымдылық (Пайдаланушыға қолжетімді сыйымдылық*1*2)
16 ГБ (шамамен 14,40 ГБ = 15 461 882 265 Байт)
*1 Ішкі жадтың аз мөлшері файлдарды басқару үшін пайдаланылады, сондықтан пайдаланушы сақтау үшін қолжетімді емес.
*2 Кірістірілген жад IC жазғышпен пішімделген кезде.
Өлшемдері (ені/биіктігі/тереңдігі) (шығыңқы бөліктер мен басқару элементтерін қоспағанда)
Шамамен 102,0 мм × 20,0 мм × 7,4 мм
Массасы
Шамамен 29 г
Жеткізілген элементтерді тексеріңіз
- IC жазғыш (1)
- USB кабелі (1)
- Тасымалдау қапшығы (1)
- Іске қосу нұсқаулығы (осы парақ)
- Кепілдік талоны (Кореядағы тұтынушылар үшін)
- Қолданбалық бағдарламалық жасақтама, Sound Organizer (Компьютеріңізге орнату үшін кірістірілген жадта сақталған орнату файлы.)
Сауда белгілері
- Microsoft, Windows және Windows Media — Microsoft Corporation компаниясының Америка Құрама Штаттарындағы және/немесе басқа елдердегі тіркелген сауда белгілері немесе сауда белгілері.
- macOS — Apple Inc. компаниясының АҚШ-та және басқа елдерде тіркелген сауда белгісі.
- MPEG Layer-3 аудио кодтау технологиясы және Fraunhofer IIS және Thomson компанияларынан лицензияланған патенттер.
Барлық басқа сауда белгілері мен тіркелген сауда белгілері тиісті иеленушілердің сауда белгілері немесе тіркелген сауда белгілері болып табылады. Сонымен қатар, "™" және "®" әр жағдайда осы нұсқаулықта көрсетілмеген.
Бұл өнім Microsoft Corporation компаниясының белгілі бір интеллектуалдық меншік құқықтарымен қорғалған. Мұндай технологияны осы өнімнен тыс пайдалануға немесе таратуға Microsoft корпорациясының немесе уәкілетті Microsoft еншілес компаниясының лицензиясынсыз тыйым салынады.

Нұсқаулықты жүктеп алу
Мұнда нұсқаулықтың толық pdf нұсқасын жүктеп алуға болады, онда қосымша қауіпсіздік нұсқаулары, кепілдік туралы ақпарат, FCC ережелері және т.б. болуы мүмкін.
Sony ICD-TX650 - IC жазғышты іске қосу нұсқаулығы жүктеп алу
(жазу/жазуды тоқтату) батырмасы
(белгі/жылдам алға) батырмасы
(ойнату/енгізу/тоқтату) батырмасы*1
(шолу/жылдам артқа) батырмасы
(құлаққаптар) ұясы
" көрсетеді.




Settings - "Common Settings" - "Language" ("Параметрлер" - "Жалпы параметрлер" - "Тіл") таңдау үшін 
(корей),
(қытай),
(қытай) және
(тай)





түймесін басыңыз, содан кейін
түймесін басыңыз.



түймесін басыңыз.

түймесін басыңыз, содан кейін OPTION түймесін басыңыз.
немесе
түймесін басыңыз, содан кейін
түймесін басыңыз.
