Pioneer MVH-S210DAB - Skaitmeninės medijos imtuvo greitas pradžios vadovas

Prieš pradedant
Šis vadovas skirtas supažindinti su pagrindinėmis šio įrenginio funkcijomis.
Norėdami gauti daugiau informacijos, žr. naudojimo instrukciją, esančią svetainėje.
https://www.pioneer-car.eu/eur/
Kad užtikrintumėte tinkamą naudojimą, prieš naudodami šį gaminį perskaitykite šį vadovą. Ypač svarbu, kad perskaitytumėte ir laikytumėtės ĮSPĖJIMŲ ir ATSARGUMO PRIEMONIŲ, pateiktų šiame vadove. Laikykite vadovą saugioje ir lengvai pasiekiamoje vietoje, kad galėtumėte pasinaudoti ateityje.

Jei norite išmesti šį gaminį, nemaišykite jo su buitinėmis atliekomis. Pagal teisės aktus, reikalaujančius tinkamo apdorojimo, utilizavimo ir perdirbimo, naudotiems elektroniniams gaminiams taikoma atskira surinkimo sistema.
Privatūs namų ūkiai ES valstybėse narėse, Šveicarijoje ir Norvegijoje gali nemokamai grąžinti savo naudotus elektroninius gaminius į tam skirtas surinkimo vietas arba mažmenininkui (jei perkate panašų naują).
Šalims, kurios nepaminėtos aukščiau, kreipkitės į vietos valdžios institucijas dėl tinkamo utilizavimo būdo. Taip užtikrinsite, kad jūsų išmestas gaminys bus tinkamai apdorotas, utilizuotas ir perdirbtas, ir taip išvengsite galimo neigiamo poveikio aplinkai ir žmonių sveikatai.
- Nemėginkite patys įdiegti ar aptarnauti šio gaminio. Šio gaminio įrengimas ar aptarnavimas asmenų, neturinčių elektroninės įrangos ir automobilių priedų mokymo ir patirties, gali būti pavojingas ir gali sukelti elektros smūgio, sužalojimo ar kitų pavojų riziką.
- Nemėginkite valdyti įrenginio vairuodami. Prieš bandydami naudoti įrenginio valdiklius, įsitikinkite, kad sustojote kelkraštyje ir pastatėte transporto priemonę saugioje vietoje.
- Neleiskite šiam įrenginiui liestis su drėgme ir (arba) skysčiais. Gali įvykti elektros smūgis. Be to, dėl kontakto su skysčiais gali būti sugadintas šis įrenginys, atsirasti dūmų ir perkaisti.
- Visada palaikykite tokį garsumą, kad girdėtumėte išorinius garsus.
- "Pioneer CarStereo-Pass" skirtas naudoti tik Vokietijoje.
- Šis gaminys įvertintas vidutinio ir atogrąžų klimato sąlygomis pagal garso, vaizdo ir panašios elektroninės aparatūros - saugos reikalavimus, IEC 60065.
Jei kyla problemų
Jei šis įrenginys neveikia tinkamai, kreipkitės į savo pardavėją arba artimiausią įgaliotąją PIONEER techninės priežiūros stotį.
Jungtys
- Jei šį įrenginį montuojate transporto priemonėje, kurios uždegimo jungiklyje nėra ACC (priedų) padėties, neprijungus raudono laido prie gnybto, kuris aptinka uždegimo rakto veikimą, akumuliatorius gali išsikrauti.
![Pioneer - MVH-S210DAB - ACC position ACC position]()
- Naudojant šį įrenginį kitomis sąlygomis nei nurodyta toliau, gali kilti gaisras arba įvykti gedimas.
- Transporto priemonės su 12 voltų akumuliatoriumi ir neigiamu įžeminimu.
- Kai garsiakalbio išvestis naudojama 4 kanalams, naudokite garsiakalbius, kurių galia viršija 50 W (maksimali įėjimo galia) ir kurių varža yra nuo 4 Ω iki 8 Ω. Nenaudokite 1 Ω iki 3 Ω garsiakalbių šiam įrenginiui.
- Kai galinio garsiakalbio išvestis naudojama 2 Ω žemų dažnių garsiakalbiui, naudokite garsiakalbius, kurių galia viršija 70 W (maksimali įėjimo galia).
* Informacijos apie prijungimo būdą ieškokite jungtyse.
- Kad išvengtumėte trumpojo jungimo, perkaitimo ar gedimo, būtinai laikykitės toliau pateiktų nurodymų.
- Prieš montuodami atjunkite neigiamą akumuliatoriaus gnybtą.
- Pritvirtinkite laidus kabelių spaustukais arba lipnia juosta. Apvyniokite lipnią juostą aplink laidus, kurie liečiasi su metalinėmis dalimis, kad apsaugotumėte laidus.
- Nutieskite visus kabelius toliau nuo judančių dalių, tokių kaip pavarų perjungimo svirtis ir sėdynių bėgeliai.
- Nutieskite visus kabelius toliau nuo karštų vietų, pavyzdžiui, šalia šildytuvo išėjimo angos.
- Nejunkite geltono laido prie akumuliatoriaus, pravesdami jį per angą į variklio skyrių.
- Uždenkite visas atjungtas kabelių jungtis izoliacine juosta.
- Netrumpinkite jokių kabelių.
- Niekada neperpjaukite šio įrenginio maitinimo kabelio izoliacijos, kad galėtumėte dalytis maitinimu su kitais įrenginiais. Kabelio srovės pralaidumas yra ribotas.
- Naudokite nurodyto nominalo saugiklį.
- Niekada nejunkite neigiamo garsiakalbio kabelio tiesiai prie įžeminimo.
- Niekada nesujunkite kelių garsiakalbių neigiamų kabelių.
- Kai šis įrenginys įjungtas, valdymo signalai siunčiami per mėlyną/baltą kabelį. Prijunkite šį kabelį prie išorinio galios stiprintuvo sistemos nuotolinio valdymo pulto arba transporto priemonės automatinės antenos relės valdymo gnybto (maks. 300mA 12 V DC). Jei transporto priemonėje yra stiklinė antena, prijunkite ją prie antenos stiprintuvo maitinimo gnybto.
- Niekada nejunkite mėlyno/balto kabelio prie išorinio galios stiprintuvo maitinimo gnybto. Taip pat niekada nejunkite jo prie automatinės antenos maitinimo gnybto. Tai gali sukelti akumuliatoriaus išsikrovimą arba gedimą.
- Juodas kabelis yra įžeminimas. Šio įrenginio ir kitos įrangos (ypač didelės srovės gaminių, tokių kaip galios stiprintuvai) įžeminimo kabeliai turi būti nutiesti atskirai. Jei jie nėra atskirti, atsitiktinis atjungimas gali sukelti gaisrą arba gedimą.
- Grafinis simbolis
ant gaminio reiškia nuolatinę srovę. - Funkcijos ir garso nustatymai, išskyrus RCA išankstinių išėjimų nustatymą, išsaugomi atmintyje, jei įrenginys atjungiamas nuo maitinimo šaltinio.
Šis įrenginys

- DAB antenos įvestis
Norėdami priimti DAB signalus, prijunkite DAB anteną (AN-DAB1) (parduodama atskirai) prie įrenginio. - Maitinimo laido įvestis
- Galinė išvestis arba žemų dažnių garsiakalbio išvestis
- Priekinė išvestis
- Antenos įvestis
- Saugiklis (10 A)
- Laidinė nuotolinio valdymo pulto įvestis
Galima prijungti laidinį nuotolinio valdymo adapterį (parduodamas atskirai).
Maitinimo laidas

- Į maitinimo laido įvestį
- Priklausomai nuo transporto priemonės tipo,
ir
funkcija gali skirtis. Tokiu atveju būtinai prijunkite
prie
ir
prie
. - Geltonas
Atsarginis (arba priedas) - Geltonas
Prijunkite prie pastovaus 12 V maitinimo gnybto. - Raudonas
Priedas (arba atsarginis) - Raudonas
Prijunkite prie gnybto, valdomo uždegimo jungikliu (12 V DC). - Prijunkite tos pačios spalvos laidus vienas prie kito.
- Juodas (važiuoklės įžeminimas)
- Mėlynas/baltas
ISO jungties kaiščio padėtis skirsis priklausomai nuo transporto priemonės tipo. Prijunkite
ir
, kai 5 kaištis yra antenos valdymo tipo. Kitokio tipo transporto priemonėje niekada nejunkite
ir
. - Mėlynas/baltas
Prijunkite prie galios stiprintuvo sistemos valdymo gnybto (maks. 300 mA 12 V DC). - Mėlynas/baltas
Prijunkite prie automatinės antenos relės valdymo gnybto (maks. 300 mA 12 V DC). - Geltonas/juodas
Jei naudojate įrangą su nutildymo funkcija, prijunkite šį laidą prie tos įrangos garso nutildymo laido. Jei ne, palikite garso nutildymo laidą be jokių jungčių. - Garsiakalbio laidai
Baltas: Priekinis kairysis![]()
Baltas/juodas: Priekinis kairysis![]()
Pilkas: Priekinis dešinysis![]()
Pilkas/juodas: Priekinis dešinysis![]()
Žalias: Galinis kairysis
arba žemų dažnių garsiakalbis ![]()
Žalias/juodas: Galinis kairysis
arba žemų dažnių garsiakalbis ![]()
Violetinis: Galinis dešinysis
arba žemų dažnių garsiakalbis ![]()
Violetinis/juodas: Galinis dešinysis
arba žemų dažnių garsiakalbis ![]()
- ISO jungtis
Kai kuriose transporto priemonėse ISO jungtis gali būti padalinta į dvi. Tokiu atveju būtinai prijunkite prie abiejų jungčių.
PASTABOS
- Pakeiskite pradinį šio įrenginio meniu. Žr. [SP-P/O MODE]. Šio įrenginio žemų dažnių garsiakalbio išvestis yra monofoninė.
- Naudodami 2 Ω žemų dažnių garsiakalbį, būtinai prijunkite žemų dažnių garsiakalbį prie violetinių ir violetinių/juodų šio įrenginio laidų. Neprijunkite nieko prie žalių ir žalių/juodų laidų.
Galios stiprintuvas (parduodamas atskirai)
Atlikite šias jungtis, kai naudojate papildomą stiprintuvą.

- Sistemos nuotolinio valdymo pultas
Prijunkite prie mėlyno/balto kabelio. - Galios stiprintuvas (parduodamas atskirai)
- Prijunkite RCA kabeliais (parduodami atskirai)
- Į priekinę išvestį
- Priekinis garsiakalbis
- Į galinę išvestį arba žemų dažnių garsiakalbio išvestį
- Galinis garsiakalbis arba žemų dažnių garsiakalbis
Įdiegimas
-
Prieš galutinai įdiegdami, patikrinkite visas jungtis ir sistemas.
-
Nenaudokite neleistinų dalių, nes tai gali sukelti gedimus.
- Pasitarkite su pardavėju, jei įdiegimui reikia gręžti skyles ar kitaip modifikuoti transporto priemonę.
- Neįdiekite šio įrenginio ten, kur:
- jis gali trukdyti transporto priemonės valdymui.
- dėl staigaus sustojimo jis gali sužaloti keleivį.
- Įdiekite šį įrenginį toliau nuo karštų vietų, pavyzdžiui, šalia šildytuvo išėjimo angos.
- Optimalus veikimas pasiekiamas, kai įrenginys įrengiamas mažesniu nei 60° kampu.
![]()
- Įrengdami, kad užtikrintumėte tinkamą šilumos išsklaidymą naudojant šį įrenginį, įsitikinkite, kad paliekate pakankamai vietos už galinio skydelio ir apvyniokite visus palaidus laidus, kad jie neužstotų ventiliacijos angų.
![Pioneer - MVH-S210DAB - Įdiegimas Įdiegimas]()
DIN tvirtinimo įdiegimas
- Įkiškite pateiktą tvirtinimo įvorę į prietaisų skydelį.
- Užfiksuokite tvirtinimo įvorę atsuktuvu užlenkdami metalinius skirtukus (90°) į vietą.

- Prietaisų skydelis
- Tvirtinimo įvorė
- Įsitikinkite, kad įrenginys yra tvirtai įdėtas į vietą. Nestabilus įdiegimas gali sukelti praleidimus ar kitus gedimus.
Kai nenaudojate pateiktos tvirtinimo įvorės
- Nustatykite tinkamą padėtį, kurioje sutampa kronšteino ir įrenginio šono skylės.
![Pioneer - MVH-S210DAB - DIN tvirtinimo įdiegimas - 2 žingsnis DIN tvirtinimo įdiegimas - 2 žingsnis]()
- Priveržkite du varžtus kiekvienoje pusėje.
- Sriegiklis (5 mm × 9 mm, nepridedamas prie gaminio)
- Tvirtinimo kronšteinas
- Prietaisų skydelis arba konsolė
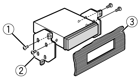
Įrenginio išėmimas (įdiegto su pateikta tvirtinimo įvore)
- Nuimkite apdailos žiedą.
- Apdailos žiedas
- Įpjautas skirtukas
- Atlaisvinus priekinį skydelį, lengviau pasieksite apdailos žiedą.
- Vėl pritvirtindami apdailos žiedą, nukreipkite pusę su įpjautu skirtuku žemyn.
- Įkiškite pateiktus ištraukimo raktus į abi įrenginio puses, kol jie užsifiksuos.
- Ištraukite įrenginį iš prietaisų skydelio.
![Pioneer - MVH-S210DAB - Įrenginio išėmimas - 2 žingsnis Įrenginio išėmimas - 2 žingsnis]()
Pagrindinis valdymas
MVH-S210DAB

Apie pagrindinį meniu
Pagrindiniame meniu galite reguliuoti įvairius nustatymus.
- Paspauskite M.C. ratuką, kad būtų rodomas pagrindinis meniu.
- Pasukite M.C. ratuką, kad pasirinktumėte vieną iš toliau pateiktų kategorijų, tada paspauskite, kad patvirtintumėte.
- FUNCTION (FUNKCIJA) nustatymai
- AUDIO (AUDIO) nustatymai
- SYSTEM (SISTEMA) nustatymai
- ILLUMINATION (APŠVIETIMAS) nustatymai
- Pasukite M.C. ratuką, kad pasirinktumėte parinktis, tada paspauskite, kad patvirtintumėte.
Dažnai naudojamos operacijos
| Tikslas | Operacija |
| Įjunkite maitinimą | Paspauskite SRC/OFF , kad įjungtumėte maitinimą. Paspauskite ir palaikykite SRC/OFF , kad išjungtumėte maitinimą. |
| Sureguliuokite garsumą | Pasukite M.C. ratuką. |
| Pasirinkite šaltinį | Pakartotinai paspauskite SRC/OFF. |
| Pakeiskite ekrano informaciją | Pakartotinai paspauskite DISP . |
| Grįžkite į ankstesnį ekraną/sąrašą | Paspauskite BAND/ . |
| Grįžkite į įprastą ekraną iš meniu | Paspauskite ir palaikykite BAND/ . |
| Pakeiskite ekrano ryškumą | Paspauskite ir palaikykite BAND/ . |
| Padidinkite žemų dažnių lygį | Paspauskite BASS.
|
Sąrankos operacija
Kai po įdiegimo įjungiate degimo jungiklį į ON (ĮJUNGTA) padėtį, ekrane pasirodo [SET UP:YES] (SĄRANKA:TAIP).
- Paspauskite M.C. ratuką.
- Pasukite M.C. ratuką, kad pasirinktumėte parinktis, tada paspauskite, kad patvirtintumėte. Norėdami pereiti prie kitos meniu parinkties, turite patvirtinti savo pasirinkimą.
| Meniu elementas | Aprašymas |
| LANGUAGE (KALBA) [ENG](Anglų), [РУС](Rusų), [TUR](Turkų) | Pasirinkite kalbą, kad būtų rodoma tekstinė informacija iš suspausto garso failo. |
| CLOCK SET (LAIKRODŽIO NUSTATYMAS) | Nustatykite laikrodį.
|
| FM STEP (FM ŽINGSNIS) [100], [50] | Pasirinkite FM derinimo žingsnį iš 100 kHz arba 50 kHz. |
| DAB ANT PW(DAB ANTENOS MAITINIMAS) [ON] (ĮJUNGTA) | Tiekkite maitinimą DAB antenai. Pasirinkite šią parinktį, kai su įrenginiu naudojate papildomą DAB anteną (AN-DAB1, parduodama atskirai). |
| [OFF] (IŠJUNGTA) | Maitinimas DAB antenai netiekiamas. Pasirinkite šią parinktį, kai naudojate pasyvią anteną be stiprintuvo. |
- [QUIT:YES] (IŠEITI:TAIP) pasirodo, kai visi nustatymai buvo atlikti. Norėdami grįžti į pirmąjį sąrankos meniu elementą, pasukite M.C. ratuką, kad pasirinktumėte [QUIT:NO] (IŠEITI:NE), tada paspauskite, kad patvirtintumėte.
- Paspauskite M.C. ratuką, kad patvirtintumėte nustatymus. Kai [DAB ANT PW] (DAB ANTENOS MAITINIMAS) nustatytas į [ON] (ĮJUNGTA), ekrane pasirodo [UPDATING LIST] (ATNAUJINAMAS SĄRAŠAS) ir bus atnaujintas paslaugų sąrašas.
Tunerio valdymas
Iš anksto nustatytų stočių priėmimas
- Paspauskite SRC/OFF, kad pasirinktumėte [RADIO] (RADIJAS).
- Paspauskite BAND/
, kad pasirinktumėte juostą.
[FM1]
[FM2]
[FM3]
[MW]/[LW] - Paspauskite skaičių mygtuką (1/
iki 6/
).
Geriausių stočių atmintis (BSM)
- Pasirinkę juostą, paspauskite M.C. ratuką, kad būtų rodomas pagrindinis meniu.
- Pasukite M.C. ratuką, kad pasirinktumėte [FUNCTION] (FUNKCIJA), tada paspauskite, kad patvirtintumėte.
- Pasukite M.C. ratuką, kad pasirinktumėte [BSM], tada paspauskite, kad patvirtintumėte.
Norėdami įrašyti stotis rankiniu būdu
- Priimdami stotį, kurią norite įrašyti, paspauskite ir palaikykite vieną iš skaičių mygtukų (1/
iki 6/
), kol jis nustos mirksėti.
USB/iPod®/AUX valdymas
USB/iPod
- Atidarykite USB prievado dangtelį.
- Prijunkite USB įrenginį/iPod naudodami atitinkamą laidą.
MTP jungtis
Įrenginį, įdiegtą su Android OS 4.0 arba dauguma vėlesnių versijų, galima prijungti prie įrenginio per MTP, naudojant laidą, pateiktą kartu su Android įrenginiu. Tačiau, priklausomai nuo prijungto įrenginio, OS versijos arba failų skaičiaus įrenginyje, garso failų/dainų gali nepavykti atkurti per MTP.
PASTABA
Jei naudojate MTP jungtį, [ANDROID WIRED] (ANDROID SU LAIDU) sistemos nustatymuose turi būti nustatytas į [MEMORY] (ATMINTIS).
AUX
- Įkiškite stereo mini kištuką į AUX įvesties lizdą.
- Paspauskite SRC/OFF, kad pasirinktumėte [AUX] kaip šaltinį.
Ryšio užmezgimas su Pioneer ARC APP
Pioneer pažangi programa paverčia jūsų suderinamą išmanųjį telefoną galingu jutikliniu nuotolinio valdymo pultu.

Nebandykite valdyti programos vairuodami. Prieš bandydami naudoti programos valdiklius, įsitikinkite, kad pasitraukėte nuo kelio ir pastatėte transporto priemonę saugioje vietoje.
Užmezgant ryšį su Android įrenginiu
- Įeikite į SYSTEM (SISTEMA) meniu (žr. "Apie pagrindinį meniu").
- Pasukite M.C. ratuką, kad pasirinktumėte [ANDROID WIRED] (ANDROID SU LAIDU), tada paspauskite, kad patvirtintumėte.
- Pasukite M.C. ratuką, kad pasirinktumėte [APP CONTROL] (PROGRAMOS VALDYMAS), tada paspauskite, kad patvirtintumėte.
- Pasukite M.C. ratuką, kad pasirinktumėte [P.APP AUTO ON] (P.APP AUTOMATINIS ĮJUNGIMAS), tada paspauskite, kad patvirtintumėte.
- Pasukite M.C. ratuką, kad pasirinktumėte [ON] (ĮJUNGTA), tada paspauskite, kad patvirtintumėte.
- Prijunkite šį įrenginį prie įrenginio per USB.
Pioneer ARC APP Android įrenginyje paleidžiama automatiškai.
Užmezgant ryšį su iPhone
- Prijunkite šį įrenginį prie iPhone per USB.
- Paspauskite SRC/OFF, kad pasirinktumėte bet kurį šaltinį.
- Paspauskite ir palaikykite M.C. ratuką. Pioneer ARC APP iPhone paleidžiama.
PASTABA
Jei ryšys nepavyksta, paleiskite Pioneer ARC APP iPhone.
Klausymas per "Spotify®"
(Suderinama tik su "Spotify", įdiegta "iPhone" telefone)
Prieš naudodami atnaujinkite "Spotify" programos programinę-aparatinę įrangą į naujausią versiją.
Prieš pradėdami, prijunkite šį įrenginį prie mobiliojo įrenginio per USB (tik "iPhone").
- Paspauskite SRC/OFF , kad pasirinktumėte [SPOTIFY].
- Paleiskite "Spotify" programą mobiliajame įrenginyje ir pradėkite atkūrimą.
Atitikties deklaracija dėl Radijo įrangos direktyvos 2014/53/ES
| Gamintojas: Pioneer Corporation 28-8, Honkomagome 2-chome, Bunkyo-ku, Tokyo 113-0021, Japan | ES atstovo ir importuotojo: Pioneer Europe NV Haven 1087, Keetberglaan 1, 9120 Melsele, Belgium http://www.pioneer-car.eu |

Nuorodos
Car GPS Navigation – Multimedia Receiver – Digital Bass Control | Pioneer
Car GPS Navigation – Multimedia Receiver – Digital Bass Control | Pioneer
Atsisiųsti instrukciją
Čia galite atsisiųsti visą pdf instrukcijos versiją, kurioje gali būti papildomų saugos instrukcijų, garantijos informacijos, FCC taisyklių ir kt.
Atsisiųsti Pioneer MVH-S210DAB - Skaitmeninės medijos imtuvo greitas pradžios vadovas

ant gaminio reiškia nuolatinę srovę.
ir
funkcija gali skirtis. Tokiu atveju būtinai prijunkite
prie
ir
prie
ir
, kai 5 kaištis yra antenos valdymo tipo. Kitokio tipo transporto priemonėje niekada nejunkite 





.
[FM2]
iki 6/
).