Bang & Olufsen BeoLab 8002 - Speakers Manual

Saugumas
Kad sumažintumėte gaisro arba elektros smūgio riziką, nelaikykite šio prietaiso lietuje ar drėgmėje. Saugokite, kad ant šios įrangos nelašėtų ir neaptaškytų skysčiai, ir užtikrinkite, kad ant įrangos nebūtų pastatyti indai su skysčiais, pavyzdžiui, vazos.
Norėdami visiškai atjungti šią įrangą nuo kintamosios srovės maitinimo tinklo, atjunkite maitinimo kištuką nuo sieninio lizdo. Atjungimo įrenginys turi būti lengvai valdomas.
Žaibo blyksnis su rodyklės galvutės simboliu lygiakraščiame trikampyje skirtas įspėti naudotoją apie neizoliuotą "pavojingą įtampą" gaminio korpuse, kuri gali būti pakankamai didelė, kad sukeltų elektros smūgio pavojų žmonėms.
Šauktukas lygiakraščiame trikampyje skirtas įspėti naudotoją apie svarbias naudojimo ir priežiūros (aptarnavimo) instrukcijas, pateiktas kartu su gaminiu.
Kasdienis naudojimas
Kai baigsite nustatyti garsiakalbius, kaip aprašyta tolesniuose puslapiuose, prijunkite visą sistemą prie maitinimo tinklo. Indikatorius užsidega raudonai, rodydamas, kad garsiakalbiai yra budėjimo režime ir paruošti naudoti. Garsiakalbiai sukurti taip, kad, kai nenaudojami, būtų palikti šiame budėjimo režime.
Įjungimas ir išjungimas – indikatorius
Kai įjungiate savo Bang & Olufsen sistemą, garsiakalbiai įsijungia vienu metu. Raudonas budėjimo indikatorius užsidega žaliai, rodydamas, kad garsiakalbiai yra įjungti.
Kai išjungiate sistemą arba nutildote garsą, iš karto pasirodo raudonas indikatorius, rodydamas, kad garsiakalbiai nenaudojami.
Jei garsiakalbiai prijungti prie ne Bang & Olufsen sistemos, jie įsijungia, kai gauna signalą iš sistemos. Jie išsijungia praėjus kelioms minutėms po to, kai signalas išnyksta.
Garsiakalbio apsauga
Garsiakalbiai aprūpinti šilumine apsaugos sistema, kuri apsaugo nuo perkaitimo. Jei įvyksta klaida arba garsiakalbio blokai perkaista, sistema automatiškai perjungia garsiakalbius į budėjimo režimą, o indikatoriaus lemputė tampa oranžinė.
Norėdami atkurti situaciją:
- Atjunkite garsiakalbius nuo maitinimo tinklo.
- Palaukite, kol sistema persikraus (apie 3–5 minutes).
- Vėl prijunkite garsiakalbius prie maitinimo tinklo.
Jei problema išlieka, kreipkitės į savo Bang & Olufsen mažmenininką.

Garsiakalbio valymas
Nuvalykite dulkes nuo paviršių sausu, minkštu audiniu. Jei reikia, pašalinkite dėmes ar nešvarumus minkštu, drėgnu audiniu ir vandens bei švelnaus ploviklio, pavyzdžiui, indų ploviklio, tirpalu.
Niekada nenaudokite alkoholio ar kitų tirpiklių jokiai garsiakalbių daliai valyti!
PASTABA! Ilgalaikis klausymas dideliu garsu gali pažeisti klausą.
Garsiakalbio nustatymas
Rekomenduojame atlikti šią procedūrą:
- Atjunkite sistemą nuo maitinimo tinklo.
- Padėkite garsiakalbius savo sąrankoje.
- Nustatykite jungiklius į teisingą padėtį. Tai paaiškinta skyriuje "Garsiakalbių pritaikymas jūsų sąrankai".
- Prijunkite savo garsiakalbių sistemą.
- Vėl prijunkite visą sistemą prie maitinimo tinklo.
Jei montuojate garsiakalbį ant sieninio laikiklio, negalite surinkti pagrindo prie garsiakalbio.
PASTABA! Garsiakalbio tipo numeris nurodytas etiketėje, kuri yra lizdo skydelio dangtelio viduje.

- Įsitikinkite, kad garsiakalbiai yra pastatyti ir prijungti pagal šio vadovo instrukcijas. Kad išvengtumėte sužalojimų, naudokite tik Bang & Olufsen patvirtintus stovus ir sieninius laikiklius!
- Garsiakalbius galima visiškai išjungti tik atjungus juos nuo sieninio lizdo.
- Garsiakalbiai skirti naudoti tik patalpose, sausoje, buitinėje aplinkoje ir temperatūros diapazone nuo 10 iki 40 °C (50–105 °F).
- Atminkite, kad visi sąrankos garsiakalbiai turi būti prijungti prie maitinimo lizdo ir kad jie sukurti taip, kad visada būtų prijungti prie maitinimo tinklo, nes tai leidžia jiems įsijungti automatiškai.
- Nemėginkite atidaryti garsiakalbio. Palikite tokias operacijas kvalifikuotam aptarnaujančiam personalui!
Kolona ir pagrindas
Lengviausia surinkti pagrindą ir garsiakalbio koloną, jei garsiakalbis yra padėtas ant dviejų putplasčio pakuotės blokų – kaip parodyta.
Nuimkite mažą plastikinį cilindrą nuo sriegiuoto garsiakalbio galo ir užstumkite pagrindą ant sriegiuoto galo. Pritvirtinkite pagrindą prie kolonos su poveržle ir veržle. Atsargiai priveržkite veržlę.
Kabelių jungtys
Garsiakalbius galima naudoti su Bang & Olufsen garso, vaizdo ir jungčių sistemomis. Juos taip pat galima naudoti su ne Bang & Olufsen sistemomis. Norėdami gauti konkrečios informacijos apie savo sistemos lizdus, žiūrėkite prie sistemos pridėtą vadovą.
Maitinimo laidas: Pridedamas maitinimo laidas ir kištukas yra specialiai sukurti gaminiui. Jei pakeisite kištuką arba sugadinsite maitinimo laidą, turite nusipirkti kitą iš savo Bang & Olufsen mažmenininko!
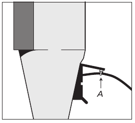
Uždėkite kabelio dangtelį aplink laidus.


Patraukite mažą dangtelį ir pakelkite jį aukštyn, kad galėtumėte pasiekti lizdo skydelį.

Saugumo sumetimais turite pritvirtinti maitinimo laidą prie juodo dangtelio naudodami pridedamą kabelio rišiklį (A).
Garsiakalbių pritaikymas jūsų sąrankai
Garsiakalbius galima pastatyti beveik bet kurioje jūsų kambario vietoje. Tačiau natūraliausias garsas gaunamas, jei jie yra nustatyti, kaip paaiškinta šiame skyriuje.
SETUP (NUSTATYMO) jungiklis

Šis jungiklis turi tris nustatymus: LEFT (Kairė), RIGHT (Dešinė) ir LINE (Linija). Nustatykite jungiklį į LEFT (Kairė) arba RIGHT (Dešinė), kai prijungiate garsiakalbius Bang & Olufsen sistemoje. Nustatykite jungiklį į LINE (Linija), kai prijungiate garsiakalbius ne Bang & Olufsen sistemoje.
...Prie Bang & Olufsen sistemos:
Naudokite Bang & Olufsen Power Link kabelius, kad prijungtumėte garsiakalbius prie savo sistemos. Nustatykite SETUP (NUSTATYMO) jungiklį į LEFT (Kairė) ir RIGHT (Dešinė) (atitinkamai kairįjį ir dešinįjį garso kanalus).
...Prie ne Bang & Olufsen sistemos:
Naudokite specialų adapterį su įprastu "phono"/RCA kištuku viename gale ir DIN kištuku kitame. Priklausomai nuo jūsų sąrankos, jums taip pat gali reikėti prijungti adapterį su "phono"/RCA ir mini lizdo kištukais (pasirenkami priedai, kuriuos galite įsigyti iš savo Bang & Olufsen mažmenininko). Nustatykite SETUP (NUSTATYMO) jungiklį į LINE (Linija).
POSITION (PADĖTIES) jungiklis

Kai garsiakalbis yra pastatytas kampe arba arti sienos, žemų dažnių lygis yra sustiprinamas, palyginti su žemų dažnių lygiu iš garsiakalbio, pastatyto laisvesnėje padėtyje.
Norėdami pašalinti šį per didelį žemų dažnių sustiprinimą, nustatykite POSITION (PADĖTIES) jungiklį, kad užtikrintumėte, jog žemų dažnių lygis atitiktų garsiakalbio padėtį. Tinkamas jungiklio nustatymas priklauso nuo atstumo nuo garsiakalbio iki sienų ir kambario kampų. Naudokite tolesnio puslapio gaires, kai nuspręsite, kurį iš trijų POSITION (PADĖTIES) jungiklio nustatymų pasirinkti – kiekviename garsiakalbyje.
Padėties zonos, parodytos kitame puslapyje, yra skirtos kaip gairės – žinoma, galite nustatyti jungiklį į bet kurį iš trijų jums labiausiai patinkančių nustatymų.

Padėties zonos: Trys nustatymai (free (laisvas), wall (siena) ir corner (kampas)) atitinka padėties zonas, pažymėtas skirtingais pilkos spalvos atspalviais.
POSITION (PADĖTIES) jungiklis turi tris nustatymus:
free (laisvas),
wall (siena) ir
corner (kampas).
free (laisvas)
Naudokite šį nustatymą, jei garsiakalbis yra pastatytas daugiau nei 15 cm (6") atstumu nuo sienos ir ne arčiau kampo nei 50 cm (20") – parodyta dideliu šviesiai pilku plotu iliustracijoje.
wall (siena)
Naudokite šį nustatymą, jei garsiakalbis yra pastatytas mažiau nei 15 cm (6") atstumu nuo sienos ir ne arčiau kampo nei 50 cm (20") – parodyta pilkomis zonomis išilgai sienų iliustracijoje.
Jei garsiakalbis yra sumontuotas ant sieninio laikiklio, naudokite šį nustatymą.
corner (kampas)
Naudokite šį nustatymą, jei garsiakalbis yra pastatytas kampe – parodyta tamsiai pilkomis zonomis iliustracijoje.

Kaip išmatuoti? Nurodyti atstumai matuojami taip, kaip parodyta čia (garsiakalbis matomas iš viršaus).
Kabelio dangtelis: Guminis vamzdelis, supakuotas su garsiakalbiais, yra kabelio dangtelis, specialiai sukurtas garsiakalbiams. Naudokite pridedamą įrankį, kad "užtrauktumėte" kabelio dangtelį, kai įdėsite į jį maitinimo laidą ir Power Link kabelį.

Specialus adapteris, detalės Nr. 6270706, gali būti naudojamas prijungti papildomas garsiakalbių poras prie jūsų Bang & Olufsen sistemos. Adapterį galima įsigyti kaip pasirenkamą priedą iš savo Bang & Olufsen mažmenininko.
Elektros ir elektroninės įrangos atliekos (EEĮA) – Aplinkos apsauga

Elektros ir elektroninė įranga, dalys ir baterijos, pažymėtos šiuo simboliu, negali būti išmetamos kartu su įprastomis buitinėmis atliekomis; visa elektros ir elektroninė įranga, dalys ir baterijos turi būti surenkamos ir išmetamos atskirai. Išmesdami elektros ir elektroninę įrangą bei baterijas naudodami jūsų šalyje prieinamas surinkimo sistemas, jūs saugote aplinką, žmonių sveikatą ir prisidedate prie apdairaus ir racionalaus gamtos išteklių naudojimo. Elektros ir elektroninės įrangos, baterijų ir atliekų surinkimas apsaugo nuo galimo gamtos užteršimo pavojingomis medžiagomis, kurių gali būti elektros ir elektronikos gaminiuose bei įrangoje. Jūsų Bang & Olufsen mažmenininkas patars jums, kaip teisingai išmesti atliekas jūsų šalyje. Jei gaminys yra per mažas, kad būtų pažymėtas simboliu, jis bus nurodytas naudotojo vadove, garantijos sertifikate arba ant pakuotės.

Šis gaminys atitinka Direktyvų 2004/108/EB ir 2006/95/EB nuostatas.
Techninės specifikacijos, funkcijos ir jų naudojimas gali būti keičiami be išankstinio įspėjimo!
Visi Bang & Olufsen gaminiai atitinka galiojančius aplinkosaugos teisės aktus visame pasaulyje.

Atsisiųsti instrukciją
Čia galite atsisiųsti visą pdf instrukcijos versiją, kurioje gali būti papildomų saugos instrukcijų, garantijos informacijos, FCC taisyklių ir kt.
Atsisiųsti Bang & Olufsen BeoLab 8002 - Speakers Manual