Guía de inicio rápido de Alcatel 1054X, 1054D


PROTEJA SU AUDICIÓN
Para evitar posibles daños auditivos, no escuche a niveles de volumen altos durante períodos prolongados. Tenga cuidado al sostener el dispositivo cerca del oído mientras el altavoz está en uso.
Su móvil

- Tecla suave izquierda
- Registros de llamadas (pantalla inactiva)
Enviar llamada - Correo de voz (pulsación larga)
- Tecla de bloqueo (pulsación larga de la tecla
) - Tecla suave derecha
- Encender/Apagar
Finalizar llamada - Alerta de vibración (Modo reunión activado)
- Tecla de navegación:
Menú/Confirmar una opción![]()
Aumentar volumen![]()
Disminuir volumen![]()
Nuevo SMS![]()
Alarma![]()
- Linterna
Teclas

Tecla de navegación
Confirmar una opción (presione el centro de la tecla)

Enviar llamada
Acceder al registro de llamadas (pantalla inactiva)

Encender/apagar el teléfono (pulsación larga)
Finalizar llamada
Volver a la inactividad

Tecla suave izquierda

Tecla suave derecha

Marcar el número del correo de voz (pulsación larga)

Desde la pantalla inactiva
- Presionar: ingresar cero
- Pulsación larga: ingresar +, "+" se utiliza para marcar una llamada internacional.
En modo de edición:
- Presionar: acceder a la tabla de símbolos
0 (agregar números)

Desde la pantalla inactiva
- Presionar: ingresar *
- Pulsación larga: bloquear el teclado
En modo de edición:
- Presionar: cambiar los métodos de entrada

Desde la pantalla inactiva
- Presionar: ingresar #
- Pulsación larga: activar/desactivar el vibrador
En modo de edición:
- Presionar: ingresar espacio

Desde la pantalla inactiva:
- Presionar: marcar '5'
- Pulsación larga: encender/apagar la linterna
Iconos de la barra de estado(1)
En 1054X:

Nivel de carga de la batería.

Nivel de recepción de la red.

Modo reunión: su teléfono vibra, pero no suena ni emite pitidos.

Modo silencio: su teléfono no suena, no emite pitidos ni vibra.

Estado de Bluetooth (Activado).

Modo avión.

Auriculares conectados.

Reloj despertador programado.

Llamadas perdidas.

Estado de la conexión GPRS.

Itinerancia (Roaming).

SMS sin leer.

Mensaje lleno.

Desvío de llamadas.

Música activada.
En 1054D:

Nivel de recepción de la red.

Desvío de llamadas.

Estado de la conexión GPRS.

Itinerancia (Roaming).
(1) Los iconos e ilustraciones de esta guía se proporcionan únicamente con fines informativos.
Primeros pasos
Configuración
Extracción e instalación de la cubierta posterior

Extracción e instalación de la batería

Inserción y extracción de la tarjeta TF

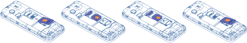
Inserción y extracción de la tarjeta SIM
1054X

1054D

Coloque la tarjeta SIM con el chip hacia abajo y deslícela en su alojamiento. Asegúrese de que esté insertada correctamente. Para extraer la tarjeta, presiónela y deslícela hacia afuera.

Para los modelos de doble SIM, SIM1 admite tarjeta mini SIM y micro-SIM para SIM2.(1) En cuanto al modelo de SIM única(2) , que solo admite tarjeta mini SIM. No intente insertar otros tipos de SIM como tarjetas micro y nano, de lo contrario, esto puede dañar su teléfono.
(1) Solo 1054D.
(2) 1054X
Cargando la batería

Conecte el cargador de batería a su teléfono y enchúfelo a la toma de corriente.
- La carga puede tardar unos 20 minutos en comenzar si la batería está agotada.
- Tenga cuidado de no forzar el enchufe en la toma de corriente.
- Asegúrese de que la batería esté insertada correctamente antes de conectar el cargador.
- La toma de corriente debe estar cerca del teléfono y ser fácilmente accesible (evite los cables de extensión eléctricos).
- Se recomienda cargar la batería al máximo cuando use el teléfono por primera vez (aproximadamente 3 horas) (
). - Para reducir el consumo de energía y el desperdicio de energía, cuando la batería esté completamente cargada, desconecte el cargador del enchufe; reduzca el tiempo de retroiluminación, etc.

La carga se completa cuando se detiene la animación.
Encender su teléfono
Mantenga presionada la tecla
hasta que el teléfono se encienda.
Apagar su teléfono
Mantenga presionada la tecla
desde la pantalla inactiva.
Llamadas
Realizar una llamada
Marque el número deseado, presione la tecla
para realizar la llamada. Si comete un error, puede eliminar los dígitos incorrectos presionando la tecla
. Para colgar la llamada, presione la tecla
.
Realizar una llamada de emergencia
Si su teléfono está cubierto por la red, marque el número de emergencia y presione la tecla
para realizar una llamada de emergencia. Esto funciona incluso sin una tarjeta SIM y sin escribir el código PIN o desbloquear el teclado.
Llamar a su correo de voz(1)
Para acceder a su correo de voz, mantenga presionada la tecla
.
(1) Póngase en contacto con su operador de red para verificar la disponibilidad del servicio.
Recibir una llamada
Cuando reciba una llamada entrante, presione la tecla
para hablar y luego cuelgue usando la tecla
.
Funciones disponibles durante la llamada
Durante una llamada, puede acceder a su directorio, calendario, mensajes cortos, etc. sin colgar el teléfono.
Radio FM

Su teléfono está equipado con una radio. Puede usar la aplicación como una radio tradicional con canales guardados. En la interfaz de radio FM, presione
para reproducir/pausar el proceso de reproducción del canal actual, presione
y
para ajustar el volumen. Puede escucharlo mientras ejecuta otras aplicaciones.
Para usar esta función, debe conectar sus auriculares, los auriculares funcionan como antena cuando se conectan a su teléfono.
Registros de llamadas

Puede acceder a su memoria de llamadas presionando
desde la pantalla inactiva, o presione la tecla
y seleccione el icono
del menú.
En este menú, verá todo el historial de llamadas.
Música

Use esta función para reproducir archivos de audio. Presione
para reproducir/pausar el reproductor de audio, presione brevemente
o
al audio anterior o siguiente, en la interfaz del reproductor de audio, presione
y
para ajustar el volumen.
Herramientas

Alarma
Tu teléfono móvil tiene un despertador incorporado con función de repetición.
Calculadora
Pulsa las teclas de arriba, abajo, izquierda, derecha y OK para seleccionar +, - ×, ÷ y = respectivamente.
Pulsa
para borrar la cifra.
Calendario
Una vez que entres en este menú, hay un calendario con vista mensual para que veas la fecha; puedes ir a cualquier día que quieras.
Puedes crear una nota en formato de texto accediendo a "Añadir nuevos horarios" desde las Opciones.
Bluetooth
Puedes transferir datos, como música, a otro dispositivo mediante Bluetooth. Busca el dispositivo y acepta/transfiere los datos. Los datos recibidos se almacenan automáticamente en el directorio.
Conversión de unidades
La conversión de unidades admite la conversión de peso y la conversión de longitud.
Llamada falsa
Puedes crear una llamada falsa a través de esta función. Te ayuda a escapar educadamente de situaciones sociales en cualquier momento que desees.
Filtro de llamadas
Puedes crear una lista negra (Blacklist) y una lista blanca (Whitelist) a través de esta función.
Linterna
Enciende/apaga la linterna según tu necesidad. En la pantalla de inactividad, mantén pulsada la tecla 5 para activar/desactivar la luz de la linterna.
Navegador
Esta función te permite navegar por Internet utilizando el teléfono móvil.
Nota: Consulta con el operador de red local para conocer las tarifas relacionadas y la configuración específica.
Servicio
El servicio STK es el kit de herramientas de la tarjeta SIM. Este teléfono es compatible con la función de servicio. Los elementos específicos dependen de la tarjeta SIM y de la red. El menú de servicio se añadirá automáticamente al menú del teléfono cuando sea compatible con la red y la tarjeta SIM.
Mensaje

Crear SMS
Desde el menú principal, selecciona "Mensaje" para crear un mensaje de texto. Puedes escribir un mensaje y enviarlo a un destinatario en el directorio de la tarjeta SIM. Puedes escribir un mensaje y también puedes insertar un mensaje predefinido desde "Plantillas". Mientras escribes un mensaje, selecciona "Opciones" para acceder a todas las opciones de mensajería.
Para el modelo de doble SIM, puedes escribir un mensaje y seleccionar enviarlo a un destinatario en el directorio de SIM1 o SIM2(1) .

Un mensaje SMS de más de un cierto número de caracteres (el número de caracteres depende de tu idioma) se cobrará como varios SMS. Las letras específicas (acento) aumentarán el tamaño del SMS, lo que puede provocar que se envíen varios SMS a tu destinatario.
(1) Solo 1054D.
Multimedia

Cámara
Esta función te permite tomar fotos. Pulsa
para tomar la foto. Puedes enviarlas directamente por Bluetooth, establecerlas como fondo de pantalla o seleccionarlas como imagen de llamada entrante para un contacto en tus Contactos.
Imagen
Puedes ver imágenes a través de esta función.
Grabadora
Utiliza esta función para grabar archivos de audio. El teléfono es compatible con WAV y AMR. El archivo de grabación que detengas se guardará automáticamente en el archivo de audio.
Vídeo
Utiliza esta función para reproducir archivos de vídeo. Pulsa
para reproducir/pausar el reproductor de vídeo, pulsa brevemente la tecla de dirección arriba o abajo para ajustar el volumen, pulsa la tecla de dirección izquierda y derecha para el vídeo anterior o siguiente.
Mis archivos

El teléfono proporciona un cierto espacio para que los usuarios gestionen los archivos y admite la tarjeta de memoria. La capacidad de la tarjeta de memoria es seleccionable. Puedes utilizar el gestor de archivos para gestionar cómodamente varios directorios y archivos en el teléfono y en la tarjeta de memoria.
Contactos

Consultar tus contactos
Puedes acceder a tu memoria de llamadas pulsando
desde la pantalla de inactividad, o pulsa la tecla
y selecciona el icono
del menú. En este menú, verás todos los contactos de llamadas.
Añadir un contacto
Selecciona el menú "Añadir contactos" y luego guárdalo en "Teléfono" o "SIM" como quieras.
Ajustes

Desde el menú principal, selecciona el menú
y selecciona la función que desees para personalizar tu teléfono: Perfiles, Ajustes del teléfono, Ajustes de llamada, Selección de red, Conexiones, Seguridad, Restaurar ajustes de fábrica(1) etc.
(1) Haz que los ajustes del teléfono vuelvan a su valor predeterminado. Los datos del usuario final se borrarán. Introduce su contraseña predeterminada 0000 para confirmar la restauración y reiniciar.
Modo de entrada
Este modo te permite escribir un texto eligiendo una letra o una secuencia de caracteres asociados a una tecla. Pulsa la tecla varias veces hasta que se resalte la letra deseada. Cuando sueltas la tecla, el carácter resaltado se inserta en el texto.
Resolución de problemas
Antes de ponerse en contacto con el centro de servicio, se recomienda seguir las siguientes instrucciones:
- Se recomienda cargar completamente (
) la batería para un funcionamiento óptimo. - Evite almacenar grandes cantidades de datos en su teléfono, ya que esto puede afectar su rendimiento.
- Puede restablecer el sistema manteniendo presionada la tecla # y la tecla de encendido/apagado en el modo de apagado. TODOS los datos del teléfono del usuario: contactos, mensajes y archivos se perderán permanentemente. Se recomienda encarecidamente hacer una copia de seguridad completa de los datos y el perfil del teléfono antes de formatear.
y realice las siguientes comprobaciones:
Mi teléfono no se enciende
- Compruebe los contactos de la batería, retire y vuelva a instalar la batería y, a continuación, encienda el teléfono
- Compruebe el nivel de carga de la batería, cárguela durante al menos 20 minutos
- Si sigue sin funcionar, reinicie el teléfono con la tecla de encendido y la tecla #.
Mi teléfono está bloqueado o no responde durante varios minutos
- Reinicie el teléfono manteniendo pulsada la tecla
![]()
- Retire la batería y vuelva a insertarla, a continuación, reinicie el teléfono
- Si sigue sin funcionar, reinicie el teléfono con la tecla de encendido y la tecla #.
Mi teléfono se apaga solo
- Asegúrese de que la tecla de apagado no esté en contacto accidentalmente
- Compruebe el nivel de carga de la batería
- Si sigue sin funcionar, reinicie el teléfono con la tecla de encendido y la tecla #.
Mi teléfono no se carga correctamente
- Asegúrese de que está utilizando una batería alcatel y el cargador de la caja
- Limpie el contacto de la batería si está sucio
- Asegúrese de que la batería está insertada correctamente antes de enchufar el cargador
- Asegúrese de que la batería no está completamente descargada; si la batería está vacía durante mucho tiempo, puede tardar unos 20 minutos en mostrar el indicador del cargador de batería en la pantalla
- Asegúrese de que la carga se realiza en condiciones normales (de 0 °C a +40 °C)
- Cuando esté en el extranjero, compruebe que la tensión de entrada es compatible
Mi teléfono no se conecta a una red o aparece el mensaje "Sin servicio"
- Intente conectarse en otra ubicación
- Verifique la cobertura de la red con su operador
- Compruebe con su operador que su tarjeta SIM es válida
- Intente seleccionar manualmente las redes disponibles
- Intente conectarse más tarde si la red está sobrecargada
Mi teléfono no se conecta a Internet
- Compruebe que el número IMEI (pulse *#06#) es el mismo que el que aparece impreso en su tarjeta de garantía o en la caja
- Asegúrese de que el servicio de acceso a Internet de su tarjeta SIM está disponible
- Compruebe la configuración de conexión a Internet de su teléfono
- Asegúrese de que se encuentra en un lugar con cobertura de red
- Intente conectarse más tarde o en otra ubicación
Tarjeta SIM no válida
- Asegúrese de que la tarjeta SIM se ha insertado correctamente
- Asegúrese de que el chip de su tarjeta SIM no está dañado ni rayado
- Asegúrese de que el servicio de su tarjeta SIM está disponible
No se pueden realizar llamadas salientes
- Asegúrese de que ha marcado un número válido y pulse la tecla
![]()
- Para llamadas internacionales, compruebe los códigos de país y de área
- Asegúrese de que su teléfono está conectado a una red y de que la red no está sobrecargada o no está disponible
- Compruebe el estado de su suscripción con su operador (crédito, tarjeta SIM válida, etc.)
- Asegúrese de que no ha bloqueado las llamadas salientes
- Asegúrese de que su teléfono no está en modo avión
No se pueden recibir llamadas entrantes
- Asegúrese de que su teléfono está encendido y conectado a una red (compruebe si la red está sobrecargada o no está disponible)
- Compruebe el estado de su suscripción con su operador (crédito, tarjeta SIM válida, etc.)
- Asegúrese de que no ha desviado las llamadas entrantes
- Asegúrese de que no ha bloqueado ciertas llamadas
- Asegúrese de que su teléfono no está en modo avión
El nombre/número de la persona que llama no aparece cuando se recibe una llamada
- Compruebe que se ha suscrito a este servicio con su operador
- La persona que llama ha ocultado su nombre o número
No puedo encontrar mis contactos
- Asegúrese de que su tarjeta SIM no está rota
- Asegúrese de que su tarjeta SIM está insertada correctamente
- Importe todos los contactos almacenados en la tarjeta SIM al teléfono
La calidad del sonido de las llamadas es mala
- Puede ajustar el volumen durante una llamada pulsando la tecla de volumen
- Compruebe la intensidad de la red
![]()
- Asegúrese de que el receptor, el conector o el altavoz de su teléfono están limpios
No puedo utilizar las funciones descritas en el manual
- Consulte con su operador para asegurarse de que su suscripción incluye este servicio
- Asegúrese de que esta función no requiere un accesorio alcatel
Cuando selecciono un número de mis contactos, el número no se puede marcar
- Asegúrese de que ha registrado correctamente el número en su archivo
- Asegúrese de que ha introducido el prefijo del país cuando llama a un país extranjero
No puedo añadir un contacto en mis contactos
- Asegúrese de que los contactos de su tarjeta SIM no están llenos; elimine algunos archivos de su tarjeta SIM o guarde los archivos en los contactos del teléfono
Las personas que llaman no pueden dejar mensajes en mi buzón de voz
- Póngase en contacto con su operador de red para comprobar la disponibilidad del servicio
No puedo acceder a mi buzón de voz
- Asegúrese de que el número de buzón de voz de su operador está introducido correctamente en "Mensajes\Servidor de correo de voz"
- Inténtelo más tarde si la red está ocupada
El icono parpadeante
se muestra en mi pantalla de espera
- Ha guardado demasiados mensajes cortos en su tarjeta SIM; elimine algunos
PIN de la tarjeta SIM bloqueado
- Póngase en contacto con su operador de red para obtener el código PUK (Clave personal de desbloqueo)
No puedo descargar archivos nuevos
- Asegúrese de que hay suficiente memoria en el teléfono para su descarga
- Seleccione la tarjeta microSD como ubicación para almacenar los archivos descargados
- Compruebe el estado de su suscripción con su operador
El teléfono no puede ser detectado por otros a través de Bluetooth
- Asegúrese de que Bluetooth está activado y de que su teléfono es visible para otros usuarios
- Asegúrese de que los dos teléfonos están dentro del alcance de detección de Bluetooth
Cómo hacer que la batería dure más
- Asegúrese de que sigue el tiempo de carga completo (mínimo 3 horas)
- Después de una carga parcial, el indicador de nivel de batería puede no ser exacto. Espere al menos 20 minutos después de retirar el cargador para obtener una indicación exacta
- Ajuste el brillo de la pantalla según corresponda
- Desactive Bluetooth cuando no esté en uso
Este producto cumple con los límites nacionales de SAR aplicables de 2,0 W/kg. Los valores SAR máximos específicos se pueden encontrar en esta guía del usuario.
Cuando transporte el producto o lo utilice mientras lo lleva en el cuerpo, utilice un accesorio aprobado, como una funda, o mantenga una distancia de 5 mm del cuerpo para garantizar el cumplimiento de los requisitos de exposición a radiofrecuencias. Tenga en cuenta que el producto puede estar transmitiendo incluso si no está realizando una llamada telefónica.

Referencias
Descargar el manual
Aquí puede descargar la versión PDF completa del manual. Puede contener instrucciones de seguridad adicionales, información de garantía, reglas de la FCC, etc.
Descargar Guía de inicio rápido de Alcatel 1054X, 1054D
).
