Levoit OasisMist LUH-O451S-WUS - nutika õhuniisutaja kasutusjuhend

Pakendi sisu
- 1 × Nutikas õhuniisutaja
- 1 × Puhastushari
- 3 × Aroomipadi (1 eelpaigaldatud)
- 3 × Imav padi (1 eelpaigaldatud)
- 2 × Veefiltri käsn (1 eelpaigaldatud)
- 1 × Kasutusjuhend
- 1 × Kiirjuhend
Tehnilised andmed
| Toiteallikas | AC 120V, 60Hz |
| Nimivõimsus | 280W |
| Veepaagi maht | 1.19 gal / 4.5 L |
| Maksimaalne külma udu väljund | 300 mL/h |
| Maksimaalne sooja udu väljund | 550 mL/h |
| Maksimaalne tööaeg | 45 tundi madala udu seadistusega Märkus: Õhuniisutaja võib töötada pikema või lühema aja sõltuvalt ümbritsevast temperatuurist ja niiskusest. |
| Müratase | Madalaim: < 26dB (madal külm udu) Kõrgeim: < 41dB (kõrge soe udu) |
| Efektiivne ulatus | 215–430 ft² / 20–40 m² |
| Mõõtmed | 10.8 x 6.0 x 11.97 in / 27.4 x 15.2 x 30.4 cm |
| Kaal | 5.3 lb / 2.4 kg |
Märkus: Lisafunktsioonidele juurdepääsuks laadige alla tasuta VeSync äpp.
LUGEGE NEED JUHISED LÄBI JA HOIDKE NEED ALLES
OHUTUSTEAVE
Tulekahju, elektrilöögi või muude vigastuste ohu vähendamiseks järgige kõiki juhiseid ja ohutusnõudeid.
Üldine ohutus
- Kasutage õhuniisutajat ainult selles juhendis kirjeldatud viisil.
- Asetage õhuniisutaja ja juhe nii, et neid ei saaks ümber lükata. Ärge asetage suurte mööbliesemete lähedusse või tiheda liiklusega kohtadesse.
- Kui te õhuniisutajat ei kasuta, lülitage see välja ja eemaldage vooluvõrgust, tõmmates pistiku pistikupesast välja.
- Ärge kasutage õhuniisutajat niiskes keskkonnas.
- Hoidke õhuniisutaja lastele kättesaamatus kohas.
- Ärge avage alust ega eemaldage veetaseme andurit iseteeninduseks.
- Alati eemaldage õhuniisutaja vooluvõrgust enne selle puhastamist või veepaagi aluse küljest lahtiühendamist.
- Alati veenduge, et asetate õhuniisutaja enne kasutamist tasasele pinnale.
- Täitke veepaaki ainult puhta veega. Ärge kunagi täitke veepaaki muude vedelikega.
- Ärge asetage õhuniisutajat soojusallikate, näiteks pliitide, ahjude või radiaatorite lähedusse.
- Ärge asetage õhuniisutajat otse põrandatele, vaipadele või põrandakatetele.
- Ärge kasutage selle toote jaoks muid esemeid varuosadena.
- Ärge katke düüse kinni, kui õhuniisutaja on sisse lülitatud. See võib õhuniisutajat kahjustada.
- Enne õhuniisutaja teisaldamist eemaldage veepaak aluselt.
- Ärge kastke õhuniisutaja alust, toitejuhet või pistikut vette.
- Ärge puhastage õhuniisutajat kohe pärast selle väljalülitamist, eriti kui see on levitanud sooja udu. Enne puhastamist laske õhuniisutajal täielikult jahtuda.
- Kui õhuniisutaja on kahjustatud või ei tööta korralikult, lõpetage selle kasutamine ja võtke kohe ühendust klienditoega.
- Seda õhuniisutajat ei tohi kasutada isikud (kaasa arvatud lapsed), kellel on vähenenud füüsilised, sensoorsed või vaimsed võimed või kellel puuduvad kogemused ja teadmised, välja arvatud juhul, kui nende ohutuse eest vastutav isik on neid seadme kasutamise osas juhendanud või õpetanud.
- Jälgige lapsi, kui nad on õhuniisutaja läheduses.
- Lapsed ei tohiks õhuniisutajat puhastada ega hooldada ilma järelevalveta.
- Lapsi tuleb jälgida, et nad ei mängiks õhuniisutajaga.
- Ei ole mõeldud äriliseks kasutamiseks. Ainult koduseks kasutamiseks.
Toide ja juhe
- Veenduge, et pistik sobib korralikult polariseeritud pistikupessa.
- Teie õhuniisutajal on polariseeritud pistik (üks haru on teisest laiem), mis sobib polariseeritud pistikupessa ainult ühel viisil. See on ohutusfunktsioon, mis vähendab elektrilöögi ohtu. Kui pistik ei sobi, keerake pistik ümber. Kui see ikka ei sobi, ärge kasutage pistikut selles pistikupesas. Ärge jätke seda ohutusfunktsiooni vahele.
- Ärge käsitsege toitejuhet ega pistikut märgade kätega. Hoidke pistik ja toitejuhe vedelikest eemal.
- Kui toitejuhe on kahjustatud, peab selle asendama Arovast Corporation või sarnase kvalifikatsiooniga isik, et vältida elektri- või tuleohtu. Palun võtke ühendust klienditoega.
- Toitejuhtme lahtiühendamine keelab õhuniisutaja kaugjuhtimise ja katkestab ajutiselt õhuniisutaja ühenduse VeSync ja muude kolmandate osapoolte äppidega.
Elektromagnetväljad (EMF)
See õhuniisutaja vastab kõikidele elektromagnetväljade (EMF) standarditele. Kui seadet käsitsetakse õigesti ja vastavalt käesolevas kasutusjuhendis toodud juhistele, on seadet teaduslike tõendite põhjal ohutu kasutada.
Lekete ja elektrilöögi oht
- Lisage eeterlikke õlisid ainult aroomipadja.
- Ärge lisage eeterlikke õlisid, täiendavaid veepuhastusvedelikke ega veefiltreid veepaaki või aluse kambrisse. See kahjustab õhuniisutajat ja põhjustab lekkeid.
KUUM veeaur
- Laske düüsidel ja udukanalil enne puudutamist või puhastamist jahtuda.
TUTVUGE OMA NUTIKA ÕHUNIISUTAJAGA

- Ülemine kaas
- Düüsid
- Käepide
- Veepaak
- Udukanal
- LED-ekraan
- Juhtpaneel
- Alus
- Veefilter
- Veefiltri käsn
- Kütteelement
- Ujuk
- Andur
- Ujuki kronsteinid
- Toitejuhe
- Mürasummuti
- Imav padi
- Õhu väljalaskeava
- Aroomipadi
- Aroomikarp
- Niiskusandur / Õhu sisselaskeava (Aroomikarbi kambris)
- Õhu sisselaskeava (aluse all)
- Puhastushari
- Jalad
- Udukanal (veepaagi all)

Udu taseme indikaatorid (valge)
![]() | Madal udu |
![]() | Keskmine udu |
![]() | Kõrge udu |
Sooja udu indikaatorid (oranž)
![]() | Küte väljas |
![]() | Madal kuumus |
![]() | Keskmine kuumus |
![]() | Kõrge kuumus |
JUHTSEADMED
Märkus: Neid funktsioone saate juhtida ka VeSync äpi abil, samuti täiendavaid ainult äpis olevaid funktsioone.
Sisse/välja nupp ("On/Off Button")
- Vajutage õhuniisutaja sisse/välja lülitamiseks.
- Vajutage ja hoidke 5 sekundit all, et siduda VeSync äpiga. Lisateabe saamiseks vaadake äpi juhiseid.
- Vajutage ja hoidke 15 sekundit all, et õhuniisutaja lähtestada. See taastab õhuniisutaja vaikesätted ja katkestab selle ühenduse Wi-Fi® ja VeSync äpiga.
Udu taseme nupp ("Mist Level Button")
- Vajutage korduvalt, et liikuda läbi udu taseme sätete: madal, keskmine ja kõrge udu.
- Vajutage ja hoidke 3 sekundit all, et ekraan välja lülitada. Ekraani uuesti sisselülitamiseks vajutage mis tahes nuppu.
Automaatrežiimi nupp ("Auto Mode Button")
- Vajutage automaatrežiimi sisselülitamiseks.
- Vajutage
, et kasutada automaatrežiimis sooja udu. - Vajutage
, et automaatrežiim välja lülitada ja jätkata käsitsi juhtimist.
Sooja udu nupp ("Warm Mist Button")
- Liigub läbi sooja udu sätete: madal kuumus, keskmine kuumus, kõrge kuumus ja küte väljas.
Unerežiimi nupp ("Sleep Mode Button")
- Vajutage unerežiimi sisse/välja lülitamiseks.
Wi-Fi indikaator
- Lülitub sisse, välja või vilgub, et näidata sidumise olekut. Lisateabe saamiseks vaadake VeSync äpi juhiseid.
Vee puudumise indikaator ("No Water Indicator")
- Vilgub, kui paagis pole vett. Pärast seda, kui see indikaator on 10 korda vilkunud, lülitub õhuniisutaja välja. Õhuniisutaja kasutamiseks täitke paak ja asetage see korralikult alusele.
- Süttib, kui veepaak eemaldatakse. Jääb põlema, kuni paak asendatakse.
ALUSTUSEKS
- Eemaldage kogu pakend.
- Enne esimest kasutamist puhastage veepaak ja veepaagi kaas.
Märkus: Kontrollige, kas veefilter on õigesti paigas. Kui ei ole, siis keerake filtrit päripäeva, et see kindlalt paigale kinnitada. [Joonis 1.1]
- Valige niisutajale kõva ja tasane koht, mis on vähemalt 30 cm kaugusel seintest. Pind peab olema veekindel. [Joonis 1.2]
![]()
Märkus:- Ärge asetage niisutajat otse põrandale, vaipadele või põrandakatetele.
- Niisutaja seintest eemale asetamine tagab, et niiskusandur ja õhu sisselaskeavad toimivad korralikult.
- Udu peaks olema suunatud eemale seintest, mööblist, voodipesust ja seadmetest. [Joonis 1.3] Vältige liiga palju udu langemist niisutaja küljele, kus asub aroomikarp, kuna see võib häirida aroomikarbi sees olevat andurit.
Täitmine ja uuesti täitmine
Märkus: Enne täitmist veenduge, et veepaak on puhas.
- Eemaldage veepaagi kaas. [Joonis 1.4]
- Kasutage käepidet, et eemaldada paak aluselt. Täitke paak toatemperatuuril veega. [Joonis 1.5] Ärge täitke kuuma veega.
![]()
Märkus:
- Soovitame paagi täitmiseks kasutada puhastatud või destilleeritud vett.
- Kraanivee kasutamine võib põhjustada pindadele valge tolmu (kuivanud mineraalid).
- Asetage veepaagi kaas tagasi ja pange paak tagasi alusele.
- Ärge lisage vett otse aluse kambrisse. [Joonis 1.7]
![]()
- Ärge lisage vett läbi udu toru.
- Ärge lisage eeterlikke õlisid niisutajasse. Lisage eeterlikke õlisid ainult aroomipadjale. [Joonis 1.5]
![]()
- Ärge kasutage selles niisutajas veetöötlusvedelikke ega kolmandate osapoolte veefiltreid.
VESYNC RAKENDUSE SEADISTAMINE
Märkus: Pidevate uuenduste ja täiustuste tõttu võib VeSync rakendus veidi erineda käsiraamatus näidatust. Erinevuste korral järgige rakendusesiseseid juhiseid.
- VeSync rakenduse allalaadimiseks skannige QR-kood või otsige "VeSync" Apple App Store® või Google Play Store'ist.
![]()
Joonis 2.1 - Avage VeSync rakendus. Kui teil on juba konto, puudutage Log In (Logi sisse). Uue konto loomiseks puudutage Sign Up (Registreeru).
Märkus: Kolmandate osapoolte teenuste ja toodete kasutamiseks peate looma oma VeSync konto. Need ei tööta külaliskontoga. VeSync kontoga saate lubada ka oma perel ja sõpradel oma nutikat niisutajat juhtida. - Nutika niisutaja seadistamiseks järgige rakendusesiseseid juhiseid.
Märkus:
- Saate kasutada VeSync rakendust, et ühendada oma nutikas niisutaja Amazon Alexa või Google Assistant™'iga. VeSync'i ühendamiseks oma häälassistendiga järgige rakendusesiseseid juhiseid.
- Teie telefonil peab olema sisse lülitatud asukohateenused (Location), kui teie telefon ühendub teie nutika niisutajaga. See on vajalik Bluetooth® ühenduse loomiseks. Saate asukohateenused (Location) välja lülitada, kui teie nutikas niisutaja on VeSync rakendusega ühenduse lõpetanud.
Wi-Fi ühendus
- Wi-Fi ühenduse katkestamiseks vajutage ja hoidke all
15 sekundit, kuni Wi-Fi indikaator kustub. See taastab nutika niisutaja vaikesätted ja katkestab selle ühenduse VeSync rakendusega. - Uuesti ühendamiseks järgige seadme lisamiseks VeSync rakenduse juhiseid.
NUTIKA NIISUTAJA KASUTAMINE
Märkus: Rakenduse VeSync kasutamine võimaldab teil oma nutikat niisutajat eemalt juhtida ning pääseda ligi lisafunktsioonidele ja -võimalustele.
- Ühendage niisutaja vooluvõrku. Ekraanil olevad indikaatorid süttivad 1 sekundiks ja seejärel kustuvad.
- Niisutaja sisselülitamiseks vajutage
. Niisutaja hakkab udu tekitama.
Märkus: Kui paagis pole vett, siis
vilgub 10 korda ja niisutaja lülitub välja. Täitke veepaak (vt Alustamine) - Udu seadete vahel liikumiseks vajutage korduvalt
: Madal, Keskmine ja Kõrge. [Joonis 3.1]
![]()
- Udu suuna reguleerimiseks keerake düüse. [Joonis 3.2]
![Levoit - OasisMist LUH-O451S-WUS - NUTIKA NIISUTAJA KASUTAMINE - Samm 2 NUTIKA NIISUTAJA KASUTAMINE - Samm 2]()
Märkus:
- Suunake düüsid eemale mööblist, seintest või muudest esemetest, et vältida nende märjaks saamist.
- Ärge hingake udu otse düüsidest sisse.
- Soovi korral kasutage juhtnuppe või rakendust VeSync, et lülitada sisse soe udu, aktiveerida Sleep Mode (unerežiim) ja palju muud (vt Juhtnupud).
- Kui teie ruum on saavutanud eelistatud niiskustaseme, seadke niisutaja madalamale seadele või lülitage see välja. Mugav niiskustase on vahemikus 40% kuni 60%.
Märkus: Võite ka seadistada niisutaja automaatselt udu tekitamise lõpetama, kui ruum saavutab teatud niiskustaseme (vt Auto Mode (automaatrežiim)) - Niisutaja väljalülitamiseks vajutage
.
Soe udu
- Sooja udu sisselülitamiseks vajutage
. Soojuse seadistuse suurendamiseks ja sooja udu väljalülitamiseks vajutage korduvalt. [Joonis 3.3]
![Levoit - OasisMist LUH-O451S-WUS - Soe udu - Samm 1 Soe udu - Samm 1]()
- Niisutajal võib enne sooja udu tekitamist kuluda 15 minutit soojenemiseks.
Udu võib olla kuum. Sooja udu kasutamise ajal ärge asetage oma paljaid käsi, nägu või muud katmata nahka düüside kohale. [Joonis 3.4] Düüsid võivad saavutada temperatuuri kuni 140ºF / 60ºC.
![Levoit - OasisMist LUH-O451S-WUS - Soe udu - Samm 2 Soe udu - Samm 2]()
| Sooja udu seadistus | Düüsitemperatuur (+/- 5%) |
| Madal kuumus | 104ºF / 40ºC |
| Keskmine kuumus | 122ºF / 50ºC |
| Kõrge kuumus | 140ºF / 60ºC |
Auto Mode (automaatrežiim)
Auto Mode (automaatrežiim) kasutab niisutaja sensorit, et automaatselt reguleerida udu taset, et säilitada sihtniiskustase. Vaikimisi sihtniiskustase on 60%.
Märkus: Rakenduse VeSync abil saate muuta sihtniiskustaset vastavalt oma vajadustele.
- Auto Mode (automaatrežiimi) sisselülitamiseks vajutage
.
Märkus: Niisutaja tekitab automaatselt udu 15 sekundit pärast sisselülitamist, isegi kui ruum on saavutanud sihtniiskustaseme. - Soovi korral vajutage
, et lülitada sisse soe udu ja reguleerida sooja udu seadistust. - Vaikimisi kasutab Auto Mode (automaatrežiim) funktsiooni Automatic Stop (automaatne seiskamine). Niisutaja lõpetab udu tekitamise, kui kõrgeim sihtniiskustase on saavutatud (vaikimisi 60%).
Märkus:- Rakenduses VeSync saate funktsiooni Automatic Stop (automaatne seiskamine) sisse/välja lülitada.
- Kui Automatic Stop (automaatne seiskamine) on välja lülitatud, jätkab niisutaja madala udu tasemega töötamist, kui kõrgeim sihtniiskustase on saavutatud.
- Niisutaja jätkab ruumi niiskustaseme tuvastamist. See hakkab uuesti udu tekitama ja lõpetab selle vastavalt järgmisele tabelile:
| Ruumi suhteline niiskus * | Automaatne udu tase |
| Alla 50% | Kõrge |
| 50–55% | Keskmine |
| 55–60% | Madal |
| Üle 60% | Automatic Stop (automaatne seiskamine) |
- Kui muudate rakenduses VeSync sihtniiskust 60%-lt, muutuvad niiskuse protsendid vastavalt.
Sleep Mode (unerežiim)
Sleep Mode (unerežiim) muudab niisutaja udu seadistuse madalaks ja lülitab välja ekraani tuled, muutes selle ideaalseks magamiseks. Sleep Mode'i (unerežiimi) saab kasutada ainult külma uduga.
- Sleep Mode'i (unerežiimi) sisse/välja lülitamiseks vajutage
.
Märkus: Sleep Mode (unerežiim) lülitab mürataseme vähendamiseks automaatselt välja sooja udu. - Kui Sleep Mode (unerežiim) on sisse lülitatud, saate ekraani äratamiseks vajutada mis tahes nuppu. Kui te ei puuduta ekraani, lülitub ekraan 6 sekundi pärast uuesti välja.
- Kui olete ekraani äratanud, vajutage Sleep Mode'ist (unerežiimist) väljumiseks ja käsitsi juhtimise jätkamiseks mis tahes nuppu.
Ekraani väljalülitamine
Ekraan tuhmub automaatselt pärast 3-sekundilist tegevusetust.
- Ekraani väljalülitamiseks vajutage ja hoidke
3 sekundit all. - Ekraani uuesti sisselülitamiseks vajutage mis tahes nuppu.
Aroomikarbi kasutamine
Teie niisutajat saab kasutada aroomiteraapiaks.
- Lükake aroomikarp aluse tagaküljel sisse ja tõmmake see välja. [Joonis 4.1]
![]()
- Pange aroomipadjale 8–10 tilka eeterlikke õlisid. [Joonis 4.2]
![]()
- Sisestage aroomikarp tagasi niisutajasse.
- Lülitage niisutaja sisse. Niisutaja hajutab kasutamisel automaatselt aroomi.
Märkus:- • Ärge lisage veepaaki või aluse kambrisse eeterlikke õlisid, veepuhastusvedelikke ega kolmandate osapoolte veefiltreid. Lisage eeterlikke õlisid ainult aroomipadjale. [Joonis 4.3]
![]()
- Aroomipatju saab pärast eeterlike õlide hajutamist puhastada ja uuesti kasutada (vt Aroomipadja ja imamispadja puhastamine).
- See niisutaja kasutab väikest kuumusel põhinevat aroomihajutit. Aroom on mõeldud olema kerge.
- Teave aroomipatjade vahetamise kohta.
- • Ärge lisage veepaaki või aluse kambrisse eeterlikke õlisid, veepuhastusvedelikke ega kolmandate osapoolte veefiltreid. Lisage eeterlikke õlisid ainult aroomipadjale. [Joonis 4.3]
Imamispadjad

Mineraalide imamispadjad aitavad vähendada mineraalide kogunemist (katlakivi) niisutaja sees, eriti kütteelemendil.
Märkus: Teave imamispatjade vahetamise kohta.
Mälufunktsioon
- Niisutaja jätab meelde teie udu taseme, sooja udu ja Wi-Fi seaded, kui see välja lülitatakse või vooluvõrgust lahti ühendatakse, ning jätkab nende seadete kasutamist, kui see uuesti sisse lülitatakse.
- Niisutaja jätab meelde Sleep Mode'i (unerežiimi) või Auto Mode'i (automaatrežiimi) seaded ja ekraan lülitub automaatselt uuesti sisse, kui niisutaja uuesti sisse lülitatakse.
Automaatne väljalülitus
Niisutaja lülitub automaatselt välja, kui kogu vesi paagis on hajutatud. Ekraanil kuvatakse
ja vilgub 10 korda, enne kui niisutaja välja lülitub. Täitke veepaak (vt Alustamine).
Kui paak on aluselt eemaldatud, lõpetab niisutaja automaatselt udu tekitamise. Ekraanil kuvatakse
ja see lülitub välja, kui paak on korralikult tagasi alusele asetatud.
VeSync rakenduse funktsioonid
Rakendus VeSync võimaldab teil pääseda ligi täiendavatele nutikatele funktsioonidele, sealhulgas allpool loetletutele.
Kaugjuhtimine telefonist
- Lülitage niisutaja sisse/välja.
- Liikuge läbi udu tasemete ja kuumuse tasemete.
- Lülitage Auto Mode (automaatrežiim) sisse/välja ja määrake sihtniiskustase.
- Lülitage Sleep Mode (unerežiim) sisse/välja.
- Lülitage ekraani tuled sisse/välja.
Niiskustaseme jälgimine
- Kontrollige niisutaja keskkonna praegust niiskustaset.
Taimerite ja ajakavade seadmine
- Programmeerige individuaalseid taimereid või looge oma nutikale niisutajale ajakava.
Kolmanda osapoole hääljuhtimine
- Ühildub Amazon Alexa ja Google Assistant™'iga häälkäskluste jaoks.
Märkus: Rakendust VeSync uuendatakse pidevalt ja rakenduse funktsioonid laienevad.
Olulised näpunäited
Teie niisutajal peab korralikuks tööks olema aluse kambris õige veetase. Kui aluse kambris on liiga palju vett, ei saa niisutaja udu tekitada.
- Ärge asetage niisutajat kaldpinnale.
- Ärge kunagi valage vett otse aluse kambrisse. [Joonis 5.1] Lisage vett ainult veepaaki. Niisutaja vabastab automaatselt õige koguse vett aluse kambrisse.
![]()
- Vältige niisutaja liigutamist või raputamist. [Joonis 5.2] See võib põhjustada veepaagi liiga suure koguse vee vabastamist aluse kambrisse.
![]()
- Enne niisutaja liigutamist lülitage see välja, eemaldage vooluvõrgust ja eemaldage veepaak. Tühjendage aluse kambrist üleliigne vesi.
HOOLDUS JA KORRASHOID
Märkus:
- Kõik hooldustööd tuleks teha veekindlal pinnal, näiteks köögilaual.
- Vahetage vett iga päev, et vältida bakterite kasvu.
- Puhastage düüse regulaarselt pabertaskuräti või lapiga.
- Kui te õhuniisutajat 1 nädala või kauem ei kasuta, siis ärge jätke vett sisse. Selle asemel puhastage ja kuivatage õhuniisutaja.
Puhastamine
Puhastage oma õhuniisutaja veepaaki ja aluskambrit iga 3 päeva järel ning siis, kui olete valmis seda hoiule panema.
Märkus:
- Ärge kunagi kastke alust vette või vedelikku. Ärge pange ühtegi õhuniisutaja osa nõudepesumasinasse.
- Ärge kasutage õhuniisutaja puhastamiseks pesuvahendeid.
- Ühendage õhuniisutaja vooluvõrgust lahti.
Märkus: Kui olete kasutanud sooja udu seadistust, laske õhuniisutajal enne puhastamist jahtuda. - Eemaldage ja loputage veepaagi kaas. [ Joonis 6.1 ]
![Levoit - OasisMist LUH-O451S-WUS - Puhastamine - Osa 1 Puhastamine - Osa 1]()
- Eemaldage veepaak aluselt. Valage paagist ja aluskambrist välja kogu vesi. Kui olete kasutanud sooja udu seadistust, olge ettevaatlik, kui vesi on veel kuum.
Märkus: Vett välja valades hoidke ujukit all, et see ei kukuks aluskambrist välja. - Eemaldage veefilter paagist, keerates seda vastupäeva ja tõstes välja. [Joonis 6.2]
![]()
- Vajadusel eemaldage veefiltri käsn veefiltrist. [Joonis 6.3]
![]()
- Pöörake veepaak ümber. Pigistage sakki ja tõmmake udukanal välja. [Joonis 6.4]
![]()
- Eemaldage aluselt ujuk, mürasummuti, imav padi ja aroomikarp.
- Loputage kõiki osi (välja arvatud aluse väliskülg) toatemperatuuril veega. [Joonis 6.5]
![]()
- Kuivatage kõik osad lapiga. Enne kokkupanekut või hoiule panemist veenduge, et kõik osad on täiesti kuivad.
Õhuniisutaja katlakivi eemaldamine
Õhuniisutaja katlakivi eemaldamiseks (eemaldage mineraalide kogunemine):
- Eemaldage paagist veefilter ja veefiltri käsn. Pöörake paak ümber ja eemaldage udukanal. Seejärel eemaldage aluselt mürasummuti ja imav padi.
- Täitke paak 3 USA tassi / 710 ml destilleeritud valge äädikaga. [Joonis 7.1]
![]()
- Pange paagi kaas tagasi ja keerutage äädikat paagis ringi. [Joonis 7.2]
![]()
- Asetage paak alusele ja leotage 15–20 minutit. Äädikas voolab aluskambrisse ja vabastab katlakivi (mineraalide kogunemise) paagis ja aluskambris (sealhulgas anduris ja ujuki). [Joonis 7.3]
![Levoit - OasisMist LUH-O451S-WUS - Õhuniisutaja katlakivi eemaldamine - Samm 1 Õhuniisutaja katlakivi eemaldamine - Samm 1]()
- Eemaldage paak, eemaldage paagi kaas ja valage äädikas välja. [Joonis 7.4]
![Levoit - OasisMist LUH-O451S-WUS - Õhuniisutaja katlakivi eemaldamine - Samm 2 Õhuniisutaja katlakivi eemaldamine - Samm 2]()
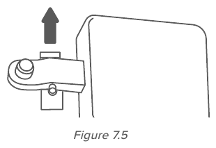
- Eemaldage ujuk aluskambrist, tõmmates üles ujuki suurema külje ja tõmmates võlli ujuki kronsteinidest välja. Üks ujuki kronsteinide külg on avatud (U-kujuline), et võlli saaks eemaldada. [Joonis 7.5]
![Levoit - OasisMist LUH-O451S-WUS - Õhuniisutaja katlakivi eemaldamine - Samm 3 Õhuniisutaja katlakivi eemaldamine - Samm 3]()
- Asetage ujuk, veefilter, udukanal, aroomikarp ja mürasummuti anumasse. Täitke piisavalt äädikaga, et need katta. Leotage 15–20 minutit. [ Joonis 7.6 ]
![Levoit - OasisMist LUH-O451S-WUS - Õhuniisutaja katlakivi eemaldamine - Samm 4 Õhuniisutaja katlakivi eemaldamine - Samm 4]()
- Kasutage pehmet lappi ja kaasasolevat puhastusharja, et eemaldada katlakivi kõigilt osadelt. [ Joonis 7.7 ]
![Levoit - OasisMist LUH-O451S-WUS - Õhuniisutaja katlakivi eemaldamine - Samm 5 Õhuniisutaja katlakivi eemaldamine - Samm 5]()
- Loputage kõiki osi, kuni äädika lõhn on täielikult kadunud. [Joonis 7.8]
![]()
Aroomipadja ja imava padja puhastamine
- Tõmmake aroomikarp välja ja eemaldage aroomipadi. [Joonis 8.1]
![]()
- Eemaldage mürasummuti, seejärel eemaldage imav padi kütteelemendi pealt. [Joonis 8.2]
![]()
- Loputage patju sooja, voolava vee all. [Joonis 8.3]
![]()
- Kuivatage padjad puhta lapiga.
- Asetage aroomipadi tagasi aroomikarpi. [Joonis 8.4]
![]()
- Asetage imav padi tagasi alusesse.[ Joonis 8.5 ]
Märkus: Ärge kasutage vedelaid puhastusvahendeid ega pesuvahendeid patjade või mõne muu õhuniisutaja osa puhastamiseks.
![]()
Aroomipadja ja imava padja vahetamine
Kui aroomipadi või imav padi on isegi pärast puhastamist jäik, tuleb see välja vahetada. Õhuniisutajaga on kaasas lisapadjad.
Õhuniisutaja jõudluse säilitamiseks kasutage ainult ametlikke Levoit aroomipatju ja imavaid patju. Lisateabe saamiseks võtke ühendust klienditoega.
Kokkupanek
- Asetage ujuk tagasi aluskambrisse: [ Joonis 9.1 ]
- Veenduge, et ujuki õige külg on ülespoole.
- Sisestage väiksem piik ujuki kronsteinide suletud külge.
- Asetage suurem piik ujuki kronsteinide avatud (U-kujulisele) küljele.
- Asetage imav padi ja mürasummuti tagasi kütteelemendi kohale. [ Joonis 9.2 ]
![]()
- Pöörake veepaak ümber ja pange udukanal tagasi. Joonis 9.3 ]
![]()
- Veenduge, et veefiltri käsn on kindlalt veefiltri sees. Asetage veefilter tagasi paaki ja keerake seda päripäeva, et see oma kohale kinnitada. [ Joonis 9.4 ]
![]()
- Vajadusel täitke paak uuesti. Asetage paak korralikult alusele ja pange paagi kaas veepaagile.
Hoiustamine
Järgige puhastusjuhiseid ja laske kõigil osadel enne hoiustamist täielikult kuivada. Hoidke jahedas ja kuivas kohas.
VEAOTSING
| Problem (Probleem) | Possible Solution (Võimalik lahendus) |
| Humidifier doesn't turn on, or turns off unexpectedly.(Niisutaja ei lülitu sisse või lülitub ootamatult välja.) | Plug the humidifier into a working outlet and turn it on.(Ühendage niisutaja töötavasse pistikupessa ja lülitage see sisse.) |
| Add purified or distilled water to the water tank.(Lisage veepaaki puhastatud või destilleeritud vett.) | |
Little or no mist comes out(Vähe või üldse mitte udu ei tule välja) | Turn the mist level to a higher setting.(Keerake udu tase kõrgemaks.) |
| Fill the water tank.(Täitke veepaak.) | |
| There may be too much water in the base chamber. Empty the base chamber. Refill the water tank (not the base chamber) and place the water tank properly onto the base.(Põhjakambris võib olla liiga palju vett. Tühjendage põhjakaamera. Täitke veepaak (mitte põhjakaamera) ja asetage veepaak korralikult alusele.) | |
| Make sure the air inlets on the bottom of the base and in the aroma box are not blocked. The humidifier should not be set on carpet or other surfaces that may block the air inlets.(Veenduge, et õhu sisselaskeavad aluse põhjas ja aroomikarbis poleks blokeeritud. Niisutajat ei tohiks asetada vaibale ega muudele pindadele, mis võivad õhu sisselaskeavasid blokeerida.) | |
| Clean the humidifier (see Care & Maintenance). Make sure the nozzles are not blocked or clogged.(Puhastage niisutaja (vt Hooldus ja korrashoid). Veenduge, et düüsid poleks blokeeritud ega ummistunud.) | |
| Make sure the humidifier is on a level surface.(Veenduge, et niisutaja on tasasel pinnal.) | |
| If the water tank or base was washed with detergent, rinse thoroughly with clean water to remove any detergent.(Kui veepaaki või alust on pestud pesuvahendiga, loputage hoolikalt puhta veega, et eemaldada pesuvahend.) | |
| Clean the water filter or replace the water filter sponge with a new one. One replacement water filter sponge is included with this humidifier. For information on additional replacements, contact Customer Support.(Puhastage veefilter või asendage veefiltri käsn uuega. Selle niisutajaga on kaasas üks asendusveefiltri käsn. Lisateabe saamiseks täiendavate asenduste kohta võtke ühendust klienditoega.) | |
Humidifier uses water too quickly(Niisutaja kasutab vett liiga kiiresti) | The humidifier uses up water based on the environmental temperature and humidity. If your environment is cold and/or dry, the humidifier will run out of water faster.(Niisutaja kasutab vett vastavalt keskkonna temperatuurile ja niiskusele. Kui teie keskkond on külm ja/või kuiv, saab niisutaja vesi kiiremini otsa.) |
| Using the warm mist function will use up water faster.(Sooja udu funktsiooni kasutamine kulutab vett kiiremini.) | |
Humidifier produces an unusual smell(Niisutaja tekitab ebatavalist lõhna) | If the humidifier is new, unplug and rinse all parts, then place in a cool, dry place for 12 hours.(Kui niisutaja on uus, eemaldage pistik ja loputage kõiki osi, seejärel asetage 12 tunniks jahedasse ja kuiva kohta.) |
| If essential oils were placed on the aroma pad, rinse the pad under clean water and allow it to dry.(Kui aroomipadjale on pandud eeterlikke õlisid, loputage patja puhta vee all ja laske sellel kuivada.) | |
| Clean the humidifier (see Care & Maintenance).(Puhastage niisutaja (vt Hooldus ja korrashoid).) | |
Humidifier makes a loud or unusual noise(Niisutaja teeb valju või ebatavalist müra) | Make sure the water tank is properly in place (see Getting Started).(Veenduge, et veepaak on korralikult paigas (vt Alustamine).) |
| Set mist level to a lower setting.(Seadke udu tase madalamale.) | |
| Empty the base chamber. Refill the water tank (not the base chamber) and place the water tank properly onto the base.(Tühjendage põhjakaamera. Täitke veepaak (mitte põhjakaamera) ja asetage veepaak korralikult alusele.) | |
| When using the warm mist function, the heating element may make a gurgling noise if the water level is low. Add more water to the water tank.(Sooja udu funktsiooni kasutamisel võib kütteelement madala veetaseme korral tekitada gurgeldavat müra. Lisage veepaaki rohkem vett.) | |
| The humidifier may be malfunctioning. Stop using the humidifier and contact Customer Support.(Niisutaja võib olla rikkis. Lõpetage niisutaja kasutamine ja võtke ühendust klienditoega.) | |
Mist leaks from the base(Udu lekib alusest) | Make sure the water tank is properly in place (see Getting Started).(Veenduge, et veepaak on korralikult paigas (vt Alustamine).) |
White dust appears around the humidifier(Niisutaja ümber ilmub valge tolm) | We recommend using purified or distilled water to fill the humidifier. Avoid using water with high mineral content, such as tap water.(Soovitame niisutaja täitmiseks kasutada puhastatud või destilleeritud vett. Vältige kõrge mineraalainesisaldusega vee, näiteks kraanivee kasutamist.) |
| Clean the humidifier (see Care & Maintenance).(Puhastage niisutaja (vt Hooldus ja korrashoid).) | |
Water visibly leaks from the humidifier(Vesi lekib niisutajast nähtavalt) | Avoid running the humidifier in a room with over 60% relative humidity.(Vältige niisutaja kasutamist ruumis, kus suhteline õhuniiskus on üle 60%.) |
| Wipe any excess water off the top and bottom of the base.(Pühkige aluse üla- ja alaosast liigne vesi ära.) | |
| Do not shake the humidifier.(Ärge raputage niisutajat.) | |
| Make sure to place the humidifier on a flat, level surface.(Asetage niisutaja kindlasti tasasele ja tasasele pinnale.) | |
| Check the water tank for leaks. If there are leaks, contact Customer Support.(Kontrollige veepaagi lekkeid. Lekete korral võtke ühendust klienditoega.) | |
| The area around the humidifier is damp or wet from condensation.(Niisutaja ümbrus on kondensatsioonist niiske või märg.) | Humidity may be too high. Turn down the mist level, turn off the humidifier, or open a door or window to the room.(Niiskus võib olla liiga kõrge. Keerake udu taset madalamaks, lülitage niisutaja välja või avage ruumis uks või aken.) |
| Open a window to ensure proper airflow for the humidifier, or move the humidifier to a more well-ventilated room.(Avage aken, et tagada niisutaja jaoks korralik õhuvool, või viige niisutaja paremini ventileeritavasse ruumi.) | |
| Make sure the water tank is properly in place (see Getting Started).(Veenduge, et veepaak on korralikult paigas (vt Alustamine).) | |
| When replacing the water tank, wipe off excess water from the water tank and base.(Veepaagi vahetamisel pühkige veepaagist ja alusest liigne vesi ära.) | |
Mist is not warm after pressing (Udu ei ole pärast vajutamist soe) | Allow the humidifier to heat up for about 15 minutes to produce warm mist.(Laske niisutajal umbes 15 minutit soojeneda, et tekitada sooja udu.) |
| Clean the heating element (see Care & Maintenance).(Puhastage kütteelement (vt Hooldus ja korrashoid).) | |
| The mist is warm on the cool mist setting. (Udu on jaheda udu seadistuse korral soe.) | The heating element may still be warm after being used for warm mist. Allow the heating element to cool for at least 30 minutes.(Kütteelement võib pärast sooja udu jaoks kasutamist olla veel soe. Laske kütteelemendil vähemalt 30 minutit jahtuda.) |
| Mold grows inside the humidifier. (Niisutaja sees kasvab hallitus.) | Clean the water tank and base chamber regularly (see Care & Maintenance).(Puhastage veepaaki ja põhjakaamerat regulaarselt (vt Hooldus ja korrashoid).) |
lights up red.(Süttib punaselt.) | Fill the water tank.(Täitke veepaak.) |
| Place the water tank properly on the base.(Asetage veepaak korralikult alusele.) | |
| Clean the water filter or replace it with a new one. To request a new water filter, contact Customer Support.(Puhastage veefilter või asendage see uuega. Uue veefiltri taotlemiseks võtke ühendust klienditoega.) | |
| Essential oil has little or no smell. (Eeterlikul õlil on vähe või üldse mitte lõhna.) | Add more essential oil. For best results, use pure essential oil.(Lisage rohkem eeterlikku õli. Parimate tulemuste saavutamiseks kasutage puhast eeterlikku õli.) |
| Display shows an incorrect humidity percentage.(Ekraan kuvab vale niiskuse protsendi.) | The room may be larger than the humidifier's effective range. Move to a room smaller than 215–430 ft² / 20–40 m².(Ruum võib olla suurem kui niisutaja efektiivne ulatus. Kolige ruumi, mis on väiksem kui 215–430 ft² / 20–40 m².) |
| Moisture may have built up inside the humidity sensor. Make sure the nozzles are facing away from the aroma box so that mist does not settle on the sensor inside the aroma box (see diagram in Getting To Know Your Smart Humidifier). Turn off the humidifier, remove the aroma box, and allow the sensor to air dry.(Niiskus võib olla kogunenud niiskusanduri sisse. Veenduge, et düüsid on suunatud aroomikarbi poole, nii et udu ei settiks aroomikarbi sees olevale andurile (vt diagrammi jaotisest Nutika niisutajaga tutvumine). Lülitage niisutaja välja, eemaldage aroomikarp ja laske anduril õhu käes kuivada.) | |
| If the humidifier is placed within 12 inches / 30 cm of a wall or in a corner, the humidity sensor cannot provide a proper reading for the relative humidity in the room.(Kui niisutaja asetatakse seinast või nurgast 12 tolli / 30 cm kaugusele, ei saa niiskusandur anda ruumi suhtelise õhuniiskuse kohta õiget näitu.) | |
| The humidity sensor will give an improper reading if it is exposed to dust. Avoid using the humidifier in dusty rooms. Avoid using tap water in the humidifier as this can increase dust in the air.(Niiskusandur annab vale näidu, kui see puutub kokku tolmuga. Vältige niisutaja kasutamist tolmuses ruumis. Vältige kraanivee kasutamist niisutajas, kuna see võib suurendada tolmu õhus.) | |
| The humidity level isn't changing in my room.(Niiskustase minu toas ei muutu.) | Use a higher mist level setting.(Kasutage kõrgemat udu taseme seadistust.) |
| Depending on your environment, the humidifier may take longer to humidify your air.(Olenevalt teie keskkonnast võib niisutajal kuluda õhu niisutamiseks kauem aega.) | |
| The room may be larger than the humidifier's effective range. If the room is larger than 215–430 ft² / 20–40 m², the humidifier will not be as effective.(Ruum võib olla suurem kui niisutaja efektiivne ulatus. Kui ruum on suurem kui 215–430 ft² / 20–40 m², ei ole niisutaja nii tõhus.) | |
| Display shows Error Code "E1", "E2". (Ekraan kuvab veakoodi "E1", "E2".) | The humidifier is malfunctioning. Contact Customer Support.(Niisutaja on rikkis. Võtke ühendust klienditoega.) |
If your problem is not listed, (Kui teie probleemi pole loendis) please contact Customer Support.(võtke ühendust klienditoega.)
VESYNC RAKENDUSE VEAOTSING
Why isn't my humidifier connecting to the VeSync app?(Miks minu niisutaja ei loo ühendust rakendusega VeSync?)
- Make sure your phone has Bluetooth® turned on and is not currently connected to another Bluetooth device.(Veenduge, et teie telefonis oleks Bluetooth® sisse lülitatud ja see poleks praegu ühendatud teise Bluetooth-seadmega.)
- During the setup process, you must be on a secure 2.4GHz Wi-Fi network. Confirm that the network is working correctly.(Seadistamise ajal peate olema turvalises 2,4 GHz WiFi-võrgus. Veenduge, et võrk töötab õigesti.)
- Make sure the Wi-Fi password you entered is correct.(Veenduge, et sisestatud WiFi parool on õige.)
- Make sure your humidifier and phone are within 30 ft / 10 m of each other.(Veenduge, et teie niisutaja ja telefon oleksid üksteisest 30 jala / 10 m kaugusel.)
- Reset the humidifier by pressing and holding
for 15 seconds. Then try connecting again.(Lähtestage niisutaja, vajutades ja hoides all
15 sekundit. Seejärel proovige uuesti ühendust luua.)
My humidifier is offline
(Minu niisutaja on võrguühenduseta)- Make sure the humidifier is plugged in. The humidifier may appear to be offline if it is unplugged, or if the outlet does not have power.(Veenduge, et niisutaja on vooluvõrku ühendatud. Niisutaja võib tunduda võrguühenduseta, kui see on vooluvõrgust lahti ühendatud või kui pistikupesas pole voolu.)
- Refresh the VeSync menu by swiping down on the screen.(Värskendage VeSynci menüüd, libistades ekraanil alla.)
- Make sure your router is connected to the internet and your phone's network connection is working.(Veenduge, et teie ruuter on Internetiga ühendatud ja teie telefoni võrguühendus töötab.)
- Reset the humidifier using one of these options:(Lähtestage niisutaja ühega neist valikutest:)
- Delete the humidifier from the VeSync app. Swipe left (iOS®) or press and hold (Android), then tap Delete.(Kustutage niisutaja rakendusest VeSync. Pühkige vasakule (iOS®) või vajutage ja hoidke all (Android), seejärel puudutage nuppu Delete (Kustuta).) Then reconfigure your humidifier with the VeSync app.(Seejärel konfigureerige niisutaja uuesti rakendusega VeSync.)
- Press and hold
for 15 seconds. Then reconfigure your humidifier with the VeSync app.
Note: (Märkus:) Power outages, internet outages, or changing Wi-Fi routers may cause your humidifier to go offline.(Elektrikatkestused, Interneti-katkestused või WiFi-ruuterite vahetamine võivad põhjustada niisutaja võrguühenduseta oleku.)
The VeSync app is displaying an incorrect humidity percentage while the humidifier is turned on.(Rakendus VeSync kuvab niisutaja sisselülitamisel vale niiskuse protsendi.)
- The room may be larger than the humidifier's effective range. Move to a room smaller than 215–430 ft² / 20–40 m².(Ruum võib olla suurem kui niisutaja efektiivne ulatus. Kolige ruumi, mis on väiksem kui 215–430 ft² / 20–40 m².)
- Moisture may have built up inside the humidity sensor. Make sure the nozzles are facing away from the aroma box so that mist does not settle on the sensor inside the aroma box (see diagram in Getting To Know Your Smart Humidifier). Turn off the humidifier, remove the aroma box, and allow the sensor to air dry.(Niiskus võib olla kogunenud niiskusanduri sisse. Veenduge, et düüsid on suunatud aroomikarbi poole, nii et udu ei settiks aroomikarbi sees olevale andurile (vt diagrammi jaotisest Nutika niisutajaga tutvumine). Lülitage niisutaja välja, eemaldage aroomikarp ja laske anduril õhu käes kuivada.)
- If the humidifier is placed within 12 inches / 30 cm of a wall or in a corner, the humidity sensor cannot provide a proper reading for the relative humidity in the room.(Kui niisutaja asetatakse seinast või nurgast 12 tolli / 30 cm kaugusele, ei saa niiskusandur anda ruumi suhtelise õhuniiskuse kohta õiget näitu.)
- The humidity sensor will give an improper reading if it is exposed to dust. Avoid using the humidifier in dusty rooms.(Niiskusandur annab vale näidu, kui see puutub kokku tolmuga. Vältige niisutaja kasutamist tolmuses ruumis.)
If your problem is not listed, (Kui teie probleemi pole loendis) please contact Customer Support.(võtke ühendust klienditoega.)
Questions or Concerns?(Küsimused või mured?)
Please contact us Mon–Fri, 9:00 am–5:00 pm PST/PDT at support@levoit.com or at (888) 726-8520.

References
(Viited)Laadi alla juhend
Siin saate alla laadida juhendi täieliku pdf-versiooni, mis võib sisaldada täiendavaid ohutusjuhiseid, garantiiteavet, FCC eeskirju jne.
Laadi alla Levoit OasisMist LUH-O451S-WUS - nutika õhuniisutaja kasutusjuhend







, et kasutada automaatrežiimis sooja udu.
, et automaatrežiim välja lülitada ja jätkata käsitsi juhtimist.



































(Udu ei ole pärast vajutamist soe)