HEINE BETA 200, alpha+ - Retinoskoopin käyttöohjeet

Yleiskatsaus

- Liitin
- Lampun suojus
- Säätörengas
- Liukusäädin
- Otsatuki
- Otsatuki
Turvallisuustiedot
Käyttöalue: HEINE-retinoskooppi on suunniteltu yksinomaan silmän refraktion määrittämiseen.
Turvallisuus käytössä: Käytä vain kahvoja tai laitteita, jotka on erityisesti suunniteltu lääketieteelliseen käyttöön virtalähteenä.
Huomaa: Tämän instrumentin suorituskyky voidaan taata vain, jos käytetään aitoja HEINE-ladattavia akkuja tai alkali-mangaaniparistoja.
Otsatuet
Instrumentin mukana toimitetaan kaksi eripituista otsatukea (5) ja (6). Ne voidaan irrottaa ja vaihtaa käyttäjän mieltymysten mukaan.
Toiminto
Säätörenkaalla (3) pyöritetään viivakuvaa 360º. Alin asento antaa hajasäteen, ylin asento kohdistaa viivan noin 25 cm:n etäisyydelle retinoskoopin eteen.
ParaStop: Liukusäädin (4) rajoittaa säätörenkaan ylöspäin suuntautuvaa liikettä, jolloin saadaan yläasennossa yhdensuuntainen valonsäde. Käytä painamalla painiketta sisään ja alas. Vapauta painamalla painiketta tai säätörengasta (3) ylöspäin.
Lampun vaihto
Huomaa: Tämän instrumentin suorituskyky voidaan taata vain, jos käytetään aitoja HEINE XHL Xenon Halogen -varalamppuja.
- Irrota liitin (1) ja ravista kevyesti lampun irrottamiseksi.
- Vedä irti lampun suojus (2).
- Pyyhi uuden varalampun lasiosa puhtaalla liinalla ja aseta lampun suojus takaisin paikalleen.
- Aseta lamppu retinoskooppiin ja aseta liitin takaisin paikalleen.
Pistetoiminto
Muunna viivaretinoskooppi pistoretinoskoopiksi yksinkertaisesti vaihtamalla viivalamppu pistelamppuun.
Oranssi suodatin
Sininen valo imeytyy pääasiassa fundukseen eikä vaikuta fundusrefleksiin. Oranssi suodatin vähentää häikäisyä, koska se estää sinistä valoa. Suodatintarvike voidaan asentaa lampun suojuksen sijasta.
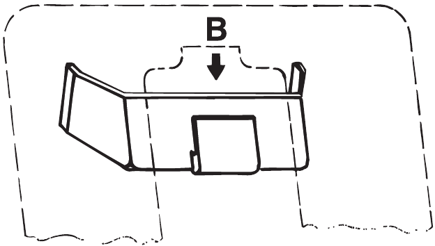
Fiksaatiokortit
HEINE-fiksaatiokortit dynaamista retinoskopiaa varten kiinnitetään retinoskooppiin erityisellä kiinnikkeellä.
- Liu'uta kiinnike potilaan puolelta sivuttaisuriin (A).
- Valitse fiksaatiokortti ja kiinnitä se ylhäältä (B).
Kun fiksaatiokortteja ei käytetä, kiinnike voidaan jättää retinoskooppiin tai se voidaan irrottaa vetämällä se irti.

Hoito ja ylläpito
Lampun vaurioitumisen estämiseksi vältä retinoskoopin kovaa käsittelyä, erityisesti kun lamppu on päällä.
Kotelo ja fiksaatiokortit voidaan puhdistaa miedolla pesuaineella ja pehmeällä liinalla. Käytä linssin puhdistusliinaa tai vanupuikkoa ja alkoholia ulkoisten ikkunoiden puhdistamiseen.
Sovellettavat standardit: DIN EN ISO 12865

Paikallisten määräysten mukaisesti tämä tuote on hävitettävä erillään elektronisena laitteena.
Takuu
Tavallisen 2 vuoden takuun sijasta myönnämme tälle laitteelle 5 vuoden takuun tehtaaltamme toimituspäivästä lukien (tämä ei koske kulutustarvikkeita, kuten lamppuja, kärkiä ja akkuja).
Takaamme laitteen moitteettoman toiminnan, mikäli sitä käytetään valmistajan tarkoittamalla tavalla ja käyttöohjeiden mukaisesti. Kaikki takuuaikana ilmenevät viat tai puutteet korjataan maksutta, mikäli ne johtuvat materiaali-, suunnittelu- tai valmistusvirheistä. Mikäli tuotteessa ilmenee takuuaikana valituksen aiheuttava vika, ostajan on todistettava, että tällainen vika oli olemassa tuotteen toimitushetkellä.
Korjauksia varten ota yhteyttä toimittajaasi, joka palauttaa tavarat meille tai valtuutetulle edustajallemme.

Lataa käyttöohje
Täältä voit ladata täydellisen pdf-version käyttöohjeesta, se voi sisältää lisäturvallisuusohjeita, takuutietoja, FCC-sääntöjä jne.
Lataa HEINE BETA 200, alpha+ - Retinoskoopin käyttöohjeet