Zanussi ZCAN26FW1, ZCAN26EW1 - Pakastinarkun käyttöohje
- 1 KÄY SIVUILLAMME
- 2 ASENNUS
- 3 YLEISKATSAUS
- 4 OHJAUSPANEELI
- 5 ENNEN ENSIMMÄISTÄ KÄYTTÖÄ
- 6 PÄIVITTÄINEN KÄYTTÖ
- 7 VINKKEJÄ
- 8 HOITO JA PUHDISTUS
- 9 VIANMÄÄRITYS
- 10 ÄÄNET
- 11 TEKNISET TIEDOT
- 12 TIETOA TESTAUSLAITOKSILLE
- 13 TURVALLISUUSTIETOJA
- 14 TURVALLISUUSOHJEET
- 15 Viitteet
- 16 Lataa käyttöohje
- 17 Muilla kielillä

KÄY SIVUILLAMME
Hanki käyttöohjeita, esitteitä, vianmääritysohjeita, huolto- ja korjaustietoja: www.zanussi.com/support
ASENNUS
Katso turvallisuuslukua.
MITAT

| Kokonaismitat1) | ||
| H1 | mm | 845 |
| W1 | mm | 960 |
| D1 | mm | 700 |
- laitteen leveys, korkeus ja syvyys ilman kahvaa
| Tilaa käytössä1) | ||
| H2 | mm | 945 |
| W2 | mm | 1160 |
| D2 | mm | 845 |
- laitteen korkeus, leveys ja syvyys kahva mukaan lukien sekä jäähdytysilman vapaaseen kiertoon tarvittava tila
| Kokonaisvaatimus käytössä1) | ||
| H3 | mm | 1527 |
| W2 | mm | 1160 |
| D2 | mm | 845 |
- laitteen korkeus, leveys ja syvyys kahva mukaan lukien sekä jäähdytysilman vapaaseen kiertoon tarvittava tila sekä tila, joka tarvitaan oven avaamiseen vähimmäiskulmaan, jotta kaikki sisävarusteet voidaan poistaa
SIJAINTI
Laite on asennettava riittävän kauas lämmönlähteistä, kuten pattereista, lämminvesivaraajista ja suorasta auringonpaisteesta.
- Aseta laite vaakasuoraan tukevalle alustalle.
- Varmista, että laite on vaakatasossa.
- Parhaan suorituskyvyn saavuttamiseksi älä sijoita laitetta seinäkaappien alle.
- Varmista, että ilma pääsee kiertämään vapaasti laitteen ympärillä.
Jos asianmukaisia ilmanvaihtovaatimuksia ei noudateta erilaisen asennuksen vuoksi, laite toimii oikein, mutta energiankulutus saattaa hieman kasvaa.
Laitteen irrottaminen verkkovirrasta on oltava mahdollista. Pistotulpan on siksi oltava helposti saatavilla asennuksen jälkeen.
SIJOITTAMINEN
Tätä laitetta ei ole tarkoitettu käytettäväksi sisäänrakennettuna laitteena.
Tämä laite on asennettava kuivaan, hyvin ilmastoituun sisätilaan. Ympäristön kosteus ei saa ylittää 75 %.
Tämä laite on tarkoitettu käytettäväksi ympäristön lämpötilassa, joka on 10–43 °C. Laitteen oikea toiminta voidaan taata vain määritellyllä lämpötila-alueella.
Jos sinulla on epäilyksiä laitteen asennuspaikan suhteen, ota yhteyttä myyjään, asiakaspalveluumme tai lähimpään valtuutettuun huoltoliikkeeseen.
SÄHKÖLIITÄNTÄ
Kaikki tämän laitteen asentamiseen tarvittavat sähkötyöt on suoritettava pätevän sähköasentajan tai pätevän henkilön toimesta.
Tämä laite on maadoitettava.
Valmistaja ei ota vastuuta, jos näitä turvallisuusmääräyksiä ei noudateta.
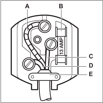
Verkkojohdon johdot on värikoodattu seuraavasti:

- A – vihreä ja keltainen: Maadoitus
- C – ruskea: Jännitteinen
- D – sininen: Nolla
Koska tämän laitteen verkkojohdon johtojen värit eivät välttämättä vastaa pistotulpan liittimien tunnistamiseen käytettyjä värillisiä merkintöjä, toimi seuraavasti:
- Liitä vihreä ja keltainen johto liittimeen, joka on merkitty joko kirjaimella "E" tai maadoitussymbolilla
tai väriltään vihreä ja keltainen. - Liitä sininen johto liittimeen, joka on merkitty joko kirjaimella "N" tai väriltään musta.
- Liitä ruskea johto liittimeen, joka on merkitty joko kirjaimella "L" tai väriltään punainen.
- Tarkista, ettei johto ole katki tai että siinä ei ole irtonaisia säikeitä, ja että johdon pidike (E) on tiukasti ulkovaippansa päällä.
Varmista, että sähkönsyöttöjännite on sama kuin laitteen tyyppikilvessä ilmoitettu. - Kytke laite päälle.
Laitteen mukana toimitetaan 13 ampeerin sulake (B). Jos mukana toimitetun pistotulpan sulake on vaihdettava, on käytettävä 13 ampeerin ASTA-hyväksyttyä (BS 1362) sulaketta.
Katkaistu pistotulppa, joka on asetettu 13 ampeerin pistorasiaan, on vakava turvallisuusriski (sähköisku). Varmista, että se hävitetään turvallisesti.
KAHVAN ASENNUSOHJE
- Ota kahvan pohja ja 2 ruuvia muovipussista.
- Aseta kahva kuvan mukaisesti paikalleen. Kiinnitä kahvan pohja kanteen ristipääruuvimeisselillä.
![Zanussi - ZCAN26FW1 - KAHVAN ASENNUSOHJE KAHVAN ASENNUSOHJE]()
Avaa ja sulje kansi useita kertoja varmistaaksesi, että kahva on kunnolla kiinni.
YLEISKATSAUS
LAITTEEN KUVAUS

- Kahva
- Kori
- Ohjauspaneeli
- Ulkoinen tyhjennystulppa
- Pyörät
OHJAUSPANEELI
OHJAUSPANEELI

- Lämpötilan ilmaisin
- SUPER-merkkivalo
- SET-painike
- OFF-painike
- Käynti-merkkivalo
PÄÄLLE/POIS PÄÄLTÄ KYTKEMINEN
- Kytke laite päälle asettamalla pistotulppa pistorasiaan.
- Jos merkkivalot ovat pois päältä, paina OFF-painiketta 3 sekunnin ajan.
- Kytke laite pois päältä painamalla OFF-painiketta 3 sekunnin ajan.
LÄMPÖTILAN SÄÄTÖ
Lämpötilan asettaminen:
- Paina SET-painiketta toistuvasti, kunnes saavutat halutun lämpötilan.
Suositeltu lämpötila on -18 °C.
- Lämpötila asetetaan 5 sekunnin kuluttua viimeisestä painalluksesta.
Tarkka asetus on valittava pitäen mielessä, että laitteen sisälämpötila riippuu:
- huoneen lämpötilasta
- kuinka usein kansi avataan
- varastoidun ruoan määrästä
- laitteen sijainnista.
Jos laitetta käytetään ympäristön lämpötilassa +10 °C ja -15 °C välillä, termostaatti on asetettava kylmimpään lämpötilaan (-22 °C), jotta kompressori toimii oikein.
SUPER-TOIMINTO
SUPER-toiminto nopeuttaa tuoreen ruoan pakastamista ja suojaa samalla jo varastoituja elintarvikkeita ei-toivotulta lämpenemiseltä.
Toiminnon aktivoiminen:
- Paina SET-painiketta toistuvasti, kunnes SUPER-merkkivalo syttyy.
- Toiminto asetetaan 5 sekunnin kuluttua viimeisestä painalluksesta.
SUPER-toiminto pysähtyy automaattisesti 52 tunnin kuluttua, ja lämpötila palautuu edelliseen asetukseen.
Voit pysäyttää toiminnon manuaalisesti ennen sitä painamalla SET-painiketta ja asettamalla halutun lämpötilan.
KÄYNTI-MERKKIVALO
Tämä merkkivalo palaa, kun kompressori toimii, ja se sammuu, kun kompressori lakkaa toimimasta.
ENNEN ENSIMMÄISTÄ KÄYTTÖÄ
Katso turvallisuuslukua.
SISÄPUOLEN PUHDISTAMINEN
Ennen laitteen ensimmäistä käyttökertaa sisäpuoli ja kaikki sisäiset lisävarusteet on pestävä haalealla vedellä ja miedolla saippualla uuden tuotteen tyypillisen hajun poistamiseksi, ja kuivattava sitten huolellisesti.
Älä käytä pesuaineita, hankaavia jauheita, klooria tai öljypohjaisia puhdistusaineita, koska ne vahingoittavat pintaa.
SÄHKÖLIITÄNTÄ
Kun liität laitteen virtalähteeseen tai se käynnistyy sähkökatkon jälkeen, kaikki merkkivalot vilkkuvat kerran. Sitten laite palaa edelliseen asetukseen.
PÄIVITTÄINEN KÄYTTÖ
Katso turvallisuuslukua.
TUOREEN RUOAN PAKASTAMINEN
Pakastelokero soveltuu tuoreen ruoan pakastamiseen sekä pakastetun ja syväjäädytetyn ruoan säilyttämiseen pitkään.
Suurin ruokamäärä, joka voidaan pakastaa 24 tunnissa, on määritelty tyyppikilvessä (katso "Tekniset tiedot").
Käynnistä SUPER-toiminto 24 tuntia ennen ruoan asettamista laitteeseen.
Pakastusprosessi kestää 24 tuntia, älä lisää tänä aikana muuta pakastettavaa ruokaa.
PAKASTETUN RUOAN SÄILYTYS
Kun käynnistät laitteen ensimmäistä kertaa tai kun se on ollut pois käytöstä jonkin aikaa, anna laitteen käydä vähintään 24 tuntia korkeimmilla asetuksilla ennen tuotteiden asettamista lokeroon.
Voit poistaa korin saadaksesi enemmän säilytystilaa.
Jos tuote sulaa vahingossa, esimerkiksi sähkökatkon vuoksi, ja virta on ollut poissa päältä pidempään kuin teknisten tietojen taulukossa kohdassa "lämpenemisaika" ilmoitettu arvo, sulanut ruoka on kulutettava nopeasti tai kypsennettävä välittömästi ja pakastettava sitten uudelleen (jäähdyttämisen jälkeen).
SULATUS
Syväjäädytetty tai pakastettu ruoka voidaan ennen käyttöä sulattaa jääkaapissa tai huoneenlämmössä riippuen tähän toimintoon käytettävissä olevasta ajasta.
Pienet palat voidaan jopa kypsentää vielä pakastettuina suoraan pakastimesta: tässä tapauksessa kypsennys kestää kauemmin.
VINKKEJÄ
VINKKEJÄ ENERGIANSÄÄSTÖÖN
- Laitteen sisäinen rakenne on sellainen, että se takaa tehokkaimman energiankäytön.
- Älä avaa kantta usein tai jätä sitä auki tarpeettoman pitkäksi aikaa.
- Mitä kylmempi lämpötila-asetus, sitä suurempi energiankulutus.
- Varmista hyvä ilmanvaihto. Älä peitä tuuletusritilöitä tai -aukkoja.
VINKKEJÄ PAKASTAMISEEN
- Aktivoi SUPER-toiminto vähintään 24 tuntia ennen elintarvikkeiden asettamista pakastelokeroon.
- Ennen pakastamista kääri ja sulje tuoreet elintarvikkeet: alumiinifolioon, muovikelmuun tai -pusseihin, ilmatiiviisiin astioihin kannella.
- Tehokkaamman pakastuksen ja sulatuksen saavuttamiseksi jaa ruoka pieniin annoksiin.
- On suositeltavaa laittaa etiketit ja päivämäärät kaikkiin pakastettuihin elintarvikkeisiin. Tämä auttaa tunnistamaan elintarvikkeet ja tietämään, milloin ne tulisi käyttää ennen niiden pilaantumista.
- Elintarvikkeiden tulisi olla tuoreita pakastettaessa hyvän laadun säilyttämiseksi. Erityisesti hedelmät ja vihannekset tulisi pakastaa sadonkorjuun jälkeen, jotta kaikki niiden ravintoaineet säilyisivät.
- Älä pakasta pulloja tai tölkkejä, joissa on nesteitä, erityisesti hiilidioksidia sisältäviä juomia, koska ne voivat räjähtää pakastuksen aikana.
- Älä laita kuumia ruokia pakastelokeroon. Jäähdytä se huoneenlämmössä ennen sen asettamista lokeroon.
- Jotta vältetään jo pakastettujen elintarvikkeiden lämpötilan nousu, älä aseta tuoreita pakastamattomia elintarvikkeita suoraan niiden viereen. Aseta huoneenlämpöiset elintarvikkeet pakastelokeron siihen osaan, jossa ei ole pakastettuja elintarvikkeita.
- Älä syö jääpaloja, vesijäitä tai mehujäitä heti pakastimesta ottamisen jälkeen. Paleltumien riski.
- Älä pakasta sulatettuja elintarvikkeita uudelleen. Jos ruoka on sulanut, kypsennä se, jäähdytä se ja pakasta se sitten.
VINKKEJÄ PAKASTETUN RUOAN SÄILYTYKSEEN
- Pakastelokero on merkitty kuvakkeella
. - Hyvä lämpötila-asetus, joka varmistaa pakastettujen elintarvikkeiden säilymisen, on lämpötila, joka on pienempi tai yhtä suuri kuin -18 °C. Korkeampi lämpötila-asetus laitteen sisällä voi johtaa lyhyempään säilyvyysaikaan.
- Koko pakastelokero soveltuu pakastettujen elintarvikkeiden säilytykseen.
- Jätä riittävästi tilaa elintarvikkeiden ympärille, jotta ilma pääsee kiertämään vapaasti.
- Riittävän säilytyksen varmistamiseksi katso elintarvikepakkauksen etiketistä elintarvikkeen säilyvyysaika.
- On tärkeää kääriä ruoka siten, että vesi, kosteus tai kondensaatio ei pääse sisään.
OSTOSVINKKEJÄ
Ruokaostosten jälkeen:
- Varmista, että pakkaus ei ole vaurioitunut - ruoka voi olla pilaantunut. Jos pakkaus on turvonnut tai märkä, sitä ei ehkä ole säilytetty optimaalisissa olosuhteissa ja sulaminen on saattanut jo alkaa.
- Pakasteiden sulamisprosessin rajoittamiseksi osta pakasteet ruokaostosten lopussa ja kuljeta ne lämpö- ja eristetyissä kylmälaukuissa.
- Aseta pakasteet välittömästi pakastimeen kaupasta palattuasi.
- Jos ruoka on sulanut edes osittain, älä pakasta sitä uudelleen. Kuluta se mahdollisimman pian.
- Noudata viimeistä käyttöpäivää ja pakkauksessa olevia säilytystietoja.
SÄILYVYYSAIKA
| Elintarviketyyppi | Säilyvyysaika (kuukausia) |
| Leipä | 3 |
| Hedelmät (paitsi sitrushedelmät) | 6 - 12 |
| Vihannekset | 8 - 10 |
| Tähteet ilman lihaa | 1 - 2 |
| Maitotuotteet: | |
| Voi | 6 - 9 |
| Pehmeä juusto (esim. mozzarella) | 3 - 4 |
| Kova juusto (esim. parmesaani, cheddar) | 6 |
| Merenelävät: | |
| Rasvainen kala (esim. lohi, makrilli) | 2 - 3 |
| Vähärasvainen kala (esim. turska, kampela) | 4 - 6 |
| Katkaravut | 12 |
| Kuoritut simpukat ja sinisimpukat | 3 - 4 |
| Kypsennetty kala | 1 - 2 |
| Liha: | |
| Siipikarja | 9 - 12 |
| Nauta | 6 - 12 |
| Sika | 4 - 6 |
| Lammas | 6 - 9 |
| Makkara | 1 - 2 |
| Kinkku | 1 - 2 |
| Tähteet lihan kanssa | 2 - 3 |
HOITO JA PUHDISTUS
Katso Turvallisuus-luvut.
PUHDISTUS
Irrota laite pistorasiasta ennen huoltotoimenpiteiden suorittamista.
Älä käytä pesuaineita, hankaavia tuotteita, voimakkaasti hajustettuja puhdistusaineita tai vahakiillotusaineita laitteen sisäpuolen puhdistamiseen.
Älä käytä höyrypuhdistimia laitteen puhdistamiseen.
Estä jäähdytysjärjestelmän vaurioituminen.
- Kytke laite pois päältä.
- Poista kaikki varastoidut elintarvikkeet, kääri ne useisiin kerroksiin sanomalehteä ja laita ne viileään paikkaan.
- Puhdista laite ja lisävarusteet säännöllisesti lämpimällä vedellä ja neutraalilla saippualla. Puhdista kannen tiiviste huolellisesti.
- Kuivaa laite kokonaan.
- Liitä pistoke pistorasiaan.
- Kytke laite päälle.
- Aseta lämpötila MAX-asetukseen ja sulje kansi. Odota kaksi tai kolme tuntia, ennen kuin lataat aiemmin poistetut elintarvikkeet takaisin laitteeseen.
- Aseta lämpötila haluttuun asetukseen.
HUURTEEN POISTAMINEN
Älä koskaan käytä teräviä metallityökaluja kertyneen huurteen poistamiseen, koska ne voivat vahingoittaa laitetta.

Kaapin rungon tai sisävuoren pinnalle voi kertyä huurretta jonkin ajan kuluttua.
On suositeltavaa poistaa huurre muovisella jääkaapimella (sisältyy lisävarustepussiin) joka kuukausi.


PAKASTIMEN SULATTAMINEN
Älä käytä mekaanista tai sähköistä laitetta sulatusprosessin nopeuttamiseen. Älä käytä keinotekoisia keinoja.
Sulata pakastin, kun huurrekerros saavuttaa noin 4-5 mm:n paksuuden.
- Kytke laite pois päältä.
- Poista kaikki varastoidut elintarvikkeet, kääri ne useisiin kerroksiin sanomalehteä ja laita ne viileään paikkaan.
- Irrota tyhjennystulppa laitteen sisäpuolelta.
- Jätä kansi auki.
- Aseta alusta ulomman tyhjennystulpan alle.
- Vedä ulompi tyhjennystulppa ulos.
![Zanussi - ZCAN26FW1 - DEFROSTING THE FREEZER - Step 1 PAKASTIMEN SULATTAMINEN - Vaihe 1]()
- Kierrä tyhjennystulppaa 180 astetta, jotta tyhjennysvesi pääsee virtaamaan alustaan.
![Zanussi - ZCAN26FW1 - DEFROSTING THE FREEZER - Step 2 PAKASTIMEN SULATTAMINEN - Vaihe 2]()
Varmista, että vesi ei läiky alustasta.
- Puhdista sisäpuoli ja kuivaa se huolellisesti.
- Kytke laite päälle.
- Aseta lämpötila korkeampaan asetukseen ja sulje kansi. Odota kaksi tai kolme tuntia, ennen kuin lataat aiemmin poistetut elintarvikkeet takaisin laitteeseen.
- Aseta lämpötila haluttuun asetukseen.
VIANMÄÄRITYS
Katso turvallisuuslukua.
MITÄ TEHDÄ JOS...
Laitteen käytön aikana voi esiintyä ääniä (esim. kuplimista, surinaa, ritinää tai napsahtelua), jotka ovat normaaleja.
| Ongelma | Mahdollinen syy | Ratkaisu |
| Laite ei toimi. | Laite on kytketty pois päältä. | Kytke laite päälle. |
| Verkkopistoke ei ole kytketty oikein pistorasiaan. | Tarkista, että laite on kytketty oikein. | |
| Pistorasiassa ei ole jännitettä. | Kytke laite toiseen pistorasiaan. Ota yhteyttä pätevään sähköasentajaan. | |
| Laite on meluisa. | Laite ei ole tuettu kunnolla. | Tarkista, että laite seisoo vakaasti. Katso "Sijainti"-osiota. |
| Laite koskettaa seinää tai muita esineitä. | Siirrä laitetta hieman. Katso "Sijainti"-osiota. | |
| Lämpötilan ilmaisin vilkkuu vasemmalta oikealle. | Lämpötila-anturissa on virhe. | Ota yhteyttä valtuutettuun huoltokeskukseen. |
| Kansi ei sulkeudu kokonaan. | Elintarvikepakkaukset estävät kannen sulkeutumisen. | Aseta pakkaukset oikein. |
| Laitteessa on liikaa huurretta. | Sulata laite. Katso "Pakastimen sulattaminen" -osiota. | |
| Kantta on vaikea avata. | Kannen tiiviste on likainen tai tahmea. | Puhdista kannen tiiviste. |
| Lamppu ei toimi. | Lamppu on viallinen. | Ota yhteyttä valtuutettuun huoltokeskukseen LED-valon vaihtamiseksi. |
| Kompressori käy jatkuvasti. | Lämpötila on asetettu väärin. | Katso "Lämpötilan säätö" -osiota. |
| Suuria määriä pakastettavia elintarvikkeita on lisätty samanaikaisesti. | Odota muutama tunti ja tarkista sitten lämpötila uudelleen. | |
| Huoneen lämpötila on liian korkea. | Katso ilmastoluokkataulukkoa tyyppikilvestä tai "Sijoitus"-osiosta. | |
| Laitteeseen sijoitettu ruoka oli liian lämmintä. | Anna ruoan jäähtyä huoneenlämpöiseksi ennen varastointia. | |
| Kansi ei ole suljettu kunnolla. | Tarkista, että kansi sulkeutuu kunnolla ja että tiivisteet eivät ole vaurioituneet tai likaiset. | |
| SUPER-toiminto on kytketty päälle. | Katso "SUPER-toiminto" -osiota. | |
| Liikaa huurretta ja jäätä. | Kansi ei ole suljettu kunnolla tai tiiviste on vääntynyt tai likainen. | Tarkista, että kansi sulkeutuu kunnolla. Puhdista tiiviste tai vaihda se, jos siinä on vaurioita. |
| Lämpötila on asetettu väärin. | Katso "Lämpötilan säätö" -osiota. | |
| Kompressori ei käynnisty heti, kun SUPER-painiketta on painettu tai lämpötilaa on muutettu. | Tämä on normaalia, virhettä ei ole tapahtunut. | Kompressori käynnistyy jonkin ajan kuluttua. |
| Lämpötila laitteessa on liian alhainen tai liian korkea. | Lämpötilansäädin ei ole asetettu oikein. | Aseta korkeampi tai matalampi lämpötila. |
| Kansi ei ole suljettu kunnolla. | Tarkista, että kansi sulkeutuu kunnolla ja että tiivisteet eivät ole vaurioituneet tai likaiset. | |
| Tuotteiden lämpötila on liian korkea. | Anna ruoan jäähtyä huoneenlämpöiseksi ennen varastointia. | |
| Monia tuotteita varastoidaan samanaikaisesti. | Varastoi vähemmän tuotteita samanaikaisesti. | |
| Huurteen paksuus sisävuorauksessa on yli 4–5 mm. | Sulata laite. Katso "Pakastimen sulattaminen" -osiota. | |
| Kansi avattiin liian usein. | Avaa kansi vain tarvittaessa. | |
| SUPER-toiminto on kytketty päälle. | Katso "SUPER-toiminto" -osiota. | |
| Pakastettavat tuotteet on sijoitettu liian lähelle toisiaan. | Varmista, että laitteessa on kylmän ilman kierto. | |
| Laite on sijoitettu lämmönlähteen lähelle. | Katso "Sijainti"-osiota. |
Jos laitteesi ei vieläkään toimi kunnolla yllä olevien tarkistusten jälkeen, ota yhteyttä lähimpään valtuutettuun huoltokeskukseen.
Ilmoita laitteesi malli ja sarjanumero, kun otat yhteyttä valtuutettuun huoltokeskukseen. Tämä nopeuttaa saadun tuen saamista.
ÄÄNET

TEKNISET TIEDOT
Tekniset tiedot sijaitsevat laitteen sisäpuolella olevassa tyyppikilvessä ja energiamerkinnässä.
Laitteen mukana toimitetun energiamerkinnän QR-koodi tarjoaa verkkolinkin laitteen suorituskykyyn liittyviin tietoihin. Säilytä energiamerkintä viitteenä yhdessä käyttöohjeen ja kaikkien muiden tämän laitteen mukana toimitettujen asiakirjojen kanssa.
TIETOA TESTAUSLAITOKSILLE
Laitteen asennuksen ja valmistelun EcoDesign-todentamista varten on oltava standardin BS EN 62552 mukainen. Tuuletusvaatimusten, syvennyksen mittojen ja vähimmäisetäisyyksien takana on oltava tämän käyttöohjeen mukaiset. Ota yhteyttä valmistajaan saadaksesi lisätietoja, mukaan lukien lastaussuunnitelmat.
TURVALLISUUSTIETOJA
Lue mukana toimitetut ohjeet huolellisesti ennen laitteen asennusta ja käyttöä. Valmistaja ei ole vastuussa vahingoista tai vammoista, jotka johtuvat virheellisestä asennuksesta tai käytöstä. Säilytä ohjeet aina turvallisessa ja helposti saatavilla olevassa paikassa tulevaa tarvetta varten.
LASTEN JA HAAVOITTUVIEN IHMISTEN TURVALLISUUS
- Tätä laitetta voivat käyttää vähintään 8-vuotiaat lapset ja henkilöt, joiden fyysiset, sensoriset tai henkiset kyvyt ovat heikentyneet tai joilla ei ole kokemusta ja tietoa, jos heitä on valvottu tai opastettu laitteen turvalliseen käyttöön ja he ymmärtävät siihen liittyvät vaarat.
- 3–8-vuotiaat lapset ja henkilöt, joilla on erittäin laajoja ja monimutkaisia vammoja, on pidettävä poissa laitteen luota, ellei heitä valvota jatkuvasti.
- Alle 3-vuotiaat lapset on pidettävä poissa laitteen luota, ellei heitä valvota jatkuvasti.
- Lapsia on valvottava sen varmistamiseksi, etteivät he leiki laitteella.
- Lapset eivät saa suorittaa laitteen puhdistusta ja käyttäjän huoltoa ilman valvontaa.
- Pidä kaikki pakkaukset poissa lasten ulottuvilta ja hävitä ne asianmukaisesti.
YLEINEN TURVALLISUUS
- Tämä laite on tarkoitettu vain elintarvikkeiden ja juomien säilyttämiseen.
- Tämä laite on suunniteltu käytettäväksi yhden kotitalouden kotikäyttöön sisätiloissa.
- Tätä laitetta voidaan käyttää toimistoissa, hotellihuoneissa, aamiaismajoitushuoneissa, maatilojen vierastaloissa ja muissa vastaavissa majoitustiloissa, joissa tällainen käyttö ei ylitä (keskimääräistä) kotitalouskäyttöä.
- Elintarvikkeiden saastumisen välttämiseksi noudata seuraavia ohjeita:
- älä avaa ovea pitkäksi aikaa;
- puhdista säännöllisesti pinnat, jotka voivat joutua kosketuksiin elintarvikkeiden ja helposti saatavilla olevien viemärijärjestelmien kanssa;
Pidä tuuletusaukot laitteen kotelossa tai sisäänrakennetussa rakenteessa esteettöminä.
Älä käytä mekaanisia laitteita tai muita keinoja sulatusprosessin nopeuttamiseksi, muita kuin valmistajan suosittelemia.
Älä vahingoita kylmäainepiiriä.
Älä käytä sähkölaitteita laitteen elintarvikkeiden säilytyslokeroissa, elleivät ne ole valmistajan suosittelemaa tyyppiä.- Älä käytä vesisuihketta ja höyryä laitteen puhdistamiseen.
- Puhdista laite kostealla pehmeällä liinalla. Käytä vain neutraaleja pesuaineita. Älä käytä hankaavia tuotteita, hankaavia puhdistustyynyjä, liuottimia tai metalliesineitä.
- Kun laite on tyhjillään pitkään, kytke se pois päältä, sulata, puhdista, kuivaa ja jätä ovi auki, jotta home ei pääse muodostumaan laitteen sisällä.
- Älä säilytä tässä laitteessa räjähtäviä aineita, kuten aerosolitölkkejä, joissa on syttyvää ponneainetta.
- Jos virtajohto on vaurioitunut, valmistajan, sen valtuutetun huoltokeskuksen tai vastaavan pätevyyden omaavan henkilön on vaihdettava se vaaran välttämiseksi.
TURVALLISUUSOHJEET
ASENNUS
Vain pätevä henkilö saa asentaa tämän laitteen.
- Poista kaikki pakkausmateriaalit.
- Älä asenna tai käytä vahingoittunutta laitetta.
- Noudata laitteen mukana toimitettuja asennusohjeita.
- Ole aina varovainen siirtäessäsi laitetta, koska se on painava. Käytä aina suojakäsineitä ja suljettuja jalkineita.
- Varmista, että ilma pääsee kiertämään laitteen ympärillä.
- Odota ensimmäisen asennuksen yhteydessä vähintään 4 tuntia ennen laitteen liittämistä virtalähteeseen. Tämä mahdollistaa öljyn valumisen takaisin kompressoriin.
- Irrota pistoke pistorasiasta ennen minkään toimenpiteen suorittamista laitteelle.
- Älä asenna laitetta lähelle pattereita, liesiä, uuneja tai keittotasoja.
- Älä altista laitetta sateelle.
- Älä asenna laitetta paikkaan, jossa on suoraa auringonvaloa.
- Älä asenna tätä laitetta liian kosteisiin tai liian kylmiin tiloihin.
SÄHKÖLIITÄNTÄ
Tulipalon ja sähköiskun vaara.
Varmista laitteen sijoittelussa, että virtajohto ei ole puristuksissa tai vahingoittunut.
Älä käytä monipistokkeita ja jatkojohtoja.
- Laite on maadoitettava.
- Varmista, että tyyppikilvessä olevat arvot ovat yhteensopivia verkkovirran sähköarvojen kanssa.
- Käytä aina oikein asennettua suojamaadoitettua pistorasiaa.
- Varmista, ettei sähköosille (esim. pistotulppa, virtajohto, kompressori) aiheudu vahinkoa. Ota yhteyttä valtuutettuun huoltokeskukseen tai sähköasentajaan sähköosien vaihtamiseksi.
- Virtajohdon on oltava pistotulpan tason alapuolella.
- Liitä pistotulppa pistorasiaan vasta asennuksen lopussa. Varmista, että pistotulppaan on pääsy asennuksen jälkeen.
- Älä vedä virtajohdosta irrottaaksesi laitetta. Vedä aina pistotulpasta.
KÄYTTÖ
Loukkaantumisen, palovammojen, sähköiskun tai tulipalon vaara.
Laite sisältää syttyvää kaasua, isobutaania (R600a), joka on luonnonkaasu ja ympäristön kannalta erittäin yhteensopiva. Varo vahingoittamasta kylmäainepiiriä, joka sisältää isobutaania.
- Älä muuta tämän laitteen teknisiä tietoja.
- Älä laita sähkölaitteita (esim. jäätelökoneita) laitteeseen, ellei valmistaja ole todennut niiden olevan soveltuvia.
- Jos kylmäainepiiri vaurioituu, varmista, ettei huoneessa ole avotulta tai sytytyslähteitä. Tuuleta huone.
- Älä anna kuumien esineiden koskettaa laitteen muoviosia.
- Älä laita virvoitusjuomia pakastelokeroon. Tämä aiheuttaa painetta juoma-astiaan.
- Älä säilytä syttyvää kaasua ja nestettä laitteessa.
- Älä laita syttyviä tuotteita tai esineitä, jotka ovat kosteita syttyvistä tuotteista, laitteeseen, lähelle tai päälle.
- Älä koske kompressoriin tai lauhduttimeen. Ne ovat kuumia.
- Älä poista tai koske esineitä pakastelokerosta, jos kätesi ovat märät tai kosteat.
- Älä pakasta uudelleen sulatettua ruokaa.
- Noudata pakastetun ruoan pakkauksessa olevia säilytysohjeita.
- Kääri ruoka elintarvikkeiden kanssa kosketuksiin soveltuvaan materiaaliin ennen sen laittamista pakastelokeroon.
SISÄVALAISTUS
Sähköiskun vaara.
- Tämän tuotteen sisällä olevien lamppujen ja erikseen myytävien varaosalampujen osalta: Nämä lamput on suunniteltu kestämään äärimmäisiä fyysisiä olosuhteita kodinkoneissa, kuten lämpötilaa, tärinää, kosteutta, tai ne on tarkoitettu ilmaisemaan tietoa laitteen toimintatilasta. Niitä ei ole tarkoitettu käytettäväksi muissa sovelluksissa, eivätkä ne sovellu kotitalouksien huonevalaistukseen.
HOITO JA PUHDISTUS
Loukkaantumisen tai laitteen vahingoittumisen vaara.
- Ennen huoltoa kytke laite pois päältä ja irrota pistotulppa pistorasiasta.
- Tämä laite sisältää hiilivetyjä jäähdytysyksikössä. Vain pätevä henkilö saa suorittaa yksikön huollon ja uudelleentäytön.
- Tarkista säännöllisesti laitteen tyhjennysaukko ja puhdista se tarvittaessa. Jos tyhjennysaukko on tukossa, sulanut vesi kerääntyy laitteen pohjalle.
HUOLTO
- Ota yhteyttä valtuutettuun huoltokeskukseen laitteen korjaamiseksi. Käytä vain alkuperäisiä varaosia.
- Huomaa, että itse suoritettu korjaus tai epäammattimainen korjaus voi aiheuttaa turvallisuusongelmia ja mitätöidä takuun.
- Seuraavat varaosat ovat saatavilla 7 vuoden ajan mallin valmistuksen lopettamisen jälkeen: termostaatit, lämpötila-anturit, piirilevyt, valonlähteet, ovenkahvat, oven saranat, tarjottimet ja korit. Huomaa, että jotkin näistä varaosista ovat saatavilla vain ammattikorjaajille, ja että kaikki varaosat eivät ole relevantteja kaikille malleille.
- Oven tiivisteet ovat saatavilla 10 vuoden ajan mallin valmistuksen lopettamisen jälkeen.

Viitteet
Lataa käyttöohje
Täältä voit ladata täydellisen pdf-version käyttöohjeesta, se voi sisältää lisäturvallisuusohjeita, takuutietoja, FCC-sääntöjä jne.
Lataa Zanussi ZCAN26FW1, ZCAN26EW1 - Pakastinarkun käyttöohje
tai väriltään vihreä ja keltainen.
.
