Zanussi ZNME32FW0 - Vapaasti seisova jääkaappipakastimen käyttöohje
- 1 ERILAISET TOIMINNOT JA MAHDOLLISUUDET
- 2 ELINTARVIKKEIDEN JÄRJESTÄMINEN LAITTEESEEN
- 3 PUHDISTUS JA KUNNOSSAPITO
- 4 KULJETUS JA ASENNUSPAIKAN MUUTTAMINEN
- 5 ENNEN KUIN OTAT YHTEYTTÄ JÄLKIHOITOPALVELUUN
- 6 LAITTEEN OSAT JA LOKEROT
- 7 TEKNISET TIEDOT
- 8 ENNEN LAITTEEN KÄYTTÖÄ
- 9 Viitteet
- 10 Lataa käyttöohje
- 11 Muilla kielillä

ERILAISET TOIMINNOT JA MAHDOLLISUUDET
Tietoa uuden sukupolven jäähdytystekniikasta
Uuden sukupolven jäähdytystekniikalla varustetuissa jääkaapeissa on erilainen käyttöjärjestelmä kuin staattisissa jääkaapeissa. Muissa (staattisissa) jääkaapeissa voi pakastelokeroon kertyä jäätä oven avautumisen ja elintarvikkeiden kosteuden vuoksi. Tällaisissa jääkaapeissa tarvitaan säännöllistä sulatusta; jääkaappi on sammutettava, pakasteet siirrettävä sopivaan astiaan ja pakastelokeroon muodostunut jää poistettava.
Uuden sukupolven jäähdytystekniikalla varustetuissa jääkaapeissa tuuletin puhaltaa kuivaa kylmää ilmaa tasaisesti koko jääkaappi- ja pakastelokeroon. Kylmä ilma jäähdyttää ruokasi tasaisesti ja yhtenäisesti estäen kosteuden ja jään muodostumisen.
Jääkaappilokerossa tuulettimen puhaltama ilma, joka sijaitsee jääkaappilokeron yläosassa, jäähtyy kulkiessaan ilmanvaihtokanavan takana olevan raon läpi. Samanaikaisesti ilma puhalletaan ulos ilmanvaihtokanavan reikien läpi, jolloin kylmä ilma leviää tasaisesti koko jääkaappilokeroon.
Pakastin- ja jääkaappilokeroiden välillä ei ole ilmanvaihtoa, mikä estää hajujen sekoittumisen.
Tämän seurauksena uuden sukupolven jäähdytystekniikalla varustettu jääkaappisi tarjoaa sinulle helppokäyttöisyyttä sekä suuren tilavuuden ja esteettisen ulkonäön.

Näyttö ja ohjauspaneeli
Ohjauspaneelin käyttö

- Mahdollistaa pakastimen asetusten säätämisen.
- Mahdollistaa jääkaapin asetusten säätämisen.
- Pakastimen asetusarvon näyttö.
- Jääkaapin asetusarvon näyttö.
- Energiansäästötilan symboli.
- Superpakastuksen symboli.
- Hälytyssymboli.
Jääkaappipakastimen käyttö
Kun olet kytkenyt tuotteen pistorasiaan, kaikki symbolit näkyvät 2 sekunnin ajan ja alkuarvot näkyvät -18 °C pakastimen säätöilmaisimessa ja +4 °C jääkaapin säätöilmaisimessa.
Valaistus (jos saatavilla)
Kun tuote kytketään pistorasiaan ensimmäistä kertaa, sisävalot voivat syttyä 1 minuutin viiveellä avaustestien vuoksi.
Pakastimen lämpötila-asetukset
- Pakastimen asetusilmaisimen alkuperäinen lämpötila-arvo on -18 °C.
- Paina pakastimen asetus -painiketta kerran.
Kun painat painiketta ensimmäisen kerran, edellinen arvo vilkkuu näytöllä. - Aina kun painat tätä painiketta, lämpötila laskee vastaavasti.
- Jos jatkat painikkeen painamista, se alkaa alusta -16 °C:sta.
HUOMAUTUS: Eco-tila aktivoituu automaattisesti, kun pakastelokeron lämpötilaksi on asetettu -18 °C.
Jääkaapin lämpötila-asetukset
- Jääkaapin asetusilmaisimen alkuperäinen lämpötila-arvo on +4 °C.
- Paina jääkaapin painiketta kerran.
- Aina kun painat tätä painiketta, lämpötila laskee vastaavasti.
- Jos jatkat painikkeen painamista, se alkaa alusta +8 °C:sta.
Superpakastustila
Tarkoitus
- Pakastaa suuri määrä ruokaa, joka ei mahdu nopeaan pakastushyllyyn.
- Pakastaa valmistettuja ruokia.
- Pakastaa tuoretta ruokaa nopeasti tuoreuden säilyttämiseksi.
Käyttöohje
Ota superpakastustila käyttöön painamalla pakastimen lämpötila-asetuspainiketta 3 sekunnin ajan. Kun superpakastustila on asetettu, ilmaisimen superpakastussymboli syttyy ja laite piippaa vahvistaakseen, että tila on kytketty päälle.
Superpakastustilan aikana:
- Jääkaapin lämpötilaa voidaan säätää. Tässä tapauksessa superpakastustila jatkuu.
- Energiansäästötilaa ei voi valita.
- Superpakastustila voidaan peruuttaa samalla tavalla kuin se valitaan.
Huomautuksia:
- Suurin määrä tuoretta ruokaa (kilogrammoina), joka voidaan pakastaa 24 tunnin sisällä, on esitetty laitteen etiketissä.
- Parhaan laitteen suorituskyvyn saavuttamiseksi suurimmalla pakastinkapasiteetilla aktivoi superpakastustila 3 tuntia ennen kuin laitat tuoretta ruokaa pakastimeen.
Superpakastustila peruuntuu automaattisesti 24 tunnin kuluttua ympäristön lämpötilasta riippuen tai kun pakastimen anturi saavuttaa riittävän alhaisen lämpötilan.
Suositellut asetukset pakastimen ja jääkaapin lämpötilalle
| Pakastelokero | Jääkaappilokero | Huomautuksia |
| -18°C | 4°C | Normaaliin käyttöön ja parhaaseen suorituskykyyn. |
| -20°C, -22°C tai -24°C | 4°C | Suositellaan, kun ympäristön lämpötila ylittää 30 °C. |
| Superpakastustila | 4°C | On käytettävä, kun haluat pakastaa ruokaa lyhyessä ajassa. |
| -18°C, -20°C, -22°C tai -24°C | 2°C | Näitä lämpötila-asetuksia on käytettävä, kun ympäristön lämpötila on korkea tai jos luulet, että jääkaappilokero ei ole riittävän kylmä, koska ovea avataan usein. |
Oven avoinna hälytystoiminto
Jos jääkaapin ovi on auki yli 2 minuuttia, laite antaa äänimerkin 'beep beep' (piip piip).
Lämpötilan säätövaroitukset
- Ei ole suositeltavaa käyttää jääkaappiasi ympäristöissä, jotka ovat kylmempiä kuin 10 °C sen tehokkuuden kannalta.
- Älä aloita uutta säätöä, kun olet jo tekemässä säätöä.
- Lämpötilan säädöt on tehtävä oven avautumistiheyden, jääkaapin sisällä säilytettävän ruoan määrän ja jääkaapin sijainnin ympäristön lämpötilan mukaan.
- Jotta jääkaappisi saavuttaisi käyttölämpötilan pistorasiaan kytkemisen jälkeen, älä avaa ovia usein tai aseta suuria määriä ruokaa jääkaappiin. Huomaa, että ympäristön lämpötilasta riippuen jääkaapillasi voi kestää 24 tuntia saavuttaa käyttölämpötila.
- 5 minuutin viivetoiminto on käytössä estämään jääkaappisi kompressorin vaurioitumisen, kun se kytketään tai irrotetaan pistorasiasta tai kun tapahtuu sähkökatko. Jääkaappisi alkaa toimia normaalisti 5 minuutin kuluttua.
- Laitteesi on suunniteltu toimimaan standardeissa ilmoitetuissa ympäristön lämpötila (T/SN = 10 °C - 43 °C) -väleissä tietokilvessä näkyvän ilmastoluokan mukaan. Emme suosittele laitteen käyttöä ilmoitettujen lämpötilarajojen ulkopuolella jäähdytystehokkuuden kannalta.
| Ilmastoluokka | Merkitys | Ympäristön lämpötila |
| T | Trooppinen | Tämä kylmälaite on tarkoitettu käytettäväksi ympäristön lämpötiloissa, jotka vaihtelevat 16 °C:sta 43 °C:seen. |
| ST | Subtrooppinen | Tämä kylmälaite on tarkoitettu käytettäväksi ympäristön lämpötiloissa, jotka vaihtelevat 16 °C:sta 38 °C:seen. |
| N | Lauhkea | Tämä kylmälaite on tarkoitettu käytettäväksi ympäristön lämpötiloissa, jotka vaihtelevat 16 °C:sta 32 °C:seen. |
| SN | Laajennettu lauhkea | Tämä kylmälaite on tarkoitettu käytettäväksi ympäristön lämpötiloissa, jotka vaihtelevat 10 °C:sta 32 °C:seen. |
Tärkeitä asennusohjeita
Tämä laite on suunniteltu toimimaan vaikeissa ilmasto-olosuhteissa (jopa 43 asteeseen C tai 110 asteeseen F) ja se on varustettu 'Freezer Shield' (pakastussuoja) -tekniikalla, joka varmistaa, että pakastetut elintarvikkeet pakastimessa eivät sula, vaikka ympäristön lämpötila laskisi jopa -15 °C:seen. Joten voit asentaa laitteesi lämmittämättömään huoneeseen ilman, että sinun tarvitsee huolehtia pakastettujen elintarvikkeiden pilaantumisesta pakastimessa. Kun ympäristön lämpötila palautuu normaaliksi, voit jatkaa laitteen käyttöä tavalliseen tapaan.
Lisätarvikkeet
Jääpala-astia
- Täytä jääpala-astia vedellä ja aseta se pakastelokeroon.
- Kun vesi on jäätynyt kokonaan, voit kiertää astiaa alla olevan kuvan mukaisesti poistaaksesi jääpalat.
![]()
Pakastuslaatikko
Pakastuslaatikon avulla ruokaan pääsee helpommin käsiksi.

Pakastuslaatikon poistaminen:
- Vedä laatikko ulos niin pitkälle kuin mahdollista
- Vedä laatikon etuosaa ylös ja ulos
Suorita tämän toiminnon vastakohta, kun asennat liukukotelon takaisin.
Pidä aina kiinni laatikon kahvasta, kun poistat sen.
Erittäin kylmä lokero
(Joissakin malleissa)
Ihanteellinen tuoreiden leikkeleiden ja juustojen maun ja koostumuksen säilyttämiseen. Ulosvedettävä laatikko takaa ympäristön, jossa on alhaisempi lämpötila verrattuna muuhun jääkaappiin kylmän ilman aktiivisen kierron ansiosta.

Jäähdytyshyllyn poistaminen:
- Vedä jäähdytyshyllyä itseäsi kohti liu'uttamalla sitä kiskoilla.
- Vedä jäähdytyshylly ylös kiskolta ja poista se jääkaapista.
Kun jäähdytyshylly on poistettu, se kestää enintään 20 kg:n kuorman.
Tuoreusvalitsin
(Joissakin malleissa)
Jos vihanneslaatikko on täynnä, vihanneslaatikon edessä oleva tuoreusvalitsin on avattava. Tämä mahdollistaa vihanneslaatikon ilman ja kosteuden hallinnan, mikä pidentää ruoan säilyvyyttä.
Hyllyn takana oleva valitsin on avattava, jos lasihyllyllä näkyy kondensaatiota.

Visuaaliset ja tekstikuvaukset lisävarusteosiossa voivat vaihdella laitteesi mallin mukaan.
ELINTARVIKKEIDEN JÄRJESTÄMINEN LAITTEESEEN
Jääkaappiosasto
- Tuoresäilytyslokero on merkitty (tyyppikilvessä) merkillä
. - Kosteuden vähentämiseksi ja siitä johtuvan huurteen muodostumisen välttämiseksi säilytä nesteitä aina suljetuissa astioissa jääkaapissa. Huurre pyrkii tiivistymään haihtuvan nesteen kylmimmässä osassa, ja ajan myötä laitteesi vaatii tiheämpää sulatusta.
- Älä koskaan laita lämpimiä ruokia jääkaappiin. Lämpimien ruokien tulisi antaa jäähtyä huoneen lämpötilassa, ja ne tulisi järjestää siten, että varmistetaan riittävä ilmanvaihto jääkaappiosastossa.
- Varmista, ettei mikään esine ole suorassa kosketuksessa laitteen takaseinään, koska huurretta muodostuu ja pakkaus tarttuu siihen. Älä avaa jääkaapin ovea usein.
- Suosittelemme, että liha ja puhdas kala kääritään löyhästi ja säilytetään lasihyllyllä juuri vihanneslaatikon yläpuolella, jossa ilma on viileämpää, koska se tarjoaa parhaat säilytysolosuhteet.
- Säilytä irtonaisia hedelmiä ja vihanneksia vihanneslaatikoissa.
- Säilytä irtonaisia hedelmiä ja vihanneksia vihanneslaatikossa.
- Hedelmien ja vihannesten erillinen säilytys auttaa estämään eteenille herkkien vihannesten (vihreät lehdet, parsakaali, porkkana jne.) vaikutuksen etyleeniä vapauttavista hedelmistä (banaani, persikka, aprikoosi, viikuna jne.).
- Älä laita märkiä vihanneksia jääkaappiin.
- Kaikkien elintarvikkeiden säilytysaika riippuu elintarvikkeen alkuperäisestä laadusta ja keskeytymättömästä jäähdytyssyklistä ennen jääkaappisäilytystä.
- Ristisaastumisen välttämiseksi älä säilytä lihatuotteita hedelmien ja vihannesten kanssa. Lihasta vuotava vesi voi saastuttaa muita tuotteita jääkaapissa. Sinun tulee pakata lihatuotteet ja puhdistaa mahdolliset vuodot hyllyiltä.
- Älä laita ruokaa ilmavirran eteen.
- Nauti pakatut elintarvikkeet ennen suositeltua viimeistä käyttöpäivää.
HUOMAUTUS: Tehokkain energiankäyttö varmistetaan kokoonpanossa, jossa laatikot ovat laitteen alaosassa ja hyllyt tasaisesti jaettuina, ovilokeroiden sijainti ei vaikuta energiankulutukseen.
HUOMAUTUS: Perunoita, sipulia ja valkosipulia ei tule säilyttää jääkaapissa.
Alla oleva taulukko on nopea opas, joka näyttää tehokkaimman tavan säilyttää tärkeimmät elintarvikeryhmät jääkaappiosastossa.
| Ruoka | Enimmäissäilytysaika | Miten ja missä säilytetään |
| Vihannekset ja hedelmät | 1 viikko | Vihanneslaatikko |
| Liha ja kala | 2 - 3 päivää | Kääri muovikelmuun, pusseihin tai lihalokerikkoon ja säilytä lasihyllyllä |
| Tuorejuusto | 3 - 4 päivää | Ovilokerossa |
| Voi ja margariini | 1 viikko | Ovilokerossa |
| Pullotetut tuotteet, esim. maito ja jogurtti | Valmistajan suosittelemaan viimeiseen käyttöpäivään asti | Ovilokerossa |
| Kananmunat | 1 kuukausi | Munahyllyllä |
| Kypsennetty ruoka | 2 päivää | Kaikilla hyllyillä |
Pakastinosasto
- Pakastinosasto on merkitty merkillä
. - Pakastinta käytetään pakasteiden säilyttämiseen, tuoreiden elintarvikkeiden pakastamiseen ja jääpalojen tekemiseen.
- Pakastinosaston enimmäiskapasiteetin käyttämiseksi käytä lasihyllyjä ylä- ja keskiosassa ja alakorissa alaosassa.
- Käytä pikapakastushyllyä kotiruokien (ja muiden nopeasti pakastettavien ruokien) pakastamiseen nopeammin, koska pakastushyllyssä on suurempi pakastusteho. Pikapakastushylly on pakastinosaston alin laatikko.
- Tuoreiden elintarvikkeiden pakastamiseen; kääri ja sulje tuoreet elintarvikkeet kunnolla, eli pakkauksen tulee olla ilmatiivis eikä saa vuotaa. Erityiset pakastepussit, alumiinifolio polyeteenipussit ja muoviastiat ovat ihanteellisia.
- Älä säilytä tuoreita elintarvikkeita pakasteiden vieressä, koska se voi sulattaa pakasteet.
- Ennen tuoreiden elintarvikkeiden pakastamista jaa ne annoksiin, jotka voidaan kuluttaa yhdellä istumalla.
- Nauti sulatetut pakasteet lyhyen ajan kuluessa sulatuksen jälkeen
- Älä koskaan laita lämpimiä ruokia pakastinosastoon, koska se sulattaa pakasteet.
- Noudata aina valmistajan ohjeita elintarvikepakkauksissa pakasteiden säilyttämisessä. Jos tietoja ei ole annettu, elintarvikkeita ei tule säilyttää yli 3 kuukautta ostopäivästä.
- Kun ostat pakasteita, varmista, että niitä on säilytetty asianmukaisissa olosuhteissa ja että pakkaus ei ole vaurioitunut.
- Pakasteet tulee kuljettaa asianmukaisissa astioissa ja sijoittaa pakastimeen mahdollisimman pian.
- Älä osta pakasteita, jos pakkauksessa on merkkejä kosteudesta ja epänormaalista turvotuksesta. On todennäköistä, että niitä on säilytetty sopimattomassa lämpötilassa ja että sisältö on pilaantunut.
- Pakasteiden säilyvyysaika riippuu huoneenlämmöstä, termostaatin asetuksesta, siitä, kuinka usein ovi avataan, elintarvikkeen tyypistä ja siitä, kuinka kauan tuotteen kuljettaminen kaupasta kotiin kestää. Noudata aina pakkauksessa olevia ohjeita äläkä koskaan ylitä ilmoitettua enimmäissäilyvyysaikaa.
- Suurin määrä tuoreita elintarvikkeita (kg), jotka voidaan pakastaa 24 tunnissa, on ilmoitettu laitteen etiketissä.
HUOMAUTUS: Jos yrität avata pakastimen oven heti sen sulkemisen jälkeen, huomaat, että se ei aukea helposti. Tämä on normaalia. Kun tasapaino on saavutettu, ovi avautuu helposti.
- Älä koskaan pakasta sulatettuja pakasteita uudelleen.
- Joidenkin kypsennetyissä ruoissa olevien mausteiden (anis, basilika, vesikrassi, etikka, sekalaiset mausteet, inkivääri, valkosipuli, sipuli, sinappi, timjami, meirami, mustapippuri jne.) maku muuttuu ja niillä on voimakas maku, kun niitä säilytetään pitkään. Siksi pakastettaviin ruokiin tulee lisätä pieniä määriä mausteita, tai haluttu mauste tulee lisätä ruoan sulatuksen jälkeen.
- Elintarvikkeen säilytysaika riippuu käytetystä öljytyypistä. Sopivia öljyjä ovat margariini, vasikanrasva, oliiviöljy ja voi. Sopimattomia öljyjä ovat maapähkinäöljy ja sianrasva.
- Nesteen muodossa oleva ruoka tulee pakastaa muovimukeissa ja muu ruoka tulee pakastaa muovifolioissa tai -pusseissa.
Alla oleva taulukko on nopea opas, joka näyttää tehokkaimman tavan säilyttää tärkeimmät elintarvikeryhmät pakastinosastossa.
| Liha ja kala | Valmistelu | Enimmäissäilytysaika (kuukautta) | |
| Pihvi | Kääri folioon | 6 - 8 | |
| Lampaanliha | Kääri folioon | 6 - 8 | |
| Vasikanpaisti | Kääri folioon | 6 - 8 | |
| Vasikan kuutiot | Pieninä paloina | 6 - 8 | |
| Lampaan kuutiot | Paloina | 4 - 8 | |
| Jauheliha | Pakkauksessa ilman mausteita | 1 - 3 | |
| Sisäelimet (palat) | Paloina | 1 - 3 | |
| Bolognan makkara/ salami | Tulee pitää pakattuna, vaikka siinä olisi kalvo | ||
| Kana ja kalkkuna | Kääri folioon | 4 - 6 | |
| Hanhi ja ankka | Kääri folioon | 4 - 6 | |
| Peuran, kanin, villisian liha | 2,5 kg:n annoksina tai fileinä | 6 - 8 | |
| Makeanveden kala (lohi, karppi, kurki, monni) | Kalan suolien ja suomujen puhdistamisen jälkeen pese ja kuivaa se. Tarvittaessa poista pyrstö ja pää. | 2 | |
| Vähärasvainen kala (ahven, piikkikampela, kampela) | 4 | ||
| Rasvaiset kalat (tonnikala, makrilli, sinikala, sardelli) | 2 - 4 | ||
| Äyriäiset | Puhdas ja pussissa | 4 - 6 | |
| Kaviaari | Pakkauksessaan tai alumiini- tai muoviastiassa | 2 - 3 | |
| Etanoita | Suolaisessa vedessä tai alumiini- tai muoviastiassa | 3 | |
| Vihannekset ja hedelmät | Valmistelu | Enimmäissäilytysaika (kuukautta) | |
| Pavut ja pavut | Pese, leikkaa pieniksi paloiksi ja keitä vedessä | 10 - 13 | |
| Pavut | Kuori, pese ja keitä vedessä | 12 | |
| Kaali | Puhdista ja keitä vedessä | 6 - 8 | |
| Porkkana | Puhdista, leikkaa viipaleiksi ja keitä vedessä | 12 | |
| Pippuri | Leikkaa varsi, leikkaa kahteen osaan, poista ydin ja keitä vedessä | 8 - 10 | |
| Pinaatti | Pese ja keitä vedessä | 6 - 9 | |
| Kukkakaali | Poista lehdet, leikkaa sydän paloiksi ja jätä se veteen, jossa on vähän sitruunamehua, hetkeksi | 10 - 12 | |
| Munakoiso | Leikkaa 2 cm:n paloiksi pesun jälkeen | 10 - 12 | |
| Maissi | Puhdista ja pakkaa varsineen tai makeana maissina | 12 | |
| Omena ja päärynä | Kuori ja viipaloi | 8 - 10 | |
| Aprikoosi ja persikka | Leikkaa kahteen osaan ja poista kivi | 4 - 6 | |
| Mansikka ja karhunvatukka | Pese ja kuori | 8 - 12 | |
| Keitetyt hedelmät | Lisää 10 % sokeria astiaan | 12 | |
| Luumu, kirsikka, hapomarja | Pese ja kuori varret | 8 - 12 | |
| Enimmäissäilytysaika (kuukautta) | Sulatusaika huoneenlämmössä (tuntia) | Sulatusaika uunissa (minuuttia) | |
| Leipä | 4 - 6 | 2 - 3 | 4-5 (220-225°C) |
| Keksit | 3 - 6 | 1 - 1,5 | 5-8 (190-200°C) |
| Leivonnaiset | 1 - 3 | 2 - 3 | 5-10 (200-225°C) |
| Piirakka | 1 - 1,5 | 3 - 4 | 5-8 (190-200°C) |
| Filotaikina | 2 - 3 | 1 - 1,5 | 5-8 (190-200°C) |
| Pizza | 2 - 3 | 2 - 4 | 15-20 (200°C) |
| Maitotuotteet | Valmistelu | Enimmäissäilytysaika (kuukautta) | Säilytysolosuhteet |
| Paketti (homogenoitu) maito | Omassa paketissaan | 2 - 3 | Puhdas maito – omassa paketissaan |
| Juusto - paitsi valkoinen juusto | Viipaleina | 6 - 8 | Alkuperäistä pakkausta voidaan käyttää lyhytaikaiseen säilytykseen. Säilytä käärittynä folioon pidempiä aikoja. |
| Voi, margariini | Pakkauksessaan | 6 | |
PUHDISTUS JA KUNNOSSAPITO
Irrota laite virtalähteestä ennen puhdistusta.
Älä pese laitetta kaatamalla vettä sen päälle.
Älä käytä hankaavia tuotteita, pesuaineita tai saippuoita laitteen puhdistamiseen. Pese huolellisesti puhtaalla vedellä pesun jälkeen ja kuivaa huolellisesti. Kun olet lopettanut puhdistuksen, kytke pistoke takaisin pistorasiaan kuivin käsin.
- Varmista, ettei vettä pääse lampun koteloon ja muihin sähköosiin.
- Laite on puhdistettava säännöllisesti ruokasoodaliuoksella ja haalealla vedellä.
- Puhdista lisävarusteet erikseen käsin saippualla ja vedellä. Älä pese lisävarusteita astianpesukoneessa.
- Puhdista lauhdutin harjalla vähintään kaksi kertaa vuodessa. Tämä auttaa säästämään energiakustannuksissa ja lisäämään tuottavuutta.
![]()
Virtalähde on irrotettava puhdistuksen aikana.
Sulatustoiminto
Jääkaappisi suorittaa automaattisen sulatuksen. Sulatuksen seurauksena muodostunut vesi kulkee vedenkeräysaukon läpi, virtaa jääkaapin takana olevaan höyrystysastiaan ja haihtuu siellä.

- Varmista, että olet irrottanut jääkaapin pistokkeen ennen höyrystysastian puhdistamista.
- Irrota höyrystysastia paikaltaan irrottamalla ruuvit kuvan osoittamalla tavalla. Puhdista se saippuavedellä tietyin väliajoin. Tämä estää hajujen muodostumisen.
LED-valaistuksen vaihto
Jos haluat vaihtaa jonkin LEDin, ota yhteyttä lähimpään valtuutettuun huoltokeskukseen.
Huomautus: LED-nauhojen määrä ja sijainti voivat vaihdella mallin mukaan.
KULJETUS JA ASENNUSPAIKAN MUUTTAMINEN
Kuljetus ja sijainnin muuttaminen
- Alkuperäinen pakkaus ja vaahtomuovi voidaan säilyttää uudelleenkuljetusta varten (valinnainen).
- Kiinnitä laite paksulla pakkauksella, nauhoilla tai vahvoilla naruilla ja noudata pakkauksessa olevia kuljetusohjeita.
- Irrota kaikki irrotettavat osat (hyllyt, lisävarusteet, vihanneslaatikot jne.) tai kiinnitä ne laitteeseen iskuja vastaan nauhoilla, kun siirrät tai kuljetat laitetta.
Kuljeta laitetta aina pystyasennossa.
Oven uudelleensijoittaminen
- Laitteen oven avautumissuuntaa ei voi muuttaa, jos ovenkahvat on asennettu laitteen oven etupintaan.
- Oven avautumissuuntaa on mahdollista muuttaa malleissa, joissa ei ole kahvoja, ja malleissa, joissa on sivulle asennetut kahvat.
- Jos laitteesi oven avautumissuuntaa voidaan muuttaa, ota yhteyttä lähimpään valtuutettuun huoltokeskukseen avautumissuunnan muuttamiseksi.
ENNEN KUIN OTAT YHTEYTTÄ JÄLKIHOITOPALVELUUN
Virheet
Jääkaappisi varoittaa, jos jäähdyttimen ja pakastimen lämpötilat ovat sopimattomalla tasolla tai jos laitteessa ilmenee ongelma. Varoituskoodit näkyvät pakastimen ja jäähdyttimen ilmaisimissa.
| VIRHETYPPI | TARKOITUS | SYY | MITÄ TEHDÄ |
| E01 | Anturivaroitus | Ota yhteyttä huoltoon mahdollisimman pian. | |
| E02 | |||
| E03 | |||
| E06 | |||
| E07 | |||
| E08 | Alhaisen jännitteen varoitus | Laitteen virransyöttö on laskenut alle 170 V:n. |
|
| E09 | Pakastelokero ei ole riittävän kylmä | Todennäköisesti ilmenee pitkäaikaisen sähkökatkon jälkeen. |
|
| E10 | Jääkaappilokero ei ole riittävän kylmä | Todennäköisesti ilmenee seuraavien jälkeen:
|
|
| E11 | Jääkaappilokero on liian kylmä | Erilaisia |
|
Jos sinulla on ongelmia jääkaappisi kanssa, tarkista seuraavat asiat ennen kuin otat yhteyttä jälkihoitopalveluun.
Jääkaappisi ei toimi
Tarkista, onko:
- Jääkaappisi on kytketty pistorasiaan ja kytketty päälle
- Sulake on palanut
- Onko lämpötilan säätö oikein?
- Pistorasia on viallinen. Tarkista tämä kytkemällä toinen toimiva laite samaan pistorasiaan.
Jääkaappisi toimii huonosti
Tarkista, onko:
- Onko lämpötilan säätö oikein?
- Onko jääkaapin ovi avattu usein ja jätetty auki pitkäksi aikaa?
- Laite on ylikuormitettu
- Ovet ovat kunnolla kiinni
- Oletko asettanut astian tai ruoan jääkaappiisi siten, että se koskettaa jääkaapin takaseinää estääksesi ilman kiertoa?
- Onko jääkaappisi täytetty liikaa?
- Laitteen ja ympäröivien seinien välillä on riittävä etäisyys
- Onko ympäristön lämpötila käyttöohjeessa määriteltyjen arvojen sisällä?
Jääkaappisi toimii meluisasti
Seuraavia ääniä voidaan kuulla laitteen normaalin toiminnan aikana.
Räminä (jään halkeaminen) -ääntä esiintyy:
- Automaattisen sulatuksen aikana.
- Kun laitetta jäähdytetään tai lämmitetään (laitteen materiaalin laajenemisen vuoksi).
Naksahdusääni kuuluu: Kun termostaatti kytkee kompressorin päälle/pois päältä.
Moottorin ääni: Osoittaa, että kompressori toimii normaalisti. Kompressori voi aiheuttaa enemmän ääntä lyhyen aikaa, kun se aktivoidaan ensimmäisen kerran.
Kupliva ääni ja roiskeita esiintyy: Johtuu kylmäaineen virtauksesta järjestelmän putkissa.
Veden virtausääni kuuluu: Johtuu veden virtauksesta höyrystysastiaan. Tämä ääni on normaalia sulatuksen aikana.
Ilman puhallusääni kuuluu: Järjestelmän normaalin toiminnan aikana ilman kierron vuoksi.
Jääkaapin sisällä on kosteutta
Tarkista, onko:
- Kaikki ruoka on pakattu kunnolla. Säiliöiden on oltava kuivia ennen kuin ne asetetaan jääkaappiin.
- Jääkaapin ovet avataan usein. Huoneen kosteus pääsee jääkaappiin joka kerta, kun ovet avataan. Kosteus lisääntyy nopeammin, jos ovet avataan usein, erityisesti jos huoneen kosteus on korkea.
- Takaseinälle muodostuu vesipisaroita. Tämä on normaalia automaattisen sulatuksen jälkeen (staattisissa malleissa).
Ovet eivät aukea tai sulkeudu kunnolla
Tarkista, onko:
- Ruoka tai pakkaus estää oven sulkeutumisen
- Ovilokerot, hyllyt ja laatikot on sijoitettu oikein
- Oven tiivisteet ovat rikki tai repeytyneet
- Jääkaappisi on vaakasuorassa.
Jääkaapin oven liitoksen kanssa kosketuksissa olevat reunat ovat lämpimiä
Erityisesti kesällä (lämpimällä säällä) oven liitoksen kanssa kosketuksissa olevat pinnat voivat lämmetä kompressorin toiminnan aikana. Tämä on normaalia.
- Sähkökatkon sattuessa tai jos laite irrotetaan pistorasiasta ja kytketään takaisin, jääkaappisi jäähdytysjärjestelmän kaasu epävakautuu, jolloin kompressorin suojaava lämpöelementti avautuu. Jääkaappisi alkaa toimia normaalisti 5 minuutin kuluttua.
- Jos laitetta ei käytetä pitkään aikaan (esimerkiksi lomien aikana), irrota pistoke. Sulata ja puhdista jääkaappi ja jätä ovi auki homeen ja hajun muodostumisen estämiseksi.
- Jos ongelma jatkuu, vaikka olet noudattanut kaikkia yllä olevia ohjeita, ota yhteyttä lähimpään valtuutettuun huoltokeskukseen.
- Tämä laite on suunniteltu vain kotitalouskäyttöön ja ilmoitettuihin tarkoituksiin. Se ei ole sopiva kaupalliseen tai yleiseen käyttöön. Jos kuluttaja käyttää laitetta tavalla, joka ei ole näiden ohjeiden mukainen, korostamme, että valmistaja ja jälleenmyyjä eivät ole vastuussa mistään takuuajan sisällä olevista korjauksista tai vioista.
Vinkkejä energiansäästöön
- Asenna laite viileään, hyvin ilmastoituun huoneeseen, mutta ei suoraan auringonvaloon eikä lähelle lämmönlähdettä (kuten patteria tai uunia), muuten on käytettävä eristyslevyä.
- Anna lämpimän ruoan ja juomien jäähtyä ennen kuin asetat ne laitteen sisään.
- Aseta sulava ruoka jääkaappilokeroon. Pakastetun ruoan alhainen lämpötila auttaa jäähdyttämään jääkaappilokeroa ruoan sulaessa. Tämä säästää energiaa. Pakastetun ruoan sulattaminen laitteen ulkopuolella johtaa energian haaskaamiseen.
- Juomat tai muut nesteet on peitettävä, kun ne ovat laitteen sisällä. Jos ne jätetään peittämättä, kosteus laitteen sisällä lisääntyy, jolloin laite kuluttaa enemmän energiaa. Juomien ja muiden nesteiden peittäminen auttaa säilyttämään niiden hajun ja maun.
- Vältä ovien pitämistä auki pitkiä aikoja ja ovien avaamista liian usein, koska lämmin ilma pääsee laitteeseen ja saa kompressorin kytkeytymään päälle tarpeettoman usein.
- Pidä eri lämpötilalokeroiden (kuten vihanneslaatikon ja kylmäsäilytyslokeron) kannet suljettuina.
- Oven tiivisteen on oltava puhdas ja joustava. Jos tiiviste on kulunut ja irrotettavissa, vaihda tiiviste. Jos se ei ole irrotettavissa, sinun on vaihdettava ovi.
- Eco (eko) -tila / oletusasetustoiminto säilyttää tuoreet ja pakastetut elintarvikkeet säästäen samalla energiaa.
- Tuoreen ruoan lokero (jääkaappi): Tehokkain energiankäyttö varmistetaan kokoonpanossa, jossa laatikot ovat laitteen alaosassa ja hyllyt on jaettu tasaisesti, ovilokeroiden sijainti ei vaikuta energiankulutukseen.
- Pakastelokero (pakastin): Laitteen sisäinen kokoonpano on se, joka varmistaa tehokkaimman energiankäytön.
- Älä poista kylmävaraajia pakastinkorista (jos sellaisia on).
LAITTEEN OSAT JA LOKEROT

Tämä esittely on vain tiedoksi laitteen osista. Osat voivat vaihdella laitemallin mukaan.
- Jääkaappilokero
- Pakastelokero
- Termostaattikotelo / Sisänäyttö
- Viiniritilä *
- Jääkaapin hyllyt
- Chiller *
- Vihanneslokeron kansi
- Vihanneslokero
- Pakastimen yläkori
- Pakastimen keskikori
- Pakastimen alakori
- Säätöjalat
- Jääpalarasia
- Pakastimen lasihyllyt *
- Pulloteline
- Ovihyllyt
- Munateline
* Joissakin malleissa
TEKNISET TIEDOT
Tekniset tiedot sijaitsevat laitteen sisäpuolella olevassa arvokilvessä ja energiamerkinnässä.
Laitteen mukana toimitetun energiamerkinnän QR-koodi tarjoaa verkkolinkin laitteen suorituskykyyn liittyviin tietoihin EU:n EPREL-tietokannassa.
Säilytä energiamerkintä viitteenä yhdessä käyttöohjeen ja kaikkien muiden tämän laitteen mukana toimitettujen asiakirjojen kanssa.
On myös mahdollista löytää samat tiedot EPREL:stä käyttämällä linkkiä https://eprel.ec.europa.eu sekä mallin nimeä ja tuotenumeroa, jotka löydät laitteen arvokilvestä.
Katso linkki www.theenergylabel.eu saadaksesi tarkempia tietoja energiamerkinnästä.
ENNEN LAITTEEN KÄYTTÖÄ
Yleiset varoitukset
Lue käyttöohje huolellisesti ennen laitteen asentamista ja käyttöä. Emme ole vastuussa väärinkäytöstä aiheutuneista vahingoista.
Noudata kaikkia laitteessasi ja käyttöohjeessa olevia ohjeita ja säilytä tämä ohje turvallisessa paikassa, jotta voit ratkaista mahdolliset ongelmat tulevaisuudessa.
Tätä laitetta ei ole tarkoitettu käytettäväksi sisäänrakennettuna laitteena.
Jos asennus poikkeaa vapaasti seisovasta mallista, jossa otetaan huomioon käytössä tarvittavat tilamitat, laite toimii oikein, mutta energiankulutus voi hieman kasvaa.
Pidä tuuletusaukot vapaana esteistä laitteen kotelossa tai sisäänrakennetussa rakenteessa.
Älä käytä mekaanisia laitteita tai muita keinoja sulatuksen nopeuttamiseksi, paitsi niitä, joita valmistaja suosittelee.
Älä käytä sähkölaitteita laitteen elintarvikkeiden säilytyslokeroissa, elleivät ne ole valmistajan suosittelemaa tyyppiä.
Älä vahingoita kylmäainepiiriä.
Varmista laitetta sijoittaessasi, että virtajohto ei ole puristuksissa tai vahingoittunut.
Älä sijoita useita siirrettäviä pistorasioita tai siirrettäviä virtalähteitä laitteen takaosaan.
Laitteen epävakaudesta johtuvien vaarojen välttämiseksi se on kiinnitettävä seuraavien ohjeiden mukaisesti:
Jos laitteessasi käytetään kylmäaineena R600a:ta (tämä tieto on ilmoitettu jäähdyttimen etiketissä), sinun on oltava varovainen kuljetuksen ja asennuksen aikana, jotta jäähdyttimen osat eivät vahingoitu. R600a on ympäristöystävällinen ja luonnollinen kaasu, mutta se on räjähtävää. Jos jäähdyttimen osien vaurioitumisen vuoksi tapahtuu vuoto, siirrä jääkaappi pois avotulesta tai lämmönlähteistä ja tuuleta huone, jossa laite sijaitsee, muutaman minuutin ajan.
- Pidä kaikki pakkausmateriaalit poissa lasten ulottuvilta ja hävitä ne asianmukaisesti.
- Älä vahingoita jäähdytyskaasupiiriä jääkaappia kantaessasi ja sijoittaessasi.
- Älä säilytä tässä laitteessa räjähtäviä aineita, kuten aerosolitölkkejä, joissa on syttyvää ponneainetta.
- Tämä laite on tarkoitettu käytettäväksi kotitalouksissa ja kotitalouskäyttöön, kuten:
- henkilökunnan keittiötilat kaupoissa, toimistoissa ja muissa työympäristöissä.
- maatilojen taloissa ja asiakkaiden toimesta hotelleissa, motelleissa ja muissa asuinympäristöissä.
- bed and breakfast -tyyppisissä ympäristöissä;
- catering- ja vastaavissa ei-vähittäiskaupan sovelluksissa.
- Jos pistorasia ei sovi jääkaapin pistokkeeseen, valmistajan, huoltoedustajan tai vastaavan pätevän henkilön on vaihdettava se vaaran välttämiseksi.
- Jääkaappisi virtajohtoon on liitetty erityisesti maadoitettu pistoke. Tätä pistoketta tulee käyttää erityisesti maadoitetun 13 ampeerin pistorasian kanssa maassa, jossa tuotetta myydään. Jos talossasi ei ole tällaista pistorasiaa, pyydä valtuutettua sähköasentajaa asentamaan se.
- Tätä laitetta voivat käyttää vähintään 8-vuotiaat lapset ja henkilöt, joiden fyysiset, sensoriset tai henkiset kyvyt ovat heikentyneet tai joilla ei ole kokemusta ja tietoa, jos heitä on valvottu tai opastettu laitteen turvalliseen käyttöön ja he ymmärtävät siihen liittyvät vaarat. Lapset eivät saa leikkiä laitteella. Lapset eivät saa suorittaa puhdistusta ja käyttäjän huoltoa ilman valvontaa.
- 3–8-vuotiaat lapset saavat lastata ja purkaa kylmälaitteita. Lapsien ei odoteta suorittavan laitteen puhdistusta tai käyttäjän huoltoa, hyvin pienten lasten (0–3-vuotiaiden) ei odoteta käyttävän laitteita, pienten lasten (3–8-vuotiaiden) ei odoteta käyttävän laitteita turvallisesti, ellei jatkuvaa valvontaa ole, vanhemmat lapset (8–14-vuotiaat) ja haavoittuvat ihmiset voivat käyttää laitteita turvallisesti, kun heille on annettu asianmukaista valvontaa tai ohjeita laitteen käytöstä. Hyvin haavoittuvien ihmisten ei odoteta käyttävän laitteita turvallisesti, ellei jatkuvaa valvontaa ole.
- Jos virtajohto on vaurioitunut, valmistajan, valtuutetun huoltoedustajan tai vastaavan pätevän henkilön on vaihdettava se vaaran välttämiseksi.
- Tätä laitetta ei ole tarkoitettu käytettäväksi yli 2000 metrin korkeudessa.
Elintarvikkeiden saastumisen välttämiseksi noudata seuraavia ohjeita:
- Oven avaaminen pitkäksi aikaa voi aiheuttaa merkittävän lämpötilan nousun laitteen lokeroissa.
- Puhdista säännöllisesti pinnat, jotka voivat joutua kosketuksiin elintarvikkeiden kanssa, ja helposti saavutettavat viemärijärjestelmät.
- Säilytä raakaa lihaa ja kalaa sopivissa astioissa jääkaapissa, jotta se ei ole kosketuksissa muiden elintarvikkeiden kanssa tai valu niiden päälle.
- Kaksiotähtiset pakasteosastot soveltuvat pakastettujen elintarvikkeiden säilyttämiseen, jäätelön säilyttämiseen tai valmistamiseen ja jääpalojen valmistamiseen.
- Yksi-, kaksi- ja kolmiotähtiset osastot eivät sovellu tuoreiden elintarvikkeiden pakastamiseen.
- Jos kylmälaite jätetään tyhjäksi pitkäksi aikaa, kytke se pois päältä, sulata, puhdista, kuivaa ja jätä ovi auki, jotta laitteen sisälle ei muodostu hometta.
Huolto
- Ota yhteyttä valtuutettuun huoltokeskukseen laitteen korjaamiseksi. Käytä vain alkuperäisiä varaosia.
- Huomaa, että itsekorjaus tai epäammattimainen korjaus voi aiheuttaa turvallisuusongelmia ja mitätöidä takuun.
- Seuraavat varaosat ovat saatavilla 7 vuoden ajan mallin valmistuksen lopettamisen jälkeen: termostaatit, lämpötila-anturit, piirilevyt, valonlähteet, ovenkahvat, oven saranat, tarjottimet ja korit.
- Huomaa, että jotkin näistä varaosista ovat saatavilla vain ammattikorjaajille ja että kaikki varaosat eivät ole olennaisia kaikille malleille.
- Oven tiivisteet ovat saatavilla 10 vuoden ajan mallin valmistuksen lopettamisen jälkeen.
Turvallisuusvaroitukset
- Älä kytke jääkaappipakastintasi sähköverkkoon jatkojohdon avulla.
- Älä käytä vaurioituneita, repeytyneitä tai vanhoja pistokkeita.
- Älä vedä, taivuta tai vahingoita johtoa.
- Älä käytä pistokesovitinta.
- Tämä laite on suunniteltu aikuisten käyttöön. Älä anna lasten leikkiä laitteella tai roikkua ovessa.
- Älä koskaan koske virtajohtoon/pistokkeeseen märillä käsillä. Tämä voi aiheuttaa oikosulun tai sähköiskun.
- Älä aseta lasipulloja tai -tölkkejä jäänvalmistuslokeroon, koska ne räjähtävät sisällön jäätyessä.
- Älä aseta räjähtäviä tai syttyviä aineita jääkaappiisi. Aseta juomat, joissa on korkea alkoholipitoisuus, pystysuoraan jääkaappilokeroon ja varmista, että niiden kannet ovat tiukasti kiinni.
- Kun poistat jäätä jäänvalmistuslokerosta, älä koske siihen. Jää voi aiheuttaa paleltumia ja/tai viiltoja.
- Älä koske pakastettuihin elintarvikkeisiin märillä käsillä. Älä syö jäätelöä tai jääpaloja heti, kun ne on poistettu jäänvalmistuslokerosta.
- Älä pakasta sulatettuja pakasteita uudelleen. Tämä voi aiheuttaa terveysongelmia, kuten ruokamyrkytyksen.
Jääkaappipakastimen asentaminen ja käyttö
Ennen kuin käytät jääkaappipakastintasi ensimmäistä kertaa, kiinnitä huomiota seuraaviin seikkoihin:
- Jääkaappipakastimesi käyttöjännite on 220–240 V, 50 Hz.
- Pistokkeen on oltava helposti saatavilla asennuksen jälkeen.
- Jääkaappipakastimessasi voi olla haju, kun sitä käytetään ensimmäistä kertaa. Tämä on normaalia ja haju häviää, kun jääkaappipakastimesi alkaa jäähtyä.
- Ennen kuin kytket jääkaappipakastimesi, varmista, että tyyppikilvessä olevat tiedot (jännite ja liitetty kuorma) vastaavat sähköverkon tietoja. Jos olet epävarma, ota yhteyttä pätevään sähköasentajaan.
- Työnnä pistoke pistorasiaan, jossa on tehokas maadoitusliitäntä. Jos pistorasiassa ei ole maadoituskosketinta tai pistoke ei sovi, suosittelemme, että otat yhteyttä pätevään sähköasentajaan saadaksesi apua.
- Laite on kytkettävä oikein asennettuun sulakkeelliseen pistorasiaan. Virta (AC) ja jännite käyttöpaikassa on vastattava laitteen tyyppikilvessä olevia tietoja (tyyppikilpi sijaitsee laitteen vasemmalla puolella sisäpuolella).
- Emme ota vastuuta mistään vahingoista, jotka aiheutuvat maadoittamattomasta käytöstä.
- Sijoita jääkaappipakastimesi paikkaan, jossa se ei ole alttiina suoralle auringonvalolle.
- Jääkaappipakastintasi ei saa koskaan käyttää ulkona tai altistaa sateelle.
- Laitteesi on oltava vähintään 50 cm:n etäisyydellä liesistä, kaasuuuneista ja lämmittimistä ja vähintään 5 cm:n etäisyydellä sähköuuneista.
- Jos jääkaappipakastimesi on sijoitettu syväpakastimen viereen, niiden välillä on oltava vähintään 2 cm:n etäisyys, jotta ulkopinnalle ei muodostu kosteutta.
- Älä peitä jääkaappipakastimen runkoa tai yläosaa pitsillä. Tämä vaikuttaa jääkaappipakastimesi suorituskykyyn.
- Laitteen yläosassa on oltava vähintään 150 mm:n vapaa tila. Älä aseta mitään laitteen päälle.
- Älä aseta painavia esineitä laitteen päälle.
- Varmista säädettävien etujalkojen avulla, että laitteesi on vaakasuorassa ja vakaa. Voit säätää jalkoja kääntämällä niitä kumpaankin suuntaan. Tämä on tehtävä ennen elintarvikkeiden asettamista laitteeseen.
- Puhdista laite perusteellisesti ennen käyttöä (katso Puhdistus ja huolto).
- Ennen kuin käytät jääkaappipakastintasi, pyyhi kaikki osat lämpimällä vedellä ja teelusikallisella natriumbikarbonaattia. Huuhtele sitten puhtaalla vedellä ja kuivaa. Palauta kaikki osat jääkaappipakastimeen puhdistuksen jälkeen.
- Asenna kaksi muovista etäisyysohjainta (osat mustissa siivissä -lauhdutin- takana) kääntämällä niitä 90° (kuten kuvassa on esitetty), jotta lauhdutin ei kosketa seinää.
![]()
Laitteen ja takaseinän välisen etäisyyden on oltava vähintään 42 mm ja enintään 75 mm.
Ennen jääkaapin käyttöä
- Kun käytät jääkaappiasi ensimmäistä kertaa tai kuljetuksen jälkeen, pidä sitä pystyasennossa vähintään 3 tuntia ennen kuin kytket sen verkkovirtaan. Tämä mahdollistaa tehokkaan toiminnan ja estää kompressorin vaurioitumisen.
- Jääkaapissasi voi olla haju, kun sitä käytetään ensimmäistä kertaa. Tämä on normaalia ja haju häviää, kun jääkaappisi alkaa jäähtyä.
Sisävalaistus
Sähköiskun vaara.
- Tämän tuotteen sisällä olevien lamppujen ja erikseen myytävien varaosalamppujen osalta: Nämä lamput on tarkoitettu kestämään äärimmäisiä fyysisiä olosuhteita kodinkoneissa, kuten lämpötilaa, tärinää, kosteutta, tai ne on tarkoitettu ilmoittamaan tietoja laitteen toimintatilasta. Niitä ei ole tarkoitettu käytettäväksi muissa sovelluksissa, eivätkä ne sovellu kotitalouksien huonevalaistukseen.
Sähkötiedot (UK-tyyppiselle pistokkeelle)
Tämä laite on maadoitettava.
Tämän laitteen virtajohtoon on asennettu erityisesti maadoitettu pistoke.
Älä käytä laitetta ilman sulakkeen kantta. Jos sulake on vaihdettava, se on vaihdettava 13A:n sulakkeella, jonka ASTA on hyväksynyt standardin BS1362 mukaisesti.
Pistoketta on käytettävä erityisesti maadoitetun 13 ampeerin pistorasian kanssa. Jos talossasi ei ole tällaista pistorasiaa, pyydä valtuutettua sähköasentajaa asentamaan se.
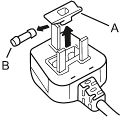
Tämän laitteen virtajohtoon on asennettu BS 1363A 13A -sulakkeellinen pistoke. Jos haluat vaihtaa sulakkeen tässä pistokkeessa, noudata alla olevia ohjeita:

- Irrota sulakkeen kansi ja sulake.
- Asenna uusi 13A:n sulake, jonka ASTA on hyväksynyt standardin BS 1362 mukaisesti, sulakkeen kanteen.
- Vaihda sulakkeen kansi.
Mitat

| Kokonaisulkomitat1 | ||
| H1 | mm | 1860 |
| W1 | mm | 595 |
| D1 | mm | 650 |
- laitteen korkeus, leveys ja syvyys ilman kahvaa
| Käytössä tarvittava tila2 | ||
| H2 | mm | 2010 |
| W2 | mm | 695 |
| D2 | mm | 739 |
- laitteen korkeus, leveys ja syvyys kahva mukaan lukien, sekä tila, joka tarvitaan jäähdytysilman vapaaseen kiertoon
| Kokonaiskäytössä tarvittava tila3 | ||
| W3 | mm | 967 |
| D3 | mm | 1179 |
- laitteen korkeus, leveys ja syvyys kahva mukaan lukien, sekä tila, joka tarvitaan jäähdytysilman vapaaseen kiertoon, sekä tila, joka tarvitaan oven avaamiseen vähimmäiskulmaan, jotta kaikki sisävarusteet voidaan poistaa
Hanki käyttöohjeita, esitteitä, vianmääritystä, huolto- ja korjaustietoja: WWW.ZANUSSI.COM/SUPPORT

Viitteet
Lataa käyttöohje
Täältä voit ladata täydellisen pdf-version käyttöohjeesta, se voi sisältää lisäturvallisuusohjeita, takuutietoja, FCC-sääntöjä jne.
Lataa Zanussi ZNME32FW0 - Vapaasti seisova jääkaappipakastimen käyttöohje

.
