Shimano TL-BT03 - Ауаны шығару жинағының техникалық қызмет көрсету нұсқаулығы

Жинақтың ішіндегісі

Орнату

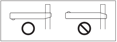
Түтік ұстағышты суретте көрсетілгендей орнатыңыз.
Орнату бағытының дұрыс екеніне көз жеткізіңіз.

Түтік ұстағышты орнату бағыты
- Бұранданы ашып ауаны шығаратын түрі (май құйғышты пайдалану)
Осы қызмет көрсету нұсқаулығымен бірге "Минералды майды қосу және ауаны шығару" қызмет көрсету нұсқаулығын оқып шығыңыз.
- Резервуар багының қақпағы ашылатын түрі
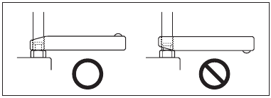
- Тежеуіштің тіреуіштеріне (сары) арналған аралық бөлшек әлі де бекітілген күйде, велосипедті суретте көрсетілгендей велосипед тірегіне немесе ұқсас нәрсеге орналастырыңыз.
![Shimano - TL-BT03 - Орнату - 1-қадам - Велосипедті тірекке қойыңыз Орнату - 1-қадам - Велосипедті тірекке қойыңыз]()
< BL түрі >
![Shimano - TL-BT03 - BL түріне арналған орнату BL түріне арналған орнату]()
Тежегіш тұтқасы жерге параллель болатындай етіп орнатыңыз, содан кейін резервуар багының қақпағын алыңыз.
< ST түрі >
![Shimano - TL-BT03 - ST түріне арналған орнату ST түріне арналған орнату]()
Тұтқа блогын резервуар багының жоғарғы жағы жерге параллель болатындай етіп бұраңыз, содан кейін резервуар багының қақпағын алыңыз.
Ескертпе: Қайта құрастыру кезінде диафрагманы резервуар багының негізімен бірдей бұрышта туралаңыз.

- Резервуар багын май құйғышы бекітілген ауа шығару құралымен жабыңыз, содан кейін суретте көрсетілгендей қысқышпен бекітіңіз.
![Shimano - TL-BT03 - Орнату - 2-қадам - Резервуар багын жабыңыз Орнату - 2-қадам - Резервуар багын жабыңыз]()
Ескертпе:
Май құйғышты бекіту кезінде шамадан тыс қатты тартпауға тырысыңыз. - < Ауа шығару штуцерінің тіреуіші болған жағдайда >
7 мм кілтті орнына қойыңыз, шприцті маймен толтырыңыз, содан кейін түтікті ауа шығару штуцеріне жалғаңыз. Ауа шығару штуцері мен түтікті түтік ұстағышпен бекітіңіз, содан кейін ауа шығару штуцерін 1/8 бұрышқа бұрап ашыңыз. Майды қосу үшін шприцтің поршенін итеріңіз. Май құйғыштан май шыға бастайды. Шығып жатқан маймен араласқан ауа көпіршіктері қалмағанша май қосуды жалғастырыңыз.
![Shimano - TL-BT03 - Ауа шығару штуцерінің тіреуіші болған жағдайда орнату Ауа шығару штуцерінің тіреуіші болған жағдайда орнату]()
![Shimano - TL-BT03 - Орнату - Түтік ұстағышты орнату бағыты Орнату - Түтік ұстағышты орнату бағыты]()
Түтік ұстағышты орнату бағыты
< Ауа шығару боссының тіреуіші болған жағдайда >
Шприцті жеткілікті маймен толтырыңыз.
Түтіктің ұшына иін бұтасын бекіткеннен кейін, түтікті ауа шығару боссына жалғаңыз.
Түтік ажыратылмауы үшін оны түтік ұстағышпен бекітіңіз.
Ауа шығару бұрандасын 1/8 бұрышқа бұрап ашыңыз.
Майды қосу үшін шприцтің поршенін итеріңіз. Содан кейін май құйғыштан май шыға бастайды. Шығып жатқан маймен араласқан ауа көпіршіктері қалмағанша май қосуды жалғастырыңыз.

- Маймен араласқан ауа көпіршіктері қалмағаннан кейін, ауа шығару штуцерін уақытша жабыңыз және шприцті алыңыз.
Осы сәтте тұтқаны үнемі қысып, босатпаңыз.
Егер бұл сақталмаса, тіреуіштің ішіндегі маймен ауа көпіршіктері араласып қалуы мүмкін және ауаны шығару ұзағырақ уақытты алады. (Егер тұтқа үнемі қысылып, босатылса, барлық майды ағызып, қайтадан май қосыңыз.)

- 7 мм кілтті орнына қойыңыз, содан кейін бөтелкесі бар түтікті суретте көрсетілгендей ауа шығару штуцеріне бекітіңіз.
Ауа шығару штуцері мен түтікті түтік ұстағышпен бекітіңіз, содан кейін ауа шығару штуцерін босатыңыз. Біраз уақыттан кейін май мен ауа ауа шығару штуцерінен түтікке табиғи түрде ағады. Осылайша тежеу жүйесінің ішінде қалған ауаның көп бөлігін оңай шығаруға болады. Бұл кезде шлангты ақырын шайқау немесе резервуар багын немесе тіреуішті бұрағышпен ақырын түрту немесе тіреуіштің орнын жылжыту көмектесуі мүмкін.
![]()
- Бұл кезде құйғыштың ішіндегі сұйықтық деңгейі төмендейді, сондықтан ауа тартылып қалмауы үшін (ауа ішке кірмейді) сұйықтық деңгейін сақтау үшін құйғышты маймен толтырып отырыңыз.
![Shimano - TL-BT03 - Орнату - 3-қадам - Май деңгейін сақтау Орнату - 3-қадам - Май деңгейін сақтау]()
- Ауа көпіршіктері ауа шығару штуцерінен шығуын тоқтатқаннан кейін, ауа шығару штуцерін уақытша қатайтыңыз.
![Shimano - TL-BT03 - Орнату - 4-қадам - Ауа шығару штуцерін қатайту Орнату - 4-қадам - Ауа шығару штуцерін қатайту]()
- Тежегіш тұтқасы басылған күйде, тіреуіштерде болуы мүмкін ауа көпіршіктерін шығару үшін ауа шығару штуцерін жылдам түрде ашып жабыңыз (әр жолы шамамен 0,5 секунд). Бұл процедураны шамамен 2-3 рет қайталаңыз. Содан кейін ауа шығару штуцерін қайтадан қатайтыңыз.
Қатайту моменті:
4 - 6 N·m {35 - 52 in. lbs.} - Содан кейін тежегіш тұтқасы іске қосылса, жүйедегі ауа көпіршіктері тесік арқылы май құйғышқа көтеріледі. Көпіршіктер пайда болуын тоқтатқаннан кейін, тежегіш тұтқасын барынша басыңыз. Қалыпты жағдай - бұл кезде тұтқаның қатаюы.
- Май құйғышты май тығынымен жабыңыз, сонда O-сақинасы бекітілген жағы төмен қарайды.
![]()
- Суретте көрсетілгендей ауа шығару құралын алыңыз, резервуар багын маймен толтырыңыз, содан кейін резервуар багының қақпағын ауыстырыңыз. Резервуар багының ішінде ауа көпіршіктері қалмауын қамтамасыз ету үшін қақпақты ауыстыру кезінде резервуар багын маймен толтырыңыз. Сонымен қатар, ротор және тежегіш төсемдері сияқты бөлшектерге май тигізіп алмауға тырысыңыз.
![Shimano - TL-BT03 - Орнату - 6-қадам - Резервуар багын ауыстыру Орнату - 6-қадам - Резервуар багын ауыстыру]()
Қатайту моменті:
0.3 - 0.5 N·m {2.7 - 4.3 in. lbs.} - Ағып кеткен майды сүртіңіз.
* Қызмет көрсету нұсқаулары басқа тілдерде мына жерде қолжетімді: http://si.shimano.com
SHIMANO AMERICAN COPROPATION
One Holland, Irvine, California 92618, U.S.A. Phone: +1-949-951-5003
SHIMANO EUROPE B.V.
Industrieweg 24, 8071 CT Nunspeet, The Netherlands Phone: +31-341-272222
SHIMANO INC.
3-77 Oimatsu-cho, Sakai-ku, Sakai-shi, Osaka 590-8577, Japan
Назар аударыңыз: Техникалық сипаттамалар ескертусіз жақсарту үшін өзгертілуі мүмкін.
© Jul. 2014 by Shimano Inc. HTR

Нұсқаулықты жүктеп алу
Мұнда нұсқаулықтың толық pdf нұсқасын жүктеп алуға болады, онда қосымша қауіпсіздік нұсқаулары, кепілдік туралы ақпарат, FCC ережелері және т.б. болуы мүмкін.
Shimano TL-BT03 - Ауаны шығару жинағының техникалық қызмет көрсету нұсқаулығы жүктеп алу










