Dewalt DW322/DW321/DW323/DW324 - siaurapjūklio instrukcija
- 1 Techniniai duomenys
- 2 EB atitikties deklaracija
- 3 Saugos instrukcijos
- 4 Pakuotės turinys
- 5 Aprašymas
- 6 Elektrosauga
- 7 Maitinimo kištuko keitimas (tik JK ir Airija)
- 8 Prailginimo laido naudojimas
- 9 Surinkimas ir reguliavimas
- 10 Naudojimo instrukcijos
- 11 Priežiūra
- 12 GARANTIJA
- 13 Nuorodos
- 14 Atsisiųsti instrukciją
- 15 Kitomis kalbomis

Techniniai duomenys
| DW322 | DW321 | DW323 | DW324 | ||
| Voltage (Įtampa) | V | 230 | 230 | 230 | 230 |
| (U.K. & Ireland only) (Tik JK ir Airijai) | V | 230/115 | 230/115 | 230/115 | 230/115 |
| Power input (Įėjimo galia) | W | 650 | 701 | 701 | 650 |
| Power output (Išėjimo galia) | W | 410 | 445 | 425 | 410 |
| No load speed (Greitis be apkrovos) | min -1 | 3,100 | 500-3,100 | 500-3,100 | 3,100 |
| Stroke length (Eigos ilgis) | mm | 26 | 26 | 26 | 26 |
Cutting depth in: (Pjovimo gylis:)
| mm | depending on blade (priklauso nuo ašmenų) | depending on blade (priklauso nuo ašmenų) | depending on blade (priklauso nuo ašmenų) | depending on blade (priklauso nuo ašmenų) |
| mm | 20 | 20 | 20 | 20 |
| mm | 10 | 10 | 10 | 10 |
| mm | - | 3 | 3 | - |
| Mitre angle range (Kampo diapazonas) | (left and right) ((kairė ir dešinė)) | 0 - 45° | 0 - 45° | 0 - 45° | 0 - 45° |
| Weight (Svoris) | kg | 2.4 | 2.4 | 2.4 | 2.4 |
| Fuses: (Saugikliai:) | |||||
| Europe (Europa) | 230 V tools (230 V įrankiai) | 10 Amperes, mains (10 amperų, tinklo) | |||
| U.K. & Ireland (JK ir Airija) | 230 V tools (230 V įrankiai) | 13 Amperes, in plugs (13 amperų, kištukuose) | |||
Šiame vadove naudojami šie simboliai:
Žymi asmens sužalojimo, gyvybės praradimo arba įrankio sugadinimo riziką, jei nesilaikoma šiame vadove pateiktų nurodymų.
Žymi elektros smūgio riziką.
EB atitikties deklaracija

DW322/DW321/DW323/DW324
DEWALT pareiškia, kad šie elektriniai įrankiai buvo suprojektuoti laikantis: 98/37/EEC, 89/336/EEC, 73/23/EEC, EN 50144, EN 55014-2, EN 55014, EN 61000-3-2 & EN 61000-3-3.
Norėdami gauti daugiau informacijos, susisiekite su DEWALT toliau nurodytu adresu arba žiūrėkite vadovo gale.
Garso slėgio lygis pagal 86/188/EEC & 98/37/EEC, išmatuotas pagal EN 50144:
| DW322 | DW321 | |||
| DW323 | DW324 | |||
| LpA | (sound pressure) (garso slėgis) | dB(A)* | 93 | 93 |
| LWA | (acoustic power) (akustinė galia) | dB(A) | 101 | 101 |
* at the operator's ear (* prie operatoriaus ausies)
Imkitės atitinkamų priemonių klausai apsaugoti, jei garso slėgis viršija 85 dB(A).
Svertinė vidutinė kvadratinė pagreičio vertė pagal EN 50144:
| DW322 | DW321 | DW323 | DW324 |
| < 2.5 m/s2 | < 2.5 m/s2 | < 2.5 m/s2 | < 2.5 m/s2 |
Inžinerijos ir produktų kūrimo direktorius
Horst Großmann

DEWALT, Richard-Klinger-Straße 40,
D-65510, Idstein, Germany
Saugos instrukcijos
Naudojant elektrinius įrankius, visada laikykitės jūsų šalyje galiojančių saugos taisyklių, kad sumažintumėte gaisro, elektros smūgio ir sužalojimų riziką. Prieš bandydami naudoti šį gaminį, perskaitykite šias saugos instrukcijas. Laikykite šias instrukcijas saugioje vietoje!
Bendrosios nuostatos
- Laikykite darbo zoną švarią
Netvarkingos vietos ir stalai gali sukelti nelaimingus atsitikimus. - Atsižvelkite į darbo zonos aplinką
Saugokite elektrinius įrankius nuo drėgmės. Užtikrinkite gerą darbo zonos apšvietimą. Nenaudokite elektrinių įrankių šalia degių skysčių ar dujų. - Saugokitės elektros smūgio
Venkite kūno kontakto su įžemintais paviršiais (pvz., vamzdžiais, radiatoriais, viryklėmis ir šaldytuvais). Naudojant ekstremaliomis sąlygomis (pvz., esant dideliam drėgnumui, gaminant metalo drožles ir pan.), elektros saugą galima pagerinti įterpiant izoliacinį transformatorių arba (FI) nuotėkio srovės jungiklį. - Saugokite vaikus
Neleiskite vaikams liesti įrankio ar ilginamojo laido. Vaikams iki 16 metų reikalinga priežiūra. - Lauko ilginamieji laidai
Kai įrankis naudojamas lauke, visada naudokite ilginamuosius laidus, skirtus naudoti lauke ir atitinkamai pažymėtus. - Laikykite nenaudojamus įrankius
Kai nenaudojami, elektriniai įrankiai turi būti laikomi sausoje vietoje ir saugiai užrakinti, vaikams nepasiekiamoje vietoje. - Tinkamai apsirenkite
Nedėvėkite laisvų drabužių ar papuošalų. Jie gali įstrigti į judančias dalis. Dirbant lauke, pageidautina dėvėti gumines pirštines ir neslystančią avalynę. Dėvėkite apsauginę galvos dangą, kad ilgi plaukai netrukdytų. - Dėvėkite apsauginius akinius
Taip pat naudokite veido ar dulkių kaukę, jei operacijos metu susidaro dulkės ar skraidančios dalelės. - Atsargiai, maksimalus garso slėgis
Imkitės atitinkamų priemonių klausai apsaugoti, jei viršijamas 85 dB(A) garso slėgis.
- Tvirtinkite ruošinį
Naudokite spaustukus arba spaustuvus ruošiniui laikyti. Tai saugiau ir atlaisvina abi rankas įrankiui valdyti. - Nepersistenkite
Visada tvirtai stovėkite ir išlaikykite pusiausvyrą. - Venkite netyčinio paleidimo
Neneškite įjungto įrankio pirštu ant jungiklio. Įjungdami įsitikinkite, kad jungiklis yra atleistas. - Būkite budrūs
Stebėkite, ką darote. Vadovaukitės sveiku protu. Nenaudokite įrankio, kai esate pavargę. - Atjunkite įrankį
Išjunkite maitinimą ir palaukite, kol įrankis visiškai sustos, prieš palikdami jį be priežiūros. Atjunkite įrankį, kai nenaudojate, prieš atlikdami techninę priežiūrą arba keisdami priedus. - Pašalinkite reguliavimo raktus ir veržliarakčius
Prieš naudodami įrankį, visada patikrinkite, ar reguliavimo raktai ir veržliarakčiai yra pašalinti iš įrankio. - Naudokite tinkamą įrankį
Numatytas naudojimas aprašytas šiame naudojimo vadove. Nenaudokite mažų įrankių ar priedų, kad atliktumėte didelio galingumo įrankio darbą. Įrankis darbą atliks geriau ir saugiau tuo greičiu, kuriam jis buvo skirtas.
Bet kokio priedo ar priedo naudojimas arba bet kokios operacijos atlikimas su šiuo įrankiu, išskyrus tuos, kurie rekomenduojami šiame naudojimo vadove, gali kelti sužalojimo riziką. - Nepiktnaudžiaukite laidu
Niekada neneškite įrankio už laido ir netraukite jo, kad atjungtumėte nuo lizdo. Saugokite laidą nuo karščio, alyvos ir aštrių briaunų. - Prižiūrėkite įrankius atsargiai
Laikykite įrankius geros būklės ir švarius, kad jie veiktų geriau ir saugiau. Laikykitės priežiūros ir priedų keitimo instrukcijų. Reguliariai tikrinkite įrankių laidus ir, jei jie pažeisti, leiskite juos pataisyti įgaliotam DEWALT remonto agentui. Periodiškai tikrinkite ilginamuosius laidus ir, jei jie pažeisti, pakeiskite juos. Laikykite visus valdiklius sausus, švarius ir be alyvos bei tepalų. - Patikrinkite, ar nėra pažeistų dalių
Prieš naudodami įrankį, atidžiai patikrinkite, ar jis nepažeistas, kad įsitikintumėte, jog jis veiks tinkamai ir atliks savo numatytą funkciją.
Patikrinkite, ar nėra judančių dalių išsiderinimo ir užstrigimo, dalių lūžių ir kitų sąlygų, kurios gali turėti įtakos jo veikimui. Leiskite pataisyti arba pakeisti pažeistas apsaugas ar kitas sugedusias dalis, kaip nurodyta. Nenaudokite įrankio, jei jungiklis yra sugedęs. Leiskite pakeisti jungiklį įgaliotam D E WALT remonto agentui. - Leiskite įrankį pataisyti įgaliotam DEWALT remonto agentui
Šis elektrinis įrankis atitinka atitinkamas saugos taisykles. Siekiant išvengti pavojaus, elektros prietaisus turi taisyti tik kvalifikuoti technikai.
Pakuotės turinys
Pakuotėje yra:
1 dėlionė
3 ašmenys
1 apsaugos nuo atplaišų įdėklas
1 dulkių ištraukimo adapteris
1 Apsauginis batų dangtelis nuo įbrėžimų (DW321/DW323)
1 šešiabriauniai raktai (DW322/DW324)
1 šešiabriaunis raktas (DW321/DW323)
1 rinkinio dėžutė
1 naudojimo vadovas
1 išplėstinis brėžinys
- Patikrinkite, ar įrankis, dalys ar priedai nepažeisti, kas galėjo atsitikti transportavimo metu.
- Skirkite laiko atidžiai perskaityti ir suprasti šį vadovą prieš naudodami.
Aprašymas
Jūsų dėlionė buvo sukurta profesionaliam medžio, plieno, aliuminio, PVC ar keraminių medžiagų pjovimui.
- Įjungimo/išjungimo jungiklis ("On/off-switch")
- Kintamo greičio valdymo ratukas (DW321/DW323)
- Fiksavimo mygtukas (DW321/DW322)
- Variklio korpusas (DW323/DW324)
- Švytuoklinio eigos selektorius
- Dulkių ištraukimo adapteris
- Padas
- Kreipiamasis volelis
- Drožlių ištraukimo gaubtas
- Ašmenų laikiklis
- Reguliavimo svirtis, skirta pjuvenų pūstuvui
- Pasukama rankena (DW321/DW323)
Elektrosauga
Elektros variklis sukurtas tik vienai įtampai. Visada patikrinkite, ar maitinimo šaltinis atitinka įtampą, nurodytą firminėje plokštelėje.

Jūsų DEWALT įrankis yra dvigubos izoliacijos pagal EN 50144; todėl įžeminimo laido nereikia.
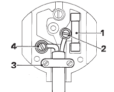
Maitinimo kištuko keitimas (tik JK ir Airija)

- Jei reikia pakeisti maitinimo kištuką ir jūs esate kompetentingi tai padaryti, elkitės, kaip nurodyta toliau. Jei abejojate, kreipkitės į įgaliotą DEWALT remonto agentą arba kvalifikuotą elektriką.
- Atjunkite kištuką nuo maitinimo šaltinio.
- Nupjaukite kištuką ir saugiai jį išmeskite; kištukas su atidengtais variniais laidininkais yra pavojingas, jei įjungiamas į įtampingą lizdą.
- Montuokite tik 13 amperų BS1363A patvirtintus kištukus su tinkamai įvertintu saugikliu (1).
- Kabelio laidų spalvos arba raidė bus pažymėtos daugumos geros kokybės kištukų jungties taškuose. Prijunkite laidus prie atitinkamų taškų kištuke (žr. toliau). Ruda spalva skirta įtampai (L) (2), o mėlyna - nuliui (N) (4).
- Prieš uždėdami viršutinį maitinimo kištuko dangtelį įsitikinkite, kad kabelio fiksatorius (3) tvirtai laiko išorinį kabelio apvalkalą ir kad abu laidai yra tinkamai pritvirtinti prie gnybtų varžtų.
Niekada nenaudokite lempos lizdo. Niekada nejunkite įtampos (L) arba nulinio (N) laidų prie įžeminimo kaiščio, pažymėto E arba
.
115 V įrenginiams, kurių galia viršija 1500 W, rekomenduojame montuoti kištuką pagal BS4343 standartą.
Prailginimo laido naudojimas
Jei reikia naudoti ilginamąjį laidą, naudokite patvirtintą ilginamąjį laidą, tinkamą šio įrankio galios įėjimui (žr. techninius duomenis). Minimalus laidininko dydis yra 1,5 mm2. Naudodami kabelio ritę, visada visiškai išvyniokite kabelį.
Taip pat žr. toliau pateiktą lentelę.
| Laidininko dydis (mm2) | Kabelio vardinė srovė (amperais) | ||||||
| 0.75 | 6 | ||||||
| 1.00 | 10 | ||||||
| 1.50 | 15 | ||||||
| 2.50 | 20 | ||||||
| 4.00 | 25 | ||||||
| Kabelio ilgis (m) | |||||||
| 7.5 | 15 | 25 | 30 | 45 | 60 | ||
| Voltage | Amperes | Kabelio vardinė srovė (amperais) | |||||
| 115 | 0 - 2.0 | 6 | 6 | 6 | 6 | 6 | 10 |
| 2.1 - 3.4 | 6 | 6 | 6 | 6 | 15 | 15 | |
| 3.5 - 5.0 | 6 | 6 | 10 | 15 | 20 | 20 | |
| 5.1 - 7.0 | 10 | 10 | 15 | 20 | 20 | 25 | |
| 7.1 - 12.0 | 15 | 15 | 20 | 25 | 25 | - | |
| 12.1 - 20.0 | 20 | 20 | 25 | - | - | - | |
| 230 | 0 - 2.0 | 6 | 6 | 6 | 6 | 6 | 6 |
| 2.1 - 3.4 | 6 | 6 | 6 | 6 | 6 | 6 | |
| 3.5 - 5.0 | 6 | 6 | 6 | 6 | 10 | 15 | |
| 5.1 - 7.0 | 10 | 10 | 10 | 10 | 15 | 15 | |
| 7.1 - 12.0 | 15 | 15 | 15 | 15 | 20 | 20 | |
| 12.1 - 20.0 | 20 | 20 | 20 | 20 | 25 | - | |
Surinkimas ir reguliavimas
Prieš surinkdami ir reguliuodami, visada atjunkite įrankį nuo elektros tinklo.
Pjūklo geležtės montavimas ir nuėmimas
DW322/DW324 - (pav. B)
DEWALT įprastinė sistema užtikrina lengvą pjūklo geležčių keitimą naudojant su įrankiu pateiktą šešiabriaunį raktą.
- Pakelkite arba nuleiskite pjūklo geležtę, kad atidengtumėte geležtės laikiklio (9) tvirtinimo varžtą (12).
- Atsukite geležtės laikiklio (9) varžtą naudodami su įrankiu pateiktą šešiabriaunį raktą (13).
- Įdėkite arba išimkite pjūklo geležtę, įstatydami geležtės nugarėlę į kreipiamojo ritinėlio griovelį.
DW321/DW323 - (pav. A ir C)
DEWALT sistema be įrankių užtikrina greitą ir lengvą pjūklo geležčių keitimą.
- Pakelkite sukamąją rankenėlę (11) ir pasukite ją prieš laikrodžio rodyklę, kad atidarytumėte spaustuką.
- Įdėkite pjūklo geležtę į geležtės laikiklį (9), įstatydami geležtės nugarėlę į kreipiamojo ritinėlio (7) griovelį.
- Pasukite sukamąją rankenėlę (11) pagal laikrodžio rodyklę, kol išgirsite spragtelėjimą.
- Paspauskite sukamąją rankenėlę žemyn.
- Norėdami išimti pjūklo geležtę, atlikite veiksmus atvirkštine tvarka.
Kampo nustatymas (pav. D)
Reguliuojama atrama (6) leidžia pjauti kairės ir dešinės pusės kampais iki 45°. 0° ir 45° padėtys yra iš anksto nustatytos.
- Atsukite varžtą (14) naudodami pateiktą šešiabriaunį raktą (13).
- Pastumkite atramą (6) toliau nuo pjūklo geležtės.
- Pakreipkite atramą ir nustatykite norimą kampą pagal skalę.
- Tarpiniams kampams šiek tiek priveržkite varžtą (14) naudodami šešiabriaunį raktą (13).
- Tiksliai sureguliuokite kampą ir priveržkite varžtą (14).
- Norėdami užfiksuoti 0° ir 45° padėtis, pastumkite atramą atgal į priekinę padėtį.
Pjuvenų pūtimo reguliavimas (pav. A)
Pjuvenų pūtiklis nukreipia reguliuojamą oro srautą į pjūklo geležtę, kad darbo metu ruošinys būtų švarus nuo pjuvenų.
- Sureguliuokite pjuvenų pūtiklį naudodami svirtį (10). Jis turi tris lygius:
![]()
Žemas. Skirtas darbui su metalais, naudojant aušinimo skysčius ir tepalus, taip pat naudojant dulkių ištraukimą. ![]()
Vidutinis. Skirtas darbui su mediena ir panašiomis medžiagomis mažu greičiu. ![]()
Aukštas. Skirtas darbui su mediena ir panašiomis medžiagomis dideliu greičiu.
Dulkių ištraukimo adapterio montavimas (pav. E)
- Įstatykite dulkių ištraukimo adapterį (5) į lizdą.
- Įkiškite dulkių ištraukimo žarnos galą į adapterį.
- Sumontuokite drožlių ištraukimo gaubtą (8), kaip parodyta.
- Norėdami išimti dulkių ištraukimo adapterį, paspauskite ąselę (16) ir ištraukite adapterį.

Jei reikia, prijunkite dulkių siurblį, suprojektuotą pagal galiojančias direktyvas dėl dulkių išmetimo. Nepjaukite metalo naudodami dulkių siurblį be tinkamos apsaugos nuo kibirkščių.
Apsaugos nuo atplaišų įdėklo montavimas ir nuėmimas (pav. F)
Apsaugos nuo atplaišų įdėklas (17), kuris priglunda prie pjūklo geležtės, apsaugo nuo ruošinio atplaišų susidarymo.
- Įstatykite apsaugos nuo atplaišų įdėklą (17) į atramą, kaip parodyta.
- Norėdami išimti apsaugos nuo atplaišų įdėklą, atlikite aukščiau nurodytą procesą atvirkštine tvarka.
DW321/DW323 - Plastikinio apsauginio atramos dangtelio nuo įbrėžimų montavimas ir nuėmimas (pav. G)
Apsauginis atramos dangtelis nuo įbrėžimų (18) apsaugo (jautrių) ruošinių paviršių nuo pažeidimų.
- Užfiksuokite dangtelį ant atramos, kaip parodyta.
DW321/DW323 - Elektroninio pjovimo greičio nustatymas (pav. H)
Pjovimo greitis priklauso nuo spaudimo įjungimo/išjungimo jungikliui (1).
- Norėdami iš anksto nustatyti pjovimo greitį, pasukite valdymo ratuką (2) į norimą lygį. Kuo didesnis skaičius, tuo didesnis pjovimo greitis. Reikalingas nustatymas priklauso nuo medžiagos storio ir rūšies.
Po ilgesnio įrankio naudojimo mažu greičiu, paleiskite jį maždaug 3 minutes maksimaliu greičiu be apkrovos.
Švytuoklinio judesio nustatymas (pav. I)
Reguliuojamas švytuoklinis judesys garantuoja puikų pjovimo greitį skirtingoms medžiagoms.
- Pastumkite selektorių (4) į norimą padėtį, atsižvelgdami į toliau pateiktą lentelę. Selektorių galima valdyti darbo metu.
| Poz. | Mediena | Metalas | Plastikai |
| 3 | Greiti pjūviai | - | PVC |
| 2 | Stori ruošiniai | - | Stiklo pluoštas Akrilas |
| 1 | Fanera | Aliuminis | - |
| Drožlių plokštė | Spalvotieji metalai | - | |
| 0 | Ploni ruošiniai | Skarda | - |
| Tikslūs pjūviai |
Pasirenkami priedai
Lygiagrečiosios atramos montavimas (pav. J)
- Sumontuokite lygiagrečiąją atramą (19), kaip parodyta.
Cirkulio montavimas (pav. K)
- Sumontuokite cirkulį (20), kaip parodyta.
- Užfiksuokite cirkulį išpjaunamos skylės centre.
Naudojimo instrukcijos
- Visada laikykitės saugos instrukcijų ir galiojančių taisyklių.
- Įsitikinkite, kad jūsų ruošinys yra gerai pritvirtintas. Pašalinkite vinis, varžtus ir kitas tvirtinimo detales, kurios gali pažeisti geležtę.
- Patikrinkite, ar po ruošiniu yra pakankamai vietos geležtei. Nepjaukite medžiagų, kurios yra storesnės už maksimalų pjovimo gylį.
- Naudokite tik aštrias pjūklo geležtes. Pažeistos arba sulenktos pjūklo geležtės turi būti nedelsiant pašalintos.
- Nenaudokite įrankio vamzdžiams ar vamzdeliams pjauti.
- Niekada nenaudokite įrankio be pjūklo geležtės.
- Norėdami pasiekti optimalių rezultatų, judinkite įrankį sklandžiai ir nuolat virš ruošinio. Nedarykite šoninio spaudimo pjūklo geležtei. Laikykite atramą plokščiai ant ruošinio ir nutieskite laidą tiesiai su įrankiu. Pjaudami kreives, apskritimus ar kitas apvalias formas, švelniai stumkite įrankį į priekį.
- Palaukite, kol įrankis visiškai sustos, prieš išimdami pjūklo geležtę iš ruošinio. Po pjovimo geležtė gali būti labai karšta. Nelieskite.
Įjungimas ir išjungimas (pav. A)
DW321/DW322
- Įjungimas: paspauskite įjungimo/išjungimo jungiklį (1) ("Įjungti/Išjungti"). DW321 pjovimo greitis priklauso nuo spaudimo įjungimo/išjungimo jungikliui (1).
- Nepertraukiamam darbui paspauskite fiksavimo mygtuką (3).
- Išjungimas: dar kartą paspauskite įjungimo/išjungimo jungiklį. Visada išjunkite įrankį, kai baigsite darbą ir prieš atjungdami nuo elektros tinklo.
DW323/DW324
- Įjungimas: pastumkite įjungimo/išjungimo jungiklį (1) į priekį.
- Išjungimas: pastumkite įjungimo/išjungimo jungiklį atgal. Visada išjunkite įrankį, kai baigsite darbą ir prieš atjungdami nuo elektros tinklo.
Pjovimas medienoje
- Jei reikia, nubrėžkite pjovimo liniją.
- Įjunkite įrankį.
- Priglauskite įrankį prie ruošinio ir sekite liniją.
- Norėdami pjauti lygiagrečiai ruošinio kraštui, sumontuokite lygiagrečiąją atramą ir veskite dėlionę išilgai ruošinio, kaip parodyta J paveikslėlyje.
Pjovimas medienoje naudojant bandomąją skylę
- Jei reikia, nubrėžkite pjovimo liniją.
- Išgręžkite skylę (ø min. 12 mm) ir įkiškite pjūklo geležtę.
- Įjunkite įrankį.
- Sekite liniją.
- Norėdami išpjauti tobulai apvalias formas, sumontuokite cirkulį ir nustatykite reikiamą spindulį.
Pjovimas iki išsikišusio krašto (pav. D)
- Pašalinkite tiesią/apvalią pjovimo kreipiančiąją, jei ji sumontuota.
- Nustatykite švytuoklinio judesio selektorių į 0.
- Atsukite varžtą (14) naudodami šešiabriaunį raktą (13).
- Pastumkite atramą (6) iki galo atgal.
- Priveržkite varžtą.
- Įjunkite įrankį.
Pjovimas metale
- Sumontuokite tinkamą pjūklo geležtę.
- Elkitės, kaip aprašyta aukščiau.
- Pritaikykite pjovimo greitį.
- Nustatykite pjuvenų pūtiklį į žemą padėtį.
Naudokite aušinimo skystį (pjovimo alyvą), kad pjūklo geležtė arba ruošinys neperkaistų.
Apskritimų pjovimas (pav. K)
- Sumontuokite cirkulį, kaip parodyta.
Kreipkitės į savo pardavėją, kad gautumėte daugiau informacijos apie tinkamus priedus.
Priežiūra
Jūsų DEWALT elektrinis įrankis sukurtas ilgam naudojimui su minimalia priežiūra. Nuolatinis patenkinamas veikimas priklauso nuo tinkamos įrankio priežiūros ir reguliaraus valymo.

Kreipiančiojo ritinėlio tepimas (pav. L)
- Reguliariai tepkite kreipiantįjį ritinėlį (7), kad išvengtumėte strigimo.

Valymas
Laikykite ventiliacijos angas švarias ir reguliariai valykite korpusą minkštu audiniu.

Nebenaudojami įrankiai ir aplinka Nuneškite savo įrankį į įgaliotąjį D E WALT remonto atstovą, kur jis bus utilizuotas aplinkai saugiu būdu.
GARANTIJA
- 30 DIENŲ GARANTIJA BE RIZIKOS
Jei nesate visiškai patenkinti savo DEWALT įrankio veikimu, tiesiog grąžinkite jį per 30 dienų, pilną komplektą, kaip įsigijote, į pirkimo vietą, kad gautumėte visą pinigų grąžinimą arba pakeitimą. Būtina pateikti pirkimo įrodymą. - VIENERIŲ METŲ NEMOKAMOS APTARNAVIMO SUTARTIS
Jei jums reikia DEWALT įrankio priežiūros ar aptarnavimo per 12 mėnesių nuo įsigijimo, jis bus atliktas nemokamai įgaliotame D E WALT remonto atstovui. Būtina pateikti pirkimo įrodymą. Įskaitant darbą ir atsargines dalis elektriniams įrankiams. Išskyrus priedus. - VIENERIŲ METŲ PILNA GARANTIJA
Jei jūsų DEWALT gaminys sugenda dėl brokuotų medžiagų ar gamybos defektų per 12 mėnesių nuo pirkimo datos, mes garantuojame nemokamai pakeisti visas brokuotas dalis arba, savo nuožiūra, nemokamai pakeisti įrenginį, jei:- Produktas nebuvo naudojamas netinkamai.
- Remonto nebandė atlikti neįgalioti asmenys.
- Pateikiamas pirkimo datos įrodymas. Ši garantija siūloma kaip papildoma nauda ir papildo vartotojų įstatymines teises.
Norėdami sužinoti artimiausio įgaliotojo DEWALT remonto atstovo vietą, naudokite atitinkamą telefono numerį, nurodytą šio vadovo gale. Arba įgaliotųjų DEWALT remonto atstovų sąrašą ir išsamią informaciją apie mūsų aptarnavimą po pardavimo galite rasti internete adresu www.2helpu.com.

Nuorodos
Atsisiųsti instrukciją
Čia galite atsisiųsti visą pdf instrukcijos versiją, kurioje gali būti papildomų saugos instrukcijų, garantijos informacijos, FCC taisyklių ir kt.
Atsisiųsti Dewalt DW322/DW321/DW323/DW324 - siaurapjūklio instrukcija


