Pioneer MVH-S520DAB - Hurtigstartguide for digital mediemottaker
- 1 Før du begynner
- 2 Tilkoblinger
- 3 Effektforsterker
- 4 Installasjon
- 5 Installere mikrofonen
- 6 Grunnleggende betjening
- 7 Oppsett
- 8 Tunerbetjening
- 9 USB/iPhone/AUX-betjening
- 10 Bluetooth-tilkobling
- 11 Bluetooth-telefon
- 12 Opprette en tilkobling med Pioneer Smart Sync
- 13 Lytte til Spotify
- 14 Referanser
- 15 Last ned manual
- 16 På andre språk

Før du begynner
Denne veiledningen er ment å veilede deg gjennom de grunnleggende funksjonene til denne enheten.
For detaljer, se bruksanvisningen som er lagret på nettstedet. https://www.pioneer-car.eu/eur/
For å sikre riktig bruk, vennligst les gjennom denne veiledningen før du bruker dette produktet. Det er spesielt viktig at du leser og overholder ADVARSLER og FORSIKTIGHETSREGLER i denne veiledningen. Oppbevar veiledningen på et trygt og tilgjengelig sted for fremtidig referanse.

Hvis du ønsker å kaste dette produktet, må du ikke blande det med vanlig husholdningsavfall. Det finnes et eget innsamlingssystem for brukte elektroniske produkter i samsvar med lovgivning som krever riktig behandling, gjenvinning og resirkulering.
Private husholdninger i EUs medlemsstater, i Sveits og Norge kan returnere sine brukte elektroniske produkter gratis til anviste innsamlingssteder eller til en forhandler (hvis du kjøper en lignende ny).
For land som ikke er nevnt ovenfor, vennligst kontakt dine lokale myndigheter for korrekt metode for avhending. Ved å gjøre dette vil du sikre at det kasserte produktet gjennomgår nødvendig behandling, gjenvinning og resirkulering, og dermed forhindre potensielle negative effekter på miljøet og menneskers helse.
- Ikke forsøk å installere eller utføre service på dette produktet selv. Installasjon eller service av dette produktet av personer uten opplæring og erfaring i elektronisk utstyr og biltilbehør kan være farlig og kan utsette deg for risiko for elektrisk støt, personskade eller andre farer.
- Ikke forsøk å betjene enheten mens du kjører. Sørg for å trekke av veien og parkere kjøretøyet på et trygt sted før du prøver å bruke kontrollene på enheten.
- Ikke la denne enheten komme i kontakt med fuktighet og/eller væsker. Elektrisk støt kan oppstå. Skade på denne enheten, røyk og overoppheting kan også oppstå ved kontakt med væsker.
- Hold alltid volumet lavt nok til å høre lyder utenfra.
- Pioneer CarStereo-Pass er kun for bruk i Tyskland.
- Dette produktet er evaluert i moderate og tropiske klimaforhold under Audio, video og lignende elektroniske apparater - Sikkerhetskrav, IEC 60065.
Hvis du opplever problemer
Hvis denne enheten ikke fungerer som den skal, vennligst kontakt din forhandler eller nærmeste autoriserte PIONEER-serviceverksted.
Tilkoblinger
I det følgende representerer "NW" nettverksmodus og "STD" representerer standardmodus. I henhold til tilkoblingene du har etablert, endre høyttalermodus til standardmodus (STD) eller nettverksmodus (NW).
- Når du installerer denne enheten i et kjøretøy uten en ACC-posisjon (tilbehør) på tenningsbryteren, kan det føre til batteritømming hvis du ikke kobler den røde kabelen til terminalen som registrerer betjening av tenningsnøkkelen.
![Pioneer - MVH-S520DAB - Tilkoblinger Tilkoblinger]()
- Bruk av denne enheten under andre forhold enn de følgende kan føre til brann eller funksjonsfeil.
- Kjøretøy med et 12-volts batteri og negativ jording.
- Når høyttalerutgangen brukes av 4 kanaler, bruk høyttalere over 50 W (maksimal inngangseffekt) og mellom 4 Ω til 8 Ω (impedansverdi). Ikke bruk 1 Ω til 3 Ω høyttalere for denne enheten.
- Når bakre høyttalerutgang brukes av 2 Ω subwoofer, bruk høyttalere over 70 W (maksimal inngangseffekt).
* Se tilkoblinger for en tilkoblingsmetode.
- For å forhindre kortslutning, overoppheting eller funksjonsfeil, sørg for å følge instruksjonene nedenfor.
- Koble fra den negative polen på batteriet før installasjon.
- Fest ledningene med kabelklemmer eller tape. Vik tape rundt ledninger som kommer i kontakt med metalldeler for å beskytte ledningene.
- Plasser alle kabler vekk fra bevegelige deler, som girspaken og seteskinnene.
- Plasser alle kabler vekk fra varme steder, for eksempel i nærheten av varmeapparatets utløp.
- Ikke koble den gule kabelen til batteriet ved å føre den gjennom hullet til motorrommet.
- Dekk eventuelle frakoblede kabelkontakter med isolasjonstape.
- Ikke forkort noen kabler.
- Kutt aldri isolasjonen på strømkabelen til denne enheten for å dele strømmen med andre enheter. Kabelens strømkapasitet er begrenset. − Bruk en sikring med den foreskrevne verdien.
- Koble aldri den negative høyttalerkabelen direkte til jord.
- Koble aldri sammen negative kabler fra flere høyttalere.
- Når denne enheten er på, sendes kontrollsignaler gjennom den blå/hvite kabelen. Koble denne kabelen til systemfjernkontrollen til en ekstern effektforsterker eller kjøretøyets automatisk antennerelé-kontrollterminal (maks. 300 mA 12 V DC). Hvis kjøretøyet er utstyrt med en glassantenne, koble den til antenneforsterkerens strømforsyningsterminal.
- Koble aldri den blå/hvite kabelen til strømterminalen til en ekstern effektforsterker. Koble den heller aldri til strømterminalen til den automatiske antennen. Dette kan føre til batteritømming eller funksjonsfeil.
- Det grafiske symbolet
plassert på produktet betyr likestrøm.
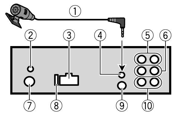
Denne enheten

- Mikrofon (3 m)
- DAB-antenneinngang
For å motta DAB-signaler, koble en DAB-antenne (AN-DAB1) (selges separat) til enheten. - Strømledningsinngang
- Mikrofoninngang
- Bakre utgang (STD) eller mellomtoneutgang (NW)
- Fremre utgang (STD) eller høy toneutgang (NW)
- Antenneinngang
- Sikring (10 A)
- Kablet fjernkontrollinngang
Hardkablet fjernkontrolladapter kan kobles til (selges separat). - Subwoofer-utgang
Strømledning

- Til strømledningsinngang
- Avhengig av type kjøretøy, kan funksjonen til
og
være forskjellig. I dette tilfellet, sørg for å koble
til
og
til
. - Gul
Backup (eller tilbehør) - Gul
Koble til konstant 12 V forsyningsterminal. - Rød
Tilbehør (eller backup) - Rød
Koble til terminal kontrollert av tenningsbryteren (12 V DC). - Koble ledninger med samme farge til hverandre.
- Svart (chassisjord)
- Blå/hvit
Posisjonen til ISO-kontakten vil variere avhengig av type kjøretøy. Koble
og
når Pin 5 er en antennekontrolltype. I en annen type kjøretøy må du aldri koble
og
. - Blå/hvit
Koble til systemkontrollterminalen til effektforsterkeren (maks. 300 mA 12 V DC). - Blå/hvit
Koble til automatisk antennerelé-kontrollterminal (maks. 300 mA 12 V DC). - Høyttalerledninger
Hvit: Venstre foran
(STD) eller venstre høy tone
(NW)
Hvit/svart: Venstre foran
(STD) eller venstre høy tone
(NW)
Grå: Høyre foran
(STD) eller høyre høy tone
(NW)
Grå/svart: Høyre foran
(STD) eller høyre høy tone
(NW)
Grønn: Venstre bak
(STD) eller venstre mellomtone
(NW)
Grønn/svart: Venstre bak
(STD) eller venstre mellomtone
(NW)
Fiolett: Høyre bak
(STD) eller høyre mellomtone
(NW)
Fiolett/svart: Høyre bak
(STD) eller høyre mellomtone
(NW) - Oransje/hvit
Koble til bilens belysningssignal. - ISO-kontakt
I noen kjøretøy kan ISO-kontakten være delt i to. I dette tilfellet må du sørge for å koble til begge kontaktene.
MERKNADER
- Endre den første menyen på denne enheten. Se [REAR-SP]. Subwoofer-utgangen på denne enheten er monaural.
- Når du bruker en subwoofer på 2 Ω, må du sørge for å koble subwooferen til de fiolette og fiolett/svarte ledningene på denne enheten. Ikke koble noe til de grønne og grønn/svarte ledningene.
Effektforsterker
(selges separat)
Utfør disse tilkoblingene når du bruker den valgfrie forsterkeren.

- Systemfjernkontroll
Koble til blå/hvit kabel. - Effektforsterker (selges separat)
- Koble til med RCA-kabler (selges separat)
- Til bakre utgang (STD) eller mellomtoneutgang (NW)
- Bakre høyttaler (STD) eller mellomtonehøyttaler (NW)
- Til fremre utgang (STD) eller høy toneutgang (NW)
- Fremre høyttaler (STD) eller høy tonehøyttaler (NW)
- Til subwoofer-utgang
- Subwoofer
Installasjon
- Kontroller alle tilkoblinger og systemer før endelig installasjon.
- Ikke bruk uautoriserte deler, da dette kan forårsake funksjonsfeil.
- Rådfør deg med forhandleren din hvis installasjonen krever boring av hull eller andre modifikasjoner på kjøretøyet.
- Ikke installer denne enheten der:
- det kan forstyrre betjeningen av kjøretøyet.
- det kan forårsake personskade på en passasjer som følge av en plutselig stopp.
- Installer denne enheten vekk fra varme steder, for eksempel i nærheten av varmeapparatets utløp.
- Optimal ytelse oppnås når enheten er installert i en vinkel på mindre enn 60°.
![]()
- Når du installerer, for å sikre riktig varmespredning når du bruker denne enheten, sørg for at du lar det være god plass bak bakpanelet og pakk eventuelle løse kabler slik at de ikke blokkerer ventilene.
![Pioneer - MVH-S520DAB - Installasjon Installasjon]()
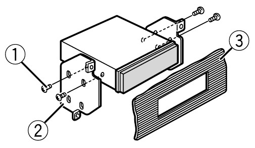
DIN-monteringsinstallasjon
- Sett inn den medfølgende monteringshylsen i dashbordet.
- Fest monteringshylsen ved å bruke en skrutrekker til å bøye metallflikene (90°) på plass.
- Dashbord
- Monteringshylse
- Sørg for at enheten er installert sikkert på plass. En ustabil installasjon kan forårsake hopping eller andre funksjonsfeil.
Når du ikke bruker den medfølgende monteringshylsen
- Bestem riktig posisjon der hullene på braketten og siden av enheten stemmer overens.
![Pioneer - MVH-S520DAB - DIN-monteringsinstallasjon - Trinn 2 DIN-monteringsinstallasjon - Trinn 2]()
- Stram til to skruer på hver side.
- Skrue (5 mm × 9 mm, ikke levert med produktet)
- Monteringsbrakett
- Dashbord eller konsoll
Fjerne enheten (installert med den medfølgende monteringshylsen)
- Fjern dekorringen.
- Dekorring
- Hakket flik
- Å frigjøre frontpanelet gir lettere tilgang til dekorringen.
- Når du fester dekorringen igjen, pek siden med den hakkede fliken ned.
- Sett de medfølgende uttrekksnøklene inn i begge sider av enheten til de klikker på plass.
- Trekk enheten ut av dashbordet.
![Pioneer - MVH-S520DAB - DIN-monteringsinstallasjon - Trinn 5 DIN-monteringsinstallasjon - Trinn 5]()
Installere mikrofonen
Mikrofonen bør plasseres rett foran føreren i en passende avstand for å fange opp stemmen tydelig.
Det er ekstremt farlig å la mikrofonledningen vikle seg rundt rattstammen eller girspaken. Sørg for å installere mikrofonen på en slik måte at den ikke hindrer kjøringen. Det anbefales å bruke klemmer (selges separat) for å ordne ledningen.
MERK
Avhengig av kjøretøymodellen kan mikrofonkabelen være for kort når du monterer mikrofonen på solskjermen. I slike tilfeller installerer du mikrofonen på rattstammen.
For å installere på solskjermen
- Fest mikrofonledningen i sporet.
- Mikrofonledning
- Spor
- Installer mikrofonklipsen på solskjermen.
Senking av solskjermen reduserer stemmegjenkjenningshastigheten.
- Mikrofonklips
For å installere på rattstammen
- Skyv mikrofonbasen for å løsne den fra mikrofonklipsen.
- Mikrofon
- Mikrofonklips
- Mikrofonbase
- Installer mikrofonen på baksiden av rattstammen.
- Dobbeltsidig tape
Grunnleggende betjening
MVH-S520DAB

Om hovedmenyen
Du kan justere forskjellige innstillinger i hovedmenyen.
- Trykk på M.C. -hjulet for å vise hovedmenyen.
- Drei M.C. -hjulet for å velge en av kategoriene nedenfor, og trykk deretter for å bekrefte.
- FUNCTION settings (FUNKSJONSinnstillinger)
- AUDIO settings (LYDinnstillinger)
- SYSTEM settings (SYSTEMinnstillinger)
- ILLUMINATION settings (BELYSNINGSinnstillinger)
- Drei M.C. -hjulet for å velge alternativene, og trykk deretter for å bekrefte.
Ofte brukte operasjoner
| Formål | Operasjon |
| Slå på strømmen | Trykk på SRC/OFF for å slå på strømmen. Trykk og hold SRC/OFF for å slå av strømmen. |
| Juster volumet | Drei M.C. -hjulet. |
| Velg en kilde | Trykk på SRC/OFF gjentatte ganger. |
| Endre skjerminformasjonen | Trykk på DISP gjentatte ganger. |
| Gå tilbake til forrige skjerm/liste | Trykk på BAND/ . |
| Gå tilbake til normalvisningen fra menyen | Trykk og hold BAND/ . |
| Endre skjermens lysstyrke | Trykk og hold BAND/ . |
Oppsett
Når du vrir tenningsbryteren til PÅ etter installasjonen, vises oppsettmenyen på skjermen.
Ikke bruk enheten i standardmodus når et høyttalersystem for nettverksmodus er koblet til enheten. Ikke bruk enheten i nettverksmodus når et høyttalersystem for standardmodus er koblet til enheten. Dette kan forårsake skade på høyttalerne.
- Drei M.C. -hjulet for å velge alternativene, og trykk deretter for å bekrefte.
For å fortsette til neste menyalternativ må du bekrefte valget ditt.
| Menyelement | Beskrivelse |
| LANGUAGE (SPRÅK) [ENG](English), [РУС](Russian), [TUR](Turkish), [FRA](French), [DEU](German) | Velg språket for å vise tekstinformasjonen fra en komprimert lydfil. |
| CLOCK SET (KLOKKEINNSTILLING) | Still klokken.
|
| FM STEP (FM-TRINN) [100], [50] | Velg FM-trinn fra 100 kHz eller 50 kHz. |
| DAB ANT PW (DAB ANT STRØM) [ON] (PÅ) | Tilfør strøm til en DAB-antenne. Velg dette når du bruker den valgfrie DAB-antennen (AN-DAB1, selges separat) med enheten. |
| [OFF] (AV) | Ingen strøm tilføres en DAB-antenne. Velg dette når du bruker en passiv antenne uten booster. |
| SPEAKER MODE (HØYTTALERMODUS) [STANDARD], [NETWORK] (NETTVERK) | Bytt mellom to driftsmoduser: 2-veis nettverksmodus (NETWORK) og standardmodus (STANDARD) i henhold til tilkoblingene du har opprettet. Etter å ha valgt riktig modus, drei M.C. -hjulet for å velge [YES] (JA), og trykk deretter for å bekrefte.
|
- [QUIT:YES] (AVSLUTT:JA) vises.
For å gå tilbake til det første elementet i oppsettmenyen, drei M.C. -hjulet for å velge [QUIT:NO] (AVSLUTT:NEI), og trykk deretter for å bekrefte. - Trykk på M.C. -hjulet for å bekrefte innstillingene.
[UPDATING LIST] (OPPDATERER LISTE) vises på skjermen, og tjenestelisten vil bli oppdatert.
Tunerbetjening
Motta forhåndsinnstilte stasjoner
- Trykk på SRC/OFF for å velge [RADIO].
- Trykk på BAND/
for å velge bånd.
[FM1]
[FM2]
[FM3]
[MW]/[LW] - Trykk på en nummerknapp (1/
til 6/
).
Minne for beste stasjoner (BSM)
- Etter å ha valgt båndet, trykk på M.C. -hjulet for å vise hovedmenyen.
- Drei M.C. -hjulet for å velge [FUNCTION] (FUNKSJON), og trykk deretter for å bekrefte.
- Drei M.C. -hjulet for å velge [BSM], og trykk deretter for å bekrefte.
For å lagre stasjoner manuelt
- Mens du mottar stasjonen du vil lagre, trykker du og holder inne en av nummerknappene (1/
til 6/
) til den slutter å blinke.
USB/iPhone®/AUX-betjening
(iPhone-kilde er ikke tilgjengelig når [USB MTP] er satt til [ON] (PÅ) i SYSTEM-innstillingene.)
USB/iPhone
- Åpne USB-portdekselet.
- Koble til USB-enheten/iPhonen med en passende kabel.
MTP-tilkobling
En enhet installert med Android OS 4.0 eller de fleste senere versjoner kan kobles til enheten via MTP ved hjelp av kabelen som følger med Android-enheten. Avhengig av den tilkoblede enheten, OS-versjonen eller antall filer i enheten, kan det imidlertid hende at lydfiler/sanger ikke kan spilles av via MTP.
MERK
Hvis du bruker en MTP-tilkobling, må [USB MTP] være satt til [ON] (PÅ) i SYSTEM-innstillingene.
AUX
- Sett stereominikontakten inn i AUX-inngangskontakten.
- Trykk på SRC/OFF for å velge [AUX IN] som kilde.
Bluetooth-tilkobling
Opptil to Bluetooth-telefoner kan kobles til samtidig.
- Slå på Bluetooth-funksjonen på enheten.
- Velg enhetsnavnet som vises på enhetens skjerm.
- Kontroller at det samme 6-sifrede nummeret vises på denne enheten og enheten.
- Velg [YES] (JA).
Bluetooth-telefon
Grunnleggende operasjoner
| Formål | Operasjon |
| Svar på et innkommende anrop | Trykk på en hvilken som helst knapp når et anrop mottas. |
| Avslutt en samtale | Trykk på . |
| Avvis et innkommende anrop | Trykk og hold når et anrop mottas. |
Aktivere stemmegjenkjenningsmodus
- Trykk og hold
og snakk deretter inn i mikrofonen for å legge inn talekommandoer.
For å avslutte stemmegjenkjenningsmodus, trykk på BAND/
.
Opprette en tilkobling med Pioneer Smart Sync
Pioneer Smart Sync er applikasjonen som på en intelligent måte samler kart, meldinger og musikk i kjøretøyet.

Ikke forsøk å bruke applikasjonen mens du kjører. Sørg for å trekke deg ut av veien og parkere kjøretøyet på et trygt sted før du prøver å bruke kontrollene i applikasjonen.
- Gå inn i SYSTEM-menyen (se "Om hovedmenyen").
- Drei M.C. -hjulet for å velge [APP CONTROL] (APP-KONTROLL), og trykk deretter for å bekrefte.
- Drei M.C. -hjulet for å velge ett av alternativene nedenfor.
- Velg [WIRED] (KABLET) for USB-tilkoblingen.
- Velg [BLUETOOTH] for Bluetooth-tilkoblingen.
- Drei M.C. -hjulet for å velge [AUTO APP CONN] (AUTO APP-TILKOBLING), og trykk deretter for å bekrefte.
- Drei M.C. -hjulet for å velge [ON] (PÅ), og trykk deretter for å bekrefte.
- Koble denne enheten til mobilenheten via USB eller Bluetooth.
Pioneer Smart Sync på iPhone/Android-enheten starter automatisk.
MERK
Uavhengig av om innstillingen [AUTO APP CONN] (AUTO APP-TILKOBLING) er satt til [ON] (PÅ) eller [OFF] (AV), kan du også gjøre følgende for å starte Pioneer Smart Sync.
- For andre enheter enn den USB-tilkoblede Android-enheten, trykk på SRC/OFF for å velge en kilde, og trykk og hold inne M.C. -hjulet.
- For iPhone, start Pioneer Smart Sync på mobilenheten.
Lytte til Spotify®
(Ikke tilgjengelig når [USB MTP] er satt til [ON] i SYSTEM-innstillingene.)
Oppdater fastvaren til Spotify-applikasjonen til den nyeste versjonen før bruk.
Før du begynner, koble denne enheten til mobilenheten via USB (kun iPhone) eller Bluetooth.
- Gå inn i SYSTEM-menyen (se "Om hovedmenyen").
- Drei M.C.-hjulet for å velge [APP CONTROL] (APP-KONTROLL), og trykk deretter for å bekrefte.
- Drei M.C.-hjulet for å velge ett av alternativene nedenfor.
- Velg [WIRED] (KABLET) for USB-tilkoblingen.
- Velg [BLUETOOTH] for Bluetooth-tilkoblingen.
- Trykk på SRC/OFF for å velge [SPOTIFY].
- Start Spotify-applikasjonen på mobilenheten og start avspillingen.


Referanser
Car GPS Navigation – Multimedia Receiver – Digital Bass Control | Pioneer
App Store - Apple
Google Play
Last ned manual
Her kan du laste ned fullstendig pdf-versjon av manualen, den kan inneholde ytterligere sikkerhetsinstruksjoner, garantiinformasjon, FCC-regler, etc.
Last ned Pioneer MVH-S520DAB - Hurtigstartguide for digital mediemottaker

plassert på produktet betyr likestrøm.
og
være forskjellig. I dette tilfellet, sørg for å koble
til
og
til
og
når Pin 5 er en antennekontrolltype. I en annen type kjøretøy må du aldri koble
(STD) eller venstre høy tone
(STD) eller venstre høy tone 



.
.
for å velge bånd.
[FM2]
til 6/
).
.
og snakk deretter inn i mikrofonen for å legge inn talekommandoer.