Manfrotto MHXPRO-BHQ2 - Manuali dhe Videoja e Rishikimit të Kokës së Topit Xpro

HYRJE
Një kokë topi profesionale e dizajnuar për kamera me format të mesëm.
KONFIGURIMI

Montoni kokën në tripied duke përdorur fileton femërore 3/8" "A".
Plakat e sipërme në tripiedët Manfrotto janë të pajisura me tre vida fiksimi "B" të cilat fiksohen kundër bazës së kokës për të siguruar kyçje efektive dhe të sigurt.
HIQNI PLATËN E LIRIMIT TË SHPEJTË NGA KOKA

Për të hequr pllakën "G" është e nevojshme të hapni levën "H".
Leva "H" nuk mund të hapet ndërsa leva e sigurisë "I" është në pozicion të mbyllur. Për të hequr kapësen e sigurisë, rrotulloni levën "H" dhe shtyjeni poshtë levën e sigurisë "I" derisa leva "H" të arrijë ndalesën.
MONTIMI I KAMERËS NË PLATË

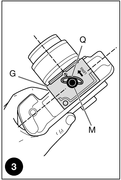
Fiksoni kamerën në pllakën "G" duke vidhosur vidën e kamerës "M" në vrimën me fileto të kamerës PA APLIKUAR FORCË, duke përdorur unazën "Q". Përpara se të kyçeni plotësisht, rreshtoni kamerën me shënimin "LENS" (THJERRË) në pllakën "G".
Ju lutemi sigurohuni që e keni kyçur mirë kamerën në pllakën e lëshimit përpara përdorimit.
MONTIMI I KAMERËS NË KOKË


Shtyjeni unazën "Q" në mënyrë që të jetë e sheshtë kundër pllakës "G".
Futeni pllakën e kamerës "G" (fig. 4) sipër kokës derisa leva e kyçjes "H" të klikojë dhe të mbyllet.
Sigurohuni që pllaka "G" (fig. 5) është kyçur plotësisht duke shtyrë levën "H" dhe duke kontrolluar që kamera të jetë montuar në mënyrë të sigurt në kokë.
HIQNI KAMERËN NGA KOKA

Sa herë që kamera duhet të hiqet nga koka, mbajeni kamerën në mënyrë të sigurt në njërën dorë ndërsa rrotulloni levën "H" dhe shtyjeni poshtë levën e sigurisë "I" derisa leva "H" të arrijë ndalesën.
PËRDORIMI
Koka ka lëvizje të pavarura panoramike dhe topi.
Leva "E" kyç lëvizjen panoramike.
Për të lëshuar lëvizjen, zhbllokoni levën "E" duke e rrotulluar në drejtim të kundërt të akrepave të orës.
Pasi të jetë arritur pozicioni i dëshiruar, kyçeni kokën duke e kthyer levën "E" plotësisht në drejtim të akrepave të orës. Leva "C" kyç lëvizjen e topit.
Për t'u siguruar që koka e topit të përdoret në mënyrë të sigurt, mbajeni gjithmonë kamerën me njërën dorë ndërsa lëshoni topin.
Për të lëshuar topin "D" për pozicionimin e kamerës, zhbllokoni levën "C" duke e rrotulluar në drejtim të kundërt të akrepave të orës. Pasi të jetë arritur pozicioni i dëshiruar, kyçeni topin "D" duke e kthyer levën "C" plotësisht në drejtim të akrepave të orës.
Koka përfshin një rregullim të veçantë të fërkimit për lëvizjen e topit, gjë që e bën më të lehtë kontrollin e pozicionimit të kokës përpara se ta kyçni atë. Për të rregulluar fërkimin sigurohuni që topi "D" të mos jetë i kyçur (duke rrotulluar levën e kyçjes "C" në drejtim të kundërt të akrepave të orës). Pastaj mbajeni kamerën në njërën dorë dhe rrotulloni me dorën tjetër sustën "F" në drejtim të akrepave të orës për të shtrënguar fërkimin, në drejtim të kundërt të akrepave të orës për të zvogëluar fërkimin.
Fërkimi nuk lejon kyçjen e kamerës: ne rekomandojmë të kyçni topin "D" duke e kthyer plotësisht levën "C".

Shkarko manual
Këtu mund të shkarkoni versionin e plotë pdf të manualit, ai mund të përmbajë udhëzime shtesë sigurie, informacione garancioni, rregulla FCC, etj.
Shkarko Manfrotto MHXPRO-BHQ2 - Manuali dhe Videoja e Rishikimit të Kokës së Topit Xpro