Pit Boss 550 Navigator, PB550G - Grilio ir rūkyklos serijos vadovas
- 1 ĮVADAS
- 2 DALYS IR SPECIFIKACIJOS
- 3 DALYS
- 4 PARUOŠIMAS SURINKIMUI
-
5
SURINKIMO INSTRUKCIJOS
- 5.1 KOJELIŲ TVIRTINIMAS PRIE ATRAMINIŲ KOJŲ
- 5.2 ATRAMINIŲ PLOKŠČIŲ TVIRTINIMAS
- 5.3 ATRAMINIŲ PLOKŠČIŲ IR RATŲ TVIRTINIMAS
- 5.4 ATRAMINĖS PLOKŠTĖS TVIRTINIMAS PRIE ATRAMINIŲ KOJŲ RATAMS
- 5.5 ATRAMINĖS PLOKŠTĖS TVIRTINIMAS PRIE ATRAMINIŲ KOJŲ
- 5.6 PAGRINDINĖS STATINĖS MONTAVIMAS ANT VEŽIMĖLIO
- 5.7 DANGČIO STABDŽIO ĮDIEGIMAS
- 5.8 DANGČIO RANKENOS ĮDIEGIMAS
- 5.9 LIEPSNOS BROILERIO KOMPONENTŲ ĮDIEGIMAS
- 5.10 LIEPSNOS BROILERIO REGULIAVIMO JUOSTOS ĮDIEGIMAS
- 5.11 ŠONINĖS LENTYNOS ĮDIEGIMAS
- 5.12 PRIEKINĖS LENTYNOS KONSOLIŲ TVIRTINIMAS
- 5.13 PRIEKINĖS LENTYNOS ĮDIEGIMAS
- 5.14 GRILIO GAMINIMO KOMPONENTŲ ĮDIEGIMAS
- 5.15 RIEBALŲ KIBIRO ĮDIEGIMAS
- 5.16 JUNGTIS PRIE MAITINIMO ŠALTINIO
- 6 Nuorodos
- 7 Atsisiųsti instrukciją
- 8 Kitomis kalbomis

ĮVADAS
PRAŠOME PERSKAITYTI VISĄ VADOVĄ PRIEŠ ĮDIEGIANT IR NAUDOJANT ŠĮ ELEKTRINĮ, GRANULĖMIS KURENAMĄ PRIETAISĄ. JEI NESILAIKYSITE ŠIŲ INSTRUKCIJŲ, GALITE PADARYTI ŽALOS TURTUI, SUSIŽALOJIMO AR NET MIRTI. DĖL APRIBOJIMŲ IR ĮDIEGIMO PATIKRINIMO REIKALAVIMŲ JŪSŲ VIETOVĖJE KREIPKITĖS Į VIETOS STATYBOS AR PRIEŠGAISRINĖS SAUGOS PAREIGŪNUS.
SVARBU, ATIDŽIAI PERSKAITYKITE, IŠSAUGOKITE ATEIČIAI. VADOVĄ PRIVALOMA PERSKAITYTI PRIEŠ NAUDOJANT!
Skirtas naudoti tik lauke ir namuose. Neskirtas komerciniam naudojimui.
DALYS IR SPECIFIKACIJOS
| Dalies Nr. | Aprašymas |
| 1 | Dangčio stabdiklis (x1) |
| 2 | Dangčio rankena (x1) |
| 3 | Dangčio rankenos apvadas (x2) |
| 4 | Pagrindinis korpusas (x1) |
| 5 | Liepsnos sklendės reguliavimo strypas (x1) |
| 6 | Liepsnos sklendės reguliavimo strypo rankena (x1) |
| 7 | Liepsnos sklendės slankiklis (x1) |
| 8 | Liepsnos sklendės pagrindinė plokštė (x1) |
| 9 | Kairė priekinė koja (x1) |
| 10 | Kairė galinė koja (x1) |
| 11 | Dešinė priekinė koja (x1) |
| 12 | Dešinė galinė koja (x1) |
| 13 | Kairės priekinės kojos apdailos detalė (x1) |
| 14 | Kairės galinės kojos apdailos detalė (x1) |
| 15 | Ratas (x2) |
| 16 | Dešinė apatinė atraminė plokštė (x1) |
| 17 | Kairė apatinė atraminė plokštė (x1) |
| 18 | Trumpa atraminė plokštė (x2) |
| 19 | Priekinė/galinė ilga atraminė plokštė (x2) |
| 20 | Priekinė lentyna (x1) |
| 21 | Priekinės lentynos laikiklis dešinysis (x1) |
| 22 | Priekinės lentynos laikiklis kairysis (x1) |
| 23 | Riebalų kibiras (x1) |
| 24 | Dešinysis šoninis staliukas (x1) |
| 25 | Kepimo grotelės (x2) |
| 26 | Šildymo lentyna (x1) |
| 27 | Mėsos zondas (x1) |
| 28 | Maitinimo laido spaustukas (x1) |
| 29 | Maitinimo laidas - F kištukas (x1) |
| 30 | Maitinimo laidas - G kištukas (x1) |
| A | Varžtas (x18) |
| B | Poveržlė (x18) |
| C | Fiksavimo poveržlė (x18) |
| D | Varžtas (x30) |
| E | Rato ašies kaištis (x2) |
| F | Rato skeltuvas (x2) |
| G | Rato poveržlė (x2) |
PASTABA: Dėl nuolatinio produkto tobulinimo dalys gali būti keičiamos be išankstinio įspėjimo. Jei surenkant įrenginį trūksta dalių, kreipkitės į klientų aptarnavimo skyrių.
PB – ELEKTROS REIKALAVIMAI
220-240 V, 50 Hz, 250 W, ĮŽEMINTAS KIŠTUKAS
Diagramos iliustracija kitame puslapyje.
| MODELIS | SURINKTO ĮRENGINIO DYDIS (PxAxG) | ĮRENGINIO SVORIS | KEPIMO PLOTAS | TEMP. DIAPAZONAS | SKAITMENINĖS FUNKCIJOS | |
| PB | PB550G | 1,227mm x 1,195mm x 868mm / 48.3" x 47" x 34.17" | 55.7 kg / 122.8 lb | Pagrindinis- 2580.6 cm² / 400 kv. colių. Viršutinė lentyna - 920 cm² / 142.6 kv. colių. IŠ VISO - 3500.6 cm² / 542.6 kv. colių. | 82-260°C / 180-500°F | Dešimt iš anksto nustatytų temperatūros režimų, paleidimo ir atvėsinimo ciklai, elektrinis uždegiklis |
DALYS

PARUOŠIMAS SURINKIMUI
Dalys yra išdėstytos visoje siuntimo dėžėje, įskaitant ir po griliumi. Išėmę iš apsauginės siuntimo dėžės, patikrinkite grilių, dalis ir techninės įrangos lizdinę plokštelę. Prieš surinkdami išmeskite visas pakavimo medžiagas iš grilio vidaus ir išorės, tada peržiūrėkite ir patikrinkite visas dalis, remdamiesi dalių sąrašu. Jei kurios nors dalies trūksta arba ji pažeista, nebandykite surinkti. Siuntimo metu padaryta žala garantijai netaikoma. Dėl dalių kreipkitės į savo pardavėją arba „Pit Boss®“ klientų aptarnavimo skyrių.
www.pitboss-grills.com
Kad būtų lengviau įdiegti ir išvengti sužalojimų, surenkant šį prietaisą naudokite du žmones.
Surinkimui reikalingi įrankiai: atsuktuvas ir gulsčiukas.

Įrankiai neįtraukti.
SURINKIMO INSTRUKCIJOS
Prieš pradedant surinkimą pagal instrukcijas, patariama perskaityti kiekvieną žingsnį iki galo. Neužveržkite varžtų iki galo, kol visi varžtai, skirti tam žingsniui, nebus įsukti. Aparatinės įrangos derinys, apimantis fiksavimo poveržlę ir poveržlę, turėtų būti sumontuotas taip, kad fiksavimo poveržlė būtų arčiausiai varžto galvutės.
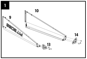
KOJELIŲ TVIRTINIMAS PRIE ATRAMINIŲ KOJŲ

Reikalingos dalys:
- 1 x Kairė priekinė koja (#9)
- 1 x Kairė galinė koja (#10)
- 1 x Kairės priekinės kojos apdailos detalė (#13)
- 1 x Kairės galinės kojos apdailos detalė (#14)
- 6 x Varžtas (#D)
Montavimas:
- Trimis varžtais pritvirtinkite kairės priekinės kojos apdailos detalę prie kairės priekinės kojos. Toliau montuokite kairę galinę koją ir kairės galinės kojos apdailos detalę.
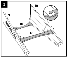
ATRAMINIŲ PLOKŠČIŲ TVIRTINIMAS

Reikalingos dalys:
- 1 x Kairė priekinė koja (#9)
- 1 x Kairė galinė koja (#10)
- 1 x Kairė apatinė atraminė plokštė (#17)
- 1 x Trumpa atraminė plokštė (#18)
- 8 x Varžtas (#D)
Montavimas:
- Sumontuokite vieną trumpą atraminę plokštę įrenginio šone tarp priekinės ir galinės atraminių kojų, naudodami keturis varžtus. Pakartokite tą patį montavimą, kad pritvirtintumėte apatinę atraminę plokštę prie tų pačių kojų.
PASTABA: Įsitikinkite, kad apatinė atraminė plokštė yra nukreipta į viršų teisinga kryptimi.
ATRAMINIŲ PLOKŠČIŲ IR RATŲ TVIRTINIMAS

Reikalingos dalys:
- 1 x Dešinė priekinė koja (#11)
- 1 x Dešinė galinė koja (#12)
- 1 x Dešinė apatinė atraminė plokštė (#16)
- 1 x Trumpa atraminė plokštė (#18)
- 2 x Ratas (#15)
- 8 x Varžtas (#D)
- 2 x Rato ašies kaištis (#E)
- 2 x Rato skeltuvas (#F)
- 2 x Rato poveržlė (#G)
Montavimas:
- Sumontuokite vieną trumpą atraminę plokštę įrenginio šone tarp priekinės ir galinės atraminių kojų, naudodami keturis varžtus. Pakartokite tą patį montavimą, kad pritvirtintumėte apatinę atraminę plokštę prie tų pačių kojų.
- Pritvirtinkite didelį ratą prie atraminės kojos, įkišdami rato ašies kaištį per rato atraminės kojos skylę, tada pritvirtinkite naudodami rato skeltuvą. Pakartokite montavimą kitam ratui toje pačioje pusėje.
PASTABA: Įsitikinkite, kad apatinė atraminė plokštė yra nukreipta į viršų teisinga kryptimi.
ATRAMINĖS PLOKŠTĖS TVIRTINIMAS PRIE ATRAMINIŲ KOJŲ RATAMS

Reikalingos dalys:
- 2 x Priekinė/galinė ilga atraminė plokštė (#19)
- 4 x Varžtas (#D)
Montavimas:
- Pritvirtinkite vieną ilgą atraminę plokštę prie vienos atraminės kojos ratui, naudodami du varžtus. Įsitikinkite, kad plokščia atraminės plokštės pusė yra nukreipta į išorę. Pakartokite tą patį montavimą, kad pritvirtintumėte kitą ilgą atraminę plokštę prie kitos atraminės kojos.
ATRAMINĖS PLOKŠTĖS TVIRTINIMAS PRIE ATRAMINIŲ KOJŲ

Reikalingos dalys:
- 4 x Varžtas (#D)
Montavimas:
- Toliau pritvirtinkite ilgas atramines plokštes prie atraminių kojų. Pritvirtinkite naudodami du varžtus kiekvienai plokštei.
PAGRINDINĖS STATINĖS MONTAVIMAS ANT VEŽIMĖLIO

Reikalingos dalys:
- 1 x Pagrindinė statinė (#4)
- 12 x Varžtas (#A)
- 12 x Poveržlė (#B)
- 12 x Fiksavimo poveržlė (#C)
- 1 x Maitinimo laidas (#29 arba 30)
- 1 x Kabelio spaustukas (#28)
Montavimas:
PASTABA: Pateikiami du maitinimo laidai. Pasirinkite maitinimo laidą, kuris reikalingas jūsų regionui.
- Uždėkite kabelio spaustukus ant tinkamo maitinimo laido. Įkiškite maitinimo laidą į griovelį bunkerio apačioje. Pritvirtinkite kabelio spaustuką prie bunkerio apačios anksčiau įsuktu varžtu. Žr. 6A iliustraciją.
- Paruoškite pagrindinę statinę montavimui ant vežimėlio. Atsargiai pakelkite vežimėlį į vertikalią padėtį, kad ratai būtų apačioje. Padėkite vežimėlį šalia pagrindinės statinės, kad abu būtų nukreipti ta pačia kryptimi. Naudodami antrą žmogų, pasiruoškite pakelti pagrindinę statinę ant vežimėlio. Vienam žmogui keliant nuo bunkerio pusės, o kitam - nuo priešingos statinės galo, atsargiai pakelkite pagrindinę statinę ir lėtai nuleiskite ant vežimėlio. Žr. 6B iliustraciją.
- Toliau atidarykite pagrindinės statinės dangtį. Prireikus sureguliuokite sukimąsi, kad sulygiuotumėte pagrindinės statinės varžtų skylutes su vežimėliu. Kai padėsite, pritvirtinkite kiekvieną koją prie pagrindinės statinės naudodami tris varžtus, poveržles ir fiksavimo poveržles. Žr. 6C iliustraciją.
DANGČIO STABDŽIO ĮDIEGIMAS

Reikalingos dalys:
- 1 x Dangčio stabdys (#1)
Montavimas:
- Pritvirtinkite dangčio stabdį ant pagrindinės statinės viršaus, naudodami iš anksto įsuką varžtą pagrindinės statinės viršuje.
DANGČIO RANKENOS ĮDIEGIMAS

Reikalingos dalys:
- x Dangčio rankena (#2)
- x Dangčio rankenos apvadas (#3)
Montavimas:
- Išsukite iš anksto įsuktus varžtus iš dangčio rankenos. Iš statinės dangčio vidaus įkiškite vieną varžtą į išorę. Uždėkite apvadą ant varžto. Tada ranka priveržkite varžtą (iš vidaus) į dangčio rankeną. Pakartokite kitai pusei.
LIEPSNOS BROILERIO KOMPONENTŲ ĮDIEGIMAS

Reikalingos dalys:
- 1 x Liepsnos broilerio pagrindinė plokštė (#8)
- 1 x Liepsnos broilerio slankiklis (#7)
Montavimas:
- Įkiškite liepsnos broilerio pagrindinę plokštę į pagrindinę grotelę. Padėkite liepsnos broilerio pagrindinę plokštę ant įmontuoto atbrailos (vidinėje dešinėje pusėje) pagrindinės grotelės, kuri nukreipia riebalus į riebalų kibiro snapelį. Pastumkite visą detalę į kairę pusę, ir du liepsnos broilerio pagrindinės plokštės lizdai tilps į apvalią atbrailą virš degiklio puodo. Ji šiek tiek pasvirs žemyn. Žr. 9A iliustraciją.
Jei pagrindinė plokštė remiasi į statinės pagrindą, ji sumontuota neteisingai. Netinkamas montavimas gali sugadinti jūsų pagrindinės grotelės statinę.
- Uždėkite liepsnos broilerio slankiklį ant liepsnos broilerio pagrindinės plokštės, uždengdami plyšines angas. Įsitikinkite, kad pakeltas skirtukas yra kairėje, o du kaiščiai liepsnos broilerio slankiklio apačioje įstatomi į liepsnos broilerio pagrindinės plokštės skylutes, kad būtų lengva reguliuoti tiesioginę ir netiesioginę liepsną gaminant maistą. Abi liepsnos broilerio dalys yra lengvai padengtos aliejumi, kad nerūdytų gabenant. Žr. 9B iliustraciją.
PASTABA: Norint išlaikyti kepimo grotelių kepimo ir grilio efektyvumą, reikalinga reguliari priežiūra ir aptarnavimas. Žr. savininko vadovą.
LIEPSNOS BROILERIO REGULIAVIMO JUOSTOS ĮDIEGIMAS

Reikalingos dalys:
- 1 x Liepsnos broilerio reguliavimo juosta (#5)
- 1 x Liepsnos broilerio reguliavimo juostos rankena (#6)
Montavimas:
- Įkiškite liepsnos broilerio reguliavimo juostą per angą kairėje pagrindinės statinės pusėje. Uždėkite liepsnos broilerio reguliavimo juostos rankeną ant galo už statinės. Toliau įstumkite įpjautą reguliavimo juostos galą į fiksavimo skirtuką ant liepsnos broilerio slankiklio, suteikdami reguliuojamą prieigą prie liepsnos broilerio slankiklio ant pagrindinės plokštės.
ŠONINĖS LENTYNOS ĮDIEGIMAS

Reikalingos dalys:
- 1 x Dešinysis šoninis staliukas (#24)
- 2 x Varžtas (#A)
- 2 x Poveržlė (#B)
- 2 x Fiksavimo poveržlė (#C)
Montavimas:
- Atsukite du iš anksto įsuktus varžtus iš pagrindinės statinės šono. Pirmiausia užkabinkite dešinįjį šoninį staliuką ant varžtų, tada pritvirtinkite du iš anksto atlaisvintus varžtus į vietą.
- Iš apačios pritvirtinkite dešinįjį šoninį staliuką prie pagrindinės statinės šoninio skydelio, naudodami du varžtus, poveržles ir fiksavimo poveržles.
PRIEKINĖS LENTYNOS KONSOLIŲ TVIRTINIMAS

Reikalingos dalys:
- 1 x Priekinės lentynos konsolė dešinė (#21)
- 1 x Priekinės lentynos konsolė kairė (#22)
- 4 x Varžtas (#A)
- 4 x Poveržlė (#B)
- 4 x Fiksavimo poveržlė (#C)
Montavimas:
- Pritvirtinkite kiekvieną priekinės lentynos atraminę konsolę prie priekinės atraminės kojos, naudodami du varžtus, poveržles ir fiksavimo poveržles.
PRIEKINĖS LENTYNOS ĮDIEGIMAS

Reikalingos dalys:
- 1 x Priekinė lentyna (#20)
Montavimas:
- Padėkite priekinę lentyną ant priekinės lentynos atraminių konsolių. Žr. 13A iliustraciją kaip išskleistą priekinę lentyną.
- Žr. 13B iliustraciją kaip sulankstytą priekinę lentyną.
- Priekinę lentyną taip pat galima padėti ant apatinių atraminių plokščių ir naudoti kaip apatinę plokštę. Žr. 13C iliustraciją.
GRILIO GAMINIMO KOMPONENTŲ ĮDIEGIMAS

Reikalingos dalys:
- 2 x Kepimo grotelės (#25)
- 1 x Šildymo lentyna (#26)
Montavimas:
- Padėkite kepimo groteles viena šalia kitos ant grotelių atbrailos pagrindinio grilio viduje.
- Padėkite viršutinę šildymo lentyną ant viršutinės atbrailos pagrindinio grilio viduje.
Šildymo lentyna užsifiksuos savo vietoje.
RIEBALŲ KIBIRO ĮDIEGIMAS

Reikalingos dalys:
- 1 x Riebalų kibiras (#23)
Montavimas:
- Padėkite riebalų kibirą ant snapelio kabliuko pagrindinės statinės gale. Įsitikinkite, kad jis yra lygus, kad išvengtumėte riebalų išsiliejimo.
- Įrenginys dabar visiškai surinktas.
JUNGTIS PRIE MAITINIMO ŠALTINIO

PASTABA: Prieš įjungdami savo Pit Boss® į bet kurį elektros lizdą, įsitikinkite, kad temperatūros ratukas yra OFF (išjungta) padėtyje.
- TANDARTINIS LIZDAS
Šiam prietaisui reikalinga 220-240 voltų, 50Hz, 250w paslauga. Tai turi būti įžemintas kištukas.
Atjunkite įrenginį nuo maitinimo šaltinio, kai nenaudojate.
Naudojimo instrukcijas rasite savininko vadove

Nuorodos
Atsisiųsti instrukciją
Čia galite atsisiųsti visą pdf instrukcijos versiją, kurioje gali būti papildomų saugos instrukcijų, garantijos informacijos, FCC taisyklių ir kt.
Atsisiųsti Pit Boss 550 Navigator, PB550G - Grilio ir rūkyklos serijos vadovas