Sony CFD-G505 - Instrukcja obsługi odtwarzacza CD Radio Cassette-Corder
- 1 Źródła zasilania
- 2 Podstawowe operacje
- 3 Przed użyciem urządzenia
- 4 Aby wzmocnić dźwięk basów
- 5 Odtwarzanie płyty CD
- 6 Słuchanie radia
- 7 Odtwarzanie kasety
- 8 Nagrywanie na taśmie
- 9 Inne operacje
- 10 Odtwarzanie utworów w kółko
- 11 Odtwarzanie utworów w kolejności losowej
- 12 Tworzenie własnego programu
- 13 Wstępne ustawianie stacji radiowych
- 14 Odtwarzanie zaprogramowanych stacji radiowych
- 15 Zasypianie przy muzyce
- 16 Podłączanie opcjonalnego komponentu
- 17 Rozwiązywanie problemów
- 18 Specyfikacje
- 19 Pobierz instrukcję
- 20 W innych językach

Źródła zasilania

Podłącz przewód zasilający AC
lub włóż osiem baterii R20 (rozmiar D) (niedołączone) do komory baterii
.
Uwagi
- Wymień baterie, gdy wskaźnik OPR/BATT przygaśnie lub gdy urządzenie przestanie działać.
Wymień wszystkie baterie na nowe. Przed wymianą baterii upewnij się, że wyjąłeś płytę CD z urządzenia. - Aby używać urządzenia na bateriach, odłącz przewód zasilający AC od urządzenia.
- Gdy urządzenie jest zasilane bateriami, nie można go włączyć za pomocą pilota.
Przygotowanie pilota
Włóż dwie baterie R03 (rozmiar AAA) (niedołączone).

Wymiana baterii
Przy normalnym użytkowaniu baterie powinny wystarczyć na około sześć miesięcy. Gdy pilot przestanie obsługiwać urządzenie, wymień wszystkie baterie na nowe.
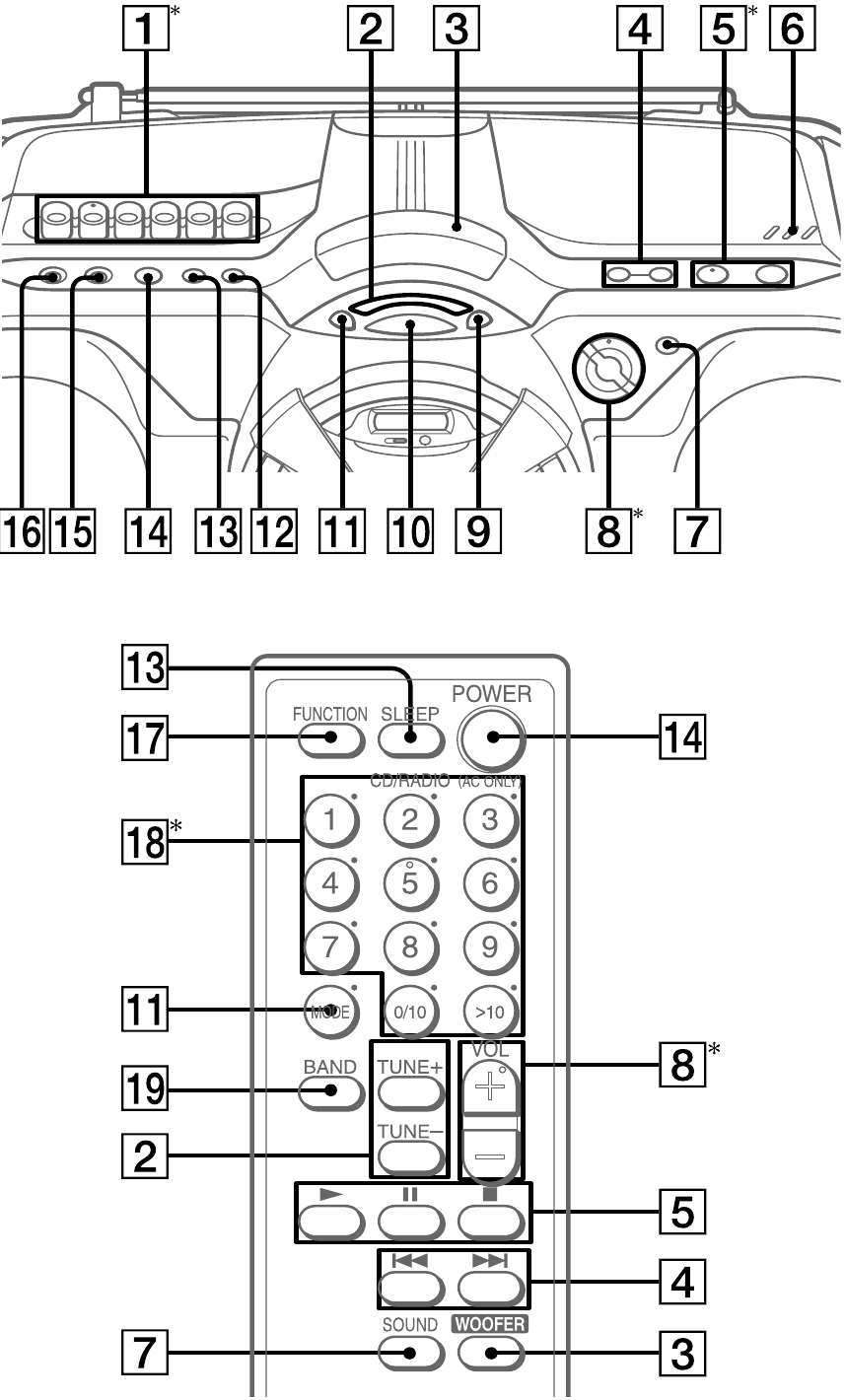
Podstawowe operacje

VOL +
, 
,
i 5
na pilocie mają wyczuwalny punkt.
Przed użyciem urządzenia
Aby włączyć/wyłączyć zasilanie
Naciśnij POWER
.
Aby wyregulować głośność
Naciśnij VOL +, –
.
Aby słuchać przez słuchawki
Podłącz słuchawki do gniazda
(słuchawki)
.
Aby wybrać charakterystykę dźwięku
Naciskaj SOUND
wielokrotnie, aby wybrać żądane wzmocnienie dźwięku.
| Wybierz | Aby uzyskać |
![]() | Mocne, czyste dźwięki, podkreślające niskie i wysokie zakresy audio |
![]() | Lekkie, jasne dźwięki podkreślające wysokie i średnie zakresy audio |
![]() | Dźwięki perkusyjne, podkreślające basy |
![]() | Obecność wokali, podkreślająca średnie zakresy audio |
![]() | Cały zakres dynamiczny dla muzyki, takiej jak muzyka klasyczna |
Aby wzmocnić dźwięk basów
Naciśnij POWER DRIVE WOOFER (WOOFER na pilocie)
aby wybrać
lub
na wyświetlaczu.
jest bardziej efektywne. Gdy funkcja WOOFER działa, pierścień na panelu przednim świeci się.
Aby powrócić do normalnego dźwięku, naciskaj przycisk wielokrotnie, aż wskaźnik zniknie z wyświetlacza.
Uwagi
- Gdy włączony jest wyłącznik czasowy, pierścień nie świeci się, nawet jeśli używana jest funkcja WOOFER.
- Gdy używasz słuchawek, funkcja WOOFER nie działa.
Odtwarzanie płyty CD
Naciśnij PUSH OPEN/CLOSE
na urządzeniu i umieść płytę stroną z etykietą do góry w komorze CD.
Aby zamknąć komorę CD, naciśnij
PUSH OPEN/ CLOSE
na urządzeniu.
![Sony - CFD-G505 - Odtwarzanie płyty CD - Część 1 Odtwarzanie płyty CD - Część 1]()
- Naciśnij
na urządzeniu (
na pilocie)
.
Urządzenie odtwarza wszystkie utwory raz.
![Sony - CFD-G505 - Odtwarzanie płyty CD - Część 2 Odtwarzanie płyty CD - Część 2]()
| Aby | Naciśnij |
| Wstrzymać odtwarzanie (Pause) | na urządzeniu ( na pilocie) . Aby wznowić odtwarzanie, naciśnij go ponownie. |
| Zatrzymać odtwarzanie (Stop) | . |
| Przejść do następnego utworu | . |
| Cofnąć do poprzedniego utworu | . |
| Zlokalizować punkt podczas słuchania dźwięku | (do przodu) lub (do tyłu) podczas odtwarzania i przytrzymaj go, aż znajdziesz punkt. |
| Zlokalizować punkt podczas obserwowania wyświetlacza | (do przodu) lub (do tyłu) w pauzie i przytrzymaj go, aż znajdziesz punkt. |
| Zlokalizować konkretny utwór bezpośrednio | Przycisk numeryczny utworu na pilocie. |
| Wyjąć płytę CD | PUSH OPEN/CLOSE . |
Wskazówka
Gdy chcesz zlokalizować utwór o numerze powyżej 10, naciśnij najpierw >10
na pilocie, a następnie odpowiednie przyciski numeryczne
na pilocie.
Przykład: Aby odtworzyć utwór numer 23, naciśnij najpierw >10, a następnie 2 i 3.
Uwaga
Nie można zlokalizować konkretnego utworu, jeśli na wyświetlaczu świeci się "SHUF" lub "PGM". Wyłącz wskaźnik, naciskając
.
Słuchanie radia
- Naciśnij RADIO BAND•AUTO PRESET
na urządzeniu (BAND
na pilocie) wielokrotnie.
Za każdym razem, gdy naciśniesz przycisk, wskaźnik zmienia się w następujący sposób:
"FM" ➝ "AM" - Przytrzymaj TUNE + lub –
aż cyfry częstotliwości zaczną się zmieniać na wyświetlaczu.
Urządzenie automatycznie skanuje częstotliwości radiowe i zatrzymuje się, gdy znajdzie czystą stację.
Jeśli nie możesz nastroić stacji, naciskaj TUNE + lub –
wielokrotnie, aby zmieniać częstotliwość krok po kroku.
Gdy odbierana jest stereofoniczna transmisja FM, pojawia się "ST".
Wskazówka
Jeśli transmisja FM jest zaszumiona, naciśnij MODE , aż na wyświetlaczu pojawi się "Mono", a radio będzie odtwarzane w trybie monofonicznym.
Odtwarzanie kasety
Użyj przycisków na urządzeniu do obsługi.
- Naciśnij
na urządzeniu i włóż kasetę do komory kasety stroną, którą chcesz odtworzyć, skierowaną do góry. Używaj tylko kasety TYPE I (normal). Zamknij komorę.
Upewnij się, że kaseta nie jest poluzowana, aby uniknąć uszkodzenia kasety lub urządzenia.
- Naciśnij
na urządzeniu.
Urządzenie rozpoczyna odtwarzanie.
| Aby | Naciśnij |
| Wstrzymać odtwarzanie (Pause) | na urządzeniu. Aby wznowić odtwarzanie, naciśnij go ponownie. |
| Zatrzymać odtwarzanie (Stop) | na urządzeniu. |
| Przewinąć do przodu lub do tyłu | lub (szybkie przewijanie do przodu lub do tyłu) na urządzeniu. |
| Wysunąć kasetę | na urządzeniu. |
Nagrywanie na taśmie
Użyj przycisków na urządzeniu do obsługi.
- Naciśnij
na urządzeniu, aby otworzyć komorę kasety i włóż czystą kasetę stroną, którą chcesz nagrywać, skierowaną do góry. Używaj tylko taśm TYPE I (normalnych). Zamknij komorę.
- Wybierz źródło programu, które chcesz nagrać.
Aby nagrywać z odtwarzacza CD, naciśnij
na urządzeniu i umieść płytę CD.
Aby nagrywać z radia, dostrój stację, którą chcesz (patrz "Słuchanie radia"). - Naciśnij
na urządzeniu, aby rozpocząć nagrywanie (
jest automatycznie wciśnięty).
| Aby | Naciśnij |
| Wstrzymać nagrywanie | na urządzeniu. Naciśnij ponownie przycisk, aby wznowić nagrywanie. |
| Zatrzymać nagrywanie | na urządzeniu. |
Wskazówki
- Regulacja głośności lub wzmocnienia dźwięku nie wpłynie na poziom nagrywania.
- Aby uzyskać najlepsze rezultaty, używaj zasilania sieciowego jako źródła zasilania do nagrywania.
- Aby wymazać nagranie, postępuj w następujący sposób:
- Włóż kasetę, której nagranie chcesz wymazać.
- Upewnij się, że wyświetla się "TAPE" ("TAŚMA"). (Jeśli "TAPE" ("TAŚMA") nie jest wyświetlane, naciśnij
na urządzeniu lub naciśnij FUNCTION
na pilocie, aż pojawi się na wyświetlaczu.) - Naciśnij
na urządzeniu.
Inne operacje
Korzystanie z wyświetlacza
Możesz sprawdzić informacje o płycie CD za pomocą wyświetlacza.
Aby sprawdzić całkowitą liczbę utworów i czas odtwarzania płyty CD
Naciśnij DISPLAY•ENTER•MEMORY
na urządzeniu, gdy płyta CD jest zatrzymana.

Aby sprawdzić pozostały czas
Naciśnij DISPLAY•ENTER•MEMORY
na urządzeniu podczas odtwarzania płyty CD.
Wyświetlacz zmienia się w następujący sposób:
![]() | Numer bieżącego utworu i czas odtwarzania![]() |
Numer bieżącego utworu i pozostały czas bieżącego utworu*![]() | |
| Liczba pozostałych utworów i czas pozostały na płycie CD |
* Dla utworu, którego numer jest większy niż 20, pozostały czas pojawia się jako "− −: − −" na wyświetlaczu.
Odtwarzanie utworów w kółko
(Odtwarzanie powtarzane)
Możesz odtwarzać utwory w kółko w trybach normalnym, losowym lub programowanym.
- Naciśnij
.
"Cd" pojawia się na wyświetlaczu. - Postępuj w następujący sposób.
| Aby powtórzyć | Zrób to |
| Pojedynczy utwór |
|
| Wszystkie utwory na płycie CD |
|
| Utwory w kolejności losowej |
|
| Zaprogramowane utwory |
|
Na pilocie
- Użyj
zamiast
. - Po wybraniu "REP 1", naciśnij przyciski numeryczne
aby wybrać utwór.
Aby anulować odtwarzanie powtarzane
Naciśnij MODE
aż "REP" zniknie z wyświetlacza.
Odtwarzanie utworów w kolejności losowej
(Odtwarzanie losowe)
Możesz odtwarzać utwory w kolejności losowej.
- Naciśnij
. "Cd" pojawia się na wyświetlaczu. - Naciśnij MODE
aż pojawi się "SHUF" na wyświetlaczu. - Naciśnij
na urządzeniu, aby rozpocząć odtwarzanie losowe.
Na pilocie
Użyj
zamiast
.
Aby anulować odtwarzanie losowe
Naciśnij MODE
aż "SHUF" zniknie z wyświetlacza.
Wskazówka
Podczas odtwarzania losowego nie można wybrać poprzedniego utworu, naciskając 
Tworzenie własnego programu
(Odtwarzanie programowane)
Możesz ustawić kolejność odtwarzania do 20 utworów na płycie CD.
- Naciśnij
.
"Cd" pojawia się na wyświetlaczu. - Naciśnij MODE
aż "PGM" zacznie migać na wyświetlaczu. - Naciśnij
lub
następnie naciśnij DISPLAY• ENTER•MEMORY
na urządzeniu dla utworów, które chcesz zaprogramować w żądanej kolejności.
- Naciśnij
na urządzeniu, aby rozpocząć odtwarzanie programowane.
Na pilocie
- Użyj
zamiast
. - Po wybraniu "PGM", naciśnij przyciski numeryczne
dla utworów, które chcesz zaprogramować w żądanej kolejności.
Aby anulować odtwarzanie programowane
Naciśnij MODE
aż "PGM" zniknie z wyświetlacza.
Aby sprawdzić kolejność utworów przed odtwarzaniem
Naciśnij DISPLAY•ENTER•MEMORY
na urządzeniu.
Za każdym razem, gdy naciśniesz przycisk, numer utworu pojawi się w zaprogramowanej kolejności.
Aby zmienić bieżący program
Naciśnij
raz, jeśli płyta CD jest zatrzymana i dwa razy, jeśli płyta CD jest odtwarzana. Bieżący program zostanie wymazany.
Następnie utwórz nowy program, postępując zgodnie z procedurą programowania.
Wskazówki
- Możesz ponownie odtworzyć ten sam program, ponieważ program jest zapisywany do momentu otwarcia komory CD.
- Możesz nagrać własny program. Po utworzeniu programu włóż czystą kasetę i naciśnij
na urządzeniu, aby rozpocząć nagrywanie.
Wstępne ustawianie stacji radiowych
Możesz zapisać stacje radiowe w pamięci urządzenia. Możesz zaprogramować do 30 stacji radiowych, 20 dla FM i 10 dla AM w dowolnej kolejności.
- Naciśnij RADIO BAND•AUTO PRESET
na urządzeniu, aby wybrać pasmo. - Przytrzymaj RADIO BAND•AUTO PRESET
na urządzeniu przez 2 sekundy, aż na wyświetlaczu zacznie migać "AUTO". - Naciśnij DISPLAY•ENTER•MEMORY
na urządzeniu.
Stacje są zapisywane w pamięci od niższych do wyższych częstotliwości.
Jeśli stacja nie może zostać zaprogramowana automatycznie
Musisz zaprogramować stację o słabym sygnale ręcznie.
- Naciśnij RADIO BAND•AUTO PRESET
na urządzeniu, aby wybrać pasmo. - Wybierz stację, którą chcesz zaprogramować.
- Przytrzymaj DISPLAY•ENTER•MEMORY
na urządzeniu przez 2 sekundy, aż numer zaprogramowanej stacji zacznie migać na wyświetlaczu. - Naciśnij PRESET + lub –
na urządzeniu, aż numer zaprogramowanej stacji, którą chcesz przypisać, zacznie migać na wyświetlaczu. - Naciśnij DISPLAY•ENTER•MEMORY
na urządzeniu.
Nowa stacja zastępuje starą.
Na pilocie
- Naciśnij BAND
aż na wyświetlaczu pojawi się żądane pasmo. - Wybierz stację, którą chcesz zaprogramować.
- Przytrzymaj przyciski numeryczne
, na których chcesz zaprogramować nową stację, przez około 2 sekundy. Aby wybrać numer zaprogramowanej stacji powyżej 10, naciśnij najpierw >10
, a następnie odpowiednie przyciski numeryczne
. Musisz przytrzymać ostatni przycisk numeryczny, aby wprowadzić ustawienie przez około 2 sekundy.
(Przykład: Aby wybrać 12, naciśnij najpierw >10 i 1, a następnie przytrzymaj 2 przez około 2 sekundy.)
Wskazówka
Zaprogramowane stacje radiowe pozostają w pamięci, nawet jeśli odłączysz przewód zasilający AC lub wyjmiesz baterie.
Odtwarzanie zaprogramowanych stacji radiowych
- Naciśnij RADIO BAND•AUTO PRESET
na urządzeniu, aby wybrać pasmo. - Naciśnij PRESET + lub –
na urządzeniu, aby wybrać zapisaną stację.
Na pilocie
- Naciśnij BAND
. - Naciśnij przyciski numeryczne
, aby wybrać zapisaną stację.
Aby wybrać zaprogramowaną stację powyżej 10, naciśnij najpierw >10
, a następnie odpowiednie przyciski numeryczne
.
(Przykład: Aby wybrać zaprogramowaną stację 12, naciśnij najpierw >10 i 1, a następnie naciśnij 2.)
Zasypianie przy muzyce
- Odtwórz wybrane źródło muzyki.
- Naciśnij SLEEP
, aby wyświetlić "SLEEP" (uśpienie). - Naciśnij SLEEP
, aby wybrać liczbę minut, po których urządzenie wyłączy się automatycznie.
Za każdym razem, gdy naciśniesz przycisk, wskazanie zmienia się w następujący sposób:
"60" ➝ "90" ➝ "120" ➝ "OFF" (wył.) ➝ "10" ➝ "20" ➝ "30".
Jeśli po naciśnięciu SLEEP minęły 4 sekundy, minuty na wyświetlaczu zostaną wprowadzone.
Po upływie ustawionego czasu urządzenie wyłączy się automatycznie.
Aby anulować funkcję uśpienia
Naciśnij POWER
, aby wyłączyć zasilanie.
Uwaga
Podczas odtwarzania kasety za pomocą tej funkcji:
Jeśli długość taśmy z jednej strony jest dłuższa niż ustawiony czas, urządzenie nie wyłączy się, dopóki taśma nie dotrze do końca.
Podłączanie opcjonalnego komponentu
Możesz cieszyć się dźwiękiem z komputera, telewizora, magnetowidu, przenośnego odtwarzacza muzyki cyfrowej itp. przez głośniki tego urządzenia.
Przed wykonaniem jakichkolwiek połączeń należy wyłączyć zasilanie każdego komponentu.
Szczegółowe informacje znajdują się w instrukcji obsługi podłączanego komponentu.
- Podłącz gniazdo LINE IN
w urządzeniu do gniazda wyjścia liniowego przenośnego odtwarzacza muzyki cyfrowej lub innych komponentów za pomocą kabla audio* (niedostarczony).
* Dla komputera: użyj kabla, który pasuje do złącza komputera. Dla telewizora lub magnetowidu: użyj kabla z wtyczką stereo-mini na jednym końcu i dwiema wtyczkami cinch na drugim końcu.
Dla przenośnego odtwarzacza muzyki cyfrowej: użyj kabla z wtyczką stereo-mini na obu końcach. - Włącz urządzenie i podłączony komponent.
- Naciśnij LINE
na urządzeniu i rozpocznij odtwarzanie dźwięku na podłączonym komponencie.
Dźwięk z podłączonego komponentu jest odtwarzany z głośników.
Nagrywanie dźwięku z podłączonego komponentu
- Włóż czystą kasetę.
- Naciśnij LINE
na urządzeniu, aby wyświetlić "LInE". - Naciśnij
na urządzeniu.
Rozpocznie się nagrywanie. - Odtwórz opcjonalny komponent podłączony do gniazda LINE IN
na urządzeniu.
Uwaga
Podłącz kable bezpiecznie, aby uniknąć nieprawidłowego działania.
Rozwiązywanie problemów
Ogólne
Urządzenie nie włącza się.
- Podłącz przewód zasilający AC do gniazdka ściennego.
- Upewnij się, że baterie są prawidłowo włożone.
- Wymień wszystkie baterie na nowe, jeśli są słabe.
- Nie można włączyć urządzenia za pomocą pilota, gdy urządzenie jest zasilane bateriami.
Brak dźwięku.
- Upewnij się, że funkcja, której chcesz użyć, pojawia się w oknie wyświetlacza.
- Odłącz słuchawki podczas słuchania przez głośniki.
Słychać szumy.
- Ktoś używa telefonu komórkowego lub innego sprzętu emitującego fale radiowe w pobliżu urządzenia.
➝ Odsuń telefon komórkowy itp. od urządzenia.
Odtwarzacz CD
Płyta CD nie odtwarza się lub wyświetla się "no dISC" (brak płyty), nawet gdy płyta CD jest na miejscu.
- Umieść płytę CD etykietą do góry.
- Wyczyść płytę CD.
- Wyjmij płytę CD i pozostaw komorę CD otwartą na około godzinę, aby osuszyć skroploną wilgoć.
- Płyta CD-R/CD-RW jest pusta.
- Występuje problem z jakością płyty CD-R/CD-RW, urządzeniem nagrywającym lub oprogramowaniem aplikacyjnym.
- Wymień wszystkie baterie na nowe, jeśli są słabe.
Dźwięk zanika.
- Zmniejsz głośność.
- Wyczyść płytę CD lub wymień ją, jeśli jest poważnie uszkodzona.
- Umieść urządzenie w miejscu wolnym od wibracji.
- Wyczyść soczewkę za pomocą dostępnej w handlu dmuchawki.
- Dźwięk może zanikać lub mogą być słyszalne szumy podczas korzystania z płyt CD-R/CD-RW słabej jakości lub jeśli występuje problem z urządzeniem nagrywającym lub oprogramowaniem aplikacyjnym.
Radio
Słaby odbiór.
- Zmień położenie anteny, aby poprawić odbiór FM.
![Sony - CFD-G505 - Zmień położenie anteny, aby poprawić odbiór FM. Zmień położenie anteny, aby poprawić odbiór FM.]()
- Zmień położenie samego urządzenia, aby poprawić odbiór AM.
![Sony - CFD-G505 - Zmień położenie samego urządzenia, aby poprawić odbiór AM. Zmień położenie samego urządzenia, aby poprawić odbiór AM.]()
Dźwięk jest słaby lub ma słabą jakość.
- Wymień wszystkie baterie na nowe, jeśli są słabe.
- Odsuń urządzenie od telewizora.
- Jeśli używasz pilota podczas słuchania radia AM, mogą być słyszalne szumy.
Obraz w telewizorze staje się niestabilny.
- Jeśli słuchasz programu FM w pobliżu telewizora z anteną wewnętrzną, odsuń urządzenie od telewizora.
Odtwarzacz kaset
Taśma nie porusza się po naciśnięciu przycisku operacji.
- Zamknij bezpiecznie komorę kasety.
Przycisk
nie działa lub taśma nie odtwarza się ani nie nagrywa.
- Upewnij się, że zakładka zabezpieczająca na kasecie jest na swoim miejscu.
Słaba lub zniekształcona jakość odtwarzania, nagrywania lub kasowania.
- Wyczyść głowice za pomocą kasety czyszczącej na sucho lub na mokro (dostępnej oddzielnie) po każdych 10 godzinach użytkowania, przed rozpoczęciem ważnego nagrania lub po odtworzeniu starej taśmy. Niewyczyszczenie głowic taśmy może spowodować pogorszenie jakości dźwięku lub brak możliwości nagrywania lub odtwarzania taśm przez urządzenie. Szczegółowe informacje znajdują się w instrukcjach kasety czyszczącej.
- Używana jest taśma TYPE II (pozycja wysoka) lub TYPE IV (metalowa). Używaj tylko taśmy TYPE I (normalnej).
- Rozmagnesuj głowice za pomocą dostępnego w handlu rozmagnesowywacza głowic taśmy.
- Wymień wszystkie baterie na nowe, jeśli są słabe.
Pilot
Pilot nie działa.
- Wymień wszystkie baterie w pilocie na nowe, jeśli są słabe.
- Upewnij się, że kierujesz pilot na czujnik pilota na urządzeniu.
- Usuń wszelkie przeszkody na drodze pilota i urządzenia.
- Upewnij się, że czujnik pilota nie jest wystawiony na silne światło, takie jak bezpośrednie światło słoneczne lub światło lampy fluorescencyjnej.
- Zbliż się do urządzenia podczas korzystania z pilota.
Jeśli po wypróbowaniu środków zaradczych nadal masz problemy, odłącz przewód zasilający AC lub wyjmij wszystkie baterie. Po zniknięciu wszystkich wskazań na wyświetlaczu podłącz ponownie przewód zasilający AC lub włóż ponownie baterie. Jeśli problem będzie się powtarzał, skonsultuj się z najbliższym dealerem Sony.
Specyfikacje
SPECYFIKACJE MOCY AUDIO
MOC WYJŚCIOWA I CAŁKOWITE ZNIEKSZTAŁCENIA HARMONICZNE
Przy obciążeniu 3,2 oma, oba kanały sterowane w zakresie 150 - 10 000 Hz; moc znamionowa 3 W na kanał - minimalna moc RMS, przy całkowitym zniekształceniu harmonicznym nie większym niż 10% w trybie AC.
Głośnik niskotonowy z obciążeniem 4 omów, sterowany w zakresie 50 - 150 Hz; moc znamionowa 6 W minimalnej mocy RMS, przy całkowitym zniekształceniu harmonicznym nie większym niż 10% w trybie AC.
Inne specyfikacje
Sekcja odtwarzacza CD
System: Kompaktowy dysk cyfrowy system audio
Właściwości diody laserowej:
Czas trwania emisji: Ciągły
Moc lasera: Mniej niż 44,6 µW
(Ta wartość wyjściowa jest mierzona w odległości około 200 mm od powierzchni soczewki obiektywowej na bloku optycznym z aperturą 7 mm.)
Liczba kanałów: 2
Pasmo przenoszenia: 20 - 20 000 Hz +1/–2 dB
Kołysanie i drżenie dźwięku: Poniżej mierzalnej granicy
Sekcja radia
Zakres częstotliwości
FM: 87,5 - 108 MHz
AM: 530 - 1 710 kHz
Anteny
FM: Antena teleskopowa
AM: Wbudowana antena ferrytowa
Sekcja magnetofonu kasetowego
System nagrywania: 4-ścieżkowy 2-kanałowy stereo
Czas szybkiego przewijania: Około 120 s (sek.) z kasetą Sony C-60
Pasmo przenoszenia: TYPE I (normal): 70 - 13 000 Hz
Ogólne
Głośnik
Pełnozakresowy: 10 cm (4 cale) średnicy, 3,2
, typ stożkowy (2)
Niskotonowy: 10 cm (4 cale) średnicy, 4
, typ stożkowy (1)
Wejście: Gniazdo LINE IN (stereo minijack): Minimalny poziom wejściowy 330 mV
Wyjścia
Gniazdo słuchawkowe (stereo minijack)
Dla słuchawek o impedancji 16 - 68 
Moc wyjściowa
4 W + 4 W (przy 3,2
, 10% zniekształceń harmonicznych) Głośnik niskotonowy:
12 W (przy 4
, 10% zniekształceń harmonicznych)
Wymagania dotyczące zasilania
Dla radiomagnetofonu CD:
120 V AC, 60 Hz
12 V DC, 8 baterii R20 (rozmiar D) Dla pilota zdalnego sterowania:
3 V DC, 2 baterie R03 (rozmiar AAA)
Pobór mocy: AC 30 W
Żywotność baterii: Dla radiomagnetofonu CD:
Nagrywanie FM
Sony R20P: około 6 h
Sony alkaline LR20: około 18 h
Odtwarzanie taśmy
Sony R20P: około 1,5 h
Sony alkaline LR20: około 6 h
Odtwarzanie CD
Sony R20P: około 1 h
Sony alkaline LR20: około 4 h
Wymiary
Około 530 × 241 × 369 mm (szer./wys./gł.)
(20 7/8 × 9 1/2 × 14 5/8 cali) (wraz z wystającymi elementami)
Masa: Około 8,0 kg (17 funtów 10 uncji) (wraz z bateriami)
Dostarczone akcesoria
Przewód zasilający AC (1)
Pilot zdalnego sterowania (1)
Konstrukcja i specyfikacje mogą ulec zmianie bez powiadomienia.
Akcesoria opcjonalne
Seria słuchawek Sony MDR

Pobierz instrukcję
Tutaj możesz pobrać pełną wersję instrukcji w formacie pdf, może ona zawierać dodatkowe instrukcje bezpieczeństwa, informacje o gwarancji, przepisy FCC itp.
Pobierz Sony CFD-G505 - Instrukcja obsługi odtwarzacza CD Radio Cassette-Corder





Naciśnij PUSH OPEN/CLOSE
na urządzeniu i umieść płytę stroną z etykietą do góry w komorze CD.
na urządzeniu (
na pilocie)
.
na urządzeniu (
na pilocie)
. Aby wznowić odtwarzanie, naciśnij go ponownie.
.
.
na urządzeniu (BAND
na pilocie) wielokrotnie.
aż cyfry częstotliwości zaczną się zmieniać na wyświetlaczu.
wielokrotnie, aby zmieniać częstotliwość krok po kroku.
na urządzeniu i włóż kasetę do komory kasety stroną, którą chcesz odtworzyć, skierowaną do góry. Używaj tylko kasety TYPE I (normal). Zamknij komorę.
na urządzeniu.
na urządzeniu. Aby wznowić odtwarzanie, naciśnij go ponownie.
na urządzeniu.
lub
(szybkie przewijanie do przodu lub do tyłu)
na urządzeniu.
na urządzeniu, aby otworzyć komorę kasety i włóż czystą kasetę stroną, którą chcesz nagrywać, skierowaną do góry. Używaj tylko taśm TYPE I (normalnych). Zamknij komorę.
na urządzeniu i umieść płytę CD.
na urządzeniu, aby rozpocząć nagrywanie (
jest automatycznie wciśnięty).
na urządzeniu. Naciśnij ponownie przycisk, aby wznowić nagrywanie.
na urządzeniu.
na urządzeniu lub naciśnij FUNCTION
na pilocie, aż pojawi się na wyświetlaczu.)
na urządzeniu.

.
lub
aby wybrać utwór, który chcesz powtórzyć.
Naciśnij na urządzeniu.
aż pojawi się "REP ALL".
aby wybrać utwór.
lub
następnie naciśnij DISPLAY• ENTER•MEMORY
na urządzeniu dla utworów, które chcesz zaprogramować w żądanej kolejności.
dla utworów, które chcesz zaprogramować w żądanej kolejności.
na urządzeniu, aby rozpocząć nagrywanie.
na urządzeniu, aby wybrać pasmo.
na urządzeniu.
na urządzeniu, aby wybrać pasmo.
na urządzeniu przez 2 sekundy, aż numer zaprogramowanej stacji zacznie migać na wyświetlaczu.
na urządzeniu, aż numer zaprogramowanej stacji, którą chcesz przypisać, zacznie migać na wyświetlaczu.
aż na wyświetlaczu pojawi się żądane pasmo.
, na których chcesz zaprogramować nową stację, przez około 2 sekundy. Aby wybrać numer zaprogramowanej stacji powyżej 10, naciśnij najpierw >10
na urządzeniu, aby wybrać pasmo.
na urządzeniu, aby wybrać zapisaną stację.
.
, aby wyświetlić "SLEEP" (uśpienie).
w urządzeniu do gniazda wyjścia liniowego przenośnego odtwarzacza muzyki cyfrowej lub innych komponentów za pomocą kabla audio* (niedostarczony).
na urządzeniu i rozpocznij odtwarzanie dźwięku na podłączonym komponencie.
na urządzeniu.
na urządzeniu.
