Paradox PMD2P - Detektor Lëvizjeje PIR me Imunitet të Integruar ndaj Kafshëve Shtëpiake - Manual
- 1 Përshkrimi
- 2 Instalimi
- 3 Mekanizmi i Dyfishtë i Mbrojtjes nga Manipulimi - Muri dhe Mbulesa
- 4 Furnizimi me Energji i Detektorit pa Tela
- 5 Sekuenca e Ndezjes
- 6 Testi i Fortësisë së Sinjalit
- 7 Cilësimet e Detektorit - Pamje e Shpejtë
- 8 Cilësimet e Detektorit - Detaje
- 9 Pasqyra e PCB-së
- 10 Softueri Alive
- 11 Testimi i Ecjes
- 12 Modeli i Rrezeve
- 13 Specifikimet
- 14 Referencat
- 15 Shkarko manual
- 16 Në Gjuhë të Tjera
Përshkrimi
Paradox PMD2P është një detektor lëvizjeje PIR analog me një optikë të vetme, me imunitet të integruar ndaj kafshëve shtëpiake, për përdorim me marrësit/transmetuesit pa tela Magellan. PMD2P është imun ndaj kafshëve që peshojnë deri në 18 kg (40 paund) dhe përmban kompensim automatik të temperaturës.

PMD2P funksionon me bateri dhe përmban një modalitet inovativ të kursimit të energjisë prej tre minutash (pas dy zbulimeve brenda një periudhe pesë-minutëshe). Gjithashtu, softueri ALIVE në PMD2P siguron që LED-i i alarmit të vazhdojë të shfaqet kur është në modalitetin e kursimit të energjisë, pa kompromentuar jetëgjatësinë e baterisë.
Instalimi

- Montimi në cep
- Montimi në sipërfaqe të sheshtë
- Vrimë për mbrojtje nga manipulimi në mur
Në lartësinë e instalimit prej 2.1 m (7 këmbë) ±10%, PMD2P ofron mbulim të plotë nga 1.2 m (3.9 këmbë) deri në 11 m (36 këmbë). Montimi më i ulët se lartësia e rekomanduar do të zvogëlojë performancën në distancë të gjatë; më i lartë do të zvogëlojë performancën në distancë të shkurtër. Mos e pengoni detektorin, as pjesërisht dhe as plotësisht.
Mos e prekni sensorin pasi kjo mund të rezultojë në mosfunksionim. Pastroni sipërfaqen e sensorit duke përdorur një leckë të butë me alkool të pastër. Gjithashtu, shmangni përkuljen, prerjen ose ndryshimin e antenës ose montimin e detektorit pranë metalit pasi kjo mund të ndikojë në transmetim.
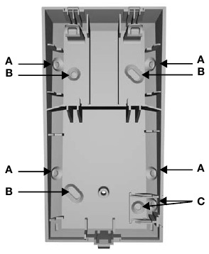
Mekanizmi i Dyfishtë i Mbrojtjes nga Manipulimi - Muri dhe Mbulesa
PMD2P është i pajisur me mbrojtje të dyfishtë nga manipulimi; një alarm gjenerohet nëse mbulesa e përparme hiqet ose nëse detektori hiqet nga muri. Në mënyrë që veçoria e heqjes së manipulimit të murit të jetë funksionale, një vidë duhet të futet në vrimën e manipulimit të murit (shih Pasqyra e PCB-së në të djathtë).
Furnizimi me Energji i Detektorit pa Tela
Duke verifikuar polaritetin e duhur, futni tre bateri alkaline "AAA" në ndarjen e baterive të detektorit të lëvizjes. Për të zëvendësuar bateritë, hiqni bateritë e vjetra, pastaj shtypni dhe lëshoni çelësin e manipulimit dhe prisni 60 sekonda në mënyrë që të ri-inicializoni njësinë. Pasi të ketë përfunduar inicializimi, futni bateritë duke verifikuar polaritetin e duhur (verifikoni polaritetin e duhur në lidhësin e ndarjes së baterive gjithashtu).
Sigurohuni që kur të riinstaloni ndarjen e baterive, bateritë të jenë të drejtuara nga pllaka e pasme.
Sekuenca e Ndezjes
Pas futjes së baterive, fillon një sekuencë ndezjeje (që zgjat 10-20 sekonda). Gjatë kësaj kohe, LED-i i kuq pulson dhe detektori nuk do të zbulojë një zonë të hapur ose manipulim.
Testi i Fortësisë së Sinjalit
Për të verifikuar marrjen e duhur të sinjalit, kryeni një test të fortësisë së sinjalit siç përshkruhet në Manualin e Referencës dhe Instalimit të marrësit. Përpara kryerjes së testit, sigurohuni që bateritë të jenë instaluar. Gjithashtu, verifikoni që detektori i lëvizjes i është caktuar një zone sipas udhëzimeve në Manualin e Referencës dhe Instalimit të marrësit. Nëse transmetimi është i dobët, zhvendosja e transmetuesit me disa inç mund të përmirësojë shumë marrjen.
Cilësimet e Detektorit - Pamje e Shpejtë
| Ndjeshmëria | |
| S2 (Rrëshqitës) | E Lartë = Ndjeshmëri e lartë (parazgjedhur) |
| E Ulët = Ndjeshmëri e ulët | |
| Modaliteti i Shpejtë/i Ngadaltë | |
| JP1 (Kërcyes) | Fikur = Modaliteti i ngadaltë |
| Ndezur = Modaliteti i shpejtë (parazgjedhur) | |
| Reagimi LED | |
| JP2 (Kërcyes) | Fikur = Çaktivizuar |
| Ndezur = Aktivizuar (parazgjedhur) | |
Cilësimet e Detektorit - Detaje
| Ndjeshmëria - S2 (Rrëshqitës) | |
| Ndjeshmëri e Lartë | Në modalitetin e ndjeshmërisë së lartë, nuk duhet të jeni në gjendje të kaloni më shumë se një zonë të plotë (që përbëhet nga dy rreze - elementë sensori të majtë dhe të djathtë) në zonën e mbulimit me çdo lloj lëvizjeje. Përdorni këtë cilësim për shumicën e instalimeve. |
| Ndjeshmëri e Ulët | Në modalitetin e ndjeshmërisë së ulët, sasia e lëvizjes e nevojshme për të gjeneruar një alarm është dyfishuar. Përdorimi i modalitetit të ndjeshmërisë së ulët rekomandohet në zonat ku incidenca e alarmeve të rreme mund të jetë më e madhe. |
| Modaliteti i Shpejtë/i Ngadaltë - JP1 (Kërcyes) | |
| Modaliteti i Ngadaltë | Rekomandohet në zonat ku incidenca e alarmeve të rreme mund të jetë më e madhe. |
| Modaliteti i Shpejtë | Rekomandohet për shumicën e instalimeve. |
| Reagimi LED - JP2 (Kërcyes) | |
| Alarm | LED-i i kuq do të ndriçojë për një periudhë prej 3 sekondash sa herë që detektori i lëvizjes zbulon çdo lloj lëvizjeje. |
| Bateri e Ulët | PMD2P kryen një test të baterisë çdo 12 orë. Nëse tensioni i baterisë bie nën një nivel të caktuar, LED-i i kuq pulson në intervale 8 sekondash dhe detektori i lëvizjes do të dërgojë një sinjal të baterisë së ulët në marrës. Një problem gjenerohet dhe më pas transmetohet në stacionin qendror të monitorimit. |
| Transmetimi i Sinjalit | LED-i i kuq pulson shpejt gjatë transmetimit. |
Pasqyra e PCB-së

Softueri Alive
Për të kursyer jetëgjatësinë e baterisë së detektorit të lëvizjes, nëse detektori i lëvizjes transmeton dy sinjale të zonës së hapur (LED ndezur për 3 sekonda) brenda një periudhe pesë-minutëshe, detektori do të bjerë në Modalitetin e Kursimit të Energjisë për afërsisht tre minuta dhe nuk do të transmetojë asnjë sinjal alarmi. LED-i i kuq do të vazhdojë të pulsojë për të treguar një zbulim. Nëse mbulesa e detektorit hiqet dhe më pas zëvendësohet ndërsa është në Modalitetin e Kursimit të Energjisë, zbulimi i parë do të shkaktojë një sinjal alarmi.
Testimi i Ecjes
Për të aktivizuar Modalitetin e Testimit të Ecjes për tre minuta, ndizni detektorin ose hapni dhe mbyllni mbulesën e detektorit. Me ndjeshmërinë e vendosur në të Lartë (S2 = E Lartë), në 20°C, kalimi i më shumë se një zone të plotë (që përbëhet nga dy rreze, elementë zbulues sensori të majtë dhe të djathtë) me ecje ose vrapim të ngadaltë/të shpejtë duhet të iniciojë një alarm. Me ndjeshmërinë e vendosur në të Ulët (S2= E Ulët), sasia e lëvizjes e nevojshme për të gjeneruar një alarm është dyfishuar.
Modeli i Rrezeve

Specifikimet
| Lloji i Sensorit | Element i dyfishtë drejtkëndor |
| Mbulimi | 88.5° - 11m (36ft) x 11m (36ft); Rrezet qendrore: 15m (49ft) |
| Imuniteti ndaj Kafshëve Shtëpiake | 18kg (40lbs) |
| Frekuenca RF | 433 ose 868 MHz vetëm me Magellan |
| Lente | Lente Fresnel e gjeneratës së 2-të, segmente LODIFF® |
| Shpejtësia e Ecjes | 0.2m deri në 3.5m/s (0.6ft deri në 11.5ft/s) |
| Lloji i Baterisë & Jetëgjatësia | 3 x 1.5vDC bateri alkaline "AAA"; 2 vjet* |
| Vlerësimi Aktual | 31uA në gatishmëri / 15mA në alarm |
| Gama e Transmetuesit | 35m (115ft) me MG6130 / MG6160 70m (230ft) me MG5000 / MG5050 / RTX3; në një mjedis tipik banimi |
| Temperatura e Funksionimit. & Lagështia | 0°C deri në 50°C (32°F deri në 122°F) / 5 deri në 90% maks. |
| Përmasat & Pesha | 6.5 x 12.5 x 5.2cm (2.5 x 4.9 x 2.0 in) / 105 g (3.7 oz) me bateri |
| Imuniteti RF | EN 50130-4: 10V/m 80MHz deri në 2.7GHz |
| Pajtueshmëria | Shikoni paradox.com për detaje të pajtueshmërisë |
| Certifikimi | EN 50131 Grade 2 Class II; Organi i certifikimit Intertek |
| * Jetëgjatësia e baterisë do të ndryshojë sipas sasisë së trafikut (lëvizjes) së zbuluar. Nivelet më të larta të trafikut do të ulin jetëgjatësinë e baterisë. | |
Garancia: Për informacion të plotë mbi garancinë e këtij produkti, ju lutemi referojuni Deklaratës së Garancisë së Kufizuar që gjendet në faqen e internetit www.paradox.com/terms. Përdorimi juaj i produktit Paradox nënkupton pranimin tuaj të të gjitha kushteve dhe termave të garancisë.
© 2013 Paradox Ltd. Të gjitha të drejtat e rezervuara. Specifikimet mund të ndryshojnë pa njoftim paraprak.
Patentat: Një ose më shumë nga patentat e mëposhtme të SHBA-së mund të zbatohen: 7046142, 6215399, 6111256, 6104319, 5920259, 5886632, 5721542, 5287111, dhe RE39406 dhe patenta të tjera në pritje mund të zbatohen. Patentat kanadeze dhe ndërkombëtare mund të zbatohen gjithashtu.
Referencat
Shkarko manual
Këtu mund të shkarkoni versionin e plotë pdf të manualit, ai mund të përmbajë udhëzime shtesë sigurie, informacione garancioni, rregulla FCC, etj.