Zanussi ZGNN645K, ZGNN645X - Mwongozo wa Hobi ya Gesi
- 1 USAKINISHAJI
- 2 MAELEZO YA BIDHAA
- 3 MATUMIZI YA KILA SIKU
- 4 VIDOKEZO NA USHAURI
- 5 UTUNZAJI NA USAFISHAJI
- 6 UTATUZI WA MATATIZO
- 7 DATA ZA KIUFUNDI
- 8 UFANISI WA NISHATI
- 9 TAARIFA ZA USALAMA
- 10 MAELEKEZO YA USALAMA
- 11 Marejeleo
- 12 Pakua mwongozo
- 13 Katika Lugha Nyingine

USAKINISHAJI
Rejelea sura za Usalama.
KABLA YA USAKINISHAJI
Kabla ya kusakinisha hobi, andika habari hapa chini kutoka kwenye bamba la ukadiriaji. Bamba la ukadiriaji liko upande wa chini wa hobi.
Muundo
PNC
Nambari ya seriali
MAHITAJI MUHIMU YA USALAMA
Hobi hii lazima isakinishwe kulingana na Kanuni za Usalama wa Gesi (Usakinishaji na Matumizi) (Toleo la Sasa) na Kanuni za Wiring za IEE (Toleo la Sasa).
Masharti ya uingizaji hewa
Mapendekezo ya kina yamo katika Misimbo ifuatayo ya Mazoea ya Viwango vya Uingereza: B.S. 6172/B.S. 5440, Par. 2 na B.S. 6891 Toleo la Sasa.
Hobi haipaswi kusakinishwa katika chumba cha kulala na kiwango cha chini ya 20 m³. Ikiwa imesakinishwa katika chumba chenye ujazo wa chini ya 5 m³ shimo la hewa lenye eneo linalofaa la 100 cm² linahitajika. Ikiwa imesakinishwa katika chumba chenye ujazo kati ya 5 m³ na 10 m³ shimo la hewa lenye eneo linalofaa la 50 cm² linahitajika, wakati ikiwa ujazo unazidi 11 m³ hakuna shimo la hewa linalohitajika.
Hata hivyo, ikiwa chumba kina mlango unaofunguliwa moja kwa moja nje, hakuna shimo la hewa linalohitajika hata kama ujazo ni kati ya 5 m³ na 11 m³.
Ikiwa kuna vifaa vingine vya kuchoma mafuta katika chumba kimoja, B.S. 5440 Sehemu ya 2 Toleo la Sasa, inapaswa kushauriana ili kubaini mahitaji muhimu ya shimo la hewa.
Mahali
Hobi inaweza kupatikana jikoni, jikoni/chumba cha kulia au chumba cha kulala (chenye ujazo mkubwa kuliko 20 m³), lakini si katika bafuni au chumba cha kuoga.
Umbali wa chini nyenzo inayoweza kuwaka inaweza kuwekwa juu ya hobi sambamba na kingo za hobi ni 400 mm. Ikiwa imewekwa chini ya 400 mm nafasi ya 50 mm lazima iruhusiwe kutoka kingo za hobi.
UNGANISHO LA GESI
Usakinishaji wowote wa gesi lazima ufanywe na kisakinishi cha USAJILI SALAMA WA GESI.
Hakikisha kwamba, mara tu hobi imesakinishwa, inapatikana kwa urahisi kwa mhandisi iwapo itaharibika.
Mtengenezaji hatakubali dhima, ikiwa maagizo hapo juu au maagizo mengine yoyote ya usalama yaliyojumuishwa katika kijitabu hiki cha maagizo yatapuuzwa.
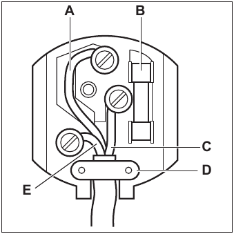
Mwishoni mwa shimoni, ambayo inajumuisha kiwiko kilicho na nyuzi cha G 1/2", marekebisho yamewekwa ili washer iwekwe kati ya vipengele kama inavyoonyeshwa kwenye mchoro. Parafua sehemu pamoja bila kutumia nguvu nyingi.

- Mwisho wa shimoni na nati
- Washer iliyotolewa na kifaa
- Kiwiko kilichotolewa na kifaa
Unganisho na usambazaji wa gesi unapaswa kuwa na bomba ngumu au nusu-ngumu, yaani chuma au shaba.
Unganisho linapaswa kufaa kwa kuunganisha kwa R 1/2 (1/2 BSP thread ya kiume).
Wakati muunganisho wa mwisho umefanywa, ni muhimu kwamba jaribio la kina la uvujaji lifanyike kwenye hobi na usakinishaji.
Hakikisha kwamba bomba kuu la muunganisho halitoi mkazo wowote kwenye hobi.
Ikiwa unatumia mabomba ya chuma yanayonyumbulika hakikisha kwamba yanakubaliana na viwango vya ISO 10380 na ISO 10807. Kuwa mwangalifu wasigusane na sehemu zinazosonga au zisibinywe. Pia kuwa mwangalifu wakati hobi inawekwa pamoja na oveni.
Ni muhimu kusakinisha kiwiko kwa usahihi, na bega mwishoni mwa thread, iliyowekwa kwenye bomba la kuunganisha la hobi.
Kukosa kuhakikisha mkusanyiko sahihi kutasababisha uvujaji wa gesi.
Hakikisha kwamba shinikizo la usambazaji wa gesi ya kifaa linatii maadili yaliyopendekezwa.
Muunganisho mgumu:
Fanya muunganisho kwa kutumia mabomba magumu ya chuma (shaba na mwisho wa mitambo).
UBADILISHAJI WA VIINGIZI
- Ondoa viunga vya sufuria.
- Ondoa vifuniko na taji za kichomi.
- Kwa spana ya soketi 7 ondoa viingizi na ubadilishe na zile ambazo ni muhimu kwa aina ya gesi unayotumia (ona jedwali katika sura ya "Data ya Kiufundi").
- Kusanya sehemu, fuata utaratibu sawa kinyume chake.
- Ambatisha lebo na aina mpya ya usambazaji wa gesi karibu na bomba la usambazaji wa gesi. Unaweza kupata lebo hii katika kifurushi kilichotolewa na kifaa.
Ikiwa shinikizo la gesi ya usambazaji linabadilika au ni tofauti na shinikizo muhimu, lazima uweke kirekebisha shinikizo kinachofaa kwenye bomba la usambazaji wa gesi.
REKEBISHO LA NGAZI YA CHINI
Ili kurekebisha kiwango cha chini cha vichomi:
- Washa kichomi.
- Geuza kifundo kwenye nafasi ya chini kabisa.
- Ondoa kifundo na gasketi.
![Zanussi - ZGNN645K - REKEBISHO LA NGAZI YA CHINI - Hatua ya 1 REKEBISHO LA NGAZI YA CHINI - Hatua ya 1]()
Zingatia kutoharibu gasketi. Usitumie chombo chenye ncha kali kuiondoa.
- Kwa bisibisi nyembamba, rekebisha nafasi ya skrubu ya bypass (A).
![Zanussi - ZGNN645K - REKEBISHO LA NGAZI YA CHINI - Hatua ya 2 REKEBISHO LA NGAZI YA CHINI - Hatua ya 2]()
- Ikiwa unabadilisha:
- kutoka gesi asilia G20 20 mbar hadi gesi kimiminika, kaza kikamilifu skrubu ya bypass ndani.
- kutoka gesi kimiminika hadi gesi asilia G20 20 mbar, fungua skrubu ya bypass takriban 1/4 ya zamu (1/2 ya zamu kwa kichomi cha Taji Nyingi).
- Kusanya tena gasketi na kifundo.
Hakikisha kuweka gasketi haswa katika nafasi ya asili.
Hakikisha miale haizimiki unapo geuza kifundo haraka kutoka nafasi ya juu kabisa hadi nafasi ya chini kabisa.
UNGANISHO LA UMEME
- Usivute kebo ya umeme ili kukata kifaa. Vuta plagi ya umeme kila wakati (ikiwa inatumika).
Kifaa lazima kisiunganishwe na kebo ya ziada, adapta au soketi nyingi. Kuna hatari ya moto.
- Usiruhusu kebo ya umeme ipate joto hadi joto la zaidi ya 90°C. Kebo inapaswa kuongozwa kwa njia ya vifungo vilivyowekwa upande wa baraza la mawaziri, ili kuepuka kugusana na kifaa chini ya jiko.
- Hakikisha kwamba kuna ufikiaji wa plagi ya umeme baada ya usakinishaji.
Mahitaji ya Umeme
Usakinishaji wa kudumu wa umeme lazima ukubaliane na Kanuni za karibuni za I.E.E. na kanuni za Bodi ya Umeme ya eneo lako. Kwa usalama wako mwenyewe usakinishaji lazima ufanywe na fundi umeme aliyehitimu (k.m. Bodi yako ya Umeme ya eneo lako, au mkandarasi aliye kwenye orodha ya Baraza la Kitaifa la Ukaguzi kwa Ukandarasi wa Usakinishaji wa Umeme [NICEIC]).
Mtengenezaji anakataa kuwajibika, ikiwa hatua hizi za usalama hazitafuatwa.
Miunganisho ya usambazaji
Hobi hii inapaswa kuunganishwa na usambazaji wa umeme wa 220-240 V (~ 50-60 Hz ).
Hobi ina kizuizi cha terminal ambacho kimewekwa alama kama ifuatavyo:
- L — Terminal Hai
- N — Terminal ya Neutrali
au E — Terminal ya Ardhi
Kabla ya kufanya muunganisho, hakikisha:
- Valve ya kikomo na mfumo wa umeme unaweza kuchukua mzigo wa kifaa (ona bamba la ukadiriaji)
- Mfumo wa usambazaji una vifaa vya muunganisho mzuri wa ardhi kwa mujibu wa viwango na kanuni za sasa
- Swichi ya plagi au omnipolar iliyotumika kwa muunganisho inapatikana kwa urahisi na kifaa kilichosakinishwa.
Kifaa kinatolewa na kebo ya nguvu inayobadilika ya msingi 3 na plagi ya 3 amp. Ikiwa ni muhimu kubadilisha fuse, tumia fuse iliyoidhinishwa na 3 amp ASTA (BS 1362).

- Kijani na Njano
- Fuse ya 3 amp
- Kahawia
- Kifungo cha kamba
- Bluu
Waya kwenye kamba zime rangi kama ifuatavyo:
| Kijani na njano | Ardhi |
| Bluu | Neutrali |
| Kahawia | Hai |
Plagi iliyokatwa iliyoingizwa kwenye soketi ya 13 amp ni hatari kubwa ya mshtuko. Hakikisha kwamba plagi iliyokatwa inatupwa kwa usalama.
UBADILISHAJI WA KEBO YA MUUNGANISHO
Ubadilishaji wa kebo ya umeme lazima ufanyike pekee na kituo cha nguvu cha huduma au na wafanyikazi walio na uwezo sawa, kwa mujibu wa kanuni za sasa.
Ili kuchukua nafasi ya kebo ya muunganisho tumia tu H03V2V2-F T90 au aina sawa. Hakikisha kwamba sehemu ya kebo inatumika kwa mzigo wa voltage na joto la kufanya kazi. Waya ya ardhi ya njano/kijani (B) lazima iwe takriban 2 cm kuliko waya hai na ya neutrali (A).

- Unganisha waya ya kijani na njano (ardhi) kwenye terminal ambayo imewekwa alama na herufi 'E', au alama ya ardhi
, au yenye rangi ya kijani na njano. - Unganisha waya ya bluu (neutrali) kwenye terminal ambayo imewekwa alama na herufi 'N' au yenye rangi ya bluu.
- Unganisha waya ya kahawia (hai) kwenye terminal ambayo imewekwa alama na herufi 'L'. Lazima iunganishwe kila wakati kwa awamu ya mtandao. Lazima kusiwe na nyuzi zilizokatwa au zilizopotea za waya zilizopo. Kifungo cha kamba lazima kiambatishwe kwa usahihi kwenye ala ya nje.
MKUSANYIKO

Ikiwa kitengo cha samani kimewekwa kwa umbali wa 400 mm juu ya hobi, lazima kuwe na umbali wa chini wa usalama wa 50 mm kushoto au kulia kutoka makali ya hobi.

- Muhuri uliotolewa
- Mabano yaliyotolewa

Sakinisha kifaa tu kwenye meza ya kazi yenye uso tambarare.
UWEZEKANO WA KUINGIZWA
Jopo lililowekwa chini ya hobi lazima liwe rahisi kuondoa na kuruhusu ufikiaji rahisi ikiwa uingiliaji wa usaidizi wa kiufundi ni muhimu.
Kitengo cha jikoni chenye mlango au droo

- Jopo linaloweza kuondolewa
- Nafasi ya miunganisho
Kitengo cha jikoni chenye oveni
Muunganisho wa umeme wa hobi na oveni lazima uwekwe tofauti kwa sababu za usalama na kuruhusu kuondolewa kwa urahisi kwa oveni kutoka kwa kitengo.
Kitengo cha jikoni chenye oveni mbili

MAELEZO YA BIDHAA
MPANGILIO WA USO WA KUPIKIA

- Kichomeo cha nusu kasi
- Kichomeo cha Multi Crown
- Kichomeo saidizi
- Vifundo vya kudhibiti
KIFUNDO CHA KUDHIBITI
| Alama | Maelezo |
| hakuna usambazaji wa gesi / nafasi ya kuzima |
| nafasi ya kuwasha / usambazaji wa gesi wa kiwango cha juu |
| usambazaji wa gesi wa kiwango cha chini |
MATUMIZI YA KILA SIKU
Rejelea sura za Usalama.
MUHTASARI WA KICHOMEO

- Kifuniko cha kichomeo
- Taji ya kichomeo
- Mshumaa wa kuwasha
- Thermocouple
KUWASHA KICHOMEO
Daima washa kichomeo kabla ya kuweka vifaa vya kupikia.
Kuwa mwangalifu sana unapotumia moto wazi katika mazingira ya jikoni. Mtengenezaji anakataa jukumu lolote katika kesi ya matumizi mabaya ya moto.
- Sukuma kifundo cha kudhibiti chini na ukigeuze kinyume na saa hadi nafasi ya usambazaji wa gesi ya kiwango cha juu (
). - Endelea kushikilia kifundo cha kudhibiti kikiwa kimesukumwa kwa sekunde 10 au chini. Hii inaruhusu thermocouple kupata joto. Vinginevyo, usambazaji wa gesi unakatizwa.
- Rekebisha moto baada ya kuwa wa kawaida.
Ikiwa baada ya majaribio kadhaa kichomeo hakiwaki, angalia ikiwa taji na kifuniko chake viko katika nafasi sahihi.
Usishikilie kifundo cha kudhibiti kikiwa kimesukumwa kwa zaidi ya sekunde 15. Ikiwa kichomeo hakiwaki baada ya sekunde 15, achia kifundo cha kudhibiti, kigeuze kwenye nafasi ya kuzima na ujaribu kuwasha kichomeo tena baada ya dakika 1.
Kukosekana kwa umeme unaweza kuwasha kichomeo bila kifaa cha umeme; katika kesi hii karibia kichomeo na moto, geuza kifundo cha kudhibiti kinyume na saa hadi nafasi ya juu ya usambazaji wa gesi na ukisukume chini. Endelea kushikilia kifundo cha kudhibiti kikiwa kimesukumwa kwa sekunde 10 au chini ili kuruhusu thermocouple kupata joto.
Ikiwa kichomeo kinazima kwa bahati mbaya, geuza kifundo cha kudhibiti kwenye nafasi ya kuzima na ujaribu kuwasha kichomeo tena baada ya dakika 1.
Jenereta ya cheche inaweza kuanza kiotomatiki unapo washa umeme, baada ya usakinishaji au kukatika kwa umeme. Hii ni kawaida.
Jiko linatolewa na vali endelevu. Zinafanya udhibiti wa moto uwe sahihi zaidi.
KUZIMA KICHOMEO
Ili kuzima moto, geuza kifundo kwenye nafasi ya kuzima
.
Daima punguza moto au uzime kabla ya kuondoa sufuria kutoka kwenye kichomeo.
VIDOKEZO NA USHAURI
Rejelea sura za Usalama.
VIFAA VYA KUPIKIA
Usitumie sufuria za chuma, udongo au vyombo vya udongo, sahani za kuchomea au za kibaniko. Chuma cha pua kinaweza kuwa na doa ikiwa kina joto sana.
Usiweke sufuria moja kwenye vichomeo viwili.
Usiweke sufuria zisizo imara au zilizoharibika kwenye kichomeo ili kuzuia kumwagika na majeraha.
Hakikisha kuwa sehemu za chini za sufuria hazisimami karibu sana na kifundo cha kudhibiti, vinginevyo moto hupasha joto kifundo cha kudhibiti.
Hakikisha kwamba vipini vya sufuria haviko juu ya ukingo wa mbele wa sehemu ya kupikia.
Hakikisha kwamba sufuria zimewekwa katikati kwenye kichomeo ili kupata utulivu wa hali ya juu na matumizi ya chini ya gesi.
KIPENYO CHA VIFAA VYA KUPIKIA
Tumia vifaa vya kupikia vyenye kipenyo kinachofaa kwa ukubwa wa vichomeo.
| Kichomeo | Kipenyo cha vifaa vya kupikia (mm) |
| Multi Crown | 180 - 260 |
| Nusu kasi | 120 - 220 |
| Saidizi | 80 - 180 |
UTUNZAJI NA USAFISHAJI
Rejelea sura za Usalama.
TAARIFA ZA JUMLA
- Safisha jiko baada ya kila matumizi.
- Daima tumia vifaa vya kupikia vyenye msingi safi.
- Mikwaruzo au madoa meusi juu ya uso hayana athari kwa jinsi jiko linavyofanya kazi.
- Tumia kisafishaji maalum kinachofaa kwa uso wa jiko.
Chuma cha pua
- Osha sehemu za chuma cha pua na maji, kisha zikaushe na kitambaa laini.
- Ili kuondoa chakula kilichoungua, mafuta na madoa yaliyokaidi acha yaloweke kwenye kiasi kidogo cha sabuni laini kwa dakika chache kabla ya kusafisha.
- Tumia bidhaa za kusafisha zilizoundwa mahsusi kwa kusafisha chuma cha pua ili kulinda nyuso za chuma.
- Usitumie bidhaa za kusafisha zilizo na kemikali babuzi kama vile kloridi, usisafishe uso na dawa za kuua viini, madoa au viondoa kutu na visafishaji vya kuzamisha.
MSAADA WA SUFURIA
Misaada ya sufuria haistahimili kuosha kwenye mashine ya kuosha vyombo. Lazima zioshwe kwa mkono.
- Ondoa misaada ya sufuria ili kusafisha jiko kwa urahisi.
Kuwa mwangalifu sana unapobadilisha misaada ya sufuria ili kuzuia uharibifu wa sehemu ya juu ya jiko.
- Mipako ya enamel mara kwa mara inaweza kuwa na kingo mbaya, kwa hivyo kuwa mwangalifu unapoosha misaada ya sufuria kwa mkono na kuikausha. Ikiwa ni lazima, ondoa madoa yaliyokaidi na kisafishaji cha kubandika.
- Baada ya kusafisha misaada ya sufuria, hakikisha kuwa iko katika nafasi sahihi.
- Ili kichomeo kifanye kazi kwa usahihi, hakikisha kwamba mikono ya misaada ya sufuria imepangiliwa na katikati ya kichomeo.
USAFI WA CHOMBO
Ondoa mara moja: plastiki iliyoyeyuka, foil ya plastiki, sukari na chakula chenye sukari, vinginevyo, uchafu unaweza kusababisha uharibifu wa jiko. Jihadharini ili kuepuka kuungua.- Ondoa wakati jiko limepoa vya kutosha: pete za chokaa, pete za maji, madoa ya mafuta, kubadilika rangi kwa metali. Safisha jiko na kitambaa kibichi na sabuni isiyo na abrasive. Baada ya kusafisha, futa jiko na kitambaa laini.
- Ili kusafisha sehemu za enamel, vifuniko na taji, zioshe na maji ya joto ya sabuni na uzikaushe kwa uangalifu kabla ya kuzirudisha.
USAFI WA PLAGI YA CHECHE
Kipengele hiki kinapatikana kupitia mshumaa wa kauri wa kuwasha wenye elektrodi ya chuma. Weka vipengele hivi vikiwa safi ili kuzuia taa ngumu na uhakikishe kuwa mashimo ya taji ya kichomeo hayajazibwa.
UTENGENEZAJI WA KIPINDI
Zungumza na Kituo chako cha Huduma Kilichoidhinishwa cha eneo lako mara kwa mara ili kuangalia hali ya bomba la usambazaji wa gesi na kirekebisha shinikizo, ikiwa kimefungwa.
UTATUZI WA MATATIZO
Rejelea sura za Usalama.
CHA KUFANYA IKIWA
| Tatizo | Sababu inayowezekana | Suluhisho |
| Hakuna cheche wakati unajaribu kuamilisha jenereta ya cheche. | Jiko halijaunganishwa na usambazaji wa umeme au limeunganishwa vibaya. | Angalia ikiwa jiko limeunganishwa kwa usahihi na usambazaji wa umeme. |
| Fusi imepulizwa. | Hakikisha kwamba fusi ndio sababu ya utendakazi mbaya. Ikiwa fusi inapulizwa tena na tena, wasiliana na fundi umeme aliyehitimu. | |
| Kifuniko cha kichomeo na taji zimewekwa vibaya. | Weka kifuniko cha kichomeo na taji kwa usahihi. | |
Moto unazimika mara tu baada ya kuwasha | Thermocouple haipati joto la kutosha. | Baada ya kuwasha moto, endelea kushikilia kifundo kikiwa kimesukumwa kwa sekunde 10 au chini. |
Pete ya moto haisawaziki | Taji ya kichomeo imefungwa na mabaki ya chakula. | Hakikisha kwamba injekta haijazibwa na taji ya kichomeo ni safi. |
IKIWA HUWEZI KUPATA SULUHISHO
Ikiwa huwezi kupata suluhisho la tatizo mwenyewe, wasiliana na muuzaji wako au Kituo cha Huduma Kilichoidhinishwa. Toa data kutoka kwa bamba la ukadiriaji. Hakikisha, umeendesha jiko kwa usahihi. Ikiwa sivyo, huduma na fundi wa huduma au muuzaji haitatozwa, pia katika kipindi cha udhamini.
Maagizo kuhusu Kituo cha Huduma na masharti ya dhamana yako katika kijitabu cha dhamana.
LEBO ZILIZOTOLEWA NA MFUKO WA VIFAA
Bandika lebo za wambiso kama ilivyoonyeshwa hapa chini:

- Ibandike kwenye Kadi ya Dhamana na utume sehemu hii (ikiwezekana).
- Ibandike kwenye Kadi ya Dhamana na uweke sehemu hii (ikiwezekana).
- Ibandike kwenye kijitabu cha maagizo.
DATA ZA KIUFUNDI
VIPIMO VYA KITENGO
| Upana | 594 mm |
| Kina | 510 mm |
VIPENYO VYA BYPASS
| KICHOMI | Ø BYPASS 1/100 mm |
| Taji Nyingi | 57 |
| Nusu ya Kasi | 32 |
| Saidizi | 28 |
DATA NYINGINE ZA KIUFUNDI
| JUMLA YA NGUVU: | Gesi asilia: | G20 (2H) 20 mbar | 9 kW |
| Mbadala wa gesi: | G30 (3+) 28-30 mbar | 621 g/h | |
| G31 (3+) 37 mbar | 611 g/h | ||
| Ugavi wa umeme: | 220-240 V ~ 50-60 Hz Kebo rahisi ya msingi 3 yenye plagi isiyoweza kuunganishwa tena iliyo na fuse ya katriji ya 3 amp | ||
| Aina ya kifaa: | II2H3+ | ||
| Muunganisho wa gesi: | R 1/2" | ||
| Darasa la kifaa: | 3 | ||
VICHOMI VYA GESI KWA GESI ASILIA G20 20 mbar
| KICHOMI | NGUVU YA KAWAIDA kW | NGUVU YA CHINI kW | ALAMA YA SINDANO |
| Taji Nyingi | 4,0 | 1,4 | 146 |
| Nusu ya Kasi | 2,0 | 0,45 | 96 |
| Saidizi | 1,0 | 0,33 | 70 |
VICHOMI VYA GESI KWA LPG G30/G31 28-30/37 mbar
| KICHOMI | NGUVU YA KAWAIDA kW | NGUVU YA CHINI kW | ALAMA YA SINDANO | MTIRIRIKO WA GESI JINA g/h | |
| G30 28-30 mbar | G31 37 mbar | ||||
| Taji Nyingi | 3,55 | 1,4 | 095 | 258 | 254 |
| Nusu ya Kasi | 2,0 | 0,45 | 71 | 145 | 143 |
| Saidizi | 1,0 | 0,33 | 50 | 73 | 71 |
UFANISI WA NISHATI
TAARIFA YA BIDHAA KULINGANA NA KANUNI ZA UK ECODESIGN
| Kitambulisho cha mfumo | ZGNN645K, ZGNN645X | |
| Aina ya hobi | Hobi iliyojengwa ndani | |
| Idadi ya vichomi vya gesi | 4 | |
| Ufanisi wa nishati kwa kila kichomi cha gesi (EE gesi kichomi) | Nyuma ya kushoto - Nusu ya kasi | 54.5% |
| Nyuma ya kulia - Nusu ya kasi | 58.1% | |
| Mbele ya kushoto - Taji nyingi | 59.7% | |
| Mbele ya kulia - Saidizi | haitumiki | |
| Ufanisi wa nishati kwa hobi ya gesi (EE gesi hobi) | 57.4% |
BS EN 30-2-1: Vifaa vya kupikia vya nyumbani vinavyotumia gesi - Sehemu ya 2-1: Matumizi sahihi ya nishati - Jumla
KUOKOA NISHATI
- Kabla ya matumizi, hakikisha kwamba vichomi na viunga vya sufuria vimekusanywa kwa usahihi.
- Tumia vyombo vya kupikia vyenye vipenyo vinavyofaa kwa ukubwa wa vichomi.
- Weka sufuria katikati ya kichomi.
- Unapopasha moto maji, tumia tu kiasi unachohitaji.
- Ikiwezekana, weka vifuniko kwenye vyombo vya kupikia kila wakati.
- Kioevu kinapoanza kuchemka, punguza moto ili kuchemsha kioevu kidogo tu.
- Ikiwezekana, tumia jiko la shinikizo. Rejelea mwongozo wake wa mtumiaji.
TAARIFA ZA USALAMA
Kabla ya kufunga na kutumia kifaa, soma kwa uangalifu maagizo yaliyotolewa. Mtengenezaji hawajibikiwi kwa majeraha yoyote au uharibifu ambao ni matokeo ya usakinishaji au matumizi yasiyo sahihi. Weka maagizo kila wakati mahali salama na yanayoweza kufikiwa kwa marejeleo ya baadaye.
USALAMA WA WATOTO NA WATU WALIO Hatarini
- Kifaa hiki kinaweza kutumiwa na watoto wenye umri wa miaka 8 na zaidi na watu wenye uwezo mdogo wa kimwili, hisia au kiakili au wasio na uzoefu na ujuzi ikiwa wamepewa usimamizi au maagizo kuhusu matumizi ya kifaa kwa njia salama na kuelewa hatari zinazohusika. Watoto walio chini ya umri wa miaka 8 na watu wenye ulemavu mkubwa sana na changamano watawekwa mbali na kifaa isipokuwa wanasimamiwa kila wakati.
- Watoto wanapaswa kusimamiwa ili kuhakikisha kwamba hawachezi na kifaa.
- Weka vifungashio vyote mbali na watoto na uvitupilie mbali ipasavyo.
Weka watoto na wanyama wa kipenzi mbali na kifaa kinapofanya kazi au kinapopoa. Sehemu zinazoweza kufikiwa huwa moto wakati wa matumizi.- Ikiwa kifaa kina kifaa cha usalama kwa watoto, kinapaswa kuwashwa.
- Watoto hawatafanya usafi na matengenezo ya mtumiaji wa kifaa bila usimamizi.
USALAMA WA JUMLA
- Kifaa hiki ni kwa madhumuni ya kupikia tu.
- Kifaa hiki kimeundwa kwa matumizi ya nyumbani ya familia moja tu katika mazingira ya ndani.
- Kifaa hiki kinaweza kutumika katika, ofisi, vyumba vya wageni vya hoteli, vyumba vya wageni vya kulala na kifungua kinywa, nyumba za wageni za mashambani na malazi mengine sawa ambapo matumizi hayazidi viwango vya matumizi ya nyumbani (wastani).
Kifaa na sehemu zake zinazoweza kufikiwa huwa moto wakati wa matumizi. Uangalifu unapaswa kuchukuliwa ili kuepuka kugusa vipengele vya kupokanzwa.
Kupika bila usimamizi kwenye hobi na mafuta au mafuta kunaweza kuwa hatari na kunaweza kusababisha moto.- Kamwe usitumie maji kuzima moto wa kupikia. Zima kifaa na funika miali kwa mfano, blanketi ya moto au kifuniko.
Kifaa lazima kisitolewe kupitia kifaa cha nje cha kubadilisha, kama vile kipima muda, au kuunganishwa kwenye saketi ambayo huwashwa na kuzimwa mara kwa mara na shirika la umma.
Mchakato wa kupikia unapaswa kusimamiwa. Mchakato mfupi wa kupikia lazima usimamiwe kila wakati.
Usihifadhi vitu kwenye nyuso za kupikia.- Vitu vya metali kama vile visu, uma, vijiko na vifuniko havipaswi kuwekwa kwenye uso wa hobi kwani vinaweza kupata joto.
- Usitumie kifaa kabla ya kukisakinisha kwenye muundo uliojengwa ndani.
- Usitumie kisafishaji cha mvuke kusafisha kifaa.
- Ikiwa kamba ya ugavi imeharibika, lazima ibadilishwe na mtengenezaji, Huduma iliyoidhinishwa au watu wanaofanana waliohitimu ili kuepusha hatari.
- Pale ambapo kifaa kimeunganishwa moja kwa moja na usambazaji wa umeme, swichi ya kutenganisha nguzo zote yenye pengo la mawasiliano inahitajika. Kukata muunganisho kamili kwa mujibu wa masharti yaliyobainishwa katika kategoria ya voltage kupita kiasi ya III lazima iwe imehakikishwa. Kebo ya dunia haijajumuishwa katika hili.
- Unapoelekeza kebo kuu, hakikisha kwamba kebo haigusi moja kwa moja (kwa mfano kwa kutumia mikono ya kuhami) sehemu zinazoweza kufikia joto la zaidi ya 50°C juu ya joto la chumba.
Tumia tu vilinda hobi vilivyoundwa na mtengenezaji wa kifaa cha kupikia au vilivyoonyeshwa na mtengenezaji wa kifaa katika maagizo ya matumizi kama vilivyo bora au vilinda hobi vilivyojumuishwa kwenye kifaa. Matumizi ya vilinda visivyofaa yanaweza kusababisha ajali.
MAELEKEZO YA USALAMA
Kifaa hiki kinafaa kwa masoko yafuatayo:

USIMIKAJI
Ni mtu aliyehitimu pekee ndiye lazima asakinishe kifaa hiki.
Hatari ya kuumia au kuharibu kifaa.
- Ondoa vifungashio vyote.
- Usisakinishe au kutumia kifaa kilichoharibika.
- Fuata maelekezo ya usakinishaji yaliyotolewa na kifaa.
- Weka umbali wa chini kutoka kwa vifaa na vitengo vingine.
- Daima kuwa mwangalifu unaposogeza kifaa kwani ni kizito. Daima tumia glavu za usalama na viatu vilivyofungwa.
- Funga nyuso zilizokatwa kwa sealant ili kuzuia unyevu kusababisha uvimbe.
- Linda sehemu ya chini ya kifaa kutoka kwa mvuke na unyevu.
- Usisakinishe kifaa karibu na mlango au chini ya dirisha. Hii inazuia vyombo vya kupikia vya moto kuanguka kutoka kwa kifaa wakati mlango au dirisha linafunguliwa.
- Ikiwa kifaa kimewekwa juu ya droo, hakikisha kwamba nafasi, kati ya chini ya kifaa na droo ya juu, inatosha kwa mzunguko wa hewa.
- Sehemu ya chini ya kifaa inaweza kupata joto wakati inatumika. Ikiwa oveni haijawekwa chini ya hobi na sehemu ya chini ya kifaa inapatikana na inaweza kuruhusu mtumiaji au vitu vilivyohifadhiwa chini ya hobi kugusa moja kwa moja sehemu ya chini ya hobi, paneli ya ulinzi ya kati lazima iwekwe.
- Mbao au nyenzo za jikoni zinakubalika kwa paneli.
- Paneli lazima iondolewe kwa ajili ya kuhudumia. Parafujo zinazotumiwa kurekebisha paneli lazima ziweze kufikiwa baada ya usakinishaji.
UNGANISHO LA UMEME
Hatari ya moto na mshtuko wa umeme.
- Miunganisho yote ya umeme inapaswa kufanywa na fundi umeme aliyehitimu.
- Kifaa lazima kiwekwe udongo.
- Kabla ya kufanya operesheni yoyote hakikisha kwamba kifaa kimekatwa kutoka kwa usambazaji wa umeme.
- Hakikisha kwamba vigezo kwenye bamba la ukadiriaji vinaendana na ukadiriaji wa umeme wa usambazaji wa umeme wa mains.
- Hakikisha kifaa kimewekwa kwa usahihi. Kebo ya umeme ya mains iliyolegea na isiyo sahihi au plagi (ikiwa inatumika) inaweza kufanya terminal iwe moto sana.
- Tumia kebo sahihi ya umeme ya mains.
- Usiruhusu kebo ya umeme ya mains kukunjamana.
- Hakikisha ulinzi wa mshtuko umewekwa.
- Tumia kibanio cha kupunguza mkazo kwenye kebo.
- Hakikisha kebo ya mains au plagi (ikiwa inatumika) haigusi kifaa moto au vyombo vya kupikia vya moto, unapo unganisha kifaa kwenye soketi zilizo karibu.
- Usitumie adapta za plagi nyingi na kebo za ugani.
- Hakikisha hausababishi uharibifu kwa plagi ya mains (ikiwa inatumika) au kwa kebo ya mains. Wasiliana na Kituo chetu cha Huduma Kilichoidhinishwa au fundi umeme ili kubadilisha kebo ya mains iliyoharibika.
- Ulinzi wa mshtuko wa sehemu za moja kwa moja na zilizowekwa insulation lazima zifungwe kwa njia ambayo haiwezi kuondolewa bila zana.
- Unganisha plagi ya mains kwenye soketi ya mains mwishoni mwa usakinishaji. Hakikisha kwamba kuna ufikiaji wa plagi ya mains baada ya usakinishaji.
- Ikiwa soketi ya mains imelegea, usiunganishe plagi ya mains.
- Usivute kebo ya mains ili kukata kifaa. Daima vuta plagi ya mains.
- Tumia tu vifaa sahihi vya kutenga: vipunguzi vya ulinzi wa laini, fyuzi (fyuzi za aina ya screw zilizotolewa kutoka kwa kishikilia), safari za uvujaji wa udongo na kontaktori.
- Usakinishaji wa umeme lazima uwe na kifaa cha kutenga ambacho hukuruhusu kukata kifaa kutoka kwa mains kwenye nguzo zote. Kifaa cha kutenga lazima kiwe na upana wa ufunguzi wa mawasiliano wa kiwango cha chini cha mm 3.
UNGANISHO LA GESI
Unapotumia silinda ya gesi, daima iweke kwenye uso tambarare wa mlalo (huku valve ya gesi ikiwa juu).
- Miunganisho yote ya gesi lazima ifanywe na mtu aliyehitimu.
- Kabla ya usakinishaji, hakikisha kwamba hali za usambazaji wa ndani (asili ya gesi na shinikizo la gesi) na marekebisho ya kifaa yanaendana.
- Hakikisha kwamba kuna mzunguko wa hewa kuzunguka kifaa.
- Taarifa kuhusu usambazaji wa gesi iko kwenye bamba la ukadiriaji.
- Kifaa hiki hakijaunganishwa na kifaa, ambacho huondoa bidhaa za mwako. Hakikisha kuunganisha kifaa kulingana na kanuni za sasa za usakinishaji. Fuata mahitaji ya uingizaji hewa wa kutosha.
MATUMIZI
Hatari ya kuumia, kuungua na mshtuko wa umeme.
Matumizi ya kifaa cha kupikia gesi husababisha uzalishaji wa joto, unyevu na bidhaa za mwako katika chumba ambacho kimewekwa. Hakikisha kwamba jikoni ina hewa ya kutosha hasa wakati kifaa kinatumika. Matumizi ya muda mrefu ya kifaa yanaweza kuhitaji uingizaji hewa wa ziada, kwa mfano kuongeza uingizaji hewa wa mitambo ambapo upo, uingizaji hewa wa ziada ili kuondoa bidhaa za mwako kwa usalama kwa hewa ya nje (nje) huku pia ukitoa mabadiliko ya hewa ya chumba na uingizaji hewa wa ziada. Wasiliana na mtu aliyehitimu kabla ya usakinishaji wa uingizaji hewa wa ziada.
- Usibadilishe vipimo vya kifaa hiki.
- Ondoa vifungashio vyote, uwekaji lebo na filamu ya kinga (ikiwa inatumika) kabla ya matumizi ya kwanza.
- Hakikisha kwamba fursa za uingizaji hewa hazijazuiwa.
- Usiruhusu kifaa kukaa bila kuhudhuriwa wakati wa operesheni.
- Weka eneo la kupikia kuwa "zima" baada ya kila matumizi.
- Usiweke vyombo au vifuniko vya sufuria kwenye maeneo ya kupikia. Wanaweza kuwa moto.
- Usitumie kifaa kwa mikono iliyolowa au wakati kina mawasiliano na maji.
- Usitumie kifaa kama sehemu ya kazi au kama sehemu ya kuhifadhi.
- Unapoweka chakula kwenye mafuta ya moto, inaweza kumwagika.
Hatari ya moto na mlipuko
- Mafuta na grisi yanapokanzwa yanaweza kutoa mvuke unaoweza kuwaka. Weka miali au vitu vyenye joto mbali na mafuta na grisi unapotumia kupika navyo.
- Mvuke ambayo mafuta ya moto sana hutoa inaweza kusababisha mwako wa hiari.
Mafuta yaliyotumika, ambayo yanaweza kuwa na mabaki ya chakula, yanaweza kusababisha moto kwenye joto la chini kuliko mafuta yanayotumiwa kwa mara ya kwanza.
- Usiweke bidhaa zinazoweza kuwaka au vitu ambavyo vimelowa na bidhaa zinazoweza kuwaka ndani, karibu au kwenye kifaa.
Hatari ya uharibifu kwa kifaa.
- Usiweke vyombo vya kupikia vya moto kwenye paneli dhibiti.
- Usiruhusu vyombo vya kupikia kuchemka kavu.
- Kuwa mwangalifu usiruhusu vitu au vyombo vya kupikia kuanguka kwenye kifaa. Uso unaweza kuharibiwa.
- Usiache kamwe kichomi kimewashwa na vyombo vya kupikia tupu au bila vyombo vya kupikia.
- Usiweke karatasi ya alumini kwenye kifaa.
- Tumia tu vyombo vya kupikia vilivyo thabiti na umbo sahihi na kipenyo kikubwa kuliko vipimo vya vichomi.
- Hakikisha vyombo vya kupikia vimewekwa katikati kwenye vichomi.
- Usitumie vyombo vya kupikia vikubwa ambavyo vinaingiliana na kingo za kifaa. Hii inaweza kusababisha uharibifu kwa uso wa sehemu ya kazi.
- Hakikisha moto hauzimi unapozungusha haraka kifundo kutoka nafasi ya juu hadi ya chini.
- Tumia tu vifaa vilivyotolewa na kifaa.
- Usisakinishe kisambaza moto kwenye kichomi.
- Usiruhusu vimiminika vya asidi, kwa mfano siki, maji ya limao au kiondoa chokaa, kugusa hobi. Hii inaweza kusababisha viraka vya matt.
- Kubadilika rangi kwa enamel au chuma cha pua hakuathiri utendaji wa kifaa.
UTUNZAJI NA USAFISHAJI
Usiondoe vifungo, vifundo au gaskets kutoka kwenye paneli dhibiti. Maji yanaweza kuingia ndani ya kifaa na kusababisha uharibifu.
- Safisha kifaa mara kwa mara ili kuzuia kuzorota kwa nyenzo za uso.
- Zima kifaa na ukiache kipoe kabla ya kusafisha.
- Usitumie dawa ya maji na mvuke kusafisha kifaa.
- Safisha kifaa kwa kitambaa laini chenye unyevu. Tumia tu sabuni zisizo na asidi. Usitumie bidhaa za abrasive, pedi za kusafisha abrasive, viyeyusho au vitu vya chuma.
- Usisafishe vichomi kwenye mashine ya kuosha vyombo.
HUDUMA
- Ili kurekebisha kifaa wasiliana na Kituo cha Huduma Kilichoidhinishwa. Tumia vipuri asili pekee.
TEMBELEA TOVUTI YETU ILI:
Pata ushauri wa matumizi, brosha, suluhisho la matatizo, taarifa za huduma na ukarabati: www.zanussi.com/support

Marejeleo
Pakua mwongozo
Hapa unaweza kupakua toleo kamili la pdf la mwongozo, linaweza kujumuisha maelekezo ya ziada ya usalama, taarifa za udhamini, sheria za FCC, n.k.
Pakua Zanussi ZGNN645K, ZGNN645X - Mwongozo wa Hobi ya Gesi

