Creative Sound Blaster Katana V2 - Oyun Soundbar'ı Kullanım Kılavuzu

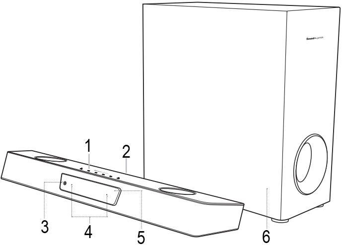
GENEL BAKIŞ

- Güç / Bluetooth® Düğmesi
- Ses - Düğmesi
- Ses + Düğmesi
- Kaynak Düğmesi
- Mod Düğmesi
- Super X-Fi Düğmesi
- LED Göstergeleri
- HDMI ARC Bağlantı Noktası
- SXFI-out Bağlantı Noktası
- USB-C Bağlantı Noktası
- 3,5 mm AUX-in Bağlantı Noktası
- Optik Giriş Bağlantı Noktası
- Subwoofer'a Çıkış
- DC Güç Bağlantı Noktası
- Kulaklık Bağlantı Noktası
- Mikrofonlar
- LED Ekran
- Subwoofer
| Düğme / Eylem | Fonksiyon | |
![]() | x1 | Açma / Kapatma |
| 2s | Bluetooth Eşleştirme Moduna Girin | |
| x1 (Bluetooth Eşleştirme Modundayken) | Bluetooth Eşleştirme Modundan Çıkın | |
![]() | x1 | Sesi Azalt |
![]() | x1 | Sesi Artır |
![]() | x1 | ![]() |
![]() | x1 | ![]() |
![]() | x1 | ![]() |
| LED Göstergesi | Durum | ||
![]() | ![]() | Sabit Beyaz | Açık |
![]() | Sabit Kırmızı | Kapalı | |
![]() | Sabit Sarı | Ağ Bekleme | |
![]() | Sabit Mavi | Bluetooth Bağlandı | |
![]() | Yanıp Sönen Mavi | Bluetooth Eşleştirme Modu | |
![]() | Yanıp Sönen Beyaz | BLE Bağlantısı Bekleniyor | |
![]() | ![]() | Sabit Turuncu | Super X-Fi Kapalı |
![]() | Sabit Yeşil | Super X-Fi Açık | |
![]() | Sabit Koyu Mavi | SXFI BATTLE Modu Açık | |
![]() | Yanıp Sönen Kırmızı | Super X-Fi Profili Yükleniyor | |
![]() | LED Kapalı | Super X-Fi kullanılamıyor (Hoparlör modu) | |
| LED Ekran | Kaynak / Fonksiyon |
![]() | HDMI ARC Modu |
![]() | USB Ses Modu |
![]() | Optik Giriş |
![]() | AUX-in |
![]() | Bluetooth Eşleştirme modu |
![]() | Bluetooth Modu |
IR UZAKTAN KUMANDA


AAA piller dahil değildir
- Güç Düğmesi
Soundbar'ı açmak için bir kez basın.
Kapatmak için tekrar basın. - Bilgi Düğmesi
Ses Formatı (Dolby kodlu / PCM), Ses Seviyesi, Ses Modu ve Kaynak bilgilerini görüntülemek için bir kez basın. - Oynat / Duraklat Düğmesi
Ses çalmayı oynatmak / duraklatmak için bir kez basın. - Önceki Parça Düğmesi
Önceki parçaya dönmek için bir kez basın. - Sonraki Parça Düğmesi
Sonraki parçaya atlamak için bir kez basın. - RGB Aydınlatma Düğmesi
Sound Blaster Katana V2'deki RGB Aydınlatma ön ayarlarında gezinmek için basın (Creative uygulaması aracılığıyla özelleştirilebilir). - Sub - / Sub + Düğmeleri
Subwoofer'ın sesini azaltmak / artırmak için basın. - Hoparlör Düğmesi
Hoparlör çıkışına geçmek için bir kez basın. - TV Kaynağı Düğmesi
TV girişine geçmek için bir kez basın. - USB Kaynağı Düğmesi
USB girişine geçmek için bir kez basın. - Optik Kaynak Düğmesi
Optik girişine geçmek için bir kez basın. - Sessiz Düğmesi
Soundbar'ı sessize almak için bir kez basın.
Sessizden çıkarmak için tekrar basın. - Mod Düğmesi
Sound Blaster Katana V2'deki ses modlarında gezinmek için basın (Creative uygulaması aracılığıyla özelleştirilebilir). - Ekran Düğmesi
LED ekran parlaklığında gezinmek için basın. (Parlak / Koyu / Kapalı) - Ses Seviyesi + Düğmesi
Sesi artırmak için bir kez basın.
Sesi sürekli artırmak için basılı tutun. - Ses Seviyesi – Düğmesi
Sesi azaltmak için bir kez basın.
Sesi sürekli azaltmak için basılı tutun. - LED Parlaklığı - / + Düğmeleri
LED parlaklığını azaltmak / artırmak için basın - Kulaklık Düğmesi
Kulaklık / mikrofonlu kulaklık çıkışına geçmek için bir kez basın. - Super X-Fi Düğmesi
Super X-Fi modlarında gezinmek için bir kez basın. (Super X-Fi Açık / SXFI BATTLE Modu / Super X-Fi Kapalı) - AUX Kaynağı Düğmesi
AUX girişine geçmek için bir kez basın. - Bluetooth Düğmesi
Bluetooth girişine geçmek için bir kez basın.
Bluetooth eşleştirme moduna girmek için basılı tutun. - Önceki Kaynak Düğmesi
Son kullanılan giriş kaynağına geçmek için bir kez basın. - C1-C6 Özelleştirilebilir Düğmeleri
Düğmeler Creative uygulaması aracılığıyla özelleştirilebilir.
BAĞLANTI


- PS5™
- Xbox Series X / S
- TV
- Super X-Fi Kulaklıklar
- PC / Mac
- Duvar prizi
- Subwoofer
- Xbox One serisi
- PS4™
- Mobil Cihazlar
- HDMI kablosu
- TV Ses Çıkışı: ARC
- Dijital Ses Formatı: Dolby kodlu / PCM
- Super X-Fi USB dongle
- USB-C - USB-A kablosu
- Optik kablo
- TV Ses Çıkışı: Optik
- Dijital Ses Formatı: Dolby kodlu / PCM
- 3,5 mm AUX kablosu
DUVARA MONTAJ (İSTEĞE BAĞLI)

- Anahtar deliği

Metal Askı

Pan Başlı M3.5 x 15 mm Makine Vidası

Önerilen Plastik Dübel*

Çift Başlıklı Ayı Pençesi Askısı*
* Dahil değildir

Yaralanmayı önlemek için, bu cihaz kurulum talimatlarına uygun olarak duvara güvenli bir şekilde takılmalıdır
- Soundbar'ın montaj konumunu belirleyin. TV'ye göre düzgün bir şekilde ortalandığından ve yatay olarak dengelendiğinden emin olun.
- Duvar montaj braketi için istediğiniz konumu not alın ve işaretleyin. Duvarın içindeki gömülü borular, kanallar veya kablolarla kesişmediğinden emin olun.
- Çift Başlıklı Ayı Pençesi Askılarını vidalamadan önce plastik dübelleri duvara monte ettiğinizden emin olun. Çekiç kullanarak plastik dübelleri duvara yaslanana kadar vurun.
- Soundbar'ı duvar montaj braketine yerleştirin, ardından sabitlemek için gösterildiği gibi vidaları sıkın.
- Soundbar yerindeyken, Çift Başlıklı Ayı Pençesi Askılarını duvar montaj braketinin anahtar deliklerinden ve plastik dübellere doğru vidalayın. Askıların flanşı plastik dübellere yaslanmalıdır.
SUPER X-FI KİŞİSELLEŞTİRME

SXFI Uygulaması ile Super X-Fi'nin performansını ortaya çıkarın. Uygulama, eksiksiz bir Super X-Fi deneyimi için gelişmiş bir Kafa ve Kulak Haritalama işlemi aracılığıyla Super X-Fi profilinizi kişiselleştirmenizi sağlar.
SXFI Uygulamasını şuradan indirin:

iOS App Store

Google Play Store
CREATIVE UYGULAMASI

Windows, Mac, Android ve iOS cihazlarda kullanılabilen Creative uygulamasıyla ürününüzü kurun, ses ayarlarını kişiselleştirin, ürününüzün performansını artırın ve daha fazlasını yapın:
- Super X-Fi, Scout Mode, Dolby Digital Decoder ve Ses Mikseri ile ses deneyiminizi kişiselleştirin
- Surround, Crystalizer, Bass, Smart Volume ve Dialog+ gibi Acoustic Engine özelliklerinin keyfini çıkarın
- RGB Aydınlatmayı, grafik EQ'ları ve özel düğmeleri özelleştirin
- Yazılım, ürün kaydı ve daha fazlasını gerçekleştirin
- Creative uygulamasını creative.com/support/katanav2 adresinden indirin
TEKNİK ÖZELLİKLER
Güç Adaptörü Modeli: GM95-240300-D
Giriş: 100–240V
, 50 / 60 Hz 2.5A
Çıkış: 24V
3.0A
Soundbar'ın Güç Çıkışı: 66W RMS (Tweeter 13W RMS x 2 / Midbass 20W RMS x 2)
Subwoofer'ın Güç Çıkışı: 60W RMS
Frekans Tepkisi: 50–20.000 Hz
Bluetooth Sürümü: Bluetooth 5.0
Çalışma Frekansı: 2402–2480 MHz
Çalışma Aralığı: Açık alanda ölçülen 10 m / 33 ft'ye kadar. Duvarlar ve yapılar cihazın menzilini etkileyebilir
Maksimum RF Çıkış Gücü: 4 dBm
Desteklenen Bluetooth Profilleri: A2DP (Kablosuz Stereo Bluetooth), AVRCP (Bluetooth Uzaktan Kumanda)
Desteklenen Codec: SBC
Soundbar Giriş Değeri: 24V
3.0A
Maksimum Sıcaklık Aralığı: 40ºC
Not: Uyumluluk işareti bu ürünün altında bulunur.
DİĞER BİLGİLER
Kullanım kılavuzu, güvenlik ve düzenleme bilgileri ve uygulanabilir olan yerlerde ErP bilgileri için lütfen creative.com/compliance/katanav2 adresini ziyaret edin.
Ürününüzle ilgili diğer tüm destekler için lütfen creative.com/support/katanav2 adresini ziyaret edin.
ÜRÜN KAYDI
Ürününüzü kaydettirmek, mevcut en uygun hizmeti ve ürün desteğini almanızı sağlar. Ürününüzü www.creative.com/register adresinden kaydedebilirsiniz. Garanti haklarınızın kayda bağlı olmadığını lütfen unutmayın.
| Garanti | Garanti bilgileri, ürününüzle birlikte ayrı bir belgede verilmektedir. Lütfen Satın Alma Kanıtınızı Garanti süresi boyunca saklayın. |
| Bu belgeyi ileride başvurmak üzere saklayın. | |
PN: 03MF838000001 Rev A

Referanslar
Creative Technology - Online Ürün Kaydı
Creative Worldwide Support - Sound BlasterX Katana V2
Creative Worldwide SupportSound BlasterX Katana V2
Kılavuzu indir
Burada kılavuzun tam PDF sürümünü indirebilirsiniz, ek güvenlik talimatları, garanti bilgileri, FCC kuralları vb. içerebilir.
Creative Sound Blaster Katana V2 - Oyun Soundbar'ı Kullanım Kılavuzu indir



























