Priručnik za Grundfos CR / CRI / CRN / CRT seriju
- 1 Opće informacije
- 2 Predstavljanje proizvoda
- 3 Preuzimanje proizvoda
- 4 Instaliranje proizvoda
- 5 Identifikacija
- 6 Primjene
- 7 Radni uvjeti
- 8 Mehanička instalacija
- 9 Električni priključak
- 10 Pokretanje proizvoda
- 11 Rad s proizvodom
- 12 Servisiranje proizvoda
- 13 Održavanje pumpe
- 14 Održavanje motora
- 15 Zamjena motora
- 16 Popis dijelova
- 17 Preliminarna električna ispitivanja
- 18 Pokretanje pumpe sa zračnim hlađenjem
- 19 Pronalaženje grešaka
- 20 Preuzmi priručnik
- 21 Na drugim jezicima
Opće informacije
![]()
Pročitajte ovaj dokument prije nego što instalirate proizvod. Instalacija i rad moraju biti u skladu s lokalnim propisima i prihvaćenim pravilima dobre prakse.
Izjave o opasnostima
Simboli i izjave o opasnostima u nastavku mogu se pojaviti u uputama za instalaciju i rad, sigurnosnim uputama i uputama za servis tvrtke Grundfos.
Označava opasnu situaciju koja će, ako se ne izbjegne, rezultirati smrću ili ozbiljnom ozljedom.
Označava opasnu situaciju koja bi, ako se ne izbjegne, mogla rezultirati smrću ili ozbiljnom ozljedom.
Označava opasnu situaciju koja će, ako se ne izbjegne, rezultirati manjom ili umjerenom ozljedom. Izjave o opasnostima strukturirane su na sljedeći način:
SIGNALNA RIJEČ
Opis opasnosti
Posljedica ignoriranja upozorenja
- Radnja za izbjegavanje opasnosti.
Napomene
Simboli i napomene u nastavku mogu se pojaviti u uputama za instalaciju i rad, sigurnosnim uputama i uputama za servis tvrtke Grundfos.
![]() | Pridržavajte se ovih uputa za proizvode otporne na eksploziju. |
| Plavi ili sivi krug s bijelim grafičkim simbolom označava da se mora poduzeti neka radnja. | |
![]() | Crveni ili sivi krug s dijagonalnom trakom, moguće s crnim grafičkim simbolom, označava da se neka radnja ne smije poduzeti ili se mora zaustaviti. |
| Ako se ne pridržavate ovih uputa, to može dovesti do kvara ili oštećenja opreme. | |
| Savjeti i preporuke koje olakšavaju rad. |
Sigurnosne informacije za motor
![]()
Pročitajte sigurnosne informacije specifične za motor u uputama za motor koje se isporučuju s crpkom.
Predstavljanje proizvoda
Serija CR temelji se na linijskoj višestupanjskoj centrifugalnoj crpki koju je prvi put razvila tvrtka Grundfos. CR je dostupan u četiri osnovna materijala i više od milijun konfiguracija. CR je prikladan za pumpanje vode i tekućina sličnih vodi u industriji, petrokemijskim postrojenjima, postrojenjima za obradu vode, komercijalnim zgradama i mnogim drugim primjenama. Neke od izvanrednih karakteristika CR su:
- superiorna učinkovitost
- pouzdanost
- jednostavno održavanje
- kompaktna veličina i mali otisak
- tihi rad.
Preuzimanje proizvoda
Transport proizvoda
Padajući predmeti
Smrt ili ozbiljna ozljeda
- Držite proizvod u stabilnom i fiksnom položaju tijekom transporta.
- Nosite osobnu zaštitnu opremu.
Preuzimanje proizvoda
Padajući predmeti
Smrt ili ozbiljna ozljeda
- Držite proizvod u stabilnom i fiksnom položaju tijekom raspakiranja.
- Nosite osobnu zaštitnu opremu.
Podizanje proizvoda
Padajući predmeti
Smrt ili ozbiljna ozljeda
- Nemojte koristiti ušice motora za podizanje cijelog proizvoda ako je crpka opremljena motorom drugog proizvođača od Grundfos ML i MLE.
- Slijedite upute za podizanje.
- Koristite opremu za podizanje koja je odobrena za težinu proizvoda.
- Osobe moraju držati sigurnu udaljenost od proizvoda tijekom operacija podizanja.
- Nosite osobnu zaštitnu opremu.
Imajte na umu da je tipično težište crpke blizu motora.
Podignite sklop crpke remenima za podizanje koji prolaze kroz postolje motora. Pazite da se opterećenje ne primjenjuje na osovinu crpke.

Ispravno podizanje CR crpke
Pregled proizvoda
Prije instaliranja proizvoda učinite sljedeće:
- Provjerite je li proizvod naručen.
- Provjerite nisu li vidljivi dijelovi oštećeni tijekom transporta.
- Provjerite nije li crpka pala ili da se njome nije loše rukovalo.
Ako su dijelovi oštećeni ili nedostaju, obratite se lokalnoj tvrtki za prodaju Grundfos.
Pakiranje u kojem je stigla vaša crpka posebno je dizajnirano za vašu crpku kako bi se spriječila oštećenja tijekom transporta. Kao mjeru opreza, ostavite crpku u pakiranju dok je ne budete spremni instalirati.
Instaliranje proizvoda
Provjerite imate li pravu crpku
Provjerite pločicu s imenom crpke kako biste bili sigurni da je to ona koju ste naručili.
- CR: Centrifugalna crpka; svi dijelovi u dodiru s pumpanom tekućinom izrađeni su od standardnog lijevanog željeza i nehrđajućeg čelika AISI 304.
- CRI: Centrifugalna crpka; svi dijelovi u dodiru s pumpanom tekućinom izrađeni su od nehrđajućeg čelika AISI 304.
- CRN: Centrifugalna crpka; svi dijelovi u dodiru s pumpanom tekućinom izrađeni su od nehrđajućeg čelika AISI 316.
- CRT: Centrifugalna crpka; svi dijelovi u dodiru s pumpanom tekućinom izrađeni su od titana.
- CRE: Centrifugalna crpka s Grundfos MLE motorom s promjenjivom frekvencijom.
Kraj crpke bez motora
Ako se isporuka sastoji od kompletne jedinice (motor pričvršćen na kraj crpke), položaj spojke koja povezuje osovinu crpke s osovinom motora postavljen je prema tvorničkim specifikacijama. Nije potrebno podešavanje.
Ako je isporuka kraj crpke bez motora, slijedite postupke podešavanja u odjeljku o zamjeni motora.
Crpka bez motora (samo CR, CRI, CRN 1s, 1, 3, 5, 10, 15 i 20)
Ako ste kupili kraj crpke bez motora, brtva osovine je postavljena iz tvornice. Nemojte otpuštati tri vijka za podešavanje na brtvi osovine prilikom pričvršćivanja motora.
Crpka bez motora (samo CR, CRN 32, 45 i 64)
Ako ste kupili kraj crpke bez motora, morate ugraditi brtvu osovine. Brtva osovine zaštićena je u vlastitoj kutiji unutar sanduka za pakiranje crpke. Kako bi se zaštitila osovina i ležajevi tijekom transporta, koristi se transportni štitnik. Uklonite transportni štitnik prije ugradnje brtve osovine. Pročitajte upute za ugradnju brtve koje su priložene u pakiranju crpke.
Povezane informacije
Zamjena motora
Ležaj motora na pogonskom kraju
Pazite da koristite ispravnu vrstu ležaja motora na pogonskom kraju (DE) za crpku s golom osovinom. Provjerite određeni raspon crpke i verziju crpke navedenu na pločici s imenom i odaberite odgovarajući DE ležaj.
DE ležaj, raspon crpki CR 1-64
| Verzija crpke1) | Kuglični ležaj s dubokim utorom (62/63xx) | Kosi kontaktni ležaj (73xx) |
| A Standardna crpka | 1/3 - 10 KS | 15 - 60 KS |
| T Crpka s uređajem za podnošenje potiska (THD) 2) | - | - |
| Z Crpka s prirubnicom ležaja2) | 1/3 - 60 KS | Nije dopušteno |
- Pogledajte kodove za verziju crpke u odjeljku o tipkama tipa.
- Tvorničke varijante proizvoda (FPV).
Povezane informacije
Tipka tipa
Ključ za kodove
Identifikacija
Natpisna pločica

Primjer natpisne pločice
- Verzija
- Broj proizvoda
- Serijski broj
- Model
- Oznaka tipa
- Frekvencija
- Nazivna brzina
- Težina bez motora
- Nazivna izlazna snaga motora
- Nazivni protok
- Smjer vrtnje
CCW: U smjeru suprotnom od kazaljke na satu
CW: U smjeru kazaljke na satu - Visina pri nazivnom protoku / Maksimalna visina
- Hidraulička učinkovitost pri nazivnom protoku
- Maksimalni tlak sustava / Maksimalna temperatura tekućine. Imajte na umu da ovo polje može imati dva skupa podataka.
- Indeks energetske učinkovitosti crpke, konstantno opterećenje
- Indeks energetske učinkovitosti crpke, promjenjivo opterećenje
- Promjer rotora
- Vanjska referenca (broj drugog proizvođača opreme)
- Proizvodni kod
- Zemlja podrijetla
- Oznake odobrenja
Tipka tipa
Primjer
CRE 32-4-2 A-G-A-E-HQQE-N-C-B
| Kod | Objašnjenje |
| CR | Raspon tipa: CR, CRI, CRN, CRT |
| E | Crpka s integriranim frekvencijskim pretvaračem |
| 32 | Protok [gpm (m3/h)] |
| 4 | Broj rotora |
| 2 | Broj rotora smanjenog promjera |
| A | Kod za verziju crpke |
| G | Kod za priključak cijevi |
| A | Kod za materijale |
| E | Kod za gumene dijelove |
| Kod za brtvu osovine: | |
| H |
|
| Q |
|
| Q |
|
| E |
|
| N | Kod za motor: P2 [KS (kW)] |
| C | Kod za motor: faza i napon [V] |
| B | Kod za motor: varijanta brzine [rpm] |
Ključ za kodove



Kodovi za motor
| Kod | Opis |
| P2 [KS (kW)] | |
| C | 0,33 (0,25) |
| D | 0,5 (0,37) |
| E | 0,75 (0,55) |
| F | 1 (0,75) |
| G | 1,5 (1,1) |
| H | 2 (1,5) |
| I | 3 (2,2) |
| K | 5 (4) |
| L | 7,5 (5,5) |
| M | 10 (7,5) |
| N | 15 (11) |
| O | 20 (15) |
| P | 25 (18,5) |
| Q | 30 (22) |
| R | 40 (30) |
| S | 50 (37) |
| T | 60 (45) |
| U | 75 (55) |
| V | 100 (75) |
| W | 120 (90) |
| 1 | 150 (110) |
| 2 | 175 (132) |
| 3 | 215 (160) |
| 4 | 270 (200) |
| 5 | 335 (250) |
| Faza i napon (V) | |
| A | 1 × 200-240 V |
| B | 3 × 200-240 V |
| C | 3 × 440-480 V |
| D | 3 × 380-500 V |
| X | Nije definirano |
| Varijanta brzine (rpm) | |
| A | 1450-2000 |
| Kod | Opis |
| B | 2900-4000 |
| C | 4000-5900 |
| 2 | 2-polni |
| 4 | 4-polni |
Primjene
Usporedite podatke s natpisne pločice pumpe ili njezinu krivulju radnih značajki s primjenom u kojoj je planirate ugraditi. Provjerite je li primjena unutar sljedećih granica.
| Vrsta | Primjena/tekućina |
| CR | Vruća i rashlađena voda, napojna voda kotla, povrat kondenzata, glikoli i solarne toplinske tekućine. |
| CRI/CRN | Deionizirana, demineralizirana i destilirana voda. Bočata voda i druge tekućine neprikladne za kontakt sa željeznim ili bakrenim legurama. (Za specifične kompatibilnosti tekućina obratite se proizvođaču.) |
| CRN-SF | Čišćenje visokotlačnim mlazom, reverzna osmoza ili druge visokotlačne primjene. |
| CRT | Slana voda, tekućine na bazi klorida i tekućine odobrene za titan. |
Radni uvjeti
Temperatura okoline i nadmorska visina
Ako temperatura okoline premašuje najveće temperaturne granice pumpe ili je pumpa ugrađena na nadmorskoj visini koja premašuje vrijednosti nadmorske visine u donjoj tablici, motor ne smije biti potpuno opterećen zbog opasnosti od pregrijavanja.
Pregrijavanje može biti posljedica previsokih temperatura okoline ili niske gustoće i posljedično niskog učinka hlađenja zraka na velikim nadmorskim visinama. U takvim slučajevima, možda će biti potrebno koristiti motor s većom nazivnom snagom (P2).

Odnos između izlazne snage motora (P2) i temperature okoline/nadmorske visine
Legenda
| Poz. | Opis |
| 1 | Motori standardne učinkovitosti NEMA-e |
| 2 | Motori vrhunske učinkovitosti NEMA-e |
Primjer: S gornje slike vidi se da se P2 mora smanjiti na 88 % kada se pumpa s ML motorom vrhunske učinkovitosti NEMA-e ugradi na 15 584 stope nadmorske visine. Pri temperaturi okoline od 167 °F, P2 motora standardne učinkovitosti mora se smanjiti na 74 % nazivne snage.
U slučajevima kada su prekoračene i maksimalna temperatura i maksimalna nadmorska visina, faktori smanjenja snage moraju se pomnožiti. Primjer: 0,89 × 0,89 = 0,79.
Temperature tekućine
| Pumpa | Temperatura tekućine |
| CR, CRI, CRN 1s, 3, 5, 10, 15 i 20 | -4 do +248 °F (-20 do +120 °C) |
| CR, CRN 32, 45 i 643) | -22 do +248 °F (-30 do +120 °C) |
| CRT 2, 4, 8, 16 | -4 do +248 °F (-20 do +120 °C) |
| CRN-SF | -4 do +221 °F (-15 do +105 °C) |
| Pumpe s Cool-Top™ | do 356 °F (180 °C) |
- Preporučujemo xUBE brtve vratila za temperature iznad 200 °F. Pumpe s KUHE hibridnim brtvama vratila mogu raditi samo do 200 °F (90 °C).
Pumpe s xUUE brtvama vratila mogu raditi do -40 °F (-40 °C).
("x" je vrsta brtve).
Svi motori dizajnirani su za kontinuirani rad u uvjetima okolnog zraka od 104 °F (40 °C). Za uvjete više temperature okoline obratite se tvrtki Grundfos.
Najviša temperatura vode za primjenu pitke vode NSF 61 ograničena je na 73 °F (23 °C).
Minimalni ulazni tlakovi
| Sve CR, CRI, CRN | NPSHR + 2 stope |
| CRN-SF | 29 psi (2 bara) |
Maksimalni ulazni tlakovi

- Dok je pumpa isključena ili tijekom pokretanja.
- Tijekom rada.
Maksimalni radni tlakovi
250 °F (121 °C)
194 °F (90 °C) za CRN-SF


U slučaju drugih radnih uvjeta obratite se tvrtki Grundfos.
Mehanička instalacija
Kontaminacija prilikom pumpanja pitke vode
Smrt ili teške tjelesne ozljede
- Prije korištenja pumpe za opskrbu pitkom vodom, temeljito isperite pumpu čistom vodom.
- Nemojte koristiti pumpu za pitku vodu ako su unutarnji dijelovi bili u dodiru s česticama ili tvarima koje nisu prikladne za vodu namijenjenu ljudskoj potrošnji.
Pumpa mora biti instalirana u skladu s nacionalnim propisima i standardima za vodu.
Podizanje proizvoda
Padajući objekti
Smrt ili teške tjelesne ozljede
- Slijedite upute za podizanje.
- Koristite opremu za podizanje koja je odobrena za težinu proizvoda.
- Osobe moraju držati sigurnu udaljenost od proizvoda tijekom operacija podizanja.
- Nosite osobnu zaštitnu opremu.
Za upute o podizanju, pogledajte odjeljak o uputama za podizanje.
Povezane informacije
Podizanje proizvoda
Položaj pumpe
Smjestite pumpu u suho, dobro prozračeno područje bez mraza koje nije izloženo ekstremnim temperaturnim promjenama.
Provjerite je li pumpa postavljena najmanje 150 mm (6 inča) od bilo kakvih prepreka ili vrućih površina.
Motor zahtijeva adekvatnu opskrbu zrakom kako bi se spriječilo pregrijavanje i adekvatan okomiti prostor za uklanjanje motora radi popravka.
U otvorenim sustavima koji zahtijevaju usisno podizanje, smjestite pumpu što je moguće bliže izvoru tekućine kako biste smanjili gubitak trenja u cijevima.
Vanjska instalacija
Grundfos preporučuje da pumpe instalirane vani imaju zaštitu od kiše za motor. Uklonite, barem, jedan od čepova za odvod motora. Ako ne uklonite čep za odvod motora, to će rezultirati kondenzacijom u motoru i uzrokovati oštećenje ili kvar motora. Grundfos preporučuje da se posavjetujete s uputama za instalaciju i rad proizvođača motora.
Temelj
Koristite beton ili sličan materijal za temelj kako biste osigurali sigurnu, stabilnu podlogu za montažu pumpe.
U tablici u nastavku pogledajte dimenzije središnje linije rupa za vijke za različite vrste pumpi.
Osigurajte pumpu za temelj koristeći sva četiri vijka i podložite bazu pumpe kako biste osigurali da je pumpa okomita i da su sva četiri jastučića na bazi pravilno poduprta (neravne površine mogu rezultirati lomom baze pumpe kada se zategnu vijci za montažu).

Položaj pumpe
Pumpa se može instalirati okomito ili vodoravno. Pogledajte gornju sliku.
Osigurajte da adekvatna opskrba hladnim zrakom dopire do ventilatora za hlađenje motora. Motor nikada ne smije pasti ispod vodoravne ravnine.
Strelica na bazi pumpe pokazuje smjer protoka tekućine kroz pumpu.
Kako biste smanjili moguću buku iz pumpe, preporučljivo je postaviti kompenzacijske spojeve s obje strane pumpe i antivibracijske nosače između temelja i pumpe.
Provjerite je li čep za odzračivanje smješten u najvišem položaju.
Postavite izolacijske ventile s obje strane pumpe kako biste izbjegli ispuštanje sustava ako je potrebno očistiti, popraviti ili zamijeniti pumpu.
Dimenzije središnje linije baze i rupa za vijke


Montaža pumpe
Sustav pod tlakom
Smrt ili teške tjelesne ozljede
- Pumpe se isporučuju s pokrivenim ulaznim i izlaznim otvorima. Uklonite poklopce prije nego što se cijevi spoje na pumpu.
Preporučeni zakretni momenti instalacije
| Vrsta pumpe | Preporučeni zakretni moment temelja [ft-lbs] | Preporučeni zakretni moment prirubnice [ft-lbs] |
| CR, CRI, CRN 1s, 1, 3, 5 CRT 2, 4 | 30 | 37-44 |
| CR, CRI, CRN 10, 15, 20 CRT 8, 16 | 37 | 44-52 |
| CR, CRN 32, 45, 64 | 52 | 52-59 |
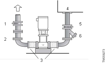
Usisna cijev
Usisna cijev mora biti adekvatne veličine i postavljena što je moguće ravnije i kraće kako bi se gubici trenja sveli na minimum (najmanje četiri promjera cijevi ravno prije usisne prirubnice). Izbjegavajte korištenje nepotrebnih fitinga, ventila ili dodatne opreme. Koristite leptiraste ventile u usisnom vodu samo kada je potrebno izolirati pumpu zbog poplavljenog usisnog stanja. To bi se dogodilo ako je izvor vode iznad pumpe. Pogledajte dvije slike u nastavku. Isperite cjevovod prije instalacije pumpe kako biste uklonili labave ostatke.

Poplavljeni usis
| Poz. | Opis |
| 1 | Leptirasti ventil |
| 2 | Nepovratni ventil |
| 3 | Kompenzacijski spojevi |
| 4 | Rezervoar |
| 5 | Leptirasti ventil |
| 6 | Filtar |

Usisno podizanje
| Poz. | Opis |
| 1 | Leptirasti ventil |
| 2 | Nepovratni ventil |
| 3 | Ekscentrični reduktor |
| 4 | Usisna cijev |
| 5 | Rezervoar |
| 6 | Nožni ventil |
Usisna cijev mora imati priključak za punjenje. CRN-SF pumpe se ne mogu koristiti za usisno podizanje.
Veličine usisne cijevi
Sljedeće preporučene veličine usisne cijevi su najmanje veličine koje bi se trebale koristiti s bilo kojom specifičnom CR vrstom pumpe.
Provjerite veličinu usisne cijevi u svakoj instalaciji kako biste osigurali da se poštuju dobre prakse cijevi i da se ne nailazi na prekomjerne gubitke trenja.
Visoke temperature mogu zahtijevati cijevi većeg promjera kako bi se smanjilo trenje i poboljšao NPHSA.
| Vrsta pumpe | Min. veličina usisne cijevi6) |
| CR, CRI, CRN 1s, 1, 3 CRT 2 | 1" |
| CR, CRI, CRN 5 CRT 4 | 1 - 1/4" |
| CR, CRI, CRN 10, 15, 20 CRT 8, 16 | 2" |
| CR, CRN 32 | 2 - 1/2" |
| CR, CRN 45 | 3" |
| CR, CRN 64 | 4" |
- Nominalni promjer prema ANSI rasporedu 40
Ispusna cijev
Predlažemo da se u ispusnu cijev ugradi nepovratni ventil i izolacijski ventil.
Cijevi, ventili i fitingi moraju biti barem istog promjera kao i ispusna cijev ili dimenzionirani u skladu s dobrom praksom cjevovoda kako bi se smanjile prekomjerne brzine protoka i gubici trenja u cijevima.
Nazivni tlak cijevi, ventila i fitinga mora biti jednak ili veći od maksimalnog tlaka sustava.
Prije instaliranja pumpe, provjerite tlak ispusnog cjevovoda na najmanje maksimalni tlak koji pumpa može generirati ili prema zahtjevima kodeksa ili lokalnih propisa.
Kad god je to moguće, izbjegavajte fitinge s visokim gubitkom tlaka, kao što su koljena ili odvojci grana izravno s obje strane pumpe. Cjevovod mora biti adekvatno poduprt kako bi se smanjila toplinska i mehanička naprezanja na pumpi.
Prema dobroj instalacijskoj praksi, temeljito očistite sustav i isperite ga od svih stranih materijala i taloga prije instalacije pumpe. Nadalje, nikada ne instalirajte pumpu na najnižoj točki sustava zbog prirodnog nakupljanja prljavštine i taloga. Ako ima previše taloga ili suspendiranih čestica, preporučujemo korištenje filtra ili sita. Grundfos preporučuje da se manometri ugrade na usisne i ispusne prirubnice ili u cijevi za praćenje performansi pumpe i sustava.
Kako biste izbjegli probleme s vodenim udarom, nemojte koristiti ventile za brzo zatvaranje u CRN-SF aplikacijama.
Bypass
Ugradite bypass u ispusnu cijev ako postoji bilo kakav rizik da pumpa može raditi protiv zatvorenog ventila u ispusnom vodu. Protok kroz pumpu je potreban kako bi se osiguralo da se održava adekvatno hlađenje i podmazivanje pumpe. Za minimalne brzine protoka, pogledajte odjeljak o minimalnim ulaznim tlakovima.
Koljena moraju biti udaljena najmanje 12" od otvora za bypass kako bi se spriječila erozija.

Preporučeni raspored bypassa
| Poz. | Opis |
| 1 | Usis |
| 2 | Bypass vod |
| 3 | Bypass otvor |
| 4 | Ispus |

Izborni raspored bypassa
| Poz. | Opis |
| 1 | Usis |
| 2 | Bypass otvor |
| 3 | Bypass vod |
| 4 | Ispus |

Izborni raspored bypassa za CR, CRN 32, 45 i 64
| Poz. | Opis |
| 1 | Usis |
| 2 | Bypass otvor |
| 3 | Bypass vod |
| 4 | Ispus |
Povezane informacije
Minimalni ulazni tlakovi
Sile i momenti prirubnice
Ako sve sile ne dosegnu maksimalnu dopuštenu vrijednost navedenu u tablicama u nastavku, jedna od tih vrijednosti može premašiti normalnu granicu. Za dodatne informacije obratite se tvrtki Grundfos.

Y-smjer: Ulaz ili izlaz
Z-smjer: Smjer komornog snopa
X-smjer: 90° od ulaza ili izlaza
Granice sile
| Prirubnica | Pumpa | CR - Kućište pumpe od lijevanog željeza | CRI, CRN - Kućište pumpe od nehrđajućeg čelika | ||||||
| ANSI [inch] | DN [mm] | Tip | Sila, Y-smjer [lb] | Sila, Z-smjer [lb] | Sila, X-smjer [lb] | Sila, Y-smjer [lb] | Sila, Z-smjer [lb] | Sila, X-smjer [lb] | |
| 1/ 1 1/4 | 25/32 | 1s-5 | 76 | 89 | 72 | 152 | 177 | 143 | |
| 1 1/2 | 40 | 10 | 93 | 105 | 84 | 185 | 211 | 169 | |
| 2 | 50 | 15, 20 | 127 | 131 | 114 | 253 | 261 | 228 | |
| 2 1/2 | 65 | 32 | 156 | 177 | 143 | 312 | 354 | 287 | |
| 3 | 80 | 45 | 211 | 173 | 190 | 421 | 346 | 379 | |
| 4 | 100 | 64 | 282 | 228 | 253 | 565 | 455 | 506 | |
Granice momenta
| Prirubnica | Pumpa | Lijevano željezo | CR na kućištu pumpe | Nehrđajući čelik | CRI, CRN - Kućište pumpe od čelika | ||||
| ANSI [inch] | DN [mm] | Tip | Sila, Y-smjer [lb] | Sila, Z-smjer [lb] | Sila, X-smjer [lb] | Sila, Y-smjer [lb] | Sila, Z-smjer [lb] | Sila, X-smjer [lb] | |
| 1/ 1 1/4 | 25/32 | 1s-5 | 221 | 129 | 92 | 443 | 258 | 184 | |
| 1 1/2 | 40 | 10 | 295 | 203 | 148 | 590 | 406 | 295 | |
| 2 | 50 | 15, 20 | 332 | 240 | 184 | 664 | 479 | 369 | |
| 2 1/2 | 65 | 32 | 369 | 258 | 221 | 738 | 516 | 443 | |
| 3 | 80 | 45 | 240 | 295 | 406 | 479 | 590 | 811 | |
| 4 | 100 | 64 | 277 | 350 | 461 | 553 | 701 | 922 | |
Minimalne brzine protoka za kontinuirani rad [gpm]
| Tip pumpe | min. °F do 176°F (min. °C do 80°C) | 210°F (99°C) | 248°F (120°C) | 356°F (180°C) | ||
| CR, CRI, CRN 1s | 0.5 | 0.7 | 1.2 | 1.2 | ||
| CR, CRI, CRN 1 | 0.9 | 1.3 | 2.3 | 2.3 | ||
| CR, CRI, CRN 3 | 1.6 | 2.4 | 4.0 | 4.0 | ||
| CR, CRI, CRN 5 | 3.0 | 4.5 | 7.5 | 7.5 | ||
| CR, CRI, CRN 10 | 5.5 | 8.3 | 14 | 14 | ||
| CR, CRI, CRN 15 | 9.5 | 14 | 24 | 24 | ||
| CR, CRI, CRN 20 | 11 | 17 | 28 | 28 | ||
| CR, CRN 32 | 14 | 21 | 35 | 35 | ||
| CR, CRN 45 | 22 | 33 | 55 | 55 | ||
| CR, CRN 64 | 34 | 51 | 85 | 85 | ||
| CRT 2 | 1.3 | 2.0 | 3.3 | N/A | ||
| CRT 4 | 3.0 | 4.5 | 7.5 | N/A | ||
| CRT 8 | 4.0 | 6.0 | 10 | N/A | ||
| CRT 16 | 8.0 | 12 | 20 | N/A | ||
Grundfos Cool-Top ® dostupan je samo u sljedećim vrstama pumpi:
| Tip pumpe | CR 1s | CR 1 | CR 3 | CR 5 | CR 10 | CR 15 | CR 20 | CR 32 | CR 45 | CR 64 |
| Standard (CR) | ● | ● | ● | |||||||
| I verzija (CRI) | ● | ● | ● | ● | ● | ● | ● | |||
| N verzija (CRN) | ● | ● | ● | ● | ● | ● | ● | ● | ● | ● |
Nepovratni ventili
Nepovratni ventil može biti potreban na izlaznoj strani pumpe kako bi se spriječilo prekoračenje ulaznog tlaka pumpe.
Kada se pumpa bez nepovratnog ventila zaustavi jer nema potražnje za sustavom (svi su ventili zatvoreni), visoki tlak sustava na izlaznoj strani pumpe vratit će se na ulaz pumpe.
To je osobito važno za primjene CRN-SF zbog vrlo visokih izlaznih tlakova. Kao rezultat toga, većina instalacija CRN-SF zahtijeva nepovratni ventil na izlaznom cjevovodu.
Porast temperature
Može biti potrebno zaustaviti protok kroz pumpu tijekom rada.
Kada se protok zaustavi, snaga pumpe prenosi se na pumpanu tekućinu kao toplina, uzrokujući porast temperature tekućine.
Rezultat je rizik od pregrijavanja i posljedičnog oštećenja pumpe. Rizik ovisi o temperaturi pumpane tekućine i o tome koliko dugo pumpa radi bez protoka. Pogledajte sljedeću tablicu porasta temperature.
| Vrsta pumpe | Vrijeme porasta temperature od 18°F (10°C) | |
| Sekunde | Minute | |
| CR 1s, 1, 3 | 210 | 3.5 |
| CR 5 | 240 | 4.0 |
| CR 10 | 210 | 3.5 |
| CR 15 | 150 | 2.5 |
| CR 20 | 120 | 2.0 |
| CR 32, 45, 64 | - | - |
Uvjeti i rezerve
Navedena vremena podliježu sljedećim uvjetima i rezervama:
- Nema izmjene topline s okolinom.
- Pumpana tekućina je voda sa specifičnim toplinskim kapacitetom od 1,0 Btu/lb. °F (4,18 kJ/kg °C).
- Dijelovi pumpe (komore, rotori i osovina) imaju isti toplinski kapacitet kao i voda.
- Voda u bazi i glavi pumpe nije uključena.
Ove rezerve trebale bi dati dovoljnu sigurnosnu granicu od prekomjernog porasta temperature.
Maksimalna temperatura ne smije prelaziti maksimalnu temperaturnu ocjenu pumpe.
Električni priključak
Sve električne radove mora izvoditi kvalificirani električar u skladu s najnovijim izdanjem Nacionalnog električnog kodeksa i lokalnih kodeksa i propisa.
Slijedite upute za motor prilikom izvođenja električnih priključaka.
Strujni udar
Smrt ili teška osobna ozljeda
- Prije početka bilo kakvog rada na proizvodu, provjerite je li napajanje isključeno i da se ne može slučajno uključiti.
- Spojite crpku na vanjski glavni prekidač blizu crpke i na motorno-zaštitni prekidač ili CUE frekvencijski pretvarač. Provjerite možete li zaključati glavni prekidač u položaju OFF (isključeno). Vrsta i zahtjevi kako je navedeno u EN 60204-1, 5.3.2.
Strujni udar
Smrt ili teška osobna ozljeda
- Za siguran rad ove crpke potrebno je uzemljenje u skladu s Nacionalnim električnim kodeksom i lokalnim kodeksima i propisima.
- Neispravan motor ili neispravno ožičenje mogu uzrokovati strujni udar koji može biti smrtonosan, bez obzira na to dodiruje li se motor izravno ili se struja provodi kroz stajaću vodu. Iz tog razloga, sigurna instalacija i rad zahtijevaju pravilno uzemljenje crpke na priključak za uzemljenje (uzemljenje) napajanja.
- Spojite vodič uzemljenja na vijak za uzemljenje u priključnoj kutiji, a zatim na prihvatljivu točku uzemljenja.
- U svim instalacijama spojite nadzemne metalne vodovodne instalacije na priključak za uzemljenje napajanja, kao što je opisano u članku 250-80 Nacionalnog električnog kodeksa.
Strujni udar
Smrt ili teška osobna ozljeda
- Spojite crpku na isti potencijal zaštitnog uzemljenja (PE) kao i motor ako su oba ležaja motora izoliranog tipa, kao što su keramički ležaji.
Provjerite napajanje kako biste bili sigurni da napon, faze i frekvencija odgovaraju onima crpke. Pravilan radni napon i druge električne informacije nalaze se na natpisnoj pločici motora. Ovi su motori dizajnirani za rad na - 10%/+ 10% nazivnog napona na natpisnoj pločici. Za motore s dvostrukim naponom, motor mora biti interno spojen da radi na naponu koji je najbliži 10% nazivnog napona, to jest, motor od 208 V mora biti ožičen prema dijagramu ožičenja od 208 V. Dijagram ožičenja može se naći na pločici pričvršćenoj na motor ili na naljepnici unutar poklopca priključne kutije.
Nemojte koristiti crpku ako su varijacije napona veće od -10%/+10%.
Motori
Grundfos CR crpke isporučuju se s robusnim, 2-polnim (3600 o/min), ODP (otvoreni protiv kapanja) ili TEFC (potpuno zatvoreni s ventilatorskim hlađenjem), NEMA C okvirnim motorima odabranim prema našim strogim specifikacijama.
Motori s drugim vrstama kućišta i za druge napone i frekvencije dostupni su po narudžbi.
CRN-SF crpke isporučuju se s IEC (metričkim) tipom motora s ležajem za obrnuti potisak.
Ako zamijenite crpku, ali zadržite motor koji je prethodno korišten na drugoj CR crpki, obavezno pročitajte odjeljak o održavanju motora za pravilno podešavanje visine spojke.
Ako instalirate crpku vani, pročitajte odjeljak o vanjskoj instalaciji.
Povezane informacije
Vanjska instalacija
Održavanje motora
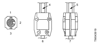
Položaj priključne kutije
Priključna kutija motora može se okrenuti u bilo koji od četiri položaja u koracima od 90°.
Da biste rotirali priključnu kutiju, uklonite četiri vijka koji pričvršćuju motor za crpku, ali nemojte uklanjati spojku. Okrenite motor u željeni položaj, a zatim vratite i čvrsto zategnite četiri vijka.

Položaji priključne kutije motora (pogled odozgo)
| Poz. | Opis |
| 1 | Položaj 9:00 |
| 2 | Položaj 12:00 |
| 3 | Izlaz |
| 4 | Položaj 3:00 |
| 5 | Standardni položaj priključne kutije (6:00) |
| 6 | Ulaz |
Poljsko ožičenje
Veličine vodiča moraju se temeljiti na svojstvima vodljivosti struje koje zahtijeva najnovije izdanje Nacionalnog električnog kodeksa ili lokalnih propisa. Izravno pokretanje (DOL) je odobreno zbog izuzetno kratkog vremena pokretanja motora i niskog momenta inercije crpke i motora. Ako DOL pokretanje nije prihvatljivo i potreban je smanjeni startni tok, upotrijebite auto transformator, otpornički starter ili soft starter. Predlažemo korištenje osiguračkog prekidača za svaku crpku u slučaju da su instalirane pričuvne crpke.
Zaštita motora
Jednofazni motori
Sve CR crpke s jednofaznim motorima, osim 10 KS, opremljene su višestrukim naponom, indukcijskim motorima s kaveznim rotorom koji uključuju ugrađenu toplinsku zaštitu.
Trofazni motori
CR crpke s trofaznim motorima moraju se koristiti s odgovarajućom veličinom i vrstom motorno-zaštitnog prekidača kako bi se osiguralo da je motor zaštićen od oštećenja od niskog napona, kvara faze, neravnoteže struje i preopterećenja.
Koristite prekidač odgovarajuće veličine s ručnim resetiranjem i kompenziranim dodatnim brzim okidanjem temperature okoline u sve tri faze. Zaštita od preopterećenja mora biti postavljena i podešena na struju punog opterećenja motora. Ni pod kojim okolnostima zaštita od preopterećenja ne smije biti postavljena na veću vrijednost od struje punog opterećenja prikazane na natpisnoj pločici motora. To će poništiti jamstvo.
Postavite zaštitu od preopterećenja za auto transformatore i otporničke startere u skladu s preporukama proizvođača.
Trofazni MLE motori (CRE crpke) zahtijevaju samo osigurače kao prekidač. Ne zahtijevaju motorno-zaštitni prekidač. Provjerite neravnotežu faza. Priložen je radni list. Pogledajte odjeljak o radnom listu za trofazne motore.
Standardna dopuštena neravnoteža faza je 5%.
Povezane informacije
Radni list za trofazne motore
CRN-SF
CRN-SF se obično koristi u seriji s opskrbnom crpkom. Budući da se maksimalni dopušteni ulazni tlak CRN-SF povećava sa 73 psi (kada je crpka isključena i tijekom pokretanja) na 365 psi (tijekom rada), upotrijebite upravljački uređaj za pokretanje CRN-SF crpke jednu sekundu prije pokretanja opskrbne crpke. Slično tome, CRNSF se mora zaustaviti jednu sekundu nakon zaustavljanja opskrbne crpke. Pogledajte vremensku liniju pokretanja CRN-SF u nastavku.

Pokretanje CRN-SF
| Poz. | Opis |
| 1 | VRIJEME |
| 2 | CRN-SF se pokreće |
| 3 | 1 ili više sekundi |
| 4 | Opskrbna crpka se pokreće |
| 5 | Obje crpke rade |
| 6 | Opskrbna crpka se zaustavlja |
| 7 | CRN-SF se zaustavlja |
Pokretanje proizvoda
Korozivne tekućine
Smrt ili teška tjelesna ozljeda
- Nosite osobnu zaštitnu opremu.
Toksične tekućine
Smrt ili teška tjelesna ozljeda
- Nosite osobnu zaštitnu opremu.
Vruća ili hladna tekućina
Manja ili umjerena tjelesna ozljeda
- Nosite osobnu zaštitnu opremu.
- Obratite pozornost na smjer otvora za odzračivanje prilikom punjenja pumpe tekućinom i odzračivanja.
- Pobrinite se da izlazna tekućina ne ozlijedi nikoga.
Napunite pumpu tekućinom i odzračite je prije pokretanja pumpe.
Obratite pozornost na smjer otvora za odzračivanje tijekom punjenja tekućinom i odzračivanja. Pobrinite se da izlazna tekućina ne ošteti motor ili druge komponente.
Ako pumpa radi na suho, ležajevi pumpe i brtva vratila mogu se oštetiti.
Punjenje
Za punjenje pumpe u zatvorenom sustavu ili otvorenom sustavu gdje je izvor vode iznad pumpe, zatvorite izolacijski ventil(e) pumpe i otvorite čep za punjenje na glavi pumpe. Pogledajte tri slike u nastavku.

Položaj čepova i premosnog ventila
| Poz. | Opis |
| 1 | Čep za ispuštanje |
| 2 | Premosni ventil |
| 3 | Ulaz |
| 4 | Čep za ispuštanje |
| 5 | Izlaz |
| 6 | Čep za odzračivanje CR, CRI, CRN 1s, 1, 3, 5, 10, 15, 20 CRT 2, 4, 8, 16 |

Položaj čepova CR, CRN 32, 45, 64
| Poz. | Opis |
| 1 | Čep za punjenje (Suprotna strana) |
| 2 | Ulaz |
| 3 | Čepovi za ispuštanje (G 1/2) s 1/4" NPT priključcima za mjerač/senzor |
| 4 | Čep za odzračivanje |
| 5 | Izlaz |

Čep za odzračivanje
| Poz. | Opis |
| 1 | Otpustite središnji čep za odzračivanje pumpe |
| 2 | Čep za odzračivanje |
U otvorenim sustavima gdje je razina vode ispod ulaza pumpe, ulazna cijev i pumpa moraju se napuniti tekućinom i odzračiti prije pokretanja pumpe.
- Zatvorite izlazni izolacijski ventil i uklonite čep za punjenje.
- Ulijte vodu kroz otvor za punjenje dok se ulazna cijev i pumpa potpuno ne napune tekućinom. Ako se ulazna cijev ne spušta prema dolje od pumpe, zrak se mora ispustiti tijekom punjenja pumpe.
- Vratite čep za punjenje i čvrsto ga zategnite.
Upute za pokretanje
- Postupno otvarajte izolacijski ventil u ulaznom vodu dok iz otvora za punjenje ne poteče stalan mlaz vode bez zraka.
- Zatvorite čep i čvrsto ga zategnite.
- Potpuno otvorite izolacijske ventile.
Za pumpe s Cool-Top®, pogledajte odjeljak o pokretanju pumpi s gornjim dijelom s zračnim hlađenjem.
Slijedite ove korake:
- Isključite napajanje.
- Provjerite je li pumpa napunjena i odzračena.
- Uklonite štitnik spojke i ručno okrenite vratilo pumpe kako biste provjerili da se slobodno okreće.
- Provjerite jesu li električni priključci u skladu sa shemom ožičenja na motoru.
- Uključite napajanje i promatrajte smjer rotacije. Gledano odozgo, pumpa bi se trebala okretati u smjeru suprotnom od kazaljke na satu (u smjeru kazaljke na satu za CRN-SF).
- Da biste promijenili smjer rotacije, prvo isključite napajanje.
- Na trofaznim motorima zamijenite bilo koje dvije faze napajanja. Na jednofaznim motorima pogledajte shemu ožičenja na natpisnoj pločici. Promijenite ožičenje prema potrebi.
- Ponovno uključite napajanje i provjerite ispravan smjer rotacije. Nakon što je smjer rotacije provjeren, ponovno isključite napajanje. Ne pokušavajte ponovno postaviti štitnike spojke dok je motor uključen. Vratite štitnik spojke ako je smjer rotacije ispravan. Kada su štitnici na mjestu, napajanje se može ponovno uključiti.
Motori se ne smiju pokretati bez opterećenja ili odvojeni od pumpe ni u jednom trenutku; doći će do oštećenja ležajeva motora.
Pumpa se ne smije pokretati prije punjenja ili odzračivanja pumpe. Pogledajte informacije o čepu za odzračivanje u odjeljku o punjenju. Pumpa nikada ne smije raditi na suho.
Za CR, CRI, CRN 1s do 5 preporučljivo je otvoriti premosni ventil tijekom pokretanja. Pogledajte informacije o položaju čepova i premosnog ventila u odjeljku o punjenju. Premosni ventil spaja ulaznu i izlaznu stranu pumpe, čime se olakšava postupak punjenja. Zatvorite premosni ventil kada je rad stabilan.
Povezane informacije
Punjenje
Pokretanje pumpe s gornjim dijelom s zračnim hlađenjem
Rad s proizvodom
Kontaminacija prilikom pumpanja pitke vode
Smrt ili teška tjelesna ozljeda
- Nemojte koristiti pumpu za pitku vodu ako su unutarnji dijelovi bili u kontaktu s česticama ili tvarima koje nisu prikladne za vodu namijenjenu ljudskoj potrošnji.
Buka u zraku
Smrt ili teška tjelesna ozljeda
- Nosite osobnu zaštitnu opremu.
Previsok tlak i curenje
Smrt ili teška tjelesna ozljeda
- Nemojte pokretati pumpu s zatvorenim izlaznim ventilom.
Vruća ili hladna površina
Manja ili umjerena tjelesna ozljeda
- Pobrinite se da nitko ne može slučajno doći u kontakt s vrućim ili hladnim površinama.
Vruća ili hladna tekućina
Manja ili umjerena tjelesna ozljeda
- Nosite osobnu zaštitnu opremu.
Radni parametri
CR višestupanjske centrifugalne pumpe instalirane u skladu s ovim uputama i dimenzionirane za ispravne performanse radit će učinkovito i pružati godine službe. Pumpe se podmazuju vodom i ne zahtijevaju vanjsko podmazivanje ili inspekciju. Motori mogu zahtijevati periodično podmazivanje kako je opisano u odjeljku o održavanju motora.
Ni pod kojim okolnostima pumpa ne bi trebala raditi dulje vrijeme bez protoka kroz pumpu. To može dovesti do oštećenja motora i pumpe zbog pregrijavanja. Ispravno dimenzionirani sigurnosni ventil mora biti instaliran kako bi omogućio dovoljnu cirkulaciju tekućine kroz pumpu kako bi se osiguralo odgovarajuće hlađenje i podmazivanje ležajeva i brtvi pumpe.
Povezane informacije
Održavanje motora
Ciklusi pumpe
Ciklusi pumpe moraju se provjeriti kako bi se osiguralo da se pumpa ne pokreće češće od sljedećeg maksimalnog broja pokretanja po satu:
WEG motori:
- 100 puta na sat na modelima od 1/3 do 1 KS
- 20 puta na sat na modelima od 1 1/2 do 20 KS
- 10 puta na sat na modelima od 20 do 150 KS
- 5 puta na sat na modelima od 200 do 300 KS.
Grundfos ML motori:
- 200 puta na sat na modelima od 1/3 do 5 KS
- 100 puta na sat na modelima od 7 1/2 do 15 KS
- 40 puta na sat na modelima od 20 do 30 KS.
Brzo cikličko ponavljanje glavni je uzrok preuranjenog kvara motora zbog pregrijavanja motora. Ako je potrebno, prilagodite regulator kako biste smanjili učestalost pokretanja i zaustavljanja.
Instalacije za napajanje kotla
Ako se pumpa koristi kao pumpa za napajanje kotla, provjerite može li pumpa isporučiti dovoljno vode u cijelom rasponu isparavanja i tlaka. Kada se koriste modulacijski upravljački ventili, mora se ugraditi premosnica oko pumpe kako bi se osiguralo podmazivanje pumpe. Pogledajte odjeljak o minimalnim ulaznim tlakovima.
Povezane informacije
Minimalni ulazni tlakovi
Zaštita od smrzavanja
Ako je pumpa instalirana u području gdje može doći do smrzavanja, pumpa i sustav moraju se isprazniti tijekom niskih temperatura kako bi se izbjegla oštećenja. Da biste ispraznili pumpu, zatvorite izolacijske ventile, uklonite čep za punjenje i čep za ispuštanje na dnu pumpe. Nemojte vraćati čepove dok se pumpa ponovno ne koristi. Uvijek zamijenite čep za ispuštanje originalnim ili točnom zamjenom. Nemojte zamijeniti standardnim čepom. Doći će do unutarnje recirkulacije, smanjujući izlazni tlak i protok.
Servisiranje proizvoda
Električni udar
Smrt ili teška tjelesna ozljeda
- Prije početka bilo kakvog rada na proizvodu, provjerite je li napajanje isključeno i da se ne može slučajno uključiti.
Padajući predmeti
Smrt ili teška tjelesna ozljeda
- Slijedite upute za podizanje.
- Koristite opremu za podizanje koja je odobrena za težinu proizvoda.
- Osobe moraju držati sigurnu udaljenost od proizvoda tijekom operacija podizanja.
- Nosite osobnu zaštitnu opremu.
- Držite proizvod u stabilnom i fiksnom položaju tijekom rada na njemu.
Za upute za podizanje, pogledajte odjeljak o uputama za podizanje.
Korozivne tekućine
Smrt ili teška tjelesna ozljeda
- Nosite osobnu zaštitnu opremu.
Toksične tekućine
Smrt ili teška tjelesna ozljeda
- Nosite osobnu zaštitnu opremu.
Kontaminacija prilikom pumpanja pitke vode
Smrt ili teška tjelesna ozljeda
- Prije nego što se pumpa koristi za opskrbu pitkom vodom, temeljito isperite pumpu čistom vodom.
- Nemojte koristiti pumpu za pitku vodu ako su unutarnji dijelovi bili u kontaktu s česticama ili tvarima koje nisu prikladne za vodu namijenjenu ljudskoj potrošnji.
- Uvijek koristite originalne rezervne dijelove prikladne za pitku vodu.
Vruća ili hladna tekućina
Manja ili umjerena tjelesna ozljeda
- Nosite osobnu zaštitnu opremu.
Vruća ili hladna površina
Manja ili umjerena tjelesna ozljeda
- Pobrinite se da nitko ne može slučajno doći u kontakt s vrućim ili hladnim površinama.
Povezane informacije
Podizanje proizvoda
Kontaminirani proizvodi
Biološka opasnost
Manja ili umjerena tjelesna ozljeda
- Temeljito isperite proizvod vodom i isperite dijelove proizvoda u vodi nakon rastavljanja.
Proizvod će biti klasificiran kao kontaminiran ako je korišten za tekućinu koja je štetna za zdravlje ili toksična. Ako zatražite od Grundfosa da servisira proizvod, kontaktirajte Grundfos s pojedinostima o pumpanoj tekućini prije nego što vratite proizvod na servis. U suprotnom, Grundfos može odbiti prihvatiti proizvod na servis.
Svaka prijava za servis mora sadržavati pojedinosti o pumpanoj tekućini.
Očistite proizvod na najbolji mogući način prije nego što ga vratite. Troškove povrata proizvoda snosi kupac.
Održavanje pumpe
Strujni udar
Smrt ili ozbiljna tjelesna ozljeda
- Prije početka bilo kakvog rada na proizvodu, provjerite je li napajanje isključeno i je li nemoguće slučajno ga uključiti.
Padajući predmeti
Smrt ili ozbiljna tjelesna ozljeda
- Slijedite upute za podizanje.
- Koristite opremu za podizanje koja je odobrena za težinu proizvoda.
- Osobe moraju držati sigurnu udaljenost od proizvoda tijekom operacija podizanja.
- Nosite osobnu zaštitnu opremu.
Za upute za podizanje pogledajte odjeljak o uputama za podizanje.
Ovisno o uvjetima i vremenu rada, redovito provjeravajte sljedeće:
- Provjerite ispunjava li pumpa tražene performanse i radi li glatko i tiho.
- Provjerite ima li curenja, osobito na brtvi vratila.
- Provjerite ne pregrijava li se motor.
- Uklonite i očistite sve cjediljke ili filtre u sustavu.
- Provjerite radi li funkcija isključivanja zaštite od preopterećenja motora.
- Provjerite rad svih upravljačkih elemenata.
- Ako pumpa ne radi neobično dugo, održavajte pumpu u skladu s ovim uputama. Osim toga, ako se pumpa ne ispušta, vratilo pumpe mora se ručno okretati ili pokretati kratko vrijeme u mjesečnim intervalima.
- U primjenama za teške uvjete rada, životni vijek pumpe može se produžiti poduzimanjem jedne od sljedećih radnji:
- Ispraznite pumpu nakon svake uporabe.
- Isperite pumpu vodom ili drugom tekućinom koja je kompatibilna s materijalima pumpe i procesnom tekućinom.
- Rastavite pumpu i temeljito isperite ili operite komponente u kontaktu s pumpanom tekućinom vodom ili drugom tekućinom koja je kompatibilna s materijalima pumpe i procesnom tekućinom.
Ako pumpa ne radi ili dođe do gubitka performansi, pogledajte odjeljak o pronalaženju grešaka.
Povezane informacije
Podizanje proizvoda
Pronalaženje grešaka
Održavanje motora
Strujni udar
Smrt ili ozbiljna tjelesna ozljeda
- Prije početka bilo kakvog rada na proizvodu, provjerite je li napajanje isključeno i je li nemoguće slučajno ga uključiti.
Padajući predmeti
Smrt ili ozbiljna tjelesna ozljeda
- Slijedite upute za podizanje.
- Koristite opremu za podizanje koja je odobrena za težinu proizvoda.
- Osobe moraju držati sigurnu udaljenost od proizvoda tijekom operacija podizanja.
- Nosite osobnu zaštitnu opremu.
Za upute za podizanje pogledajte odjeljak o uputama za podizanje.
Instalaciju, rad i održavanje ove opreme smiju obavljati samo kvalificirane osobe.
Povezane informacije
Podizanje proizvoda
Pregled motora
Pregledajte motor otprilike svakih 500 sati rada ili svaka tri mjeseca, ovisno o tome što se prije dogodi. Održavajte motor čistim i ventilacijske otvore slobodnima.
Prođite kroz sljedeće korake tijekom svakog pregleda:
- Provjerite je li motor čist. Provjerite je li unutrašnjost i vanjski dio motora slobodan od prljavštine, ulja, masti, vode i slično. Masni ostaci, papir, pulpa, tekstilna vlakna i slično mogu se nakupiti i blokirati ventilaciju motora. Ako motor nije pravilno ventiliran, može doći do pregrijavanja i uzrokovati rani kvar motora.
- Periodički koristite ohmmetar kako biste osigurali da je izolacija namota u redu. Zabilježite očitanja ohmmetra i odmah istražite svaki značajan pad izolacijskog otpora.
- Provjerite sve električne priključke kako biste bili sigurni da su čvrsto zategnuti.
Podmazivanje motora
Električni motori su prethodno podmazani iz tvornice i ne zahtijevaju dodatno podmazivanje pri pokretanju. Motori bez vanjskih mazalica imaju zatvorene ležajeve koji se ne mogu ponovno podmazati. Motori s mazalicama smiju se podmazivati samo odobrenim vrstama masti. Nemojte prekomjerno podmazivati ležajeve. Prekomjerno podmazivanje uzrokovat će povećanu toplinu ležaja i može rezultirati kvarom ležaja ili motora. Nemojte miješati mast na bazi ulja i silikonsku mast u ležajevima motora.
Mast za ležajeve s vremenom će izgubiti svoju sposobnost podmazivanja. Sposobnost podmazivanja masti prvenstveno ovisi o vrsti masti, veličini ležajeva, brzini kojom ležajevi rade i težini uvjeta rada.
Dobri rezultati mogu se postići ako se sljedeće preporuke koriste u vašem programu održavanja. Također treba napomenuti da višestupanjske pumpe, pumpe koje rade lijevo od krivulje performansi i određeni rasponi pumpi mogu imati veća aksijalna opterećenja. Pumpe s visokim aksijalnim opterećenjima moraju se podmazivati prema sljedećoj razini servisnog intervala.
Uklonite čep za izlaz masti prije dodavanja nove masti.
Preporučeno mazivo
| Težina rada | Temperatura okoline (maks.) | Okoliš | Odobrene vrste masti |
| Standardno | 104°F (40°C) | Čisto, malo korozije | GRUNDFOS ML motori podmazani su za cijeli životni vijek, ili će vrsta masti biti navedena na natpisnoj pločici. WEG motori podmazani su s Polyrex EM (Exxon Mobile). |
| Teško | 122°F (50°C) | Umjerena prljavština, korozija | |
| Ekstremno | > 122°F (50°C) ili izolacija klase H | Jaka prljavština, abrazivna prašina, korozija |
Tablica podmazivanja (za motore s mazalicama)
Novi motori koji su bili pohranjeni godinu dana ili više moraju se ponovno podmazati prema sljedećoj tablici:
| Veličina okvira NEMA (IEC) | Servisni intervali [sati] | Težina masti [oz (grami)] | Volumen masti [in 3 (čajne žličice)] | ||
| Standardno opterećenje | Teško opterećenje | Ekstremno opterećenje | |||
| Do i uključujući 210 (132) | 5500 | 2750 | 550 | 0,30 (8,4) | 0,6 (2) |
| Preko 210 do i uključujući 280 (180) | 3600 | 1800 | 360 | 0,61 (17,4) | 1,2 (3,9) |
| Preko 280 do i uključujući 360 (225) | 2200 | 1100 | 220 | 0,81 (23,1) | 1,5 (5,2) |
| Preko 360 (225) | 2200 | 1100 | 220 | 2,12 (60,0) | 4,1 (13,4) |
Postupak podmazivanja
Održavajte mast bez prljavštine kako biste izbjegli oštećenje ležajeva motora. Ako je okoliš iznimno prljav, obratite se tvrtki Grundfos, proizvođaču motora ili ovlaštenom servisnom centru za dodatne informacije.
Nemojte miješati različite vrste masti.
- Očistite sve mazalice. Ako motor nema mazalice, ležaj je zatvoren i ne može se podmazivati izvana.
- Ako je motor opremljen čepom za izlaz masti, uklonite ga. To će omogućiti da se stara mast istisne novom masti. Ako je motor zaustavljen, dodajte preporučenu količinu masti. Ako se motor treba podmazivati dok radi, dodajte nešto veću količinu masti.
- Dodajte mast polako, uzimajući otprilike jednu minutu dok se nova mast ne pojavi na otvoru vratila u prirubnici ili čepu za izlaz masti. Nikada nemojte dodavati više od 1 1/2 puta količine masti prikazane u tablici podmazivanja.
Ako se nova mast ne pojavi na otvoru vratila ili izlazu za mast, izlazni prolaz može biti blokiran. Obratite se servisnom centru Grundfos ili certificiranoj radionici za motore.
- Ostavite motore opremljene čepom za izlaz masti da rade 20 minuta prije nego što vratite čep.
Zamjena motora
Strujni udar
Smrt ili teške tjelesne ozljede
- Prije početka bilo kakvog rada na proizvodu, provjerite je li napajanje isključeno i da se ne može slučajno uključiti.
Padajući predmeti
Smrt ili teške tjelesne ozljede
- Slijedite upute za dizanje.
- Koristite opremu za dizanje koja je odobrena za težinu proizvoda.
- Osobe moraju držati sigurnu udaljenost od proizvoda tijekom postupaka dizanja.
- Nosite osobnu zaštitnu opremu.
Za upute za dizanje pogledajte odjeljak o uputama za dizanje.
Motori koji se koriste na CR pumpama posebno su odabrani prema našim strogim specifikacijama. Zamjenski motori moraju biti iste veličine okvira, moraju biti opremljeni istim ili boljim ležajevima i imati isti servisni faktor. Ako se ne slijede ove preporuke, može doći do preranog kvara motora.
Ako je motor oštećen zbog kvara ležaja, gorenja ili električnog kvara, pridržavajte se sljedećih uputa o tome kako ukloniti motor i kako montirati zamjenski motor.
Povezani podaci
Dizanje proizvoda
Rastavljanje
Postupite na sljedeći način:
- Odspojite kabele napajanja s motora. Uklonite zaštitne elemente spojnice.
Za CR 1s, 1, 3, 5, 10, 15 i 20: Nemojte olabaviti tri vijka s šesterokutnom glavom koji pričvršćuju brtvu vratila.
- Upotrijebite odgovarajući metrički šesterokutni ključ za otpuštanje četiri vijka u spojnici. U potpunosti uklonite polovice spojnice. Na CR 1s-CR 20, klin vratila može se ostaviti u osovini pumpe. CR, CRN 32, 45 i 64 nemaju klin vratila.
- Upotrijebite ključ odgovarajuće veličine da olabavite i uklonite četiri montažna vijka koji spajaju motor i pumpu.
- Podignite motor ravno prema gore dok osovina ne očisti postolje motora.
Sastavljanje
Postupite na sljedeći način:
- Uklonite klin s osovine motora, ako postoji, i bacite ga.
- Temeljito očistite površine prirubnica za montažu motora i pumpe. Motor i osovina moraju biti čisti od svih ulja ili masti i drugih onečišćenja gdje se spojnica pričvršćuje. Postavite motor na vrh pumpe.
- Okrenite priključnu kutiju u željeni položaj rotiranjem motora.
- Umetnite četiri montažna vijka, a zatim ih zategnite dijagonalno i ravnomjerno:
- Za vijke 3/8" (1/2 - 2 HP), zakretni moment = 17 ft-lb.
- Za vijke 1/2" (3 - 40 HP), zakretni moment = 30 ft-lb.
- Za vijke 5/8" (50 - 100 HP), zakretni moment = 59 ft-lb.
- Slijedite upute za određeni model pumpe u odjeljku o CR 1s, 1, 3 i 5 i nadalje do odjeljka o CR, CRN 32, 45 i 64.
Povezani podaci
CR 1s, 1, 3 i 5
CR 10, 15 i 20
CRT 2, 4, 8 i [1]
CR, CRN 32, 45 i 64
Specifikacije zakretnog momenta
Specifikacije zakretnog momenta za CR, CRI, CRN 1s, 1, 3, 5, 10, 15 i 20, CRT 2, 4, 8 i 16
| Veličina vijka spojnice | Minimalni zakretni moment |
| M6 | 10 ft-lb |
| M8 | 23 ft-lb |
| M10 | 46 ft-lb |
16.2.2 CR 1s, 1, 3 i 5
- Umetnite klin vratila u otvor vratila.
- Montirajte polovice spojnice na osovinu i klin osovine.
- Ugradite vijke spojnice i ostavite ih labave. Provjerite jesu li razmaci s obje strane spojnice ravnomjerni i je li utor klina osovine motora centriran u spojnici. Za više informacija o podešavanju spojnice, pogledajte odjeljak o sastavljanju CR 10, 15, 20.
- Zategnite vijke na ispravan zakretni moment. Pogledajte odjeljak o specifikacijama zakretnog momenta.
Povezani podaci
CR 10, 15 i 20
CR 10, 15 i 20
- Umetnite klin vratila u otvor vratila.
- Umetnite plastični odstojnik brtve vratila ispod ovratnika brtve vratila.
- Montirajte polovice spojnice na osovinu i klin osovine.
- Ugradite vijke spojnice i ostavite ih labave. Provjerite jesu li razmaci s obje strane spojnice ravnomjerni i je li utor klina osovine motora centriran u polovici spojnice kao što je prikazano na slici ispod.
- Zategnite vijke na ispravan zakretni moment. Pogledajte odjeljak o specifikacijama zakretnog momenta.
- Uklonite plastični odstojnik brtve vratila i objesite ga s unutarnje strane štitnika spojnice.

Podešavanje spojnice sve CR, CRI, CRN, CRT
| Poz. | Opis |
| 1 | Ispravno |
| 2 | Gornji pogled |
| 3 | Razmak između polovica spojnice |
| 4 | Utor klina |
| 5 | Utor klina |
| 6 | Ispravno |
| 7 | Nije ispravno |
Povezani podaci
Specifikacije zakretnog momenta
CRT 2, 4, 8 i 16
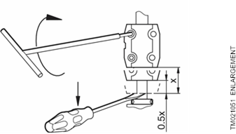
- Montirajte polovice spojnice. Provjerite je li klin osovine smješten u osovini pumpe.
- Vratite vijke s poklopcem labavo u polovice spojnice.
- Pomoću velikog odvijača podignite osovinu pumpe postavljanjem vrha odvijača ispod spojnice i pažljivim podizanjem spojnice do najviše točke.
![]()
Podešavanje spojnice CRT 2, 4, 8 i 16
Osovina se može podići samo približno 0,20 inča (5 mm).
- Sada spustite osovinu na pola puta natrag udaljenost koju ste upravo podigli i zategnite vijke spojnice (prstom) pazeći da razmak spojnice bude jednak s obje strane. Kada su vijci dovoljno zategnuti da drže spojnicu na mjestu, križno zategnite vijke (pogledajte specifikacije zakretnog momenta).
![]()
Razmak za podešavanje spojnice CRT 2, 4, 8 i 16
CR, CRN 32, 45 i 64
- Provjerite je li osovina pumpe spuštena do kraja. Zategnite vijke za podešavanje na mehaničkoj brtvi vratila.
- Postavite plastičnu vilicu za podešavanje ispod ovratnika patrone.
![]()
Podešavanje spojnice CR, CRN 32, 45 i 64 - Postavite spojnicu na osovinu tako da vrh osovine pumpe bude u ravnini s dnom komore spojnice.
![]()
Položaj osovine pumpe tijekom podešavanja spojnice, CR, CRN 32, 45 i 64
Kako biste izbjegli oštećenje polovica spojnice, provjerite je li utor klina osovine motora centriran u polovici spojnice kao što je prikazano u odjeljku o sastavljanju CR 10, 15, 20.
- Podmažite vijke spojnice smjesom za sprječavanje zaglavljivanja i podmazivanje. Zategnite vijke spojnice (prstom) pazeći da razmak spojnice bude jednak s obje strane i da utor klina osovine motora bude centriran u polovici spojnice kao što je prikazano u odjeljku o sastavljanju CR 10, 15, 20. Kada su vijci dovoljno zategnuti da drže spojnicu na mjestu, križno zategnite vijke.
- Zategnite vijke spojnice na 62 ft-lbs (75 i 100 HP motora na 74 ft-lbs). Uklonite vilicu za podešavanje ispod ovratnika patrone i vratite je na mjesto za pohranu.
![]()
Pohrana vilice za podešavanje CR, CRN 32, 45 i 64 - Provjerite jesu li razmaci između polovica spojnice jednaki. Otpustite i ponovno podesite, ako je potrebno.
- Provjerite može li se osovina pumpe okretati ručno. Ako se osovina ne može okretati ili se zaglavi, rastavite i provjerite neusklađenost.
- Napunite pumpu.
- Slijedite shemu ožičenja na naljepnici motora za ispravnu kombinaciju ožičenja motora koja odgovara vašem naponu napajanja. Nakon što je to potvrđeno, ponovno spojite kabele napajanja na motor.
- Provjerite smjer rotacije kratkim pokretanjem motora. Smjer rotacije mora biti s lijeva na desno (u smjeru suprotnom od kazaljke na satu) kada se gleda izravno u spojnicu.
- Isključite napajanje, a zatim montirajte štitnike spojnice. Kada su štitnici spojnice montirani, napajanje se može ponovno uključiti.
Povezani podaci
CR 10, 15 i 20
Popis dijelova
Grundfos nudi opsežan popis dijelova za svaki model CR pumpe. Popis dijelova obično pokriva sljedeće stavke:
- dijagram dijelova pumpe koje preporučujemo da imate pri ruci za buduće održavanje
- popis unaprijed zapakiranih servisnih kompleta koji pokrivaju komponente pumpe koje su najvjerojatnije izložene trošenju tijekom vremena
- potpuni setovi komora potrebni za zamjenu rotirajućeg sklopa svakog modela.
Ovi popisi dijelova dostupni su zasebno iz Grundfosovog skladišta literature ili kao set s opsežnim uputama za servisiranje u Grundfos CR servisnim priručnicima.

Unaprijed zapakirani kompleti setova komora

Unaprijed zapakirani kompleti prirubnica
Rezervni dijelovi
Grundfos nudi opsežan popis rezervnih dijelova za CR pumpe. Pogledajte servisnu dokumentaciju na product-selection.grundfos.com.
Preliminarna električna ispitivanja
Strujni udar
Smrt ili teške ozljede
- Prije početka bilo kakvog rada na proizvodu, provjerite je li napajanje isključeno i da se ne može slučajno uključiti.
- Preporučujemo nošenje gumenih rukavica i čizama, te provjerite jesu li metalne priključne kutije i motori uzemljeni prije bilo kakvog rada.
Napon napajanja
Kako izmjeriti napon napajanja
Upotrijebite voltmetar, postavljen na odgovarajuću ljestvicu, za mjerenje napona na priključnoj kutiji pumpe ili pokretaču. Na jednofaznim jedinicama, izmjerite između strujnih vodova L1 i L2 (ili L1 i N za jedinice od 115 V). Na trofaznim jedinicama, izmjerite između:
- Strujni vodovi L1 i L2
- Strujni vodovi L2 i L3
- Strujni vodovi L3 i L1.

Mjerenje napona napajanja
Značenje mjerenja napona napajanja
Kada je motor pod opterećenjem, napon mora biti unutar + 10 %/10 % napona na natpisnoj pločici. Veće varijacije napona mogu uzrokovati oštećenje namota. Velike varijacije napona ukazuju na loše električno napajanje i pumpa se ne smije koristiti dok se te varijacije ne isprave. Ako napon stalno ostaje visok ili nizak, motor se mora promijeniti na ispravan napon napajanja.
Struja
Kako izmjeriti struju
Upotrijebite ampermetar, postavljen na odgovarajuću ljestvicu, za mjerenje struje na svakom strujnom vodu na priključnoj kutiji ili pokretaču. Pogledajte natpisnu pločicu motora za informacije o potrošnji ampera. Struja se mora mjeriti kada pumpa radi pri konstantnom izlaznom tlaku.

Mjerenje struje
Značenje mjerenja struje
Ako potrošnja ampera premašuje navedene ampere faktora usluge (SFA) ili ako je neravnoteža struje veća od 5 % između svake faze na trofaznim jedinicama, provjerite sljedeće greške:
| Greška | Rješenje |
| Izgoreni kontakti u prekidaču zaštite motora. | Zamijenite kontakte. |
| Labavi terminali u prekidaču zaštite motora ili priključnoj kutiji ili eventualno neispravan vod. | Zategnite terminale ili zamijenite vod. |
| Prenapona ili prenizak napon napajanja. | Ponovno uspostavite ispravan napon napajanja. |
| Namoti motora su kratko spojeni ili uzemljeni. (Provjerite otpore namota i izolacije). | Uklonite uzrok kratkog spoja ili uzemljenja. |
| Pumpa je oštećena uzrokujući preopterećenje motora. | Zamijenite neispravne dijelove pumpe. |
Otpor izolacije
Kako izmjeriti otpor izolacije
Isključite napajanje i odspojite strujne vodove u priključnoj kutiji pumpe. Pomoću ohmmetra ili megaohmetra, postavite birač ljestvice na R x 100K i podesite mjerač na nulu. Izmjerite i zabilježite otpor između svakog od terminala i uzemljenja.

Mjerenje otpora izolacije
Značenje mjerenja otpora izolacije
Motori svih HP-a, napona, faza i ciklusa imaju istu vrijednost otpora izolacije. Vrijednosti otpora za nove motore moraju premašiti 1.000.000 ohma. Ako ne premašuju, motor se mora popraviti ili zamijeniti.
Pokretanje pumpe sa zračnim hlađenjem
Pumpa se ne smije pokretati dok se ne napuni tekućinom i ne odzrači.
Vruća ili hladna tekućina Manje ili umjerene ozljede
- Nosite osobnu zaštitnu opremu.

- Obratite pozornost na smjer otvora za odzračivanje kada punite pumpu tekućinom i odzračujete je.
- Pobrinite se da nitko ne bude ozlijeđen izlaznom tekućinom.
Preporučujemo da spojite odvodnu cijev na otvor za odzračivanje od 1/2" kako biste vruću vodu ili paru odveli na sigurno mjesto.
- Gornji dio sa zračnim hlađenjem smije se pokretati samo s hladnom tekućinom. Zatvorite izolacijski ventil na izlaznoj strani i otvorite izolacijski ventil na ulaznoj strani pumpe.
Poz. Opis 1 Otvoreno 2 Zatvoreno - Uklonite čep za punjenje iz komore sa zračnim hlađenjem (poz. 2) i polako napunite komoru tekućinom. Kada je komora potpuno napunjena tekućinom, vratite čep za punjenje i dobro ga zategnite.
![]()
- Otvorite izolacijski ventil na izlaznoj strani pumpe. Ventil će možda trebati djelomično zatvoriti kada se pumpa pokrene ako nema protutlaka (tj. kotao nije pod tlakom).
Poz. Opis 1 Otvoreno - Pokrenite pumpu i provjerite smjer vrtnje. Pogledajte ispravan smjer vrtnje pumpe na poklopcu ventilatora motora. Ako je smjer vrtnje pogrešan, zamijenite bilo koja dva ulazna strujna voda. Nakon 3 do 5 minuta, otvor za odzračivanje se napunio tekućinom. Tijekom pokretanja hladne pumpe s vrućom tekućinom, normalno je da nekoliko kapi tekućine curi iz čahure.
![]()
Pronalaženje grešaka
Strujni udar
Smrt ili teška tjelesna ozljeda
- Prije početka bilo kakvog rada na proizvodu, provjerite je li napajanje isključeno i da se ne može slučajno uključiti.
Crpka ne radi
| Uzrok | Rješenje |
| Nema napajanja motora. |
|
| Osigurači su pregorjeli ili je iskočio prekidač. |
|
| Zaštita od preopterećenja startera motora izgorjela ili iskočila. |
|
| Starter se ne aktivira. |
|
| Neispravni upravljački uređaji. |
|
| Motor je neispravan. |
|
| Neispravan kondenzator (jednofazni motori). |
|
| Crpka je blokirana ili zaplijenjena. |
|
Crpka radi, ali sa smanjenim performansama ili ne isporučuje vodu
| Uzrok | Rješenje |
| Pogrešan smjer rotacije. |
|
| Crpka nije napunjena ili je zračna. |
|
| Cjedila, nepovratni ventil ili podni ventili su začepljeni. |
|
| Usisni uspon je prevelik. |
|
| Ulazne i/ili izlazne cijevi propuštaju. (Crpka se okreće unatrag kad se isključi) |
|
| Crpka je istrošena. |
|
| Radno kolo crpke ili vodeća lopatica su začepljeni. |
|
| Ugrađen je pogrešan čep za ispuštanje. |
|
| Nepravilna postavka spojke. |
|
Crpka se prečesto uključuje i isključuje
| Uzrok | Rješenje |
| Tlačni prekidač nije pravilno podešen ili je neispravan. |
|
| Kontrola razine nije pravilno podešena ili je neispravna. |
|
| Nedovoljno punjenje zrakom ili propuštanje spremnika ili cijevi. |
|
| Spremnik je premalen. |
|
| Crpka je prevelika. |
|
Osigurači pregore ili iskoče prekidači ili releji preopterećenja
| Uzrok | Rješenje |
| Spremnik je premalen. |
|
| Zaštita od preopterećenja motora postavljena je prenisko. |
|
| Trofazna struja je neuravnotežena. |
|
| Motor je kratko spojen ili uzemljen. |
|
| Ožičenje ili spojevi su neispravni. |
|
| Crpka je blokirana ili zaplijenjena. |
|
| Neispravan kondenzator (jednofazni motori). |
|
| Uređaji za zaštitu od preopterećenja motora na višoj temperaturi okoline od motora. |
|
Radni list za trofazne motore
U nastavku se nalazi radni list za izračunavanje neravnoteže struje na trofaznom priključku. Koristite izračune u nastavku kao vodič.
Neravnoteža struje ne smije prelaziti 5% pri opterećenju faktora usluge ili 10% pri nazivnom ulaznom opterećenju. Ako se neravnoteža ne može ispraviti okretanjem vodova, mora se locirati i ispraviti izvor neravnoteže. Ako na tri moguća priključka noga najudaljenija od prosjeka ostaje na istom vodu napajanja, većina neravnoteže dolazi iz izvora napajanja. Međutim, ako se očitanje najudaljenije od prosjeka pomiče s istim vodom motora, primarni izvor neravnoteže je na "strani motora" startera. U ovom slučaju razmislite može li uzrok biti oštećen kabel, nevezani spoj kabela, loš spoj ili neispravan namotaj motora.

Preuzmi priručnik
Ovdje možete preuzeti punu pdf verziju priručnika, koja može sadržavati dodatne sigurnosne upute, informacije o jamstvu, FCC pravila, itd.
Preuzmi Priručnik za Grundfos CR / CRI / CRN / CRT seriju








