Black & Decker KS531 (CD300) - Manual de ferăstrău vertical
- 1 INSTRUCȚIUNI DE SIGURANȚĂ
- 2 IZOLAȚIE DUBLĂ
- 3 SIGURANȚA ELECTRICĂ
- 4 ÎNLOCUIREA PRIZEI DE ALIMENTARE (NUMAI ÎN UK)
- 5 ÎNLOCUIREA PRIZEI DE ALIMENTARE
- 6 CABLU PRELUNGITOR
- 7 CARACTERISTICI
- 8 MONTAREA LAMEI
- 9 ROLA DE SPRIJIN A LAMEI
- 10 OPERAREA FIERĂSTRĂULUI DVS. VERTICAL
- 11 REGLAREA TALPEI FIERĂSTRĂULUI PENTRU TĂIERE UNGHIULARĂ
- 12 EXTRACȚIA PRAFULUI
- 13 SFATURI UTILE
- 14 SCULE NEDORITE ȘI MEDIUL
- 15 GARANȚIA BLACK & DECKER
- 16 SERVICIUL POST-VÂNZARE PENTRU PRODUSUL BLACK & DECKER
- 17 POLITICA DE SERVICIU POST-VÂNZARE
- 18 ACCESORII
- 19 DATE TEHNICE
- 20 DECLARAȚIE DE CONFORMITATE CE
- 21 Descărcați manualul
- 22 În alte limbi

INSTRUCȚIUNI DE SIGURANȚĂ
Când utilizați scule electrice, trebuie luate întotdeauna următoarele măsuri de siguranță de bază pentru a reduce riscul de incendiu, șoc electric și vătămare corporală. Citiți toate aceste instrucțiuni înainte de a încerca să utilizați produsul și salvați acest manual.
Pentru o funcționare sigură:
- Păstrați zona de lucru curată. Zonele și băncile aglomerate invită la accidente.
- Luați în considerare mediul zonei de lucru. Nu expuneți scula electrică la ploaie și nu o utilizați în locuri umede sau ude. Păstrați zona de lucru bine iluminată. Nu utilizați scula electrică acolo unde există riscul de a provoca incendiu sau explozie.
- Protejați-vă împotriva șocurilor electrice. Evitați contactul corporal, acolo unde este posibil, cu suprafețe împământate sau legate la pământ (de exemplu, țevi, radiatoare, aragazuri și frigidere).
- Țineți copiii la distanță. Nu lăsați vizitatorii să atingă scula sau cablul prelungitor. Toți vizitatorii trebuie ținuți departe de zona de lucru.
- Depozitați sculele inactive. Când nu sunt utilizate, sculele trebuie depozitate într-un loc uscat, înalt sau încuiat, la îndemâna copiilor.
- Nu forțați scula. Va face treaba mai bine și mai sigur la rata pentru care a fost destinată.
- Utilizați scula potrivită. Nu forțați sculele sau accesoriile mici să facă treaba unei scule grele. Nu utilizați scula în scopuri neintenționate; de exemplu, nu utilizați un ferăstrău circular pentru a tăia ramuri de copaci sau bușteni.
- Îmbrăcați-vă corespunzător. Nu purtați haine largi sau bijuterii, deoarece pot fi prinse în părțile în mișcare. Mănușile de cauciuc și încălțămintea antiderapantă sunt recomandate atunci când lucrați în aer liber. Purtați o acoperire de protecție pentru păr pentru a conține părul lung.
- Utilizați ochelari de protecție. Utilizați și o mască de față sau de praf, dacă operațiunea este prăfuită sau dacă scula este utilizată în spații închise.
- Conectarea echipamentului de extracție a prafului. Dacă sunt furnizate dispozitive pentru conectarea extracției și colectării prafului, asigurați-vă că acestea sunt conectate și utilizate corect, în special în zonele închise.
- Nu abuzați de cablu. Nu transportați niciodată scula de cablu și nu trageți de el pentru a o deconecta de la priză. Țineți cablul departe de căldură, ulei și margini ascuțite.
- Asigurați lucrarea. Utilizați cleme sau o menghină pentru a ține lucrarea. Este mai sigur decât utilizarea unei mâini și eliberează ambele mâini pentru a opera scula.
- Nu vă întindeți prea mult. Mențineți o poziție și un echilibru adecvat în orice moment.
- Întrețineți scula cu grijă. Păstrați o sculă de tăiere ascuțită și curată pentru o performanță mai bună și mai sigură. Urmați instrucțiunile pentru lubrifiere și schimbarea accesoriilor. Inspectați periodic cablul sculei și, dacă este deteriorat, reparați-l de către un centru de service autorizat. Inspectați periodic cablul prelungitor și înlocuiți-l dacă este deteriorat. Păstrați mânerele uscate, curate și fără ulei și grăsime.
- Deconectați scula când nu este utilizată, înainte de service și când schimbați accesorii precum lame, biți și freze.
- Îndepărtați cheile de reglare și cheile fixe. Formați-vă obiceiul de a verifica dacă cheile și cheile de reglare sunt îndepărtate de pe sculă și înlocuite în zona de depozitare înainte de a porni.
- Evitați pornirea neintenționată. Nu transportați o sculă conectată cu un deget pe comutator. Asigurați-vă că comutatorul este oprit când conectați.
- Utilizați un cablu prelungitor de exterior. Când o sculă este utilizată în aer liber, utilizați numai un cablu prelungitor destinat utilizării în aer liber și marcat ca atare.
- Rămâneți alert. Urmăriți ce faceți, folosiți bunul simț și nu utilizați scula când sunteți obosit.
- Verificați piesele deteriorate. Înainte de utilizarea ulterioară a sculei, o protecție sau altă piesă deteriorată trebuie verificată cu atenție pentru a determina dacă va funcționa corect și își va îndeplini funcția prevăzută. Verificați alinierea pieselor în mișcare, funcționarea liberă a pieselor în mișcare, ruperea pieselor, montarea și orice alte condiții care pot afecta funcționarea acesteia. O protecție sau altă piesă deteriorată trebuie reparată sau înlocuită corespunzător de către un centru de service autorizat, cu excepția cazului în care se indică altfel în manualul produsului. Solicitați înlocuirea comutatoarelor defecte de către un centru de service autorizat. Nu utilizați scula dacă comutatorul nu o pornește și nu o oprește.
Utilizarea oricărui accesoriu sau atașament, altul decât cel recomandat în manualul produsului, poate prezenta un risc de vătămare corporală.- Solicitați repararea sculei de către o persoană calificată. Scula electrică este în conformitate cu cerințele de siguranță relevante. Reparațiile trebuie efectuate numai de persoane calificate care utilizează piese de schimb originale, altfel, acest lucru poate duce la un pericol considerabil pentru utilizator.
Salvați aceste instrucțiuni!
IZOLAȚIE DUBLĂ
Scula este dublu izolată. Aceasta înseamnă că toate părțile metalice externe sunt izolate electric de sursa de alimentare principală. Acest lucru se face prin plasarea barierelor de izolație între componentele electrice și mecanice, făcând inutilă împământarea sculei.
Notă: Izolația dublă nu înlocuiește măsurile normale de siguranță la operarea sculei. Sistemul de izolație este pentru o protecție suplimentară împotriva rănilor rezultate dintr-o posibilă defecțiune a izolației electrice în interiorul sculei.
SIGURANȚA ELECTRICĂ
Asigurați-vă că alimentarea este aceeași cu tensiunea indicată pe plăcuța de identificare. Scula este echipată cu un cablu cu două fire și o priză.
ÎNLOCUIREA PRIZEI DE ALIMENTARE (NUMAI ÎN UK)
Dacă priza de alimentare trebuie înlocuită și sunteți competent să faceți acest lucru, procedați conform instrucțiunilor de mai jos.
Dacă aveți dubii, contactați un centru de service Black & Decker sau un electrician calificat.
- Deconectați priza de la sursa de alimentare.
- Tăiați priza și aruncați-o în siguranță. O priză cu conductori de cupru dezgoliți este foarte periculoasă dacă este introdusă într-o priză sub tensiune.
- Montați numai prize aprobate BS1363A echipate cu siguranța cu valoarea nominală corectă.
Notă: Siguranțele nu oferă protecție personală împotriva șocurilor electrice.
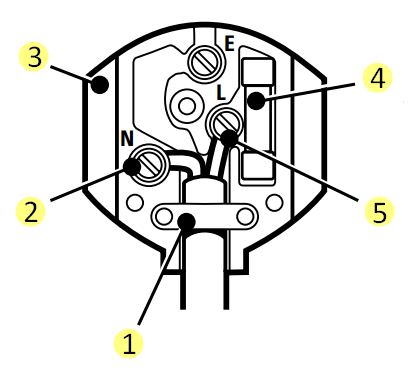
- Culorile firelor cablului, sau o literă, vor fi marcate la punctul de conectare al majorității prizelor de bună calitate.
Atașați firele la punctele respective din priză (vezi diagrama). Maro este L (sub tensiune) și albastru este N (neutru).

- Asigurați-vă că teaca exterioară a cablului este ținută ferm de clemă
- Conectați albastru la N (neutru)
- Montați o priză elastică aprobată BS1363A
- Montați o siguranță de 5 amperi aprobată conform BS1362
- Conectați maro la L (sub tensiune)

Numai 230 volți AC Nu utilizați niciodată o priză de lumină
- Înainte de a înlocui capacul superior al prizei, asigurați-vă că elementul de fixare a cablului ține ferm teaca exterioară a cablului și că cele două fire sunt fixate corect la șuruburile terminale. Dacă capacul siguranței lipsește sau este deteriorat, nu utilizați priza. Pentruînlocuirea sau capacele de siguranță detașabile, contactați un centru de service Black & Decker.
Nu conectați niciodată fire sub tensiune sau neutre la pinul de împământare marcat cu E sau
.
ÎNLOCUIREA PRIZEI DE ALIMENTARE
(NUMAI AUSTRALIA ȘI NOUA ZEELANDĂ)
Dacă priza de alimentare sau cablul de alimentare al produsului sunt deteriorate, acestea trebuie înlocuite numai de un agent de service autorizat Black & Decker, deoarece sunt necesare scule speciale.
CABLU PRELUNGITOR
Se pot utiliza până la 30 m (100 ft) de cablu prelungitor cu 2 fire Black & Decker (sau cablu prelungitor cu 3 fire, în Australia și Noua Zeelandă) fără o pierdere nejustificată de putere.
Notă: Un cablu prelungitor nu trebuie utilizat decât dacă este absolut necesar. Utilizarea unui cablu prelungitor necorespunzător ar putea duce la un risc de incendiu și șoc electric. Dacă trebuie utilizat un cablu prelungitor, asigurați-vă că este cablat corect, conține siguranța cu valoarea nominală corectă, așa cum este recomandat în literatura sa, și este în stare electrică bună.
CARACTERISTICI

- Comutator de declanșare
- Buton de blocare
- Apărătoare de praf
- Rola de sprijin a lamei
- Placă de bază
- Extracție de praf
Ferăstrăul dvs. vertical include unele sau toate aceste caracteristici.
Notă: Acest manual de utilizare acoperă și numerele de catalog cu un sufix de literă. Consultați cutia pentru detalii despre produsul dvs.
MONTAREA LAMEI
Modele cu schimbare manuală a lamei (folosiți doar acest tip de lamă
)
Deconectați fierăstrăul vertical de la sursa de alimentare.

Slăbiți cele două șuruburi și, asigurându-vă că dinții lamei sunt orientați înainte, împingeți tija lamei cât mai mult posibil în suportul lamei de fierăstrău.
Strângeți ușor șuruburile alternativ pentru a poziționa lama, apoi strângeți complet șuruburile. Pentru a elibera, rotiți ambele șuruburi cu o rotație în sens invers acelor de ceasornic.
Toate modelele
Notă: Pentru a obține o precizie mai mare a tăierii, asigurați-vă că spatele lamei atinge rola de sprijin a lamei. Consultați 'Rola de sprijin a lamei' pentru instrucțiuni despre cum să schimbați poziția rolei de sprijin a lamei.
ROLA DE SPRIJIN A LAMEI
Pentru a oferi un sprijin și o precizie mai mare la tăiere, fierăstrăul dvs. vertical este echipat cu o rolă de sprijin a lamei. Acest suport trebuie ajustat astfel încât rola să atingă spatele lamei la tăiere.

Pentru a face acest lucru, slăbiți șurubul de fixare de pe partea laterală a sculei. Împingeți suportul lamei înainte până când rola atinge marginea din spate a lamei. Strângeți din nou șurubul. Lubrifierea rolei de ghidare (4) din când în când cu o picătură de ulei va prelungi durata de viață a rolei.
OPERAREA FIERĂSTRĂULUI DVS. VERTICAL
Pentru a porni fierăstrăul vertical, apăsați complet comutatorul de declanșare pornit/oprit (1). Pentru a opri fierăstrăul vertical, eliberați comutatorul de declanșare (1). Când conectați fierăstrăul vertical, asigurați-vă că comutatorul de declanșare este în poziția OFF (oprit).
Când este necesară o funcționare continuă, apăsați declanșatorul și apăsați butonul de blocare (2) și eliberați declanșatorul. Pentru a dezactiva blocarea, apăsați și eliberați declanșatorul. Dezactivați întotdeauna blocarea înainte de a deconecta de la sursa de alimentare.
REGLAREA TALPEI FIERĂSTRĂULUI PENTRU TĂIERE UNGHIULARĂ
Placa de talpă (5) poate fi înclinată până la 45˚ pe ambele părți. Pentru a face acest lucru, deconectați fierăstrăul vertical de la sursa de alimentare.

Ridicați apărătoarea de praf (3) și slăbiți ambele șuruburi de pe placa de talpă cu o șurubelniță. Trageți placa de talpă puțin înapoi și setați ajustarea unghiulară dorită conform scalei sau împingeți placa de talpă înainte pentru blocări fixe la 0˚, 15˚, 30˚ sau 45˚. Strângeți șuruburile pentru a fixa. Deși scala și crestăturile sunt precise pentru majoritatea scopurilor, este recomandabil ca pentru tăierea unghiurilor foarte precise să folosiți un raportor pentru a seta talpa. Faceți o tăietură de probă pe niște material de resturi pentru a verifica acuratețea unghiului. Pentru a reseta talpa pentru o tăietură pătrată, slăbiți șuruburile de fixare și mutați talpa până când este aproximativ 90˚ față de lamă, apoi, în timp ce aplicați o ușoară presiune înainte pe talpă, strângeți din nou șuruburile de fixare.
EXTRACȚIA PRAFULUI
Fierăstrăul dvs. vertical cu un adaptor de furtun (piesă accesorie), poate fi montat pe majoritatea aspiratoarelor portabile.
Pentru a utiliza această facilitate, împingeți adaptorul în orificiul din spatele fierăstrăului vertical și fixați furtunul aspiratorului în sau peste adaptor, în funcție de dimensiunea furtunului. Apărătoarea de praf trebuie să fie într-o poziție descendentă.

SFATURI UTILE
Tăierea laminatelor
Lamele fierăstrăului dvs. vertical taie pe cursa ascendentă, astfel încât orice tendință de așchiere a marginilor va apărea pe fața materialului cea mai apropiată de talpa fierăstrăului. Când tăiați lemn subțire sau laminate din plastic, utilizați o lamă de tăiere a metalelor cu dinți fini și tăiați de pe suprafața din spate a materialului. Pentru a minimiza riscul de așchiere a marginilor laminatului din plastic, fixați o bucată de lemn de resturi sau placă dură pe ambele părți ale laminatului pentru a forma un sandwich și tăiați prin ansamblul complet. Selectați întotdeauna lama potrivită pentru lucrare.
Tăierea buzunarelor
Lama de fierăstrău poate fi introdusă direct într-o suprafață de lemn fără a găuri mai întâi o gaură pilot, eliminând astfel o operație de găurire.
Mai întâi măsurați și marcați clar suprafața care urmează să fie tăiată. Apoi înclinați fierăstrăul vertical înainte, astfel încât vârfurile rotunjite ale tălpii să se sprijine pe suprafața de lucru, dar cu lama bine departe de ea. Porniți fierăstrăul vertical și mutați fierăstrăul în jos până când lama în mișcare este exact deasupra punctului de intrare ales. Coborâți partea din spate a tălpii în jos spre lucru încet, menținând o presiune fermă de pivotare pe vârfurile tălpii cu lama exact pe linia necesară. Nu mutați fierăstrăul vertical înainte de-a lungul liniei de tăiere până când lama de fierăstrău a intrat complet în material și talpa ajunge să se sprijine plat pe suprafața sa.
Tăierea metalului
Fierăstrăul dvs. vertical poate fi utilizat pentru tăierea tablelor feroase de calibru ușor și a metalelor neferoase, cum ar fi cupru, alamă, aluminiu etc. Este recomandabil ca la tăierea tablelor subțiri să fixați o foaie de sprijin din lemn moale sau placaj pe lucru, deoarece acest lucru vă va permite să obțineți o tăietură curată fără vibrații și posibilitatea de a rupe metalul. Atât metalul, cât și suportul de lemn sunt tăiate împreună. Nu forțați lama de tăiere în metal, deoarece acest lucru va reduce durata de viață a lamei și poate deteriora motorul. Tăierea metalului subțire va dura mai mult decât tăierea chiar și a unei bucăți de lemn relativ groase, așa că nu fiți tentat să accelerați operațiunea forțând fierăstrăul. Întindeți o peliculă subțire de ulei de-a lungul liniei de tăiere propuse înainte de a începe să tăiați metalul. Selectați întotdeauna lama potrivită pentru lucrare.
Curățare
Deconectați fierăstrăul vertical de la sursa de alimentare. Utilizați numai săpun delicat și o cârpă ușor umedă pentru a curăța fierăstrăul vertical. Mulți agenți de curățare casnici conțin substanțe chimice care ar putea deteriora grav plasticul. De asemenea, nu utilizați benzină, terebentină, lac sau diluanți de vopsea sau produse similare. Nu lăsați niciodată lichid să pătrundă în interiorul sculei și nu scufundați niciodată nicio parte a fierăstrăului vertical în lichid.
SCULE NEDORITE ȘI MEDIUL
Dacă într-o zi constatați că scula trebuie înlocuită sau nu mai este utilă, gândiți-vă la protecția mediului. Centrele de service Black & Decker vor accepta sculele vechi și le vor elimina într-un mod sigur pentru mediu.
GARANȚIA BLACK & DECKER
(DOAR REGATUL UNIT, AUSTRALIA ȘI NOUA ZEELANDĂ)
Dacă produsul Black & Decker devine defect din cauza materialelor și a manoperei defectuoase, în termen de 24 de luni de la data achiziției, garantăm că vom înlocui toate piesele defecte sau, la discreția noastră, vom înlocui unitatea gratuit, cu condiția ca:
- Produsul ne este returnat nouă sau reparatorilor noștri autorizați cu dovada datei de achiziție.
- Produsul nu a fost utilizat în scopuri comerciale, profesionale sau de închiriere.
- Produsul nu a fost supus utilizării greșite sau neglijenței.
- Produsul nu a suferit nicio deteriorare prin obiecte străine, substanțe sau accidente.
- Reparațiile nu au fost încercate de nimeni altul decât personalul nostru de service sau distribuitorii de reparații autorizați.
Această garanție este oferită ca un beneficiu suplimentar și este suplimentară drepturilor statutare ale clienților.
SERVICIUL POST-VÂNZARE PENTRU PRODUSUL BLACK & DECKER
(DOAR REGATUL UNIT, AUSTRALIA ȘI NOUA ZEELANDĂ)
Black & Decker oferă un serviciu post-vânzare la nivel național prin intermediul centrelor noastre de service operate de companie și al concesionarilor din Insulele Canalului și Insula Man. Scopul nostru este de a oferi servicii excelente, reparații rapide, disponibilitate extinsă a pieselor și suport complet pentru accesorii. Utilizarea altor accesorii și piese decât cele originale Black & Decker poate deteriora sau reduce performanța produsului dvs. Black & Decker și poate pune în pericol și utilizatorul. Termenii și condițiile garanției pot fi, de asemenea, afectate.
POLITICA DE SERVICIU POST-VÂNZARE
(DOAR REGATUL UNIT, AUSTRALIA ȘI NOUA ZEELANDĂ)
Scopul nostru este ca toți clienții Black & Decker să fie pe deplin mulțumiți de produsul Black & Decker și de serviciul post-vânzare, dar dacă este nevoie de ajutor sau sfaturi, vă rugăm să contactați managerul local al centrului de service Black & Decker, care va fi bucuros să vă ajute. Detalii complete despre serviciul nostru unic post-vânzare pot fi obținute de la oricare dintre centrele noastre de service Black & Decker.
ACCESORII
Performanța oricărei scule electrice depinde de accesoriul utilizat. Accesoriile Black & Decker sunt proiectate la standarde de înaltă calitate și sunt concepute pentru a îmbunătăți performanța sculei dvs. Cumpărarea unui accesoriu Black & Decker vă va asigura că obțineți tot ce este mai bun de la scula dvs. Black & Decker.
DATE TEHNICE
Nivelul presiunii sonore al sculei este în conformitate cu legislația CEE. Se recomandă să luați măsuri adecvate pentru protecția auzului dacă nivelul sonor pare inconfortabil. Acest lucru echivalează în mod normal cu o presiune sonoră mai mare de 85dB (A).
DECLARAȚIE DE CONFORMITATE CE
Declarăm că unitatea: CD300, KS531 este în conformitate cu 89/392/CEE, 89/336/CEE, EN55014, 73/23/CEE, EN55104, EN50144, EN61000
O presiune sonoră ponderată 96dB (A) O putere sonoră ponderată 109dB (A) Vibrație ponderată mână/braț 5m/s2

Brian Cooke - Director de Inginerie
Black & Decker Ltd, Spennymoor, County Durham DL16 6JG Regatul Unit
Politica Black & Decker este una de îmbunătățire continuă a produsului nostru și, ca atare, ne rezervăm dreptul de a modifica specificațiile produsului fără notificare prealabilă.

Descărcați manualul
Aici puteți descărca versiunea completă pdf a manualului, aceasta poate conține instrucțiuni suplimentare de siguranță, informații despre garanție, reguli FCC etc.
Descărcați Black & Decker KS531 (CD300) - Manual de ferăstrău vertical