Manual de VIVO DESK-V000KL, DESK-V000LA, DESK-V000LN, DESK-V000LW

CONTENIDO DEL PAQUETE

HERRAMIENTAS NECESARIAS

NO EXCEDA LA CAPACIDAD DE PESO.
El no hacerlo puede resultar en serias lesiones.

PELIGRO DE ASFIXIA
PIEZAS PEQUEÑAS - NO PARA NIÑOS MENORES DE 3 AÑOS. SE REQUIERE LA SUPERVISIÓN DE UN ADULTO.
PASOS DE ENSAMBLAJE
- Aplique las almohadillas (D) a la parte inferior de la bandeja del teclado (B).
![Vivo - DESK-V000KL - Montaje - Paso 1 Montaje - Paso 1]()
- Instale el tope (F) en la parte inferior de la bandeja del teclado (B) con los tornillos ST4.2x12mm (S-B) y un destornillador Phillips.
![Vivo - DESK-V000KL - Montaje - Paso 2 Montaje - Paso 2]()
- Presione las almohadillas para los pies (E) en los orificios en la base del escritorio (A).
![Vivo - DESK-V000KL - Montaje - Paso 3 Montaje - Paso 3]()
- Corte las grandes abrazaderas de plástico en la parte inferior del escritorio (A).
No apriete la manija de liberación con el escritorio en posición lateral o boca abajo.
![Vivo - DESK-V000KL - Montaje - Paso 4 Montaje - Paso 4]()
- Coloque el escritorio (A) con el lado derecho hacia arriba sobre una mesa. Levante el escritorio apretando la manija debajo del escritorio.
![Vivo - DESK-V000KL - Montaje - Paso 5 Montaje - Paso 5]()
- Coloque la bandeja del teclado (B) en los soportes metálicos del escritorio (A). Fije la bandeja del teclado a los soportes con los tornillos M5x10mm (S-A) y un destornillador Phillips.
![Vivo - DESK-V000KL - Montaje - Paso 6 Montaje - Paso 6]()
- Aplique los sujetacables (C) a la parte inferior del ensamblaje del escritorio.
![Vivo - DESK-V000KL - Montaje - Paso 7 Montaje - Paso 7]()
Montaje completo

Presione las palancas laterales para subir o bajar el elevador de escritorio.
Cuando baje el elevador sin peso en el escritorio, presione ligeramente el elevador mientras lo baja para permitir un proceso de descenso más suave. Si siente que es difícil bajarlo después de colocar la computadora portátil y otros elementos de configuración previstos, aplique una ligera presión para bajarlo suavemente o agregue peso adicional.
Tenga en cuenta la capacidad de peso de 33 lb al agregar peso.
Instalación de ojales
Si instala un soporte para monitor compatible con ojales, retire la tapa de plástico de la parte central trasera del escritorio. Instale el soporte en el orificio abierto de acuerdo con las instrucciones del soporte.

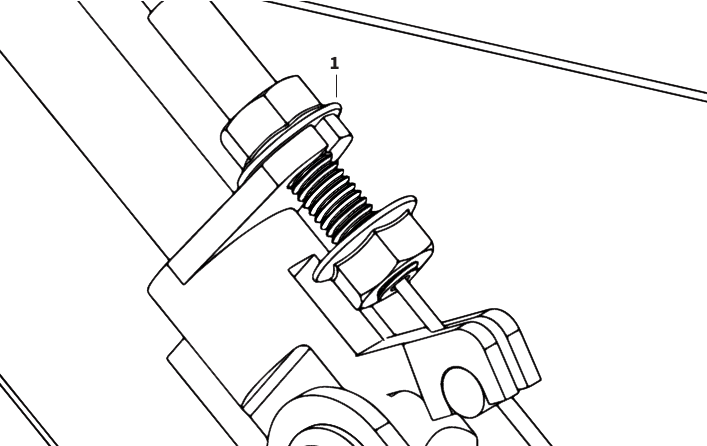
Ajuste de tensión
Si el elevador de su escritorio sube o baja con demasiada facilidad, o es demasiado difícil, el cable del resorte de gas se puede ajustar a la tensión deseada. El ajuste se encuentra en la base de su elevador.

Comience aflojando las tuercas superior (1) e inferior (2) con una llave ajustable. Afloje las tuercas hasta que ambas estén en los extremos opuestos del cable del resorte de gas.

Opción A:
Es difícil subir/bajar el escritorio
Aumentar la tensión
Si siente que es difícil subir y bajar el escritorio, deberá aumentar la tensión del cable del resorte de gas. Tire suavemente del cable alejándolo de la palanca hasta que la tuerca interior (2) esté firmemente presionada contra el divisor central.

Apriete la tuerca superior (1) hasta que sujete firmemente el cable en su posición, como se muestra a continuación.

Opción B:
El escritorio sube/baja con demasiada facilidad
Disminuir la tensión
Si el escritorio sube o baja sin presionar la manija, deberá aflojar la tensión. Empuje suavemente el cable hacia abajo hacia la base del elevador hasta que la tuerca superior (1) esté firmemente presionada contra el divisor central.

Apriete la tuerca inferior (2) hasta que sujete firmemente el cable en su posición, como se muestra a continuación.

Mantenga la base del monitor y la computadora portátil completamente sobre el escritorio.

Siga las instrucciones de enrutamiento de cables para evitar la posibilidad de pellizcar los cables.

Deje suficiente holgura en el cable para permitir un rango completo de movimiento vertical (15"/38 cm).

Levante el escritorio lentamente para mantener los artículos estables.

El incumplimiento de estas instrucciones puede provocar daños a la propiedad y/o lesiones personales.
Si no entiende estas instrucciones o si tiene alguna duda sobre la seguridad de la instalación, llame a un técnico cualificado. Revise cuidadosamente para asegurarse de que no falten piezas o estén defectuosas. Una instalación incorrecta puede causar daños o lesiones graves. No utilice este producto para ningún propósito que no esté especificado explícitamente en este manual y no exceda la capacidad de peso. No podemos ser responsables por daños o lesiones causados por un montaje incorrecto, un ensamblaje incorrecto o un uso inapropiado.
Escanee el código QR con su dispositivo móvil o siga el enlace para ver videos y especificaciones útiles relacionados con este producto.
https://vivo-us.com/products/desk-v000kl
¿Le encanta su nueva configuración de VIVO y quiere compartirla?
¡Etiquétanos en tu foto! @vivo_us
Abierto de lunes a viernes de 7:00 a. m. a 7:00 p. m. CST, nuestro equipo de soporte dedicado puede ofrecer asistencia inmediata con tiempos de respuesta rápidos. Si alguna pieza se recibe dañada o defectuosa, contáctenos. Estaremos encantados de reemplazar las piezas para garantizar que tenga un producto en pleno funcionamiento.
PONERSE EN CONTACTO
309-278-5303
De lunes a viernes de 7:00 a. m. a 7:00 p. m., hora del centro
TIEMPO PROMEDIO DE RESOLUCIÓN (dentro del horario de oficina): 5M 4S
help@vivo-us.com
TIEMPO PROMEDIO DE RESPUESTA (dentro del horario de oficina): 1HR 8M
- 23% dentro de < 15m
- 38% dentro de < 30m
- 61% dentro de < 1hr
- 83% dentro de < 2hr
- 92% dentro de < 3hr
www.vivo-us.com
¡Chatee en vivo con un agente!
TIEMPO PROMEDIO DE RESOLUCIÓN (dentro del horario de oficina): < 15 M
Referencias
Convertidor de escritorio esquinero – VIVO - soluciones de escritorio, montaje de pantallas y más
VIVO - Escritorios, montaje de monitores y más soluciones para el hogar y la oficina – VIVO - soluciones de escritorio, montaje de pantallas y más
Descargar manual
Aquí puedes descargar la versión completa en pdf del manual, puede contener instrucciones de seguridad adicionales, información de garantía, reglas de la FCC, etc.
Descargar Manual de VIVO DESK-V000KL, DESK-V000LA, DESK-V000LN, DESK-V000LW







