Zanussi ZGNN752X, ZGNN755X - Manual da placa a gás
- 1 INSTALAÇÃO
- 2 DESCRIÇÃO DO PRODUTO
- 3 UTILIZAÇÃO DIÁRIA
- 4 DICAS E SUGESTÕES
- 5 CUIDADOS E LIMPEZA
- 6 RESOLUÇÃO DE PROBLEMAS
- 7 DADOS TÉCNICOS
- 8 EFICIÊNCIA ENERGÉTICA
- 9 INFORMAÇÕES DE SEGURANÇA
- 10 INSTRUÇÕES DE SEGURANÇA
- 11 Referências
- 12 Descarregar manual
- 13 Em Outros Idiomas

INSTALAÇÃO
Consulte os capítulos sobre segurança.
ANTES DA INSTALAÇÃO
Antes de instalar a placa, anote as informações abaixo da placa de características. A placa de características encontra-se na parte inferior da placa.
Modelo
PNC
Número de série
REQUISITOS DE SEGURANÇA IMPORTANTES
Esta placa deve ser instalada de acordo com os regulamentos de segurança de gás (instalação e utilização) (edição atual) e os regulamentos de cablagem IEE (edição atual).
Para aparelhos instalados na República da Irlanda, consulte as edições atuais da Norma Irlandesa de Instalação de Gás Doméstico NSAI I.S. 813 e as Regras ETCI para Instalações Elétricas.
Disposição para ventilação
As recomendações detalhadas estão contidas nos seguintes Códigos de Prática das Normas Britânicas: B.S. 6172/B.S. 5440, Par. 2 e B.S. 6891 Edições atuais.
A placa não deve ser instalada num quarto com uma área inferior a 20 m³. Se for instalada num quarto com um volume inferior a 5 m³, é necessária uma saída de ar com uma área efetiva de 100 cm². Se for instalada num quarto com um volume entre 5 m³ e 10 m³, é necessária uma saída de ar com uma área efetiva de 50 cm², enquanto que, se o volume exceder os 11 m³, não é necessária nenhuma saída de ar.
No entanto, se o quarto tiver uma porta que abra diretamente para o exterior, não é necessária nenhuma saída de ar, mesmo que o volume esteja entre 5 m³ e 11 m³.
Se existirem outros aparelhos de combustão no mesmo quarto, a norma B.S. 5440 Parte 2, edição atual, deve ser consultada para determinar os requisitos de saída de ar necessários.
Para aparelhos instalados na República da Irlanda, consulte a Tabela Quatro das edições atuais da Norma Irlandesa de Instalação de Gás Doméstico NSAI I.S. 813.
Localização
A placa pode ser localizada numa cozinha, numa cozinha/sala de jantar ou num quarto (com um volume superior a 20 m³), mas não numa casa de banho ou duche.
A distância mínima que um material combustível pode ser colocado acima da placa, alinhado com as extremidades da placa, é de 400 mm. Se for colocada abaixo dos 400 mm, deve ser deixado um espaço de 50 mm das extremidades da placa.
Para aparelhos instalados na República da Irlanda, consulte a Secção 7 - Localizações Permitidas de Aparelhos da Norma Irlandesa de Instalação de Gás Doméstico NSAI I.S 813 Edição atual.
LIGAÇÃO DO GÁS
Qualquer instalação de gás deve ser realizada por um instalador REGISTADO GAS SAFE.
Certifique-se de que, depois de a placa estar instalada, é facilmente acessível para o engenheiro em caso de avaria.
O fabricante não aceitará qualquer responsabilidade se as instruções acima ou quaisquer outras instruções de segurança incorporadas neste manual de instruções forem ignoradas.
Na extremidade do veio, que inclui a curva roscada G 1/2", o ajuste é fixo para que a anilha seja encaixada entre os componentes, conforme mostrado no diagrama. Aparafuse as peças sem utilizar força excessiva.

- Extremidade do veio com porca
- Anilha fornecida com o aparelho
- Curva fornecida com o aparelho
A ligação ao fornecimento de gás deve ser feita com tubo rígido ou semirrígido, ou seja, aço ou cobre.
A ligação deve ser adequada para ligação a R 1/2 (rosca macho BSP de 1/2).
Quando a ligação final for efetuada, é essencial que seja realizado um teste de fugas completo na placa e na instalação.
Certifique-se de que o tubo de ligação principal não exerce qualquer pressão sobre a placa.
Se utilizar tubos metálicos flexíveis, certifique-se de que cumprem as normas ISO 10380 e ISO 10807. Tenha cuidado para que não entrem em contacto com peças móveis ou que não sejam apertados. Tenha também cuidado quando a placa é montada com um forno.
É importante instalar a curva corretamente, com o ressalto na extremidade da rosca, encaixada no tubo de ligação da placa.
A não garantia da montagem correta causará fugas de gás.
Certifique-se de que a pressão do fornecimento de gás do aparelho obedece aos valores recomendados.
Ligação rígida:
Efetue a ligação utilizando tubos rígidos de metal (cobre com extremidade mecânica).
SUBSTITUIÇÃO DOS INJETORES
- Retire os suportes para panelas.
- Retire as tampas e as coroas do queimador.
- Com uma chave de bocas 7, retire os injetores e substitua-os pelos necessários para o tipo de gás que utiliza (consulte a tabela no capítulo "Dados Técnicos").
- Monte as peças, seguindo o mesmo procedimento ao contrário.
- Cole a etiqueta com o novo tipo de fornecimento de gás perto do tubo de fornecimento de gás. Pode encontrar esta etiqueta na embalagem fornecida com o aparelho.
Se a pressão do gás de alimentação for variável ou diferente da pressão necessária, deve colocar um regulador de pressão aplicável no tubo de alimentação de gás.
AJUSTE DO NÍVEL MÍNIMO
Para ajustar o nível mínimo dos queimadores:
- Acenda o queimador.
- Rode o botão para a posição mínima.
- Retire o botão e a junta.
Tenha cuidado para não danificar a junta. Não utilize ferramentas afiadas para a retirar.
- Com uma chave de fendas fina, ajuste a posição do parafuso de derivação (A).
- Se mudar:
- de gás natural G20 20 mbar para gás líquido, aperte totalmente o parafuso de derivação.
- de gás líquido para gás natural G20 20 mbar, desaperte o parafuso de derivação aproximadamente 1/4 de volta (1/2 volta para o queimador Multi Crown).
- Volte a montar a junta e o botão.
![Zanussi - ZGNN752X - AJUSTE DO NÍVEL MÍNIMO - Passo 3 AJUSTE DO NÍVEL MÍNIMO - Passo 3]()
Certifique-se de que coloca a junta exatamente na posição original.
Certifique-se de que a chama não se apaga quando roda rapidamente o botão da posição máxima para a posição mínima.
LIGAÇÃO ELÉTRICA
- Não puxe o cabo de alimentação para desligar o aparelho. Puxe sempre a ficha de alimentação (se aplicável).
O aparelho não deve ser ligado com um cabo de extensão, um adaptador ou uma tomada múltipla. Existe risco de incêndio.
- Não deixe que o cabo de alimentação aqueça até uma temperatura superior a 90 °C. O cabo deve ser guiado por meio de braçadeiras fixadas na lateral do armário, para evitar qualquer contacto com o aparelho por baixo da placa.
- Certifique-se de que existe acesso à ficha de alimentação após a instalação.
Requisitos elétricos
A instalação elétrica permanente deve estar de acordo com os mais recentes regulamentos I.E.E. e regulamentos locais da Electricity Board. Para sua própria segurança, a instalação deve ser feita por um eletricista qualificado (por exemplo, o seu Electricity Board local ou um empreiteiro que esteja no registo do National Inspection Council for Electrical Installation Contracting [NICEIC]).
O fabricante recusa-se a ser responsabilizado se estas medidas de segurança não forem cumpridas.
Ligações de alimentação
Esta placa tem de ser ligada a uma fonte de alimentação de 220-240 V (~ 50-60 Hz).
A placa tem um bloco de terminais que está marcado da seguinte forma:
- L — Terminal ativo
- N — Terminal neutro
ou E — Terminal de terra
Antes de efetuar a ligação, certifique-se de que:
- A válvula limitadora e o sistema elétrico suportam a carga do aparelho (consulte a placa de características)
- O sistema de alimentação está equipado com uma ligação de terra eficiente em conformidade com as normas e regulamentos atuais
- A tomada ou o interruptor omnipolar utilizado para a ligação é facilmente acessível com o aparelho instalado.
O aparelho é fornecido com um cabo de alimentação flexível de 3 condutores com uma ficha de 3 amp. Se for necessário mudar o fusível, utilize um fusível de 3 amp com aprovação ASTA (BS 1362).

- Verde e amarelo
- Fusível de 3 amp
- Castanho
- Braçadeira do cabo
- Azul
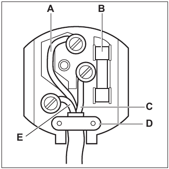
Os fios do cabo têm as seguintes cores:
| Verde e amarelo | Terra |
| Azul | Neutro |
| Castanho | Ativo |
Uma ficha cortada inserida numa tomada de 13 amp é um perigo grave de choque. Certifique-se de que a ficha cortada é eliminada de forma segura.
SUBSTITUIÇÃO DO CABO DE LIGAÇÃO
A substituição do cabo elétrico deve ser realizada exclusivamente pelo centro de assistência técnica ou por pessoal com competências semelhantes, de acordo com os regulamentos atuais.
Para substituir o cabo de ligação, utilize apenas H03V2V2-F T90 ou um tipo equivalente. Certifique-se de que a secção do cabo é aplicável à carga de tensão e à temperatura de funcionamento. O fio de terra amarelo/verde (B) deve ser aproximadamente 2 cm mais comprido do que o fio ativo e neutro (A).

- Ligue o fio verde e amarelo (terra) ao terminal que está marcado com a letra "E", ou o símbolo de terra
, ou colorido de verde e amarelo. - Ligue o fio azul (neutro) ao terminal que está marcado com a letra "N" ou colorido de azul.
- Ligue o fio castanho (ativo) ao terminal que está marcado com a letra "L". Deve ser sempre ligado à fase da rede. Não devem estar presentes fios cortados ou soltos. A braçadeira do cabo deve estar corretamente fixada à bainha exterior.
MONTAGEM

Se uma unidade de móveis for instalada a uma distância de 400 mm acima da placa, deve existir uma distância de segurança mínima de 50 mm para a esquerda ou para a direita da extremidade da placa.

- Vedante fornecido
- Suportes fornecidos

Instale o aparelho apenas numa bancada com uma superfície plana.
POSSIBILIDADES DE INSERÇÃO
O painel instalado abaixo da placa deve ser fácil de retirar e permitir um acesso fácil caso seja necessária uma intervenção de assistência técnica.
Unidade de cozinha com porta ou gaveta

- Painel removível
- Espaço para ligações
Unidade de cozinha com forno
A ligação elétrica da placa e do forno deve ser instalada separadamente por motivos de segurança e para permitir a fácil remoção do forno da unidade.
Unidade de cozinha com forno duplo

DESCRIÇÃO DO PRODUTO
DISPOSIÇÃO DA SUPERFÍCIE DE COZEDURA

- Queimador semi-rápido
- Queimador Multi Crown
- Queimador rápido
- Queimador auxiliar
- Manípulos de controlo
MANÍPULO DE CONTROLO
| Símbolo | Descrição |
| sem fornecimento de gás/posição desligada |
| posição de ignição/fornecimento máximo de gás |
| fornecimento mínimo de gás |
UTILIZAÇÃO DIÁRIA
Consulte os capítulos sobre segurança.
VISTA GERAL DO QUEIMADOR

- Tampa do queimador
- Coroa do queimador
- Vela de ignição
- Termopar
IGNIÇÃO DO QUEIMADOR
Acenda sempre o queimador antes de colocar os utensílios de cozinha.
Tenha muito cuidado ao utilizar chama aberta no ambiente da cozinha. O fabricante declina qualquer responsabilidade em caso de utilização indevida da chama.
- Prima o manípulo de controlo para baixo e rode-o no sentido anti-horário até à posição de fornecimento máximo de gás (
). - Mantenha o manípulo de controlo premido durante um período igual ou inferior a 10 segundos. Isto permite que o termopar aqueça. Caso contrário, o fornecimento de gás é interrompido.
- Ajuste a chama depois de estar estável.
Se, após algumas tentativas, o queimador não acender, verifique se a coroa e a respetiva tampa estão nas posições corretas.
Não mantenha o manípulo de controlo premido durante mais de 15 segundos. Se o queimador não acender após 15 segundos, liberte o manípulo de controlo, rode-o para a posição desligada e tente acender o queimador novamente após, no mínimo, 1 minuto.
Na ausência de eletricidade, pode acender o queimador sem dispositivo elétrico; neste caso, aproxime o queimador com uma chama, rode o manípulo de controlo no sentido anti-horário para a posição de fornecimento máximo de gás e prima-o para baixo. Mantenha o manípulo de controlo premido durante um período igual ou inferior a 10 segundos para permitir que o termopar aqueça.
Se o queimador se apagar acidentalmente, rode o manípulo de controlo para a posição desligada e tente acender o queimador novamente após, no mínimo, 1 minuto.
O gerador de faíscas pode iniciar automaticamente quando liga a corrente, após a instalação ou um corte de energia. É normal.
A placa está equipada com válvulas progressivas. Estas tornam a regulação da chama mais precisa.
DESLIGAR O QUEIMADOR
Para apagar a chama, rode o manípulo para a posição desligada
.
Desligue ou reduza sempre a chama antes de retirar as panelas do queimador.
DICAS E SUGESTÕES
Consulte os capítulos sobre segurança.
UTENSÍLIOS DE COZINHA
Não utilize panelas de ferro fundido, panelas de barro ou cerâmica, placas de grelhar ou torradoras. O aço inoxidável pode ficar manchado se for demasiado aquecido.
Não coloque a mesma panela em dois queimadores.
Não coloque panelas instáveis ou danificadas no queimador para evitar derrames e lesões.
Certifique-se de que os fundos das panelas não ficam demasiado perto do manípulo de controlo; caso contrário, a chama aquece o manípulo de controlo.
Certifique-se de que os cabos das panelas não estão por cima da extremidade frontal da placa de cozinha.
Certifique-se de que as panelas estão colocadas centralmente no queimador, de forma a obter a máxima estabilidade e um menor consumo de gás.
DIÂMETROS DOS UTENSÍLIOS DE COZINHA
Utilize utensílios de cozinha com diâmetros aplicáveis ao tamanho dos queimadores.
| Queimador | Diâmetro dos utensílios de cozinha (mm) |
| Multi Crown | 180 - 260 |
| Rápido | 160 - 260 |
| Semi-rápido (frontal) | 120 - 180 |
| Semi-rápido (traseiro) | 120 - 240 |
| Auxiliar | 80 - 180 |
CUIDADOS E LIMPEZA
Consulte os capítulos sobre segurança.
INFORMAÇÕES GERAIS
- Limpe a placa após cada utilização.
- Utilize sempre utensílios de cozinha com uma base limpa.
- Os riscos ou manchas escuras na superfície não afetam o funcionamento da placa.
- Utilize um produto de limpeza especial adequado para a superfície da placa.
Aço inoxidável
- Lave as peças de aço inoxidável com água e, em seguida, seque-as com um pano macio.
- Para remover alimentos queimados, gordura e manchas persistentes, deixe-os de molho numa pequena quantidade de detergente suave durante alguns minutos antes de limpar.
- Utilize produtos de limpeza concebidos especificamente para limpar aço inoxidável, a fim de proteger as superfícies de aço.
- Não utilize produtos de limpeza que contenham produtos químicos corrosivos, como cloretos, não limpe a superfície com desinfetantes, removedores de manchas ou ferrugem e produtos de limpeza por imersão.
SUPORTES DE PANELAS
Os suportes de panelas não são resistentes à lavagem na máquina de lavar loiça. Devem ser lavados à mão.
- Retire os suportes de panelas para limpar facilmente a placa.
Tenha muito cuidado ao recolocar os suportes de panelas para evitar danificar a parte superior da placa.
- O revestimento de esmalte pode, ocasionalmente, ter extremidades ásperas, pelo que deve ter cuidado ao lavar os suportes de panelas à mão e ao secá-los. Se necessário, remova manchas persistentes com um produto de limpeza em pasta.
- Depois de limpar os suportes de panelas, certifique-se de que estão nas posições corretas
- Para que o queimador funcione corretamente, certifique-se de que os braços dos suportes de panelas estão alinhados com o centro do queimador.
LIMPEZA DO APARELHO
Remova imediatamente: plástico derretido, película de plástico, açúcar e alimentos com açúcar; caso contrário, a sujidade pode causar danos à placa. Tenha cuidado para evitar queimaduras.- Remova quando a placa estiver suficientemente fria: anéis de calcário, anéis de água, manchas de gordura, descoloração metálica brilhante. Limpe a placa com um pano húmido e um detergente não abrasivo. Após a limpeza, seque a placa com um pano macio.
- Para limpar as peças esmaltadas, as tampas e as coroas, lave-as com água morna com sabão e seque-as cuidadosamente antes de as voltar a colocar.
LIMPEZA DA VELA DE IGNIÇÃO
Esta caraterística é obtida através de uma vela de ignição de cerâmica com um elétrodo de metal. Mantenha estes componentes bem limpos para evitar dificuldades de ignição e verifique se os orifícios da coroa do queimador não estão obstruídos.
MANUTENÇÃO PERIÓDICA
Fale periodicamente com o seu Centro de Assistência Autorizado local para verificar as condições do tubo de alimentação de gás e do regulador de pressão, se estiver instalado.
RESOLUÇÃO DE PROBLEMAS
Consulte os capítulos sobre segurança.
O QUE FAZER SE
| Problema | Causa possível | Solução |
| Não há faísca quando tenta ativar o gerador de faíscas. | A placa não está ligada a uma fonte de alimentação elétrica ou está ligada incorretamente. | Verifique se a placa está corretamente ligada à fonte de alimentação elétrica. |
| O fusível queimou. | Certifique-se de que o fusível é a causa da avaria. Se o fusível queimar repetidamente, contacte um eletricista qualificado. | |
| A tampa e a coroa do queimador estão colocadas incorretamente. | Coloque a tampa e a coroa do queimador corretamente. | |
A chama apaga-se imediatamente após a ignição | O termopar não aqueceu suficientemente. | Após acender a chama, mantenha o manípulo premido durante um período igual ou inferior a 10 segundos. |
O anel da chama é irregular | A coroa do queimador está bloqueada com resíduos de alimentos. | Certifique-se de que o injetor não está bloqueado e de que a coroa do queimador está limpa. |
SE NÃO CONSEGUIR ENCONTRAR UMA SOLUÇÃO
Se não conseguir encontrar uma solução para o problema sozinho, contacte o seu revendedor ou um Centro de Assistência Autorizado. Indique os dados da placa de características. Certifique-se de que utilizou a placa corretamente. Caso contrário, a assistência por um técnico de assistência ou revendedor não será gratuita, mesmo durante o período de garantia.
As instruções sobre o Centro de Assistência e as condições de garantia encontram-se no folheto de garantia.
ETIQUETAS FORNECIDAS COM O SACO DE ACESSÓRIOS
Cole as etiquetas adesivas conforme indicado abaixo:

- Cole-a no Cartão de Garantia e envie esta parte (se aplicável).
- Cole-a no Cartão de Garantia e guarde esta parte (se aplicável).
- Cole-a no folheto de instruções.
DADOS TÉCNICOS
DIMENSÕES DA UNIDADE
| Largura | 744 mm |
| Profundidade | 510 mm |
DIÂMETROS DE DESVIO
| QUEIMADOR | Ø DESVIO 1/100 mm |
| Multi Crown | 57 |
| Rápido | 42 |
| Semirrápido | 32 |
| Auxiliar | 28 |
OUTROS DADOS TÉCNICOS
| POTÊNCIA TOTAL: | Gás original: | G20 (2H) 20 mbar | 12,0 kW |
| Substituição de gás: | G30 (3+) 28-30 mbar | 825 g/h | |
| G31 (3+) 37 mbar | 811 g/h | ||
| Alimentação elétrica: | 220-240 V ~ 50-60 Hz Cabo flexível de 3 fios com ficha não religável equipada com um fusível de cartucho de 3 ampères | ||
| Categoria do aparelho: | II2H3+ | ||
| Ligação do gás: | R 1/2" | ||
| Classe do aparelho: | 3 | ||
QUEIMADORES A GÁS PARA GÁS NATURAL G20 20 mbar
| QUEIMADOR | POTÊNCIA NORMAL kW | POTÊNCIA MÍNIMA kW | MARCA DO INJETOR |
| Multi Crown | 4,0 | 1,4 | 146 |
| Rápido | 3,0 | 0,75 | 119 |
| Semirrápido | 2,0 | 0,45 | 96 |
| Auxiliar | 1,0 | 0,33 | 70 |
QUEIMADORES A GÁS PARA GPL G30/G31 28-30/37 mbar
| QUEIMADOR | POTÊNCIA NORMAL kW | POTÊNCIA MÍNIMA kW | MARCA DO INJETOR | VAZÃO DE GÁS NOMINAL g/h | |||||||
| G30 28-30 mbar | G31 37 mbar | ||||||||||
| Multi Crown | 3,55 | 1,4 | 095 | 258 | 254 | ||||||
| Rápido | 2,8 | 0,75 | 86 | 204 | 200 | ||||||
| Semirrápido | 2,0 | 0,45 | 71 | 145 | 143 | ||||||
| Auxiliar | 1,0 | 0,33 | 50 | 73 | 71 | ||||||
EFICIÊNCIA ENERGÉTICA
INFORMAÇÕES DO PRODUTO DE ACORDO COM OS REGULAMENTOS ECODESIGN DA UE E DO REINO UNIDO
| Identificação do modelo | ZGNN752X | |
| Tipo de placa | Placa de encastre | |
| Número de queimadores a gás | 5 | |
| Eficiência energética por queimador a gás (EE gas burner) | Traseiro esquerdo - Semirrápido | 61.2% |
| Traseiro direito - Rápido | 54.4% | |
| Central do meio - Multi Crown | 54.7% | |
| Frontal esquerdo - Semirrápido | 57.6% | |
| Frontal direito - Auxiliar | não aplicável | |
| Eficiência energética da placa a gás (EE gas hob) | 57.0% | |
| Identificação do modelo | ZGNN755X | |
| Tipo de placa | Placa de encastre | |
| Número de queimadores a gás | 5 | |
| Eficiência energética por queimador a gás (EE gas burner) | Traseiro esquerdo - Semirrápido | 55.9% |
| Traseiro direito - Rápido | 56.4% | |
| Central do meio - Multi Crown | 55.0% | |
| Frontal esquerdo - Semirrápido | 55.0% | |
| Frontal direito - Auxiliar | não aplicável | |
| Eficiência energética da placa a gás (EE gas hob) | 55.6% |
EN 30-2-1: Aparelhos de cozinha domésticos a gás - Parte 2-1: Utilização racional da energia - Generalidades
ECONOMIA DE ENERGIA
- Antes de usar, certifique-se de que os queimadores e os suportes para panelas estão montados corretamente.
- Use utensílios de cozinha com diâmetros adequados ao tamanho dos queimadores.
- Centre a panela no queimador.
- Ao aquecer água, use apenas a quantidade necessária.
- Se possível, coloque sempre as tampas nos utensílios de cozinha.
- Quando o líquido começar a ferver, baixe a chama para ferver suavemente o líquido.
- Se possível, use uma panela de pressão. Consulte o respetivo manual do utilizador.
INFORMAÇÕES DE SEGURANÇA
Antes da instalação e utilização do aparelho, leia atentamente as instruções fornecidas. O fabricante não se responsabiliza por quaisquer lesões ou danos resultantes de instalação ou utilização incorretas. Guarde sempre as instruções num local seguro e acessível para consulta futura.
SEGURANÇA DE CRIANÇAS E PESSOAS VULNERÁVEIS
- Este aparelho pode ser utilizado por crianças com idade igual ou superior a 8 anos e por pessoas com capacidades físicas, sensoriais ou mentais reduzidas ou com falta de experiência e conhecimento, caso tenham recebido supervisão ou instruções sobre a utilização do aparelho de forma segura e compreendam os perigos envolvidos. Crianças com idade inferior a 8 anos e pessoas com deficiências muito extensas e complexas devem ser mantidas afastadas do aparelho, a menos que sejam continuamente supervisionadas.
- As crianças devem ser supervisionadas para garantir que não brincam com o aparelho.
- Mantenha todas as embalagens fora do alcance das crianças e descarte-as de forma adequada.
Mantenha crianças e animais de estimação afastados do aparelho quando este estiver a funcionar ou a arrefecer. As peças acessíveis ficam quentes durante a utilização.- Se o aparelho tiver um dispositivo de segurança para crianças, este deve ser ativado.
- As crianças não devem efetuar a limpeza e a manutenção do aparelho sem supervisão.
SEGURANÇA GERAL
- Este aparelho destina-se apenas a fins de cozinha.
- Este aparelho foi concebido para uma única utilização doméstica em ambiente interior.
- Este aparelho pode ser utilizado em escritórios, quartos de hóspedes de hotéis, quartos de hóspedes de alojamento local, casas de hóspedes agrícolas e outros alojamentos semelhantes, em que essa utilização não exceda os níveis de utilização doméstica (média).
O aparelho e as suas peças acessíveis ficam quentes durante a utilização. Deve-se ter cuidado para evitar tocar nos elementos de aquecimento.
Cozinhar sem vigilância numa placa com gordura ou óleo pode ser perigoso e pode resultar em incêndio.- Nunca use água para apagar o fogo de cozinha. Desligue o aparelho e cubra as chamas com, por exemplo, um cobertor anti-fogo ou uma tampa.
O aparelho não deve ser alimentado através de um dispositivo de comutação externo, como um temporizador, ou ligado a um circuito que seja ligado e desligado regularmente por uma concessionária.
O processo de cozedura tem de ser supervisionado. Um processo de cozedura de curta duração tem de ser supervisionado continuamente.
Não guarde artigos nas superfícies de cozedura.- Objetos metálicos como facas, garfos, colheres e tampas não devem ser colocados na superfície da placa, pois podem ficar quentes.
- Não utilize o aparelho antes de o instalar na estrutura de encastre.
- Não utilize um aparelho de limpeza a vapor para limpar o aparelho.
- Se o cabo de alimentação estiver danificado, este deve ser substituído pelo fabricante, por um serviço autorizado ou por pessoas igualmente qualificadas para evitar perigos.
- Quando o aparelho é ligado diretamente à fonte de alimentação, é necessário um interruptor de isolamento de todos os polos com uma folga de contacto. Deve ser garantida uma desconexão completa em conformidade com as condições especificadas na categoria de sobretensão III. O cabo de terra está excluído desta situação.
- Ao encaminhar o cabo de alimentação, certifique-se de que o cabo não entra em contacto direto (por exemplo, utilizando um revestimento isolante) com peças que possam atingir temperaturas superiores a 50 °C acima da temperatura ambiente.
Utilize apenas proteções de placa concebidas pelo fabricante do aparelho de cozinha ou indicadas pelo fabricante do aparelho nas instruções de utilização como adequadas ou proteções de placa incorporadas no aparelho. A utilização de proteções inadequadas pode causar acidentes.
INSTRUÇÕES DE SEGURANÇA
Este aparelho é adequado para os seguintes mercados:

INSTALAÇÃO
A instalação deste aparelho deve ser efetuada apenas por uma pessoa qualificada.
Risco de ferimentos ou danos no aparelho.
- Retire toda a embalagem.
- Não instale nem utilize um aparelho danificado.
- Siga as instruções de instalação fornecidas com o aparelho.
- Mantenha a distância mínima de outros aparelhos e unidades.
- Tenha sempre cuidado ao mover o aparelho, uma vez que é pesado. Utilize sempre luvas de segurança e calçado fechado.
- Sele as superfícies cortadas com um selante para evitar que a humidade cause inchaço.
- Proteja a parte inferior do aparelho contra o vapor e a humidade.
- Não instale o aparelho junto a uma porta ou por baixo de uma janela. Isto evita que os utensílios de cozinha quentes caiam do aparelho quando a porta ou a janela são abertas.
- Se o aparelho for instalado acima de gavetas, certifique-se de que o espaço entre a parte inferior do aparelho e a gaveta superior é suficiente para a circulação do ar.
- A parte inferior do aparelho pode aquecer durante a utilização. Se não tiver sido instalado um forno por baixo da placa e a parte inferior do aparelho estiver acessível e puder permitir que um utilizador ou itens armazenados por baixo da placa entrem em contacto direto com a parte inferior da placa, deve ser instalado um painel de proteção intermédio.
- A madeira compensada ou o material da estrutura da cozinha são aceitáveis para o painel.
- O painel deve ser removível para manutenção. Os parafusos utilizados para fixar o painel devem estar acessíveis após a instalação.
LIGAÇÃO ELÉTRICA
Risco de incêndio e choque elétrico.
- Todas as ligações elétricas devem ser efetuadas por um eletricista qualificado.
- O aparelho deve ser ligado à terra.
- Antes de realizar qualquer operação, certifique-se de que o aparelho está desligado da fonte de alimentação.
- Certifique-se de que os parâmetros na placa de características são compatíveis com as classificações elétricas da fonte de alimentação principal.
- Certifique-se de que o aparelho está instalado corretamente. Um cabo ou ficha de alimentação solto e incorreto (se aplicável) pode fazer com que o terminal fique demasiado quente.
- Utilize o cabo de alimentação correto.
- Não deixe que o cabo de alimentação se enrole.
- Certifique-se de que está instalada uma proteção contra choques.
- Utilize a braçadeira de alívio de tensão no cabo.
- Certifique-se de que o cabo de alimentação ou a ficha (se aplicável) não tocam no aparelho quente ou nos utensílios de cozinha quentes quando ligar o aparelho às tomadas próximas.
- Não utilize adaptadores de várias fichas e cabos de extensão.
- Certifique-se de que não causa danos na ficha de alimentação (se aplicável) ou no cabo de alimentação. Contacte o nosso Centro de Assistência Autorizado ou um eletricista para substituir um cabo de alimentação danificado.
- A proteção contra choques de peças energizadas e isoladas deve ser fixada de forma a que não possa ser removida sem ferramentas.
- Ligue a ficha de alimentação à tomada apenas no final da instalação. Certifique-se de que existe acesso à ficha de alimentação após a instalação.
- Se a tomada estiver solta, não ligue a ficha de alimentação.
- Não puxe o cabo de alimentação para desligar o aparelho. Puxe sempre a ficha de alimentação.
- Utilize apenas dispositivos de isolamento corretos: corta-circuitos de proteção de linha, fusíveis (fusíveis de tipo parafuso removidos do suporte), disparadores de fuga à terra e contactores.
- A instalação elétrica deve ter um dispositivo de isolamento que lhe permita desligar o aparelho da rede elétrica em todos os polos. O dispositivo de isolamento deve ter uma largura de abertura de contacto de, no mínimo, 3 mm.
LIGAÇÃO DE GÁS
Ao utilizar uma botija de gás, mantenha-a sempre numa superfície horizontal plana (com a válvula de gás na parte superior).
- Todas as ligações de gás devem ser efetuadas por uma pessoa qualificada.
- Antes da instalação, certifique-se de que as condições de distribuição locais (natureza do gás e pressão do gás) e o ajuste do aparelho são compatíveis.
- Certifique-se de que existe circulação de ar à volta do aparelho.
- As informações sobre o fornecimento de gás estão na placa de características.
- Este aparelho não está ligado a um dispositivo que evacue os produtos de combustão. Certifique-se de que liga o aparelho de acordo com os regulamentos de instalação em vigor. Siga os requisitos para uma ventilação adequada.
UTILIZAÇÃO
Risco de ferimentos, queimaduras e choque elétrico.
A utilização de um aparelho de cozinha a gás resulta na produção de calor, humidade e produtos de combustão na divisão em que está instalado. Certifique-se de que a cozinha está bem ventilada, especialmente quando o aparelho está em utilização. A utilização intensiva prolongada do aparelho pode exigir ventilação adicional, por exemplo, o aumento da ventilação mecânica onde estiver presente, ventilação adicional para remover com segurança os produtos de combustão para o ar exterior (externo), proporcionando também renovações do ar ambiente com ventilação adicional. Consulte uma pessoa qualificada antes da instalação da ventilação adicional.
- Não altere a especificação deste aparelho.
- Retire toda a embalagem, etiquetagem e película protetora (se aplicável) antes da primeira utilização.
- Certifique-se de que as aberturas de ventilação não estão bloqueadas.
- Não deixe o aparelho sem vigilância durante o funcionamento.
- Coloque a zona de cozinhar na posição "desligado" após cada utilização.
- Não coloque talheres ou tampas de panelas nas zonas de cozinhar. Podem ficar quentes.
- Não utilize o aparelho com as mãos molhadas ou quando este estiver em contacto com a água.
- Não utilize o aparelho como superfície de trabalho ou como superfície de armazenamento.
- Quando colocar alimentos em óleo quente, este pode salpicar.
Risco de incêndio e explosão
- As gorduras e o óleo, quando aquecidos, podem libertar vapores inflamáveis. Mantenha as chamas ou objetos aquecidos afastados das gorduras e óleos quando cozinhar com eles.
- Os vapores que o óleo muito quente liberta podem causar combustão espontânea.
O óleo usado, que pode conter restos de comida, pode causar incêndio a uma temperatura inferior à do óleo utilizado pela primeira vez.
- Não coloque produtos inflamáveis ou itens molhados com produtos inflamáveis no, perto ou sobre o aparelho.
Risco de danos no aparelho.
- Não mantenha os utensílios de cozinha quentes no painel de controlo.
- Não deixe os utensílios de cozinha ferverem até secarem.
- Tenha cuidado para não deixar cair objetos ou utensílios de cozinha sobre o aparelho. A superfície pode ser danificada.
- Nunca deixe um queimador ligado com utensílios de cozinha vazios ou sem utensílios de cozinha.
- Não coloque folha de alumínio no aparelho.
- Utilize apenas utensílios de cozinha estáveis com a forma e o diâmetro corretos, maiores do que as dimensões dos queimadores.
- Certifique-se de que os utensílios de cozinha estão posicionados centralmente nos queimadores.
- Não utilize utensílios de cozinha grandes que se sobreponham às bordas do aparelho. Isto pode causar danos na superfície da bancada.
- Certifique-se de que a chama não se apaga quando roda rapidamente o botão da posição máxima para a posição mínima.
- Utilize apenas os acessórios fornecidos com o aparelho.
- Não instale um difusor de chama no queimador.
- Não deixe que líquidos ácidos, por exemplo, vinagre, sumo de limão ou removedor de calcário, toquem na placa. Isto pode causar manchas mate.
- A descoloração do esmalte ou do aço inoxidável não tem qualquer efeito no desempenho do aparelho.
CUIDADOS E LIMPEZA
Não retire os botões, os reguladores ou as juntas do painel de controlo. A água pode entrar no aparelho e causar danos.
- Limpe o aparelho regularmente para evitar a deterioração do material da superfície.
- Desligue o aparelho e deixe-o arrefecer antes de o limpar.
- Não utilize jatos de água e vapor para limpar o aparelho.
- Limpe o aparelho com um pano macio húmido. Utilize apenas detergentes neutros. Não utilize produtos abrasivos, almofadas de limpeza abrasivas, solventes ou objetos metálicos.
- Não limpe os queimadores na máquina de lavar loiça.
ASSISTÊNCIA
- Para reparar o aparelho, contacte o Centro de Assistência Autorizado. Utilize apenas peças sobresselentes originais.
VISITE O NOSSO WEBSITE PARA:
Obter conselhos de utilização, folhetos, resolução de problemas, informações sobre assistência e reparação: www.zanussi.com/support

Referências
Descarregar manual
Aqui pode descarregar a versão completa em PDF do manual, ela pode conter instruções de segurança adicionais, informações de garantia, regras da FCC, etc.
Descarregar Zanussi ZGNN752X, ZGNN755X - Manual da placa a gás
