Manual da Série Lenovo IdeaCentre 700
- 1 Especificações
- 2 Checkout Geral
- 3 Utilizar o programa Utilitário de Configuração
- 4 Índice de Sintoma para FRU
- 5 Identificação de componentes internos
-
6
Substituir hardware
- 6.1 Substituir o teclado e o rato
- 6.2 Remover a cobertura do computador
- 6.3 Remover a moldura frontal
- 6.4 Substituir um módulo de memória
- 6.5 Substituir uma unidade de disco rígido
- 6.6 Substituir uma unidade ótica
- 6.7 Substituir uma placa gráfica
- 6.8 Substituir a placa de sintonizador de TV
- 6.9 Substituir a fonte de alimentação
- 6.10 Substituir a ventoinha do microprocessador
- 6.11 Substituir o dissipador de calor
- 6.12 Substituir a CPU
- 6.13 Substituir a placa Wi-Fi
- 6.14 Substituir a placa-mãe
- 7 Informações Adicionais sobre o Serviço
- 8 Informações de segurança
- 9 Descarregar manual
- 10 Em Outros Idiomas
Especificações
Esta secção lista as especificações físicas do seu computador.
Tipo IdeaCentre 700
Esta secção lista as especificações físicas.
Ambiente
Temperatura do ar:
- Em funcionamento: 10° a 35°C
- Em trânsito: -20° a 55°C
Humidade:
- Em funcionamento: 35% a 80%
- Em trânsito: 20% a 90% (40°C)
- Altitude: 86KPa a 106KPa
Entrada elétrica:
- Tensão de entrada: 90V-264V(AC)
- Frequência de entrada: 47Hz-63Hz
Checkout Geral
Atenção: As unidades no computador que está a reparar podem ter sido reorganizadas ou a sequência de arranque da unidade pode ter sido alterada. Tenha muito cuidado durante as operações de escrita, como copiar, guardar ou formatar. Os dados ou programas podem ser substituídos se selecionar uma unidade incorreta.
As mensagens de erro gerais aparecem se um programa de aplicação, o sistema operativo ou ambos encontrarem um problema ou conflito. Para obter uma explicação destas mensagens, consulte as informações fornecidas com esse pacote de software.
Utilize o seguinte procedimento para ajudar a determinar a causa do problema:
- Desligue o computador e todos os dispositivos externos.
- Verifique todos os cabos e cabos de alimentação.
- Defina todos os controlos do ecrã para a posição central.
- Ligue todos os dispositivos externos.
- Ligue o computador.
- Procure códigos de erro apresentados
- Procure instruções legíveis ou um menu principal no ecrã.
Se não recebeu a resposta correta, avance para o passo 6.
Se receber a resposta correta, avance para o passo 7.
- Analise as seguintes condições e siga as instruções:
- Se o computador apresentar um erro de POST, vá para "Códigos de erro de POST".
- Se o computador bloquear e não for apresentado nenhum erro, continue no passo 7.
- Se o teste parar e não conseguir continuar, substitua o último dispositivo testado.
Utilizar o programa Utilitário de Configuração
O programa Utilitário de Configuração é utilizado para visualizar e alterar as definições de configuração do seu computador, independentemente do sistema operativo que estiver a utilizar. No entanto, as definições do sistema operativo poderão substituir quaisquer definições semelhantes no programa Utilitário de Configuração.
Iniciar o programa Utilitário de Configuração da BIOS da Lenovo
Para iniciar o programa Utilitário de Configuração da BIOS da Lenovo, faça o seguinte:
- Se o seu computador já estiver ligado quando iniciar este procedimento, encerre o sistema operativo e desligue o computador.
- Mantenha premida a tecla F1 e, em seguida, ligue o computador. Quando o programa Utilitário de Configuração da BIOS da Lenovo for apresentado, liberte a tecla F1.
Nota: Se tiver sido definida uma palavra-passe de ativação ou uma palavra-passe de administrador, o menu do programa Utilitário de Configuração não será apresentado até que escreva a sua palavra-passe. Para obter mais informações, consulte "Utilizar palavras-passe".
Visualizar e alterar definições
As opções de configuração do sistema encontram-se listadas no menu do programa Utilitário de Configuração da BIOS da Lenovo. Para visualizar ou alterar definições, consulte "Iniciar o programa Utilitário de Configuração".
Tem de utilizar o teclado quando utilizar o menu Utilitário de Configuração da BIOS da Lenovo. As teclas utilizadas para executar várias tarefas são apresentadas na parte inferior de cada ecrã.
Utilizar palavras-passe
Pode utilizar o programa Utilitário de Configuração da BIOS da Lenovo para definir palavras-passe para impedir que pessoas não autorizadas tenham acesso ao seu computador e dados. Consulte "Iniciar o programa Utilitário de Configuração". Estão disponíveis os seguintes tipos de palavras-passe:
- Palavra-passe de administrador
- Palavra-passe de ativação
Não tem de definir quaisquer palavras-passe para utilizar o seu computador. No entanto, se decidir definir palavras-passe, leia as secções seguintes.
Considerações relativas às palavras-passe
Uma palavra-passe pode ser qualquer combinação de letras e números até 16 carateres (a-z e 0-9). Por motivos de segurança, é uma boa ideia utilizar uma palavra-passe forte que não possa ser facilmente comprometida. Sugerimos que as palavras-passe sigam estas regras:
- As palavras-passe fortes contêm entre 7 e 16 carateres e combinam letras e números.
- Não utilize o seu nome ou o seu nome de utilizador.
- Não utilize uma palavra comum ou um nome comum.
- Seja significativamente diferente da sua palavra-passe anterior.
Atenção: As palavras-passe de administrador e de ativação não são sensíveis a maiúsculas e minúsculas
Palavra-passe de administrador
Definir uma Palavra-passe de administrador impede que pessoas não autorizadas alterem as definições de configuração. Poderá pretender definir uma Palavra-passe de administrador se for responsável por manter as definições de vários computadores.
Depois de definir uma Palavra-passe de administrador, é apresentada uma linha de comandos de palavra-passe sempre que acede ao programa Utilitário de Configuração da BIOS da Lenovo.
Se a Palavra-passe de administrador e a Palavra-passe de ativação estiverem definidas, pode escrever qualquer uma das palavras-passe. No entanto, tem de utilizar a sua Palavra-passe de administrador para alterar quaisquer definições de configuração.
Definir, alterar ou eliminar uma palavra-passe de administrador
Para definir uma Palavra-passe de administrador, faça o seguinte:
Nota: Uma palavra-passe pode ser qualquer combinação de letras e números até 16 carateres (a-z e 0-9). Para obter mais informações, consulte "Considerações relativas à palavra-passe".
- Inicie o programa Utilitário de Configuração da BIOS da Lenovo (consulte "Iniciar o programa Utilitário de Configuração da BIOS da Lenovo").
- A partir do menu Segurança, selecione Definir palavra-passe de administrador e prima a tecla Enter.
- A caixa de diálogo da palavra-passe será apresentada. Escreva a palavra-passe e, em seguida, prima a tecla Enter.
- Volte a escrever a palavra-passe para confirmar e, em seguida, prima a tecla Enter. Se escrever a palavra-passe corretamente, a palavra-passe será instalada.
Para alterar uma Palavra-passe de administrador, faça o seguinte:
- Inicie o programa Utilitário de Configuração da BIOS da Lenovo (consulte "Iniciar o programa Utilitário de Configuração da BIOS da Lenovo").
- A partir do menu Segurança, selecione Definir palavra-passe de administrador e prima a tecla Enter.
- A caixa de diálogo da palavra-passe será apresentada. Escreva a palavra-passe atual e, em seguida, prima a tecla Enter.
- Escreva a nova palavra-passe e, em seguida, prima a tecla Enter. Volte a escrever a palavra-passe para confirmar a nova palavra-passe; se escrever a nova palavra-passe corretamente, a nova palavra-passe será instalada. Será apresentada uma Notificação de Configuração indicando que as alterações foram guardadas.
Para eliminar uma Palavra-passe de administrador definida anteriormente, faça o seguinte:
- A partir do menu Segurança, selecione Definir palavra-passe de administrador e prima a tecla Enter.
- A caixa de diálogo da palavra-passe será apresentada. Escreva a palavra-passe atual e prima a tecla Enter.
- Para eliminar uma Palavra-passe de administrador, introduza campos vazios para cada novo item de linha de palavra-passe. Será apresentada uma notificação de configuração indicando que as alterações foram guardadas.
- Regresse ao menu do programa Utilitário de Configuração da BIOS da Lenovo e selecione a opção Sair.
- Selecione Guardar alterações e sair no menu.
Palavra-passe de ativação
Quando uma Palavra-passe de ativação é definida, não pode iniciar o programa Utilitário de Configuração da BIOS da Lenovo até que uma palavra-passe válida seja escrita no teclado.
Definir, alterar ou eliminar uma Palavra-passe de ativação
Nota: Uma palavra-passe pode ser qualquer combinação de letras e números até 16 carateres (a-z e 0-9).
Para definir uma Palavra-passe de ativação, faça o seguinte:
- Inicie o programa Utilitário de Configuração da BIOS da Lenovo (consulte "Iniciar o programa Utilitário de Configuração da BIOS da Lenovo".)
- A partir do menu Segurança, selecione Definir palavra-passe de ativação e prima a tecla Enter.
- A caixa de diálogo da palavra-passe será apresentada. Escreva a palavra-passe e prima a tecla Enter.
- Volte a escrever a palavra-passe para confirmar; se escrever a palavra-passe corretamente, a palavra-passe será instalada.
Para alterar uma Palavra-passe de ativação, faça o seguinte:
- Inicie o programa Utilitário de Configuração da BIOS da Lenovo (consulte "Iniciar o programa Utilitário de Configuração da BIOS da Lenovo".)
- A partir do menu Segurança, selecione Definir palavra-passe de ativação e prima a tecla Enter.
- A caixa de diálogo da palavra-passe será apresentada. Escreva a palavra-passe atual e, em seguida, prima a tecla Enter.
- Escreva a nova palavra-passe e, em seguida, prima a tecla Enter. Volte a escrever a palavra-passe para confirmar a nova palavra-passe; se escrever a nova palavra-passe corretamente, a nova palavra-passe será instalada. Será apresentada uma notificação de configuração indicando que as alterações foram guardadas.
Para eliminar uma Palavra-passe de ativação definida anteriormente, faça o seguinte:
- A partir do menu Segurança, selecione Definir palavra-passe de ativação e prima a tecla Enter.
- A caixa de diálogo da palavra-passe será apresentada. Escreva a palavra-passe atual e prima a tecla Enter.
- Para eliminar a Palavra-passe de ativação, introduza campos vazios para cada novo item de linha de palavra-passe. Será apresentada uma notificação de configuração indicando que as alterações foram guardadas.
- Regresse ao menu do programa Utilitário de Configuração da BIOS da Lenovo e selecione a opção Sair.
- Selecione Guardar alterações e sair no menu.
Ativar ou desativar um dispositivo
| As opções de Dispositivos são utilizadas para ativar ou desativar o acesso do utilizador aos seguintes dispositivos: | |
| Funções USB | Selecione se pretende ativar ou desativar as funções USB (Universal Serial Bus). Se as funções estiverem desativadas, nenhum dispositivo USB poderá ser utilizado. |
| Configuração da unidade ATA | Selecione o modo IDE ou ACHI. É necessário suporte para o controlador de dispositivo para o modo ACHI. Dependendo de como a imagem do disco rígido foi instalada, alterar esta definição pode impedir que o sistema arranque. |
| Controlador de áudio integrado | Selecione se pretende ativar ou desativar o Controlador de áudio integrado; quando a funcionalidade está definida como Desativada, todos os dispositivos ligados aos conectores de áudio (p. ex., auscultadores ou um microfone) são desativados e não podem ser utilizados. |
| Controlador Ethernet integrado ou Agente de arranque | Selecione se pretende ativar ou desativar o Controlador Ethernet integrado ou selecione se pretende ativar ou desativar o carregamento integrado de PXE (Preboot Execution Environment), ou SMC (Secure Managed Client). Esta funcionalidade permitirá que o computador arranque a partir de uma imagem de servidor. |
Para ativar ou desativar um dispositivo, faça o seguinte:
- Inicie o programa Utilitário de Configuração (consulte "Iniciar o programa Utilitário de Configuração").
- A partir do menu do programa Utilitário de Configuração, selecione Dispositivos.
- Selecione:
Configuração USB prima a tecla Enter e, em seguida, selecione Funções USB.
Configuração do dispositivo ATA prima a tecla Enter. Selecione Configurar SATA como, prima a tecla Enter e, em seguida, selecione o modo SATA.
Configuração de áudio prima a tecla Enter e, em seguida, selecione Controlador de áudio integrado.
Configuração de rede prima a tecla Enter e, em seguida, selecione Suporte Ethernet integrado ou Agente de arranque. - Selecione Desativado ou Ativado e prima a tecla Enter.
- Regresse ao menu do programa Utilitário de Configuração da BIOS da Lenovo e selecione a opção Sair.
- Selecione Guardar alterações e sair no menu.
Nota: Se não pretender guardar as definições, selecione Rejeitar alterações e sair no menu.
Selecionar um dispositivo de arranque
Se o seu computador não arrancar a partir de um dispositivo, como o disco da unidade de CD/DVD-ROM ou o disco rígido, conforme esperado, siga um dos procedimentos abaixo.
Selecionar um dispositivo de arranque temporário
Utilize este procedimento para iniciar a partir de qualquer dispositivo de arranque.
Nota: Nem todos os CDs, DVDs ou unidades de disco rígido são de arranque.
- Desligue o computador.
- Mantenha premida a tecla F12 e, em seguida, ligue o computador. Quando o Menu do dispositivo de arranque for apresentado, liberte a tecla F12.
Nota: Se o Menu do dispositivo de arranque não for apresentado através destes passos, prima e liberte repetidamente a tecla F12 em vez de a manter premida ao ligar o computador. - Utilize as setas ↑ e ↓ para selecionar o dispositivo de arranque pretendido no Menu do dispositivo de arranque e prima a tecla Enter para começar.
Nota: Selecionar um dispositivo de arranque no Menu do dispositivo de arranque não altera permanentemente a sequência de arranque.
Selecionar ou alterar a sequência do dispositivo de arranque
Para visualizar ou alterar permanentemente a sequência do dispositivo de arranque configurada, faça o seguinte:
- Inicie o programa Utilitário de Configuração da BIOS da Lenovo (consulte "Iniciar o programa Utilitário de Configuração da BIOS da Lenovo").
- No menu principal do programa Utilitário de Configuração da BIOS da Lenovo, selecione a opção Arranque.
- Prima a tecla Enter e selecione os dispositivos para a Sequência de arranque primária. Leia as informações apresentadas no lado direito do ecrã.
- Utilize as setas - e ¯ para selecionar um dispositivo. Utilize as teclas <+> ou <-> para mover um dispositivo para cima ou para baixo. Utilize a tecla <×> para excluir o dispositivo da sequência de arranque ou para o incluir na mesma.
- Regresse ao menu do programa Utilitário de Configuração da BIOS da Lenovo e selecione a opção Sair.
- Selecione Guardar alterações e sair no menu.
Notas:- Se não pretender guardar as definições, selecione Rejeitar alterações e sair no menu.
- Se alterou estas definições e pretender regressar às definições predefinidas, selecione Carregar predefinições ideais no menu.
Sair do programa Utilitário de Configuração da BIOS da Lenovo
Depois de terminar de visualizar ou alterar definições, prima a tecla Esc para regressar ao menu principal do programa Utilitário de Configuração da BIOS da Lenovo. Poderá ter de premir a tecla Esc várias vezes. Faça um dos seguintes:
- Se pretender guardar as novas definições, selecione Guardar alterações e sair no menu. Quando a janela Guardar e repor for apresentada, selecione o botão Sim e, em seguida, prima a tecla Enter para sair do programa Utilitário de Configuração da BIOS da Lenovo.
- Se não pretender guardar as definições, selecione Rejeitar alterações e sair no menu. Quando a janela Repor sem guardar for apresentada, selecione o botão Sim e, em seguida, prima a tecla Enter para sair do programa Utilitário de Configuração.
Índice de Sintoma para FRU
O índice de Sintoma para FRU lista os sintomas de erro e as possíveis causas. A causa mais provável é listada primeiro. Comece sempre com o Capítulo "Verificação Geral,". Este índice também pode ser usado para ajudá-lo a decidir quais FRUs ter disponíveis ao fazer a manutenção de um computador. Se não conseguir corrigir o problema usando este índice, vá para "Problemas não determinados".
Notas:
- Se tiver uma mensagem de erro e uma resposta de áudio incorreta, diagnostique primeiro a mensagem de erro.
- Se não conseguir executar os testes de diagnóstico ou se obtiver um código de erro de diagnóstico ao executar um teste, mas tiver recebido uma mensagem de erro POST, diagnostique primeiro a mensagem de erro POST.
- Se não tiver recebido nenhuma mensagem de erro, procure uma descrição dos seus sintomas de erro na primeira parte deste índice.
Erro de arranque da unidade de disco rígido
Um erro de arranque da unidade de disco rígido pode ter as seguintes causas.
| Erro | FRU/Ação |
| A unidade de arranque não está incluída na sequência de arranque na configuração. | Verifique a configuração e certifique-se de que a unidade de arranque está na sequência de arranque. |
| Nenhum sistema operativo instalado na unidade de arranque. | Instale um sistema operativo na unidade de arranque. |
| O setor de arranque na unidade de arranque está corrompido. | A unidade deve ser formatada. Faça o seguinte:
|
| A unidade está defeituosa. | Substitua a unidade de disco rígido. |
Problemas de fonte de alimentação
Siga estes procedimentos se suspeitar que existe um problema com a fonte de alimentação.
| Verificar/Confirmar | FRU/Ação |
Verifique se o seguinte está instalado corretamente:
| Volte a encaixar os conectores |
| Verifique o cabo de alimentação. | Cabo de alimentação |
| Verifique o interruptor de alimentação. | Interruptor de alimentação |
Códigos de erro POST
Sempre que liga o computador, ele executa uma série de testes para verificar se o sistema está a funcionar corretamente e se certas opções estão definidas. Esta série de testes é chamada de Power-On Self-Test ou POST. O POST faz o seguinte:
- Verifica algumas operações básicas da placa de sistema
- Verifica se a memória está a funcionar corretamente
- Inicia as operações de vídeo
- Verifica se a unidade de arranque está a funcionar
| Mensagem de erro POST | Descrição/Ação |
| Erro de teclado | Não é possível inicializar o teclado. Certifique-se de que o teclado está devidamente ligado ao computador e de que nenhuma tecla está premida durante o POST. Para configurar propositadamente o computador sem um teclado, selecione Keyboardless operation (Operação sem teclado) em Startup (Arranque) para Enabled (Ativado). O BIOS ignora então o teclado em falta durante o POST. |
| Reboot and Select proper Boot device or Insert Boot Media in selected Boot device | O BIOS não conseguiu encontrar um dispositivo de arranque adequado. Certifique-se de que a unidade de arranque está devidamente ligada ao computador. Certifique-se de que tem um suporte de dados de arranque no dispositivo de arranque. |
Problemas não determinados
- Desligue o computador.
- Remova ou desligue os seguintes componentes (se estiverem ligados ou instalados) um de cada vez.
- Dispositivos externos (modem, impressora ou rato)
- Memória de vídeo estendida
- Cache externa
- RAM de cache externa
- Unidade de disco rígido
- Unidade de disco
- Ligue o computador para voltar a testar o sistema.
- Repita os passos 1 a 3 até encontrar o dispositivo ou componente com falhas.
Se todos os dispositivos e componentes tiverem sido removidos e o problema persistir, substitua a placa de sistema.
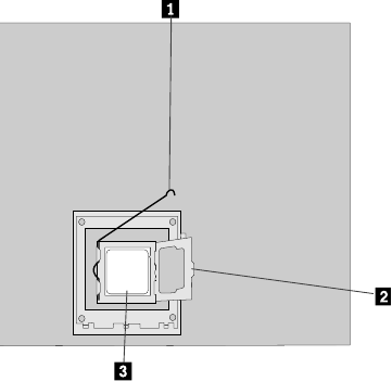
Identificação de componentes internos
A ilustração a seguir mostra os componentes dentro do seu computador.

- Unidade de disco ótico
- Unidade de disco rígido
- Placa gráfica
- Módulos de memória
- Ventoinha do sistema
- Fonte de alimentação
Substituir hardware
Atenção: Não remova a cobertura do computador nem tente fazer qualquer reparo antes de ler as "Informações importantes sobre segurança" no Guia de segurança e garantia que veio com o seu computador. Para obter cópias do Guia de segurança e garantia, acesse o site de suporte em: http://consumersupport.lenovo.com
Informações gerais
Instruções pré-desmontagem
Antes de prosseguir com o procedimento de desmontagem, certifique-se de que faz o seguinte:
- Desligue a alimentação do sistema e de todos os periféricos.
- Desconecte todos os cabos de alimentação e sinal do computador.
- Coloque o sistema em uma superfície plana e estável.
Substituir o teclado e o rato
Nota: O seu teclado estará conectado a um conector USB na parte frontal ou traseira do computador.
Para substituir o teclado:
- Remova qualquer mídia (discos, CDs ou cartões de memória) das unidades, desligue o computador e desligue todos os dispositivos conectados.
- Desconecte todos os cabos de alimentação das tomadas elétricas.
- Localize o conector do teclado. Consulte "Vista frontal do chassis" e "Vista traseira do chassis".
![]()
- Desconecte o cabo do teclado defeituoso do computador e conecte o novo cabo do teclado ao mesmo conector.
- O rato pode ser substituído usando o mesmo método.
Remover a cobertura do computador
Atenção:
- Desligue o computador e aguarde de 3 a 5 minutos para que ele esfrie antes de remover a cobertura.
- Para este procedimento, ajuda colocar o computador em uma superfície plana e estável.
Para remover a cobertura do computador:
- Remova qualquer mídia (discos, CDs ou cartões de memória) das unidades, desligue o computador e desligue todos os dispositivos conectados.
- Desconecte todos os cabos de alimentação das tomadas elétricas.
- Desconecte todos os cabos conectados ao computador. Isso inclui cabos de alimentação, cabos de entrada/saída (E/S) e quaisquer outros cabos conectados ao computador. Consulte "Localizar conectores na parte traseira do computador".
- Remova os dois parafusos que prendem a cobertura do computador na parte traseira do chassis.
- Deslize a cobertura do computador para fora para removê-la.
![Lenovo - IdeaCentre 700 Series - Removendo a tampa do computador - Passo 1 Removendo a tampa do computador - Passo 1]()
- Para reinstalar a cobertura do computador:
- Alinhe a cobertura do computador com o chassis e, em seguida, deslize-a para trás.
- Prenda a cobertura do computador ao chassis com os parafusos.
![Lenovo - IdeaCentre 700 Series - Removendo a tampa do computador - Passo 2 Removendo a tampa do computador - Passo 2]()
Remover a moldura frontal
Nota: Para este procedimento, ajuda colocar o computador na horizontal.
Para remover a moldura frontal:
- Remova a cobertura do computador. Consulte "Remover a cobertura do computador".
- Remova a moldura frontal soltando as três abas de plástico dentro do chassis e deslizando a moldura para fora, conforme mostrado.
![Lenovo - IdeaCentre 700 Series - Removendo a moldura frontal Removendo a moldura frontal]()
- Para recolocar a moldura, alinhe as abas de plástico na parte inferior da moldura com os orifícios correspondentes no chassis e, em seguida, encaixe-a na posição.
Substituir um módulo de memória
Nota: Para este procedimento, ajuda colocar o computador na horizontal.
Para substituir um módulo de memória:
- Remova a cobertura do computador. Consulte "Remover a cobertura do computador".
- Localize os conectores do módulo de memória. Consulte "Localizar componentes".
- Remova o módulo de memória a ser substituído abrindo os clipes de retenção, conforme mostrado.
![Lenovo - IdeaCentre 700 Series - Substituindo um módulo de memória - Passo 1 Substituindo um módulo de memória - Passo 1]()
- Posicione o novo módulo de memória sobre o conector de memória. Certifique-se de que o entalhe
no módulo de memória se alinha corretamente com a chave do conector
na placa de sistema. Empurre o módulo de memória para baixo, diretamente no conector, até que os clipes de retenção se fechem.
![Lenovo - IdeaCentre 700 Series - Substituindo um módulo de memória - Passo 2 Substituindo um módulo de memória - Passo 2]()
- Recoloque a cobertura do computador.
Substituir uma unidade de disco rígido
Nota: Para este procedimento, ajuda colocar o computador na horizontal.
Para substituir uma unidade de disco rígido:
- Remova a cobertura do computador. Consulte "Remover a cobertura do computador".
- Desconecte os cabos de dados e alimentação da unidade de disco rígido.
- Levante a alça de plástico e deslize a unidade de disco rígido para fora da bandeja da unidade.
![]()
![Lenovo - IdeaCentre 700 Series - Substituindo uma unidade de disco rígido Substituindo uma unidade de disco rígido]()
- Remova a unidade de disco rígido do suporte de plástico, conforme mostrado.
![]()
- Alinhe a nova unidade de disco rígido com o suporte de plástico e encaixe-a na posição.
- Deslize a nova unidade de disco rígido para dentro da bandeja da unidade e deslize a bandeja da unidade para o lugar.
- Conecte os cabos de alimentação e sinal à nova unidade de disco rígido.
- Recoloque a cobertura do computador.
Substituir uma unidade ótica
Nota: Para este procedimento, ajuda colocar o computador na horizontal.
Para substituir uma unidade ótica:
- Remova a cobertura do computador. Consulte "Remover a cobertura do computador".
- Remova a moldura frontal. Consulte "Remover a moldura frontal".
- Desconecte os cabos de dados e alimentação da parte traseira da unidade ótica.
![]()
- Pressione o botão de liberação e empurre a unidade ótica para fora da parte frontal do chassis.
![]()
![Lenovo - IdeaCentre 700 Series - Substituindo uma unidade ótica Substituindo uma unidade ótica]()
- Deslize a nova unidade ótica para dentro da bandeja pela parte frontal até que ela se encaixe na posição.
- Conecte os cabos de dados e alimentação à nova unidade de disco.
- Recoloque a moldura frontal e a cobertura do computador.
Substituir uma placa gráfica
Nota: Para este procedimento, ajuda colocar o computador na horizontal.
Para substituir uma placa gráfica:
- Remova a cobertura do computador. Consulte "Remover a cobertura do computador".
- Siga os passos abaixo para remover uma placa gráfica:
Se o seu computador tiver placas Duo-gráficas instaladas, siga os passos abaixo para substituí-las:- Remova o parafuso que prende o suporte de fixação das placas Duo-gráficas e levante o suporte.
![Lenovo - IdeaCentre 700 Series - Substituindo uma placa gráfica - Exemplo 1 - Passo 1 Substituindo uma placa gráfica - Exemplo 1 - Passo 1]()
- Remova o parafuso que prende a trava da placa gráfica ao chassis, abra-a e remova o conector das placas Duo-gráficas.
![Lenovo - IdeaCentre 700 Series - Substituindo uma placa gráfica - Exemplo 1 - Passo 2 Substituindo uma placa gráfica - Exemplo 1 - Passo 2]()
- Remova a placa gráfica puxando-a para fora do conector.
![Lenovo - IdeaCentre 700 Series - Substituindo uma placa gráfica - Exemplo 1 - Passo 3 Substituindo uma placa gráfica - Exemplo 1 - Passo 3]()
- Remova o parafuso que prende o suporte de fixação das placas Duo-gráficas e levante o suporte.
Se o seu computador tiver uma única placa gráfica instalada, siga os passos abaixo para substituí-la:
- Remova o parafuso que prende a trava gráfica ao chassis e abra-a.
![Lenovo - IdeaCentre 700 Series - Substituindo uma placa gráfica - Exemplo 2 - Passo 1 Substituindo uma placa gráfica - Exemplo 2 - Passo 1]()
- Remova a placa gráfica puxando-a para fora do conector.
![Lenovo - IdeaCentre 700 Series - Substituindo uma placa gráfica - Exemplo 2 - Passo 2 Substituindo uma placa gráfica - Exemplo 2 - Passo 2]()
- Instale o novo adaptador no mesmo conector do adaptador.
- Gire a trava da placa gráfica para a posição fechada e prenda-a com o parafuso.
- Conecte as duas placas gráficas com o conector das placas Duo-gráficas e recoloque o suporte de fixação das placas Duo-gráficas no chassis. (Apenas para modelos com placas Duo-gráficas)
- Recoloque a cobertura do computador.
Substituir a placa de sintonizador de TV
Nota: Para este procedimento, ajuda colocar o computador numa superfície plana e estável.
Para substituir a placa de sintonizador de TV:
- Retire a tampa do computador. Consulte "Retirar a tampa do computador".
- Retire o parafuso que fixa a patilha da placa gráfica ao chassis e abra-o.
![]()
![Lenovo - IdeaCentre 700 Series - Substituir a placa de sintonizador de TV - Passo 1 Substituir a placa de sintonizador de TV - Passo 1]()
- Retire a placa de sintonizador de TV puxando-a diretamente para fora do conector.
![Lenovo - IdeaCentre 700 Series - Substituir a placa de sintonizador de TV - Passo 2 Substituir a placa de sintonizador de TV - Passo 2]()
- Instale o novo sintonizador de TV no mesmo conector.
- Rode a patilha da placa gráfica para a posição fechada e fixe-a com o parafuso.
- Volte a colocar a tampa do computador.
Substituir a fonte de alimentação
Nota: Para este procedimento, ajuda colocar o computador na horizontal.
Para substituir a fonte de alimentação:
- Remova qualquer suporte amovível (discos, CDs, DVDs ou cartões de memória) das unidades, encerre o sistema operativo e desligue o computador e todos os dispositivos anexados.
- Desligue todos os cabos de alimentação das tomadas elétricas.
- Desligue todos os cabos ligados ao computador. Isto inclui cabos de alimentação, cabos de entrada/saída (E/S) e quaisquer outros cabos que estejam ligados ao computador. Consulte "Vista esquerda e direita" e "Vista traseira" para obter ajuda na localização dos vários conectores.
- Retire a tampa do computador. Consulte "Retirar a tampa do computador".
- Desligue os cabos de alimentação dos conectores na placa-mãe.
![]()
- Retire os 4 parafusos que fixam a fonte de alimentação ao chassis.
![]()
- Deslize e, em seguida, levante a fonte de alimentação para fora do chassis.
![]()
![Lenovo - IdeaCentre 700 Series - Substituir a fonte de alimentação Substituir a fonte de alimentação]()
- Instale a nova fonte de alimentação:
- Alinhe os orifícios na nova fonte de alimentação com os orifícios de montagem na parte traseira do chassis e fixe-a ao chassis com os 4 parafusos.
- Ligue os cabos de alimentação aos conectores na placa-mãe.
- Volte a colocar a tampa do computador.
Substituir a ventoinha do microprocessador
Para substituir a ventoinha do microprocessador:
- Remova qualquer suporte amovível (discos, CDs, DVDs ou cartões de memória) das unidades, encerre o sistema operativo e desligue o computador e todos os dispositivos anexados.
- Desligue todos os cabos de alimentação das tomadas elétricas.
- Desligue todos os cabos ligados ao computador. Isto inclui cabos de alimentação, cabos de entrada/saída (E/S) e quaisquer outros cabos que estejam ligados ao computador. Consulte "Vista esquerda e direita" e "Vista traseira" para obter ajuda na localização dos vários conectores.
- Retire a tampa do computador. Consulte "Retirar a tampa do computador".
- Desligue o cabo de alimentação da ventoinha do conector na placa-mãe.
- Retire os 4 parafusos que fixam a ventoinha do microprocessador ao dissipador de calor e levante a ventoinha do microprocessador para a remover.
![Lenovo - IdeaCentre 700 Series - Substituir a ventoinha do microprocessador Substituir a ventoinha do microprocessador]()
- Para instalar a nova ventoinha do microprocessador:
- Alinhe a nova ventoinha do microprocessador com o dissipador de calor e fixe-a ao dissipador de calor com 4 parafusos.
- Ligue o cabo de alimentação da ventoinha do microprocessador ao conector na placa.
- Volte a colocar a tampa do computador.
Substituir o dissipador de calor
Nota: Para este procedimento, ajuda colocar o computador na horizontal.
Para substituir o dissipador de calor:
- Remova qualquer suporte amovível (discos, CDs, DVDs ou cartões de memória) das unidades, encerre o sistema operativo e desligue o computador e todos os dispositivos anexados.
- Desligue todos os cabos de alimentação das tomadas elétricas.
- Desligue todos os cabos ligados ao computador. Isto inclui cabos de alimentação, cabos de entrada/saída (E/S) e quaisquer outros cabos que estejam ligados ao computador. Consulte "Vista esquerda e direita" e "Vista traseira" para obter ajuda na localização dos vários conectores.
- Retire a tampa do computador. Consulte "Retirar a tampa do computador".
- Remova a ventoinha do microprocessador. Consulte "Substituir a ventoinha do microprocessador".
- Retire os 4 parafusos que fixam o dissipador de calor à placa-mãe.
- Levante o dissipador de calor para o remover.
![Lenovo - IdeaCentre 700 Series - Substituir o dissipador de calor Substituir o dissipador de calor]()
- Instale o novo dissipador de calor:
- Alinhe os parafusos no novo dissipador de calor com os orifícios de montagem na placa-mãe e fixe-o com os 4 parafusos.
- Volte a fixar a ventoinha do microprocessador ao dissipador de calor.
- Volte a ligar o cabo de alimentação da ventoinha do microprocessador ao conector na placa-mãe.
- Volte a colocar a tampa do computador.
Substituir a CPU
Nota: Para este procedimento, ajuda colocar o computador na horizontal.
Para substituir a CPU:
- Remova qualquer suporte amovível (discos, CDs, DVDs ou cartões de memória) das unidades, encerre o sistema operativo e desligue o computador e todos os dispositivos anexados.
- Desligue todos os cabos de alimentação das tomadas elétricas.
- Desligue todos os cabos ligados ao computador. Isto inclui cabos de alimentação, cabos de entrada/saída (E/S) e quaisquer outros cabos que estejam ligados ao computador. Consulte "Vista esquerda e direita" e "Vista traseira" para obter ajuda na localização dos vários conectores.
- Retire a tampa do computador. Consulte "Retirar a tampa do computador".
- Remova a ventoinha do microprocessador. Consulte "Substituir a ventoinha do microprocessador".
- Remova o dissipador de calor. Consulte "Substituir o dissipador de calor".
- Para remover o microprocessador
da placa do sistema, prima e, em seguida, deslize a pequena pega para fora para a fazer saltar para cima.
e abra o retentor. ![]()
![Lenovo - IdeaCentre 700 Series - Substituir a CPU Substituir a CPU]()
Atenção: Não toque nos contactos dourados na parte inferior do microprocessador. Ao manusear o microprocessador, toque apenas nos lados.
Nota: Não deixe cair nada na tomada do microprocessador enquanto esta estiver exposta. Os pinos da tomada devem ser mantidos o mais limpos possível. - Segurando os lados do microprocessador com os dedos, retire a tampa de proteção
que protege os contactos dourados no novo microprocessador. ![]()
- Segurando os lados do microprocessador com os dedos, posicione o microprocessador de forma a que os entalhes no microprocessador estejam alinhados com os encaixes na tomada do microprocessador.
Para evitar danificar os contactos do microprocessador, mantenha o microprocessador completamente nivelado ao instalá-lo na tomada. - Baixe o microprocessador diretamente para a sua tomada na placa-mãe.
- Para fixar o microprocessador na tomada, feche o retentor do microprocessador e bloqueie-o na posição com a pequena pega.
- Utilize uma seringa de massa térmica para colocar 5 gotas de massa na parte superior do microprocessador. Cada gota de massa deve ter 0,03 ml (3 marcas de traço na seringa de massa).
- Volte a fixar o dissipador de calor, a ventoinha do microprocessador e a tampa do computador.
Substituir a placa Wi-Fi
Nota: Para este procedimento, ajuda colocar o computador na horizontal.
Para substituir a placa Wi-Fi:
- Remova qualquer suporte amovível (discos, CDs, DVDs ou cartões de memória) das unidades, encerre o sistema operativo e desligue o computador e todos os dispositivos anexados.
- Desligue todos os cabos de alimentação das tomadas elétricas.
- Desligue todos os cabos ligados ao computador. Isto inclui cabos de alimentação, cabos de entrada/saída (E/S) e quaisquer outros cabos que estejam ligados ao computador. Consulte "Vista esquerda e direita" e "Vista traseira" para obter ajuda na localização dos vários conectores.
- Retire a tampa do computador. Consulte "Retirar a tampa do computador".
- Desligue os 2 cabos da antena da placa Wi-Fi.
- Retire os 2 parafusos que fixam a placa Wi-Fi à placa-mãe.
- Puxe a placa Wi-Fi para cima para a remover da porta da placa.
![Lenovo - IdeaCentre 700 Series - Substituir a placa Wi-Fi Substituir a placa Wi-Fi]()
- Instale a nova placa Wi-Fi:
- Alinhe a nova placa Wi-Fi e, em seguida, insira-a na mesma porta da placa.
- Fixe a placa Wi-Fi à placa-mãe com os 2 parafusos.
- Ligue os 2 cabos da antena à nova placa Wi-Fi.
- Volte a colocar a tampa do computador.
Substituir a placa-mãe
Nota: Para este procedimento, ajuda colocar o computador na horizontal.
Para substituir a placa-mãe:
- Retire qualquer suporte físico (discos, CDs, DVDs ou cartões de memória) das unidades, encerre o sistema operativo e desligue o computador e todos os dispositivos ligados.
- Desligue todos os cabos de alimentação das tomadas elétricas.
- Desligue todos os cabos ligados ao computador. Isto inclui cabos de alimentação, cabos de entrada/saída (E/S) e quaisquer outros cabos que estejam ligados ao computador. Consulte "Vista esquerda e direita" e "Vista traseira" para obter ajuda para localizar os vários conectores.
- Retire a tampa do computador. Consulte "Retirar a tampa do computador".
- Retire o módulo de memória. Consulte "Substituir um módulo de memória".
- Retire a ventoinha do microprocessador. Consulte "Substituir a ventoinha do microprocessador".
- Retire o dissipador de calor. Consulte "Substituir o dissipador de calor".
- Retire a placa gráfica. Consulte "Substituir a placa gráfica".
- Retire a placa de sintonizador de TV. Consulte "Substituir a placa de sintonizador de TV".
- Retire a placa Wi-Fi. Consulte "Substituir a placa Wi-Fi".
- Retire a CPU. Consulte "Substituir a CPU".
- Desligue todos os cabos dos conectores na placa-mãe.
- Retire os 8 parafusos que fixam a placa-mãe ao chassis.
- Deslize e, em seguida, levante a placa-mãe para fora do chassis para a remover.
![Lenovo - IdeaCentre 700 Series - Substituir a placa-mãe Substituir a placa-mãe]()
- Instale a nova placa-mãe:
- Alinhe os orifícios na nova placa-mãe com os orifícios de montagem no chassis e fixe-a com parafusos.
- Volte a colocar o módulo de memória, a placa Wi-Fi, a CPU e o dissipador de calor na nova placa-mãe.
- Ligue todos os cabos à nova placa-mãe.
- Ligue a placa gráfica e a placa de sintonizador de TV à nova placa-mãe.
- Volte a colocar a tampa do computador.
Informações Adicionais sobre o Serviço
Este capítulo fornece informações adicionais que o representante de serviço pode considerar úteis.
Gestão de energia
A gestão de energia reduz o consumo de energia de determinados componentes do computador, como a fonte de alimentação do sistema, o processador, as unidades de disco rígido e alguns monitores.
BIOS da Interface Avançada de Configuração e Energia (ACPI)
Como este computador tem um sistema BIOS ACPI, o sistema operativo tem permissão para controlar as funcionalidades de gestão de energia do computador e as definições para o modo BIOS de Gestão Avançada de Energia (APM) são ignoradas. Nem todos os sistemas operativos suportam o modo BIOS ACPI.
Funcionalidades de Ligação Automática
As funcionalidades de Ligação Automática no menu Gestão de Energia permitem ativar e desativar funcionalidades que ligam o computador automaticamente.
- Ativar ao Sinal: Pode especificar uma data e hora em que o computador será ligado automaticamente. Pode ser um evento único, um evento diário ou um evento semanal.
- Ativar na LAN: Esta funcionalidade permite que a placa adaptadora LAN ative o Sistema.
Informações de segurança
Este capítulo contém as informações de segurança com as quais tem de estar familiarizado antes de efetuar a manutenção de um computador.
Segurança geral
Siga estas regras para garantir a segurança geral:
- Mantenha a área das máquinas organizada durante e após a manutenção.
- Ao levantar qualquer objeto pesado:
- Certifique-se de que consegue ficar de pé em segurança sem escorregar.
- Distribua o peso do objeto de forma igual entre os seus pés.
- Use uma força de elevação lenta. Nunca se mova subitamente nem se contorça quando tentar levantar.
- Levante-se ou impulsione com os músculos das pernas; esta ação remove a tensão dos músculos das suas costas.
Não tente levantar quaisquer objetos que pesem mais de 16 kg ou objetos que considere demasiado pesados para si.
- Não efetue nenhuma ação que cause perigo para o cliente ou que torne o equipamento inseguro.
- Antes de ligar a máquina, certifique-se de que outros representantes de assistência e o pessoal do cliente não estão numa posição perigosa.
- Coloque as tampas removidas e outras peças num lugar seguro, longe de todo o pessoal, enquanto efetua a assistência à máquina.
- Mantenha a sua mala de ferramentas afastada das áreas de circulação para que outras pessoas não tropecem nela.
- Não use roupa larga que possa ficar presa nas peças móveis de uma máquina. Certifique-se de que as suas mangas estão apertadas ou enroladas acima dos cotovelos. Se tiver cabelo comprido, prenda-o.
- Coloque as extremidades da sua gravata ou cachecol dentro da roupa ou prenda-as com uma presilha não condutora, aproximadamente a 8 centímetros da extremidade.
- Não use joias, correntes, óculos com armação de metal ou fechos de metal na sua roupa.
Lembre-se: Os objetos de metal são bons condutores elétricos. - Use óculos de segurança quando estiver a: martelar, furar, soldar, cortar fios, prender molas, usar solventes ou trabalhar em quaisquer outras condições que possam ser perigosas para os seus olhos.
- Após a assistência, reinstale todos os protetores de segurança, proteções, etiquetas e fios de terra. Substitua qualquer dispositivo de segurança gasto ou defeituoso.
- Reinstale todas as tampas corretamente antes de devolver a máquina ao cliente.
Segurança elétrica
A corrente elétrica dos cabos de alimentação, telefone e comunicação pode ser perigosa. Para evitar lesões pessoais ou danos no equipamento, desligue os cabos de alimentação, sistemas de telecomunicações, redes e modems anexos antes de abrir as tampas do computador, a menos que seja instruído de outra forma nos procedimentos de instalação e configuração.
Observe as seguintes regras ao trabalhar em equipamentos elétricos.
Use apenas ferramentas e equipamentos de teste aprovados. Algumas ferramentas manuais têm cabos cobertos com um material macio que não o isola quando trabalha com correntes elétricas ativas. Muitos clientes têm, perto do seu equipamento, tapetes de borracha que contêm pequenas fibras condutoras para diminuir as descargas eletrostáticas. Não use este tipo de tapete para se proteger contra choques elétricos.
- Encontre o interruptor de interrupção de alimentação de emergência (EPO), o interruptor de desconexão ou a tomada elétrica da sala. Se ocorrer um acidente elétrico, pode então operar o interruptor ou desligar o cabo de alimentação rapidamente.
- Não trabalhe sozinho em condições perigosas ou perto de equipamentos que tenham tensões perigosas.
- Desligue toda a alimentação antes de:
- Efetuar uma inspeção mecânica
- Trabalhar perto de fontes de alimentação
- Remover ou instalar unidades substituíveis em campo (FRU)
- Antes de começar a trabalhar na máquina, desligue o cabo de alimentação. Se não conseguir desligá-lo, peça ao cliente para desligar a caixa de parede que fornece alimentação à máquina e para bloquear a caixa de parede na posição desligada.
- Se precisar de trabalhar numa máquina que tenha circuitos elétricos expostos, observe as seguintes precauções:
- Certifique-se de que outra pessoa, familiarizada com os controlos de interrupção de alimentação, está perto de si.
Lembre-se: Outra pessoa deve estar presente para desligar a alimentação, se necessário. - Use apenas uma mão ao trabalhar com equipamento elétrico ligado; mantenha a outra mão no bolso ou atrás das costas.
Lembre-se: Deve existir um circuito completo para causar choque elétrico. Ao observar a regra acima, pode impedir que uma corrente passe pelo seu corpo. - Ao usar um testador, defina os controlos corretamente e use os cabos de sonda e acessórios aprovados para esse testador.
- Coloque-se em cima de tapetes de borracha adequados (obtidos localmente, se necessário) para o isolar de terras como tiras de metal no chão e estruturas de máquinas.
- Certifique-se de que outra pessoa, familiarizada com os controlos de interrupção de alimentação, está perto de si.
Observe as precauções de segurança especiais quando trabalhar com tensões muito elevadas; estas instruções estão nas secções de segurança das informações de manutenção. Tenha extremo cuidado ao medir tensões elevadas.
- Inspecione e mantenha regularmente as suas ferramentas manuais elétricas para garantir uma condição de funcionamento segura.
- Não use ferramentas e testadores gastos ou partidos.
- Nunca parta do princípio que a alimentação foi desligada de um circuito. Primeiro, verifique se foi desligada.
- Procure sempre cuidadosamente por possíveis perigos na sua área de trabalho. Exemplos destes perigos são pisos húmidos, cabos de extensão de alimentação não ligados à terra, picos de tensão e terras de segurança em falta.
- Não toque em circuitos elétricos ativos com a superfície refletora de um espelho dentário de plástico. A superfície é condutora; tal toque pode causar lesões pessoais e danos na máquina.
- Não efetue a manutenção das seguintes peças com a alimentação ligada quando forem removidas dos seus locais de funcionamento normais numa máquina:
- Unidades de fonte de alimentação
- Bombas
- Sopradores e ventoinhas
- Geradores de motor
e unidades semelhantes. (Esta prática garante o aterramento correto das unidades.)
- Se ocorrer um acidente elétrico:
- Tenha cuidado; não se torne uma vítima você mesmo.
- Desligue a alimentação.
- Envie outra pessoa para obter assistência médica.
Guia de inspeção de segurança
O objetivo deste guia de inspeção é ajudá-lo a identificar condições potencialmente inseguras nestes produtos. Cada máquina, tal como foi concebida e construída, tinha os itens de segurança necessários instalados para proteger os utilizadores e o pessoal de assistência contra lesões. Este guia aborda apenas esses itens. No entanto, deve usar o bom senso para identificar potenciais perigos de segurança devido à ligação de funcionalidades ou opções não abrangidas por este guia de inspeção.
Se estiverem presentes condições inseguras, deve determinar quão grave o perigo aparente poderá ser e se pode continuar sem primeiro corrigir o problema.
Considere estas condições e os perigos de segurança que apresentam:
- Perigos elétricos, especialmente alimentação primária (a tensão primária na estrutura pode causar choque elétrico grave ou fatal).
- Perigos explosivos, como uma face de CRT danificada ou um condensador saliente
- Perigos mecânicos, como hardware solto ou em falta
O guia consiste numa série de passos apresentados numa lista de verificação. Comece as verificações com a alimentação desligada e o cabo de alimentação desligado.
Lista de verificação:
- Verifique se as tampas exteriores têm danos (extremidades soltas, partidas ou afiadas).
- Desligue o computador. Desligue o cabo de alimentação.
- Verifique o cabo de alimentação para:
- Um conector de terra de terceiro fio em boas condições. Use um medidor para medir a continuidade de terra de terceiro fio para 0,1 ohm ou menos entre o pino de terra externo e a terra da estrutura.
- O cabo de alimentação deve ser do tipo apropriado, conforme especificado nas listas de peças.
- O isolamento não deve estar desgastado ou gasto.
- Remova a tampa.
- Verifique se existem alterações óbvias. Use o bom senso quanto à segurança de quaisquer alterações.
- Verifique dentro da unidade se existem condições inseguras óbvias, como limalhas de metal, contaminação, água ou outros líquidos, ou sinais de danos causados por fogo ou fumo.
- Verifique se existem cabos gastos, desgastados ou entalados.
- Verifique se os fixadores da tampa da fonte de alimentação (parafusos ou rebites) não foram removidos ou adulterados.
Manuseamento de dispositivos sensíveis a descargas eletrostáticas
Qualquer peça de computador que contenha transístores ou circuitos integrados (CI) deve ser considerada sensível a descargas eletrostáticas (ESD). Danos por ESD podem ocorrer quando existe uma diferença de carga entre objetos. Proteja contra danos por ESD igualando a carga para que a máquina, a peça, o tapete de trabalho e a pessoa que manuseia a peça estejam todos com a mesma carga.
Notas:
- Use procedimentos de ESD específicos do produto quando excederem os requisitos aqui indicados.
- Certifique-se de que os dispositivos de proteção ESD que usa foram certificados (ISO 9000) como totalmente eficazes.
Ao manusear peças sensíveis a ESD:
- Mantenha as peças em embalagens de proteção até serem inseridas no produto.
- Evite o contacto com outras pessoas ao manusear a peça.
- Use uma pulseira de terra contra a sua pele para eliminar a estática no seu corpo.
- Evite que a peça toque na sua roupa. A maior parte da roupa é isolante e retém uma carga, mesmo quando está a usar uma pulseira.
- Use o lado preto de um tapete de trabalho com ligação à terra para fornecer uma superfície de trabalho livre de estática. O tapete é especialmente útil ao manusear dispositivos sensíveis a ESD.
- Selecione um sistema de ligação à terra, como os listados abaixo, para fornecer proteção que cumpra o requisito de assistência específico.
Nota: O uso de um sistema de ligação à terra é desejável, mas não é necessário para proteger contra danos por ESD.- Anexe a presilha de terra ESD a qualquer terra da estrutura, trança de terra ou terra de fio verde.
- Use uma terra comum ESD ou um ponto de referência ao trabalhar num sistema com isolamento duplo ou alimentado por bateria. Pode usar coaxiais ou invólucros exteriores de conetores nestes sistemas.
- Use o pino de terra redondo da ficha CA em computadores operados por CA.
Requisitos de aterramento
O aterramento elétrico do computador é necessário para a segurança do operador e o funcionamento correto do sistema. O aterramento adequado da tomada elétrica pode ser verificado por um eletricista certificado.
Avisos de segurança
A corrente elétrica dos cabos de alimentação, telefone e comunicação é perigosa.
Para evitar um risco de choque:
- Não conecte ou desconecte quaisquer cabos nem efetue a instalação, manutenção ou reconfiguração deste produto durante uma trovoada.
- Conecte todos os cabos de alimentação a uma tomada elétrica devidamente ligada e aterrada.
- Conecte a tomadas devidamente ligadas qualquer equipamento que seja anexado a este produto.
- Quando possível, use apenas uma mão para conectar ou desconectar cabos de sinal.
- Nunca ligue qualquer equipamento quando houver evidência de incêndio, água ou danos estruturais.
- Desconecte os cabos de alimentação, sistemas de telecomunicações, redes e modems anexos antes de abrir as tampas do dispositivo, a menos que seja instruído de outra forma nos procedimentos de instalação e configuração.
- Conecte e desconecte cabos conforme descrito na tabela a seguir ao instalar, mover ou abrir tampas neste produto ou em dispositivos anexados.
Para conectar
- Desligue tudo.
- Primeiro, anexe todos os cabos aos dispositivos.
- Anexe os cabos de sinal aos conectores.
- Anexe os cabos de alimentação à tomada.
- Ligue o dispositivo.
Para desconectar
- Desligue tudo.
- Primeiro, remova os cabos de alimentação da tomada.
- Remova os cabos de sinal dos conectores.
- Remova todos os cabos dos dispositivos.
Ao substituir a pilha de lítio, use apenas o Número de peça 45C1566 ou uma pilha de tipo equivalente recomendada pelo fabricante. Se o seu sistema tiver um módulo contendo uma pilha de lítio, substitua-o apenas pelo mesmo tipo de módulo fabricado pelo mesmo fabricante. A pilha contém lítio e pode explodir se não for usada, manuseada ou eliminada corretamente.
Não:
- Atire ou mergulhe em água
- Aqueça a mais de 100 °C
- Repare ou desmonte
Elimine a pilha conforme exigido pelas leis ou regulamentos locais.
Quando produtos laser (como CD-ROMs, unidades de DVD-ROM, dispositivos de fibra ótica ou transmissores) estão instalados, observe o seguinte:
- Não remova as tampas. A remoção das tampas do produto laser pode resultar em exposição a radiação laser perigosa. Não há peças reparáveis dentro do dispositivo.
- O uso de controlos ou ajustes ou o desempenho de procedimentos diferentes dos especificados neste documento pode resultar em exposição a radiação perigosa.
Alguns produtos laser contêm um díodo laser Classe 3A ou Classe 3B incorporado. Observe o seguinte:
Radiação laser quando aberto. Não olhe fixamente para o feixe, não veja diretamente com instrumentos óticos e evite a exposição direta ao feixe
| ≥18 kg(37 lbs) | ≥32 kg(70.5 lbs) | ≥55 kg(121.2 lbs) |
Use práticas seguras ao levantar.
O botão de controlo de alimentação no dispositivo e o interruptor de alimentação na fonte de alimentação não desligam a corrente elétrica fornecida ao dispositivo. O dispositivo também pode ter mais do que um cabo de alimentação. Para remover toda a corrente elétrica do dispositivo, certifique-se de que todos os cabos de alimentação estão desconectados da fonte de alimentação.
Não coloque nenhum objeto com peso superior a 82 kg em cima de dispositivos montados em rack.
Descarregar manual
Aqui pode descarregar a versão completa em PDF do manual, ela pode conter instruções de segurança adicionais, informações de garantia, regras da FCC, etc.
Descarregar Manual da Série Lenovo IdeaCentre 700





no módulo de memória se alinha corretamente com a chave do conector
na placa de sistema. Empurre o módulo de memória para baixo, diretamente no conector, até que os clipes de retenção se fechem.



















da placa do sistema, prima e, em seguida, deslize a pequena pega para fora para a fazer saltar para cima.
e abra o retentor. 


