Somfy Eolis WireFree io - Udhëzues për Instalimin e Stacionit Meteorologjik

Ky udhëzues përshkruan se si të instaloni, vini në punë dhe përdorni këtë produkt.
Hyrje
Eolis WireFree™ io është një sensor i erës pa tela i pajisur me teknologjinë radio io-homecontrol®.
I lidhur drejtpërdrejt me motorët io-homecontrol® për tenda tarracash, perde vertikale ose perde veneciane të jashtme, Eolis WireFree™ io lejon kontrollin automatik të ngritjes së këtyre aplikacioneve kur era fryn mbi një prag të caktuar të paravendosur.
Pragu i ndjeshmërisë ndaj erës është i paravendosur si parazgjedhje, por mund të rregullohet në sensor, sipas kërkesave dhe kushteve klimatike aktuale.
Siguria
Siguria dhe përgjegjësia
Përpara se të instaloni dhe përdorni këtë produkt, ju lutemi lexoni me kujdes këtë udhëzues.
Ky produkt Somfy duhet të instalohet nga një instalues profesionist i motorizimit dhe automatizimit të shtëpisë, për të cilin është menduar ky udhëzues.
Për më tepër, instaluesi duhet të respektojë standardet dhe legjislacionin aktual në vendin ku po instalohet produkti dhe të informojë klientët e tij për kushtet e funksionimit dhe mirëmbajtjes së produktit.
Çdo përdorim jashtë sferës së aplikimit të specifikuar nga Somfy është i ndaluar. Kjo e zhvlerëson garancinë dhe e shkarkon Somfy-n nga çdo përgjegjësi, siç bën çdo dështim për të respektuar udhëzimet e dhëna këtu.
Mos filloni kurrë instalimin pa kontrolluar fillimisht pajtueshmërinë e këtij produkti me pajisjet dhe aksesorët e lidhur.
Këshilla specifike për sigurinë
Figura A
Për të shmangur dëmtimin e Eolis WireFree™ io:
- Shmangni goditjet!
- Mos e hidhni!
- Mos e zhysni.
- Mos përdorni produkte gërryese ose tretës për të pastruar produktin.
- Mos e pastroni duke përdorur një spërkatje uji ose metoda pastrimi me presion të lartë.
Sigurohuni që sensori të mbahet i pastër dhe kontrolloni rregullisht nëse funksionon siç duhet.
Ky sensor nuk i mbron tendat në rast të erërave të forta. Nëse ka rrezik për këtë lloj moti, sigurohuni që tendat të qëndrojnë të mbyllura.
Përmbajtja
Figura B

| Përshkrimi | Sasia | |
| a | Eolis WireFree™ io | 1 |
| b | Mbajtëse muri | 1 |
| c | Vidë | 2 |
| d | Tapë | 2 |
| e | Bateri AA (LR6) 1.5 V | 2 |
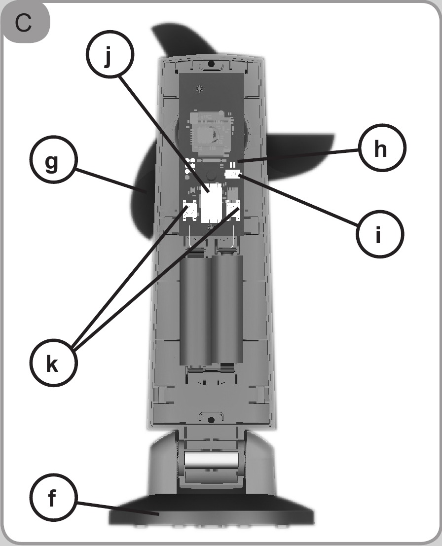
Eolis WireFree™ io në detaje
Figura C

- Mbajtëse muri
- Kupa
- Drita treguese portokalli/jeshile
- Butoni i programimit (PROG.)
- Ekrani i shfaqjes së pragut
- Çelësat e vendosjes së pragut: + dhe -
Vënia në punë
Instalimi i baterive
Figura D

Mos përdorni kurrë bateri të rikarikueshme.
- Hapni Eolis WireFree™ io duke ngritur kapakun siç tregohet nga shigjeta.
- Vendosni 2 bateritë e ofruara, duke u siguruar që ato të jenë të pozicionuara saktë sipas polaritetit.
- Drita treguese e sensorit do të jetë jeshile nëse niveli i baterisë është i saktë.
- Lëreni sensorin të hapur për të vazhduar vënien në punë.
Çiftimi i Eolis WireFree™ io me një marrës ose motor io
Figura E

Motori duhet të jetë tashmë i vendosur dhe i çiftuar me një pikë kontrolli lokale
io-homecontrol®.
- Shtypni butonin PROG në pikën e kontrollit lokal Somfy io
për 2 sekonda, derisa aplikacioni të kryejë një lëvizje lart dhe poshtë. - Shtypni shkurtimisht butonin PROG të Eolis WireFree™ io: aplikacioni kryen një tjetër lëvizje lart dhe poshtë, dhe sensori është i çiftuar.
Për të çiftuar disa motorë ose marrës me sensorin, përsëriteni këtë procedurë.
Për t'u çiftuar duke përdorur një pikë kontrolli io-homecontrol® nga një markë partnere ose një pikë kontrolli Somfy io
bidireksionale, ju lutemi referojuni udhëzuesit përkatës.
Rregullimi i pragut të ndjeshmërisë ndaj erës në Eolis WireFree™ io
Figura F

- Hapni Eolis WireFree™ io dhe shtypni një nga butonat e vendosjes së pragut (+ ose -):
- Pragu i paravendosur shfaqet dhe aplikacionet e çiftuara kryejnë një lëvizje lart dhe poshtë.
Nëse ekrani tregon « - «, shikoni seksionin «Rivendosja e pragjeve të ndjeshmërisë ndaj erës të Eolis WireFree™ io».
- Pragu i paravendosur shfaqet dhe aplikacionet e çiftuara kryejnë një lëvizje lart dhe poshtë.
- Rregulloni pragun duke përdorur çelësat e vendosjes (+ ose -):
Drejt -: era duhet të fryjë më pak fort, drejt +: era duhet të fryjë më fort për të shkaktuar mbrojtjen.- Ekrani do të shfaqë pragun e ri.
Ka 9 pragje (nga 1 në 9) që rrisin ndjeshmërinë ndaj shpejtësisë së erës nga afërsisht 10 në 65 km/h.
- Ekrani do të shfaqë pragun e ri.
Kontrollimi i çiftimit
Figura G

Gjatë vendosjes, kur ekrani i pragut është ende i ndezur:
- Vendosni aplikacionet për motorët dhe/ose marrësit me të cilët është çiftuar sensori në pozicionin e mesëm, nëse është e nevojshme.
- Kthejeni kupat me dorë për të simuluar fryrjen e erës:
- Drita e ekranit të pragut fiket dhe të gjitha këto aplikacione ngrihen në kufirin e sipërm (pavarësisht nga forca e ushtruar ose pragu i vendosur).
Kjo lejon një kontroll për të siguruar që komanda e erës i është dërguar motorit(ëve) dhe/ose marrësit(ëve).
- Drita e ekranit të pragut fiket dhe të gjitha këto aplikacione ngrihen në kufirin e sipërm (pavarësisht nga forca e ushtruar ose pragu i vendosur).
Instalimi
Rekomandime
Figura H

Zgjidhni një vend me zbulim maksimal të erës dhe që nuk pengohet nga pengesat.
Sensori duhet të instalohet gjithmonë në mënyrë që të jetë horizontal, me kupat që shikojnë poshtë.
Fiksimi i mbajtëses së murit Eolis WireFree™ io
Figura I

- Shkëputni pjesën dekorative nga mbajtësja e murit.
- Shponi dy vrima (6 mm në diametër) njëra mbi tjetrën dhe afërsisht 66 mm larg.
- Fiksoni mbajtësen e murit me dy vidat e furnizuara duke vendosur vrimën e sheshtë poshtë drejt fundit.
- Rivendosni pjesën dekorative në mbajtësen e murit, duke pozicionuar logon Somfy në mënyrë që të jetë e dukshme në fund dhe shtypni pjesën dekorative derisa të «klikojë» saktë në vend.
Vendosja dhe montimi i sensorit
Figura J

- Montoni kapakun e sensorit:
- Futni skedat e montimit në vendet e tyre (në anën më të ngushtë).
- Bashkoni 2 pjesët e sensorit (ana e kundërt) duke shtrydhur derisa të klikojë në vend.
- Kapni pirunin e sensorit në shufërën e mbajtëses së murit, me kupat që shikojnë poshtë, dhe shtyjeni derisa të klikojë.
- Anoni sensorin në mbajtësen e tij në mënyrë që të jetë horizontal.
- Ristrëngoni vidën që ndodhet në shufërën e mbajtëses së murit në mënyrë që të bllokoni animin e sensorit.

Referenca
Shkarko manual
Këtu mund të shkarkoni versionin e plotë pdf të manualit, ai mund të përmbajë udhëzime shtesë sigurie, informacione garancioni, rregulla FCC, etj.
Shkarko Somfy Eolis WireFree io - Udhëzues për Instalimin e Stacionit Meteorologjik