Microlife WS 80-N - Ръководство за диагностична везна
- 1 Общ преглед
- 2 Въведение
- 3 Важни факти за състава на тялото
- 4 Предложения за употреба
- 5 Използване на устройството за първи път
- 6 Въвеждане на лични данни
- 7 Изчисляване на телесния състав
- 8 Важни инструкции за безопасност
- 9 Гаранция
- 10 Технически спецификации
- 11 Препратки
- 12 Изтегли ръководство
- 13 На други езици

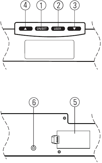
Общ преглед


- Бутон ON/SET (Вкл./Задаване)
- Бутон User (Потребител)
- Бутон Down (Надолу)
- Бутон Up (Нагоре)
- Отделение за батерии
- Превключвател KG / LB / ST
Дисплей

- Индикация за слаба батерия
- Нулиране
- Показание за тегло
- Индикация за потребител
- Пол
- Възраст
- Височина
- Показание за телесни мазнини
- Показание за телесна вода
- Показание за мускулна маса
- Показание за костна маса
- Показание за индекс на телесна маса (BMI)
- Показание за базален метаболизъм (BMR)
- Грешка
Въведение
Тази диагностична везна ви позволява да оцените състава на тялото си. Познаването на състава на тялото ви позволява да комбинирате правилно хранене и физическа активност като основни условия за подобряване на качеството на живот, насърчаване на здравето и предотвратяване на патологии. Подробна информация за потребителите относно нашите продукти и нашите услуги можете да намерите на www.microlife.it.. Бъдете здрави – Microlife AG!
Важни факти за състава на тялото
Важно е да се знае състава на тялото на даден индивид, за да може да се прецени неговото/нейното здравословно състояние. Не е достатъчно да се знае теглото на човек, но е необходимо да се определи неговото качество, което означава разделяне на човешкото тяло на неговите две основни компонентни маси:
- Чиста телесна маса: кости, мускули, вътрешности, вода, органи, кръв
- Мастна телесна маса: мастни клетки
Телесни мазнини
Общата маса на телесните мазнини се изчислява чрез сумиране на есенциалните мазнини (или първичните мазнини) и резервните мазнини (или складираните мазнини). Есенциалните мазнини са необходими за метаболизма, а някои резервни мазнини, които теоретично са излишни, са необходими за тези, които извършват физически дейности.
За мъжете процентът на телесните мазнини между 17-26% се счита за нормален, а за жените между 22-31%.
Процентът на телесните мазнини се увеличава с възрастта на човека.
Телесна вода
Процентът на телесната вода е важна индикация за цялостното «добро състояние» на човешкото същество, тъй като водата е най-важният компонент на телесното тегло. Изследванията показват, че 57% телесна вода е оптимално, но обикновено няма проблем, ако показанието е с 10% по-високо или по-ниско.
Процентът на телесната вода е по-голям в детството и намалява с възрастта. Жените, които обикновено имат повече мастна тъкан от мъжете, имат водно съотношение около 55-58%, докато мъжете имат около 60-62%. Обикновено под 40% би се считало за твърде ниско, а над 70% за твърде високо.
Вариациите в телесното тегло, които се случват в рамките на няколко часа, са напълно нормални и се дължат на задържане на вода, тъй като извънклетъчната вода е единственият компонент, подложен на такива бързи вариации.
Мускулна маса
Мускулната маса е важна за определяне на здравословния състав на тялото. Човек с по-висок % мускулна маса по-лесно се движи, но се нуждае от повече енергия, за да го направи.
Упражненията са много важни за поддържане на здраво тяло и процентът на мускулната маса е полезен индикатор за контролирането му.
Нормалният процент на мускулната маса върху телесното тегло е между 38-54% за мъжете и между 28-39% за жените в зависимост от възрастта и нивото на физическа активност.
Костна маса
Костната маса се увеличава бързо в детството и достига своя максимум между 30-40 години. След това леко намалява с увеличаване на възрастта.
Здравословното хранене, редовните упражнения, включително известно ниво на изграждане на мускули, могат да помогнат за намаляване на костната дегенерация. Въпреки това, иначе е трудно значително да се повлияе на костната маса.
Фактори като възраст, пол, тегло и височина имат малко влияние върху костната маса. Средната костна маса при възрастни е 15% за мъжете и 12% за жените. Няма признати насоки или препоръки, свързани с костната маса.
Индекс на телесна маса (BMI)
BMI (ИТМ) е прост индекс на теглото спрямо височината, който обикновено се използва за класифициране на поднормено тегло, наднормено тегло и затлъстяване при възрастни. Изчислява се чрез разделяне на телесното тегло в kg на квадрата на височината в m на човек.
Класификацията на СЗО за BMI (ИТМ) е следната:
- Нормално: 18.50-24.99 kg/m2
- Поднормено тегло: под 18.50 kg/m2
- Наднормено тегло: над 24.99 kg/m2
- Затлъстяване: над 29.99 kg/m2
Базален метаболизъм (BMR)
BMR (БМ) в kcal е количеството енергия, необходимо на тялото, когато е в състояние на пълна почивка, за да поддържа основните си функции. Около 70% от общия разход на енергия на човек се дължи на основните жизнени процеси в органите на тялото. Около 20% от разхода на енергия на човек идва от физическа активност, а други 10% от храносмилането на храната.
Оценка може да бъде получена чрез уравнение, използващо възраст, пол, височина и тегло. Няма признати насоки или препоръки, свързани с BMR (БМ).
Предложения за употреба
- Поставете везната на равна, твърда повърхност. Меките, неточни подови настилки (напр. килими, мокети, линолеум) могат да доведат до неравномерно отчитане на теглото ви от везната.
- Стъпете върху везната с успоредни крака и тегло, разпределено по равно.
- Стойте неподвижно, докато везната измерва теглото ви.
- Важно е да се претегляте със сухи, боси крака, правилно поставени върху електродите. Освен това, за да работи везната правилно, избягвайте краката ви да се докосват.
- Везната е безопасна за използване като обикновена везна от всички. Следните хора не трябва да извършват диагностично измерване:
- бременни жени
- хора, приемащи сърдечно-съдови лекарства
- лица с пейсмейкър или други форми на електронно, медицинско оборудване
- лица с температура
- деца под 10-годишна възраст
- лица на диализа, с отоци по краката, хора с диморфизъм или страдащи от остеопороза
- Винаги се претегляйте на една и съща везна всеки ден по едно и също време, за предпочитане съблечени и преди закуска. За да получите най-добри резултати от везната си, претеглете се два пъти и ако двете тегла се различават едно от друго, теглото ви е между двете показания. Изчакайте около 15 минути след ставане, за да може водата да се разпредели в тялото ви.
- Повърхността на везната може да бъде хлъзгава, ако е мокра.
- Ако възникне грешка по време на анализа на състава на тялото ви, везната ще се изключи автоматично.
- Точността на резултатите от измерването може да бъде променена в следните случаи:
- високо ниво на алкохол / наркотици / кофеин
- след интензивна спортна дейност
- по време на заболяване или бременност
- след обилно хранене или при наличие на дехидратация
- личните ви данни (височина, възраст, пол) не са въведени правилно
- ако имате мокри или мръсни крака
ЗАБЕЛЕЖКА: Съставът на тялото, измерен от тази везна, трябва да се счита само за приблизителна информация. За повече информация се консултирайте с вашия лекар или диетолог.
ЗАБЕЛЕЖКА:Само хора между 10-100 години и тези, които са между 100-200 cm високи, могат да използват функцията за измерване на състава на тялото на тази везна.
Използване на устройството за първи път
Как да поставите батерии
Тази везна работи с две сменяеми литиеви батерии.
Когато батериите са празни, дисплеят показва «LO»
или символа на батерията. Поставете две нови батерии в отделението за батерии
с положителния полюс нагоре.
Превключвател KG / LB / ST
Разположен в долната част на везната, този превключвател
ви позволява да изберете мерната единица за претегляне: kg, lb или st.
Изберете желаната от вас мерна единица, винаги когато везната е включена и се показва «0.0» (в противен случай мерната единица не може да бъде променена).
Използване като обикновена везна
- За да получите точни измервания, поставете везната на твърд равен под.
- Стъпете върху везната и изчакайте, без да се движите; след няколко секунди екранът ще покаже теглото ви
. Не се облягайте на нищо, докато се претегляте, тъй като това може да промени показанието. - Слезте от везната, екранът ще продължи да показва теглото ви за няколко секунди, след което ще се изключи автоматично.
- Ако се покаже символът «ERR»
, това означава, че е възникнала грешка по време на измерването. Започнете цялата процедура отново от самото начало.
Въвеждане на лични данни
Този кантар може да запамети данните на 10 различни човека.
- Включете кантара, като натиснете бутона ON/SET (Вкл./Задаване).
- На дисплея ще мига «P 01»
, което показва лице «01»: ако желаете да промените мястото в паметта (памети от 01-10), натиснете символите «
»
или «
»
. След като сте избрали мястото в паметта, натиснете ON/SET (Вкл./Задаване)
, за да потвърдите. - Натиснете символите «
»
или «
»
, за да определите своя пол
. Натиснете ON/SET (Вкл./Задаване)
, за да потвърдите. - Използвайте символите «
»
или «
»
, за да въведете възрастта си (от 10-100)
. Натиснете ON/SET (Вкл./Задаване)
, за да потвърдите. - Въведете височината си (от 100-200 cm), като използвате символите «
»
или «
»
, за да увеличите или намалите стойността. Натиснете USER (Потребител)
, за да потвърдите.
Сега дисплеят ще покаже запаметените данни последователно, за да проверите дали са верни. След това кантарът е готов за измерване.
За да промените въведените данни, извикайте съответното място в паметта и повторете цялата процедура. За да въведете данните на друг човек, изберете свободно място в паметта и повторете цялата описана по-горе процедура.
ЗАБЕЛЕЖКА: Кантарът ще се изключи автоматично, ако не бъде натиснат бутон в рамките на 10 секунди.
Изчисляване на телесния състав
- Включете кантара, като натиснете бутона ON/SET (Вкл./Задаване).
- На дисплея ще мига «P 01»
, за да покаже лице «01»: ако желаете да промените мястото в паметта (памети от 01-10), натиснете символите «
»
или «
»
. Изберете мястото си в паметта и натиснете USER (Потребител)
, за да потвърдите. Въведените данни, както и последните измерени стойности, ще се видят на дисплея и след това ще се появи «0.0»
. За да започнете измерването веднага, без да преглеждате предишно измерените си данни, натиснете USER (Потребител)
отново и «0.0» ще се покаже веднага. - Стъпете на кантара, като се уверите, че поставяте босите си крака върху двата електрода. Дисплеят ще покаже следните данни последователно:
- вашето тегло
мига 3 пъти - процентното съдържание на мазнини в тялото ви
![]()
- процентното съдържание на вода в тялото ви
![]()
- вашата мускулна маса в kg
![]()
- процентното съдържание на костна маса
![]()
- вашият BMI в kg/m2
![]()
- вашият BMR в kcal
![]()
- Кантарът ще се изключи автоматично след 5 секунди.
ЗАБЕЛЕЖКА: На дисплея ще се появят пет половинки от 8 цифри, за да покажат началото на диагностичното измерване. Можете да слезете от кантара, след като изчезнат и се покаже процентното съдържание на мазнини в тялото ви.
ЗАБЕЛЕЖКА: Започнете цялата процедура отново от самото начало, ако се покаже символът «ERR»
. Ако дисплеят не е на «0.0»
, няма да е възможно да се извърши измерване.
Сравнете получените резултати с параметрите, изброени в раздела «Важни факти за телесния състав»: Ако резултатите ви са извън нормалните стойности, препоръчваме ви да се консултирате с вашия лекар.
Важни инструкции за безопасност
- Това устройство може да се използва само за целите, описани в тези инструкции. Производителят не носи отговорност за щети, причинени от неправилно приложение.
- Това устройство съдържа чувствителни компоненти и трябва да се третира с повишено внимание. Спазвайте условията за съхранение и експлоатация, описани в раздела «Технически спецификации».
- Защитете го от:
- вода, влага и екстремни температури
- удар и падане
- замърсяване и прах
- пряка слънчева светлина, топлина и студ
- Не използвайте това устройство, ако смятате, че е повредено или забележите нещо необичайно.
- Никога не отваряйте това устройство.
- Ако устройството няма да се използва за продължителен период от време, батериите трябва да бъдат извадени.
- Прочетете допълнителната информация за безопасност, предоставена в отделните раздели на това ръководство с инструкции.

Уверете се, че децата не използват това устройство без надзор; някои части са достатъчно малки, за да бъдат погълнати. Бъдете наясно с риска от удушаване, в случай че това устройство е снабдено с кабели или тръби.
Грижа за устройството
Почиствайте устройството само с мека, суха кърпа.
Изхвърляне
Батериите и електронните устройства трябва да се изхвърлят в съответствие с местните приложими разпоредби, а не с битовите отпадъци.
Гаранция
Това устройство е покрито от 2 години гаранция от датата на закупуване. През този гаранционен период, по наша преценка, Microlife ще поправи или замени дефектния продукт безплатно.
Отварянето или промяната на устройството прави гаранцията невалидна.
Ако е необходимо гаранционно обслужване, моля, свържете се с дилъра, от който е закупен продуктът, или с местния сервиз на Microlife. Можете да се свържете с местния сервиз на Microlife чрез нашия уебсайт: www.microlife.it/contatti.
Компенсацията е ограничена до стойността на продукта. Гаранцията ще бъде предоставена, ако целият продукт бъде върнат с оригиналната фактура. Ремонтът или замяната в рамките на гаранцията не удължава или подновява гаранционния период. Законните искове и права на потребителите не са ограничени от тази гаранция.
Технически спецификации
- Капацитет: 180 kg / 397 lb / 28 st
- Резолюция: 0.1 kg / 0.2 lb
- Памет за 10 души
- Две 3V литиеви батерии, CR 2032
- Прецизност и повторяемост с толерантен диапазон в рамките на:
± 1% + 0.1 kg / 0.2 lb
Технически промени запазени.
Дистрибутор
Microlife AG
Espenstrasse 139
9443 Widnau / Switzerland
www.microlife.com

Препратки
Microlife Italia | Soluzioni intelligenti & tecnologia avanzata - Microlife AG
Contatti - Microlife AG
Hypertension and Fever Management - Microlife AG
Изтегли ръководство
Тук можете да изтеглите пълната версия на ръководството в pdf формат, което може да съдържа допълнителни инструкции за безопасност, информация за гаранцията, правила на FCC и др.
Изтегли Microlife WS 80-N - Ръководство за диагностична везна
. Не се облягайте на нищо, докато се претегляте, тъй като това може да промени показанието.
, това означава, че е възникнала грешка по време на измерването. Започнете цялата процедура отново от самото начало.
, което показва лице «01»: ако желаете да промените мястото в паметта (памети от 01-10), натиснете символите «
»
или «
»
. След като сте избрали мястото в паметта, натиснете ON/SET (Вкл./Задаване)
, за да потвърдите.
. Натиснете ON/SET (Вкл./Задаване)
. Натиснете ON/SET (Вкл./Задаване)
, за да потвърдите.
мига 3 пъти




