Vivo Buri Virtalähde KNX 160/320/640mA Käyttöohje

Kuvaus
Vivo® -virtalähde Bil/Popi/Buri KNX on KNX-laite, joka asennetaan kiskoon ja joka tuottaa ja valvoo 30 Vdc -jännitettä, jota tarvitaan väyläjärjestelmän käyttämiseen. Laitteessa on integroitu kuristin, joka erottaa virtalähteen ja väylälinjan tiedot. KNX-väylälinjaan voidaan liittää enintään 64 KNX-väylälaitetta. Lähtö on suojattu ylikuormitukselta ja oikosululta. Laite voi tukea lyhyitä sähkökatkoja (enintään 200 ms).
Toiminnot
- 30 Vdc SELV -virtalähde KNX-väylälinjalle, jossa
- 30 Vdc SELV -virtalähde KNX-väylälinjalle, jossa on enintään 64 kytkettyä laitetta (Bil KNX) enintään 64 kytkettyä laitetta (Bil KNX)
- Kytketyn väylälinjan nollaus sisäisellä de-
- Kytketyn väylälinjan nollaus sisäisellä erillisellä painikkeella
Pääominaisuudet
- Kotelo muovimateriaalia
- Asennus 35 mm:n kiskoon (standardin EN 60715 mukaisesti)
- Suojausluokka IP20 (asennettu laite)
- Ilmastollinen luokitus 3K5 ja mekaaninen 3M2 (ac-
- Saastumisaste 2 (standardin IEC 60664-1 mukaisesti)
- 4 moduuliyksikköä (1 UM = 18 mm)
- Mitat 72 x 90 x 62 mm (LxKxS)
- Paino 225 g
Ympäristöolosuhteet
- Käyttölämpötila: - 5... + 45°C
- Varastointilämpötila: - 25... + 55°C
- Kuljetuslämpötila: - 25... + 70°C
- Suhteellinen kosteus: 95 %, ei tiivistyvä
| Koodi | Kuvaus |
| K.BUR.01A.20N.WO | Buri KNX - 160 mA |
| K.POP.01A.20N.WO | Popi KNX - 320 mA |
| K.BIL.01A.20N.WO | Bil KNX - 640 mA |
Tekniset tiedot
Virtalähde
- Jännite 230/110 Vac, 50/60 Hz
- Virrankulutus 22 W (tehohäviöt < 3 W)
Lähdöt
- Väylälinjan jännite: 30 Vdc +1/-2 Vdc SELV
- Nimellisvirta (kokonaislähdöt): 640-320-160 mA
- Puskuriaika: 200 ms
- Väylälinjan liitäntä: KNX-liitinlohko (musta/punainen) sisältyy toimitukseen
Kytkentä-, näyttö- ja liitäntäelementit
Laitteessa on nollauspainike, liitinlohkot verkkojännitteelle 230/110 Vac, KNX-väylälinja.
Suunnittelu
KNX-väyläasennusta suunniteltaessa 640 mA:n virtalähteen käyttö edellyttää seuraavien ohjeiden huomioon ottamista:
- kytkettyjen väylälaitteiden enimmäismäärä on 64;
- linjasegmentin enimmäispituus on 350 m
![Vivo - Buri KNX - Suunnittelu Suunnittelu]()
- Liitinlohkot virtalähteelle 110-230 Vac 50/60 Hz
- Tilan merkkivalo
- Nollauspainike (sisäinen)
- Liitinlohko KNX-väylälinjalle mitattuna linjaa pitkin virtalähteen ja kauimmaisen väylälaitteen välillä;
- kahden väylälaitteen välinen enimmäisetäisyys ei saa ylittää 700 m;
- väylälinjan enimmäispituus on 1000 m, kun kaikki segmentit otetaan huomioon.
Samalle väylälinjalle voidaan liittää enintään kaksi virtalähdettä. Toinen virtalähde voi olla tarpeen, kun asennus jakotauluihin edellyttää väylälaitteiden erityistä keskittymistä (yleensä yli 30 yksikköä asennettuna 10 metrin säteellä). Tässä tapauksessa virtalähde on asennettava lähelle laitteiden ryhmää. Samalle väylälinjalle asennettujen kahden virtalähteen välillä on oltava vähintään 200 metrin etäisyys, mitattuna linjaa pitkin.
Asennus
Laitteen suojausluokka on IP20, ja se soveltuu siksi käytettäväksi kuivissa sisätiloissa. Kotelo on tehty kiskoasennukseen standardin EN 60715 mukaisesti sähkönjakelutauluissa tai -kaapeissa. Asennus on vaakasuorassa asennossa, oikea asento on, kun KNX-väylälinjan ja apu-
KNX-väylälinjojen syöttämiseen saa käyttää vain KNX-väylävirtalähdettä (esim. Vivo Cursa KNX). Muiden virtalähteiden käyttö voi vaarantaa tiedonsiirron ja vahingoittaa väylään kytkettyjä laitteita.
lähdön liittimet sijaitsevat alareunassa ja liittimet ( , L, N) verkkovirran 230/110 Vac liittämistä varten sijaitsevat yläreunassa. Laitteen asentaminen kiskoon tapahtuu seuraavasti:
- vie lukituslaite työkalun avulla täysin alas laskettuun asentoon (a);
- aseta takaosan sisäprofiilin yläreuna kiskon yläreunaan (b);
- kierrä laitetta kohti kiskoa (c);
- työnnä lukituslaite ylöspäin, kunnes se pysähtyy (d).
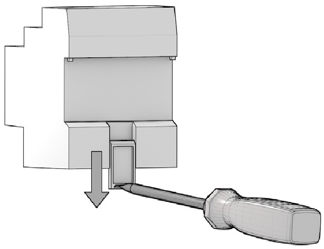
Ennen laitteen irrottamista varmista, että väylän liittimet on irrotettu paikoistaan. Liu'uta lukituslaite alas ruuvimeisselillä ja irrota laite kiskosta.
Sähköliitännät
Verkkovirta 230/110 Vac
Liitäntä 230/110 Vac -verkkovirtaan tehdään ruuviliittimillä ( , L, N), jotka sijaitsevat
HUOMAUTUS:
Kun laite asennetaan tauluihin ja kaappeihin, on huolehdittava tarvittavasta ilmanvaihdosta, jotta lämpötila pysyy laitteen käyttöalueella.
laitteen etuosan yläosassa. Liitinlohkojen ominaisuudet:
- johtimien ruuvikiinnitys
- johtimen enimmäispoikkipinta-ala 2,5 mm²
- suositeltava johdon kuorinta n. 6 mm
- vääntömomentti enintään 0,5 Nm
KNX-väylälinja
Liitäntä KNX-väylälinjaan tehdään toimitukseen sisältyvällä liitinlohkossa (musta/punainen), joka työnnetään etuosan vasemmassa alaosassa olevaan paikkaan.

KNX-liitinlohkon ominaisuudet:
- johtimien jousikiinnitys
- 4 paikkaa johtimille kullekin napaisuudelle
- liitin soveltuu KNX-väyläkaapelille, jossa on yksisäikeiset johtimet ja halkaisija 0,6–0,8 mm
- suositeltava johdon kuorinta n. 5 mm
- värikoodaus: punainen = + (positiivinen) väyläjohdin, musta = - (negatiivinen) väyläjohdin musta = - (negatiivinen) väyläjohdin
Konfigurointi ja käyttöönotto
Konfigurointi
Laite ei vaadi konfigurointia ETS® (Engineering Tool Software) -työkalulla. Sovellusohjelmisto on saatavana, jotta ETS-projektiin voidaan lisätä Bil/Popi/Buri KNX -virtalähde.
Käyttöönotto
Laitteen käyttöönottoa varten kytke päälle verkkovirta 230/110 Vac, johon laite on kytketty. Vihreä merkkivalo "ON" (päällä) ilmaisee, että laite on toiminnassa.
Laitteen sähköliitännän saa suorittaa vain pätevä henkilöstö. Virheellinen asennus voi aiheuttaa sähköiskun tai tulipalon. Ennen sähköliitäntöjen tekemistä varmista, että virta on katkaistu.
Nollaus
Laitteessa on nollauspainike. Nollauksen jälkeen väylälinjaan ei syötetä virtaa 20 sekunnin ajan, ja siihen kytketyt väylälaitteet palautetaan alkuperäiseen tilaansa. Tänä aikana nollaus-LED (punainen) palaa jatkuvasti.
Merkinnät
- KNX
- CE: laite on pienjännitedirektiivin (2006/95/EY) ja sähkömagneettista yhteensopivuutta koskevan direktiivin (2004/108/EY) mukainen. Testit on suoritettu standardien EN 50491-2:2010, EN 50491-3:2009, EN 50491-4-1:2012, EN 50491-5-1:2010, EN 50491-5-2:2010, EN 50428:2005 + A1:2007 + A2:2009 mukaisesti
Huolto
Laite on huoltovapaa. Puhdistukseen käytetään kuivaa liinaa. Liuottimien tai muiden aggressiivisten aineiden käyttöä on vältettävä.
Hävittäminen

Tämän tuotetiedotteen tuote luokitellaan sen käyttöiän päätyttyä sähkö- ja elektroniikkalaiteromuksi Euroopan parlamentin ja neuvoston direktiivin 2002/96/EY (WEEE) mukaisesti, eikä sitä saa hävittää yhdessä lajittelemattoman yhdyskuntajätteen kanssa.
Varoitukset
- Laitteen asennuksen, sähköliitännän, konfiguroinnin ja käyttöönoton saa suorittaa vain pätevä henkilöstö kunkin maan voimassa olevien teknisten standardien ja lakien mukaisesti
- Virtalähdelinja, johon laite on kytketty, on varustettava helposti saatavilla olevalla katkaisulaitteella, jonka koskettimien välinen vähimmäiserotusetäisyys on 3 mm
- Laitteen kotelon avaaminen aiheuttaa välittömän takuuajan päättymisen
- Peukaloinnin tapauksessa laitteelle sertifioitujen sovellettavien direktiivien olennaisten vaatimusten noudattamista ei enää taata
- Vivo® KNX -viatilanteessa olevat laitteet on palautettava valmistajalle seuraavaan osoitteeseen:
Vivo Suisse Sagl, Viale dei Faggi 20, CH 6900 Lugano
Tämän tuotteen virheellinen hävittäminen voi aiheuttaa vakavaa vahinkoa ympäristölle ja ihmisten terveydelle. Ole hyvä ja tutustu paikallisten viranomaisten antamiin jätteiden keräys- ja käsittelymenetelmiin.
Muuta tietoa
- Käyttöohje on toimitettava loppuasiakkaalle projektin dokumentaation mukana
- Lisätietoja tuotteesta saat ottamalla yhteyttä Vivo® -tekniseen tukeen sähköpostiosoitteessa: customerservice@vivoknx.com tai vierailemalla verkkosivustolla www.vivoknx.com
- Jokaisella Vivo® -laitteella on yksilöllinen sarjanumero etiketissä. Asentajat tai järjestelmäintegraattorit voivat käyttää sarjanumeroa dokumentointitarkoituksiin, ja se on lisättävä jokaiseen Vivo -tekniselle tuelle osoitettuun viestiin, jos laitteessa on toimintahäiriö
- Vivo® on Vivo Suisse Sagl:n rekisteröity tavaramerkki
- KNX® ja ETS® ovat KNX Association cvba:n, Brysselin rekisteröityjä tavaramerkkejä
© Vivo Suisse Sagl 2017. Yritys pidättää oikeuden tehdä muutoksia tähän dokumentaatioon ilman erillistä ilmoitusta.
Lataa käyttöohje
Täältä voit ladata täydellisen pdf-version käyttöohjeesta, se voi sisältää lisäturvallisuusohjeita, takuutietoja, FCC-sääntöjä jne.
Lataa Vivo Buri Virtalähde KNX 160/320/640mA Käyttöohje




