Panduan FIIDO Kidz

Pendahuluan Produk
Ikhtisar Produk
FIIDO Kidz adalah sepeda keseimbangan elektrik yang didedikasikan untuk memprioritaskan keselamatan anak-anak sekaligus mengembangkan keterampilan keseimbangan mereka selama bermain. Sepeda inovatif ini terhubung dengan mulus ke ponsel cerdas melalui APP Fiido, memberdayakan orang tua atau wali untuk mengelola kecepatan maksimum, tingkat output daya, dan fungsi hidup/mati daya, memastikan pengalaman keselamatan yang optimal bagi anak-anak.
Sepeda ini dilengkapi dengan rem drum pemutus daya, motor bebas hambatan, dan ban 12 inci, melayani anak-anak berusia 2 hingga 7 tahun, dengan kecepatan maksimum mencapai 7,4MPH (12km/jam).
Daftar Kemasan
Bagian Produk

Aksesori

Alat

*Harap periksa dengan cermat apakah semua item lengkap dan utuh. Jika ada masalah seperti hilang atau rusak, segera hubungi tim purna jual resmi.
Diagram Produk

*Jika Anda memerlukan servis atau penggantian baterai, harap hubungi tim purna jual kami atau pengecer lokal. Non profesional tidak diperbolehkan melepas atau memasang baterai.
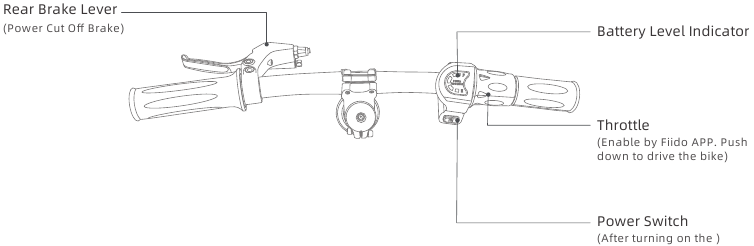
DESKripsi Fungsi
Stang

Baterai

Panduan Penggunaan
Panduan pemasangan
Sepeda ini sebagian besar sudah dirakit sebelum meninggalkan pabrik. Saat Anda menerima sepeda, Anda hanya perlu menyesuaikan stang dan memasang batang.
Pasang stang
- Menyesuaikan batang: Putar batang 180° untuk menyejajarkannya dengan roda depan;
![]()
- Memasang stang: Lepaskan penutup batang, letakkan stang pada batang, lalu tutupi dengan penutup stang dan kencangkan sekrup secara berurutan.
![FIIDO - Kidz - Memasang stang - Langkah 1 Memasang stang - Langkah 1]()
- Kencangkan batang: Seperti yang ditunjukkan pada foto, setelah menyesuaikan stang agar tegak lurus dengan roda depan, kencangkan sekrup di bagian atas batang dan dua sekrup di samping untuk menyelesaikan pemasangan.
![FIIDO - Kidz - Memasang stang - Langkah 2 Memasang stang - Langkah 2]()
Koneksi APP
Produk ini diatur ke mode orang tua secara default di mana fungsi throttle dan bantuan daya dimatikan. Untuk mengaktifkan fungsi throttle atau bantuan daya, unduh aplikasi Fiido dan hubungkan ke sepeda. Kemudian, Anda dapat beralih ke mode anak atau orang tua untuk mode throttle atau bantuan daya.
- Unduh dan instal aplikasi, lalu daftar atau masuk.
![FIIDO - Kidz - Koneksi APP - Langkah 1 Koneksi APP - Langkah 1]()
- Tekan sakelar baterai di sisi rangka untuk menghidupkan baterai. Kemudian, tekan sakelar di bawah layar untuk menghidupkan daya untuk sepeda.
(Catatan: Jika produk tidak dihidupkan dalam waktu lama, Anda dapat menekan sakelar baterai untuk mematikan baterai, yang secara efektif dapat mengurangi konsumsi daya.)
![FIIDO - Kidz - Koneksi APP - Langkah 2 Koneksi APP - Langkah 2]()
- Hidupkan Bluetooth di telepon> APP Fiido > Perangkat > +Daftarkan Perangkat Saya > CARI> Klik hubungkan (cari: Fiido-Kidz)>berhasil ditautkan.
Fungsi APP

Cara menggunakan berbagai mode Fiido Kidz:
(Catatan:
- Saat sepeda dalam mode Pengendara, matikan sepeda lalu hidupkan kembali, sepeda akan tetap dalam mode ini. Throttle akan diaktifkan tanpa terhubung ke aplikasi.
- Saat sepeda dalam mode orang tua, matikan lalu hidupkan kembali sepeda, pengaturan akan direset ke default. Anda harus terhubung kembali ke aplikasi dan menyesuaikan kecepatan dan mode sebelum digunakan.)
- Mode Pengendara: Ini memungkinkan pengendara untuk mengoperasikan sepeda secara mandiri. Kecepatan maksimum dapat mencapai 7,4 MPH (12 km/jam). (Catatan: Fungsi ini hanya untuk pengguna yang familiar dengan produk, mampu beroperasi secara mandiri, dan berada di area aman tertentu.)
- Mode Orang Tua: Dalam mode ini, wali dapat menyesuaikan kecepatan sepeda, throttle, dan waktu bantuan kick-start.
Kecepatan: Anda dapat mengontrol kecepatan maksimum dengan throttle/kick-start.
Throttle: Anda dapat memilih untuk mengaktifkan atau menonaktifkan throttle.
Durasi Kick-start: Anda dapat memilih durasi akselerasi kick-start saat kendaraan melakukan kick-start. (Dalam mode orang tua, mode throttle dan kick-start tidak dapat diaktifkan secara bersamaan. Saat menyesuaikan durasi kick-start, throttle akan otomatis dimatikan.)
Penggunaan pertama kali
Sebelum berkendara, harap ikuti panduan pemasangan untuk memasang komponen dengan benar, periksa apakah firmware longgar, pastikan daya mencukupi, dan lakukan perlindungan yang sesuai untuk berkendara.
- Sesuaikan jok
Sesuaikan sadel ke ketinggian yang sesuai untuk pengendara. Sesuaikan arah dan sudut sadel, dan kencangkan sekrup setelah diposisikan dengan benar.
- Hidupkan sepeda
- Tekan sakelar baterai di sisi rangka untuk menghidupkan baterai.
- Tekan sakelar daya di pegangan kanan untuk menghidupkan sepeda. Layar akan dihidupkan, menunjukkan bahwa daya hidup.
- Buka aplikasi Fiido dan cari Fiido-Kidz untuk terhubung ke Fiido-Kidz.
- Mulai berkendara
Harap lakukan perlindungan yang sesuai sebelum mulai berkendara.
- Pengalihan mode
Beralih dan pilih mode berkendara sesuai dengan kondisi jalan bersepeda dan kebutuhan pribadi.
Untuk pemilihan mode tertentu, lihat di atas. Jika menggunakan fungsi throttle, setelah mengaktifkan throttle di aplikasi, Anda dapat memutar pegangan kanan ke bawah untuk mengaktifkannya.
Jika menggunakan bantuan kick-start dalam mode orang tua, Anda dapat menendang ke belakang dengan kaki Anda, dan fungsi bantuan kick-start akan otomatis aktif untuk akselerasi.
- Pengantar pengereman
Rem kiri adalah rem pemutus daya, yang berarti akselerasi tidak dapat terjadi saat rem diterapkan. Disarankan bahwa dalam hal pengereman darurat, setelah menggenggam rem kiri, sentuh tanah dengan kedua kaki secara perlahan untuk melakukan deselerasi secara bersamaan, untuk mencegah kecelakaan akibat condong ke depan dan jatuh yang disebabkan oleh kecepatan yang berlebihan.
Instruksi pengisian daya
Baterai dilengkapi dengan sejumlah kecil listrik, sebelum penggunaan pertama kali, pastikan untuk mengisi daya hingga penuh sebelum berkendara.
Pengisian daya
- Koneksi pengisian daya: Hubungkan antarmuka pengisian daya dari pengisi daya ke port pengisian daya, lalu hubungkan steker daya pengisi daya ke soket daya.
![FIIDO - Kidz - Instruksi pengisian daya - Langkah 1 - Hubungkan pengisi daya Instruksi pengisian daya - Langkah 1 - Hubungkan pengisi daya]()
- Terisi penuh: Saat lampu indikator pengisi daya berwarna merah, berarti pengisian daya normal. Saat lampu berwarna hijau, berarti terisi penuh.
- Jam pengisian daya: Jam pengisian daya sekitar 4 jam, Durasi tergantung pada situasinya.
- Putuskan pengisian daya: Saat lampu indikator berubah menjadi hijau, berarti terisi penuh. Cabut steker daya terlebih dahulu, lalu lepaskan antarmuka pengisian daya dari baterai. Tutup penutup debu baterai.
Pengisi daya memiliki perangkat tegangan tinggi, JANGAN diperbaiki tanpa izin. Untuk menghindari bahaya, baterai dan pengisi daya harus ditempatkan jauh dari jangkauan anak-anak. Seharusnya tidak ada benda yang mudah terbakar dan meledak di sekitar baterai (seperti bantalan jok mobil, sofa, dll.). Simpan baterai di tempat yang berventilasi dan kering, dan pastikan untuk TIDAK mengisi daya di tempat terbuka, untuk menghindari kebakaran korsleting listrik dan kecelakaan lain yang disebabkan oleh hujan dan faktor lainnya, dan untuk mencegah cairan dan partikel logam masuk ke bagian listrik.
Pengisian daya dapat diperbolehkan pada peralatan pengisian daya publik, tetapi kesesuaian antara baterai dan peralatan pengisian daya harus sepenuhnya dipertimbangkan.
Jika ada bau atau suhu tinggi selama pengisian daya, harap segera hentikan pengisian daya dan hubungi tim purna jual untuk mendapatkan bantuan.
Tindakan pencegahan pemeliharaan
Menggunakan tindakan pencegahan
- Pengguna harus memperhatikan keselamatan penggunaan sepeda
- Tidak boleh parkir di lobi gedung, tangga evakuasi, jalan setapak, dan pintu keluar keselamatan.
- Tidak boleh mengisi daya di gedung tempat tinggal. Pengisian daya harus jauh dari bahan yang mudah terbakar, dan tidak lebih dari 4 jam.
- Cegah air masuk ke bagian listrik. Saat membersihkan sepeda, hindari benturan air pada port pengisian daya, konektor rangkaian kabel, sekring, dan bagian listrik lainnya.
- Saat menyesuaikan ketinggian sadel, tanda garis keselamatan pada tiang kursi tidak boleh terlihat.
- Pengguna dan dealer tidak boleh memasang kabel dan memodifikasi struktur dan kinerja tanpa izin. Seperti: mengubah konfigurasi baterai, sirkuit, meningkatkan daya lampu, meningkatkan suara, dan modifikasi lainnya.
- Jangan sentuh bagian sepeda yang bertegangan dengan tangan basah atau konduktor logam. Seperti: port pengisian daya, colokan pengisi daya, dll.
- Saat mengganti pemutus sirkuit atau sekring, gunakan pemutus sirkuit atau sekring dari model dan spesifikasi yang ditentukan. Jangan membuat kabel sekring menjadi pendek. Slot kartu pemutus sirkuit atau sekring harus dalam kondisi kontak yang baik, atau dapat menyebabkan kecelakaan.
- Harap jangan membongkar komponen listrik tanpa izin untuk mencegah partikel cair dan logam menyusup ke dalam komponen listrik.
- Jangan berkendara saat cuaca buruk, atau menempatkan sepeda di tempat yang terpapar matahari/hujan dalam jangka panjang untuk menghindari penuaan komponen.
- Jika sepeda perlu digosok, harap bersihkan bodi dengan losion netral yang dicampur dengan air keran. Jangan melepas dan mencuci komponen internal untuk menghindari korsleting.
Non-profesional sangat dilarang untuk memperbaiki. Jika terjadi kegagalan, harap hubungi tim purna jual atau stasiun pemeliharaan profesional yang berwenang untuk pemeliharaan.
- Keselamatan berkendara: harap patuhi hukum dan peraturan lalu lintas nasional dan lokal, perhatikan keselamatan berkendara.
- Pengguna harus berusia di atas 3 tahun. Jangan meminjamkan kepada orang yang tidak dapat mengoperasikan sepeda untuk menghindari bahaya.
- Harap patuhi peraturan setempat dan gunakan produk hanya di area aman yang ditentukan. Pastikan kecepatan maksimum tidak melebihi 7,4 MPH (12 km/jam).
- Harap membawa orang atau barang sesuai dengan hukum dan peraturan setempat saat berkendara.
- Pastikan untuk mengenakan helm pengaman yang sesuai dan kencangkan tali angin helm saat berkendara.
- Jarak pengereman akan diperpanjang pada hari hujan dan bersalju, harap perhatikan untuk memperlambat, dan usahakan untuk menghindari berkendara saat cuaca buruk. Korsleting internal dan kerusakan komponen listrik dapat disebabkan jika permukaan air mencapai bagian tengah hub motor roda belakang, harap diperhatikan.
- Harap ikuti aturan lalu lintas setempat dengan cermat. Tidak boleh berkendara setelah minum, dan pastikan untuk selalu berkendara dengan kedua tangan.
- Setelan warna cerah, santai, dan nyaman disarankan untuk berkendara, dan memakai sepatu hak rendah untuk berkendara diperlukan.
- Pemeriksaan sebelum berkendara: harap perbaiki tepat waktu atau pergi ke tempat perawatan setempat untuk diperbaiki, jika ada kelainan.
- Harap konfirmasi penggunaan daya normal saat menggunakan standar dan roda belakang tidak menyentuh tanah.
- Nyalakan daya, periksa apakah lampu indikator normal, dan catu daya mencukupi.
- Periksa apakah bel dan lampu depan/belakang dalam kondisi baik.
- Konfirmasikan apakah setang dan tiang kursi disesuaikan dengan posisi yang sesuai, bahwa sekrup pengencang dan pelepas cepat dikencangkan. Perhatikan bahwa garis keselamatan tidak boleh terlihat.
- Periksa gagang rem belakang, penyetelan rem harus membuat rem andal dan fleksibel diatur ulang.
- Periksa apakah tekanan ban normal, tidak ada retakan, keausan abnormal, paku, batu, kaca, dan benda tajam lainnya.
- Periksa apakah sekrup roda depan/belakang terkunci, reflektor samping, belakang, dan pedal dalam kondisi baik.
- Periksa apakah lampu depan/belakang normal dan pastikan lampu dapat digunakan dengan baik saat berkendara.
- Periksa keadaan pengencangan setiap poros untuk memastikan poros depan/belakang dalam keadaan andal.
- Periksa apakah penjepit rangka terkunci sebelum berkendara.
Tekanan ban yang tidak normal, kerusakan retak ban, dan keausan yang tidak normal adalah penyebab utama kegagalan kemudi dan ledakan ban.
- Perhatian di jalan
- Demi keselamatan Anda dan keselamatan orang lain, harap patuhi aturan lalu lintas setempat secara sadar.
- Sebelum berkendara, pastikan untuk mengenakan helm pengaman, mengambil tindakan pencegahan keselamatan, dan menjaga postur alami.
- Pada awal berkendara, harap perlahan dipercepat, untuk menghindari pemborosan energi atau kecelakaan.
- Untuk masa pakai baterai dan motor yang lebih lama, saat mulai berkendara atau mendaki, harap coba gunakan mode bantuan daya.
- Untuk memastikan keamanan, kecepatan ekonomis harus digunakan sejauh mungkin, dan mengurangi pengereman yang sering, sering memulai sejauh mungkin, untuk menghemat listrik.
- hindari fenomena mengencangkan gagang pengatur kecepatan setelah pengereman.
- Berkendara di area berlumpur atau jalan yang tidak rata harus menggunakan mode pendal sejauh mungkin.
- Jarak pengereman harus ditingkatkan dengan tepat saat cuaca buruk, harap berkonsentrasi dan berhati-hati saat berkendara.
- Dilengkapi dengan perlindungan arus berlebih. Sirkuit mungkin kelebihan arus dalam kondisi sudut menanjak yang lebih tinggi dan kecepatan angin sakal yang lebih tinggi. Lebih baik menggunakan mode pendal, jika tidak, konsumsi daya mungkin terlalu cepat untuk memengaruhi jangkauan, motor, dan peralatan listrik terbakar. Bodi dan bagian listrik tidak boleh beraliran listrik, insulasi. nilai resistansi tidak boleh kurang dari 2M ω.
- Pengontrol memiliki perlindungan undervoltage, daya akan terputus secara otomatis jika tegangan lebih rendah dari nilai undervoltage, untuk menjaga masa pakai baterai
- Perhatian saat mendorong dan parkir
- Daya harus dimatikan saat mendorong sepeda, untuk menghindari kecelakaan.
- Parkir harus di tanah datar, dan pertahankan sepeda sebagai status daya mati.
- Demi keselamatan Anda, harap rawat dan bersihkan sepeda Anda secara teratur agar tetap dalam kondisi terbaik.
Perawatan & perbaikan produk
- Sepeda telah disetel dengan baik sebelum meninggalkan pabrik. harap hubungi tim purna jual jika ada masalah.
- Pastikan untuk memeriksa kapasitas penyimpanan ban secara teratur agar tetap dalam penggunaan normal.
- Pastikan untuk memeriksa bagian utama seperti setang, stem. sadel, tiang kursi, poros depan/belakang dan tengah, roda, agar tetap dalam penggunaan normal, mur dan sekrup yang longgar harus dikencangkan tepat waktu jika longgar.
- Saat digunakan, disarankan untuk menambahkan oli pelumas dasar kalsium #3 (mentega) setiap enam bulan ke bagian yang membutuhkan pelumasan (seperti bantalan poros depan/tengah/belakang, kelompok mangkuk garpu depan,)
- Jika bagian yang rentan rusak, seperti: saluran rem, kulit rem, bantalan rem, sekring, dll. Harap temukan pusat perawatan setempat untuk mengganti, tetapi pastikan untuk mengganti dengan spesifikasi model yang sama dari bagian tersebut.
Torsi pengencangan sekrup inti stang, torsi pengencangan sekrup sambungan stang gabungan, torsi pengencangan sekrup penjepit sadel, torsi pengencangan roda depan yang direkomendasikan tidak kurang dari 18NM; Torsi yang direkomendasikan untuk mengencangkan mur kunci poros tengah dan roda belakang tidak kurang dari 30NM. Garis keselamatan tabung stang dan sadel tidak boleh terlihat di luar bodi.
Perawatan & perbaikan motor
- Dilengkapi dengan magnet permanen bumi langka DC brushless, motor hub rotor eksternal, tanpa mekanisme deselerasi dan sikat karbon, yang pada dasarnya bebas perawatan.
- Jangan buka dasar motor dan tutup ujung setelah disegel.
- Jaga agar motor tetap bersih, tidak ada benda asing, cairan korosif, gas yang masuk ke motor, jangan mengetuk dan memanggang cangkang motor, agar tidak merusak motor.
Jika kesalahan tidak dapat dihilangkan, harap hubungi tim purna jual.
Perawatan & perbaikan baterai
- Baterai lithium memiliki karakteristik kapasitas besar, umur panjang, bebas perawatan, ringan, bebas polusi, dll. Masa pakainya terkait erat dengan mode penggunaan. Jangan disimpan secara kronis, harap bentuk kebiasaan sering mengisi daya.
- Disarankan untuk mengisi daya selama 4-5 jam setiap kali, dan waktu terlama tidak lebih dari 1 hari. Baterai lithium tidak memiliki efek memori, dapat digunakan dengan pengisian daya.
- Saat sepeda tidak digunakan, harap matikan baterai. Pastikan untuk mengisi daya selama lebih dari dua jam setiap bulan dalam kondisi penyimpanan kronis. Jangan menyimpan baterai saat kehilangan daya. Setelah tegangan baterai mencapai keadaan pelepasan, akan menyebabkan kerusakan yang tidak dapat dipulihkan.
Jangan membongkar baterai lama tanpa izin, itu harus dikumpulkan sesuai dengan peraturan.
Jangan dekat api atau sumber suhu tinggi, atau membuangnya ke dalam api, atau memaparkannya ke matahari.
Metode pemecahan masalah
Kesalahan umum
| Fenomena kesalahan | Penyebab kesalahan | Aturan keluar |
Kegagalan motor suplai | Kontak gagang pengatur yang buruk Kontak sakelar pemutus rem yang buruk Kerusakan motor Kerusakan pengontrol Konektor kendur | Ubah gagang pengatur Ubah sakelar pemutus rem Ubah motor Ubah pengontrol atau perbaiki Periksa konektor |
Kurangnya jangkauan | Kekurangan tekanan ban Pengisi daya kurang atau rusak Baterai menua atau baterai rusak Lebih banyak menanjak, badai, pengereman yang sering, kelebihan beban, dll | Meniup ban Terisi penuh, periksa pengisi daya Ubah baterai Menggunakan mode pendal |
Kesulitan dalam mengisi daya | Colokan longgar Kabel baterai terputus Pengisi daya rusak | Kencangkan soket dan konektor Konektor yang dilas Ubah pengisi daya |
Spesifikasi
| Indeks properti | Item | Fiido Kidz |
| Ukuran produk | Sebelum dilipat: Panjang*Lebar*Tinggi (mm) | 910*490*600 |
| Berat bersih (kg) | 7.2 | |
| Beban maksimum (kg) | 40 | |
| Berat produk | Usia yang berlaku | 2~7 |
| Persyaratan berkendara | Tinggi yang berlaku (mm) | 60cm(2'0'' ) - 130 cm (4'3'' ) |
| Nomor seri Lokasi | Di tabung kepala | |
| kecepatan | 3.1MPH~7.4MPH(5km/h~12km/h) | |
| Spesifikasi utama | Jalan yang berlaku | Jalan Datar Perkotaan |
| Suhu pengoperasian | -10° ~50° | |
| Tegangan terukur (V) | 25.2 | |
| Jenis baterai | Baterai litium | |
| Kapasitas terukur (Wh) | 146.16 | |
| Baterai | Sistem manajemen baterai | Perlindungan panas berlebih/hubungan pendek/arus berlebih dan pengisian berlebih |
| Motor | Daya terukur (W) | Motor roda gigi tanpa sikat |
| Kecepatan terukur (r/min) | 208 | |
| Jenis Motor | 80 | |
| Pengontrol | Perlindungan undervoltase (V) | 19.6 |
| Perlindungan arus berlebih (A) | 5 | |
| Pengisi daya | Tegangan input (V) | 100-240 |
| Tegangan output (V) | 29.4 | |
| Arus output (A) | 1.5 | |
| Jam pengisian daya (h) | 4 |
* Data di atas memungkinkan toleransi produksi sebesar 5%.
* Setelah menerima sepeda, mungkin ada beberapa perbedaan antara aksesori individu dan gambar tampilan, yang berbeda karena batch yang berbeda, dan tidak memengaruhi penggunaan.
Tindakan pencegahan keselamatan
- Harap ikuti tindakan pencegahan dalam instruksi ini untuk mengurangi risiko secara efektif. Saat Anda memasuki area publik, harap patuhi peraturan nasional dan lokal, tetap waspada saat berkendara, dan jaga jarak aman yang wajar dari orang dan kendaraan lain.
- Harap operasikan sesuai instruksi manual pengguna, kerugian yang disebabkan karena tidak mengikuti instruksi akan ditanggung sendiri.
- Untuk pertama kalinya berkendara, mohon jangan memilih area dengan banyak anak-anak, pejalan kaki, hewan peliharaan, kendaraan, atau rintangan dan potensi bahaya lainnya. Harap kenali sepeda terlebih dahulu sebelum berkendara di jalan umum.
- Sebelum setiap perjalanan, harap periksa dengan cermat apakah pengencang longgar atau bagian rusak. Jika ada kebisingan yang tidak biasa, harap segera berhenti berkendara, dan hubungi tim purna jual untuk mendapatkan bantuan.
- Untuk mengurangi risiko cedera, harap baca dan ikuti semua instruksi "Perhatian", "Bahaya" dan "peringatan" dalam manual pengguna ini. Jangan ngebut, dan jangan berkendara di jalan bermotor dalam kondisi apa pun.
- Untuk pertimbangan keselamatan, pengguna harus berusia di atas 2 tahun. Pengguna dalam keadaan berikut sangat tidak disarankan untuk menggunakan produk ini:
- Orang yang terpengaruh oleh alkohol atau obat-obatan.
- Orang yang tidak dapat melakukan aktivitas fisik yang berat karena sakit.
- Orang yang tidak dapat menjaga keseimbangan atau yang keseimbangannya terganggu oleh keterampilan motorik.
- Orang yang berat badannya melebihi batas beban maksimum (beban maksimum adalah 40KG/88lb).
- Wanita hamil.
- Harap berkendara dengan hati-hati di salju, hujan, jalan basah, es, dan cuaca buruk lainnya. Jangan berkendara melewati rintangan yang terlalu tinggi atau terlalu besar, jika tidak, sangat mungkin kehilangan keseimbangan atau cengkeraman dan menyebabkan cedera.
- Jangan mencoba mengisi daya saat pengisi daya atau catu daya basah, harap ikuti peraturan keselamatan setempat jika Anda perlu mengisi daya sepeda di area publik.
- Untuk perlindungan yang efektif dan senyaman mungkin bagi Anda, pastikan untuk menggunakan suku cadang khusus Fiido.
- Jika Anda perlu memasang kembali sepeda Anda, Harap ikuti hukum dan peraturan setempat, setelah berkonsultasi dengan tim purna jual Fiido, lalu lanjutkan dengan hati-hati. Cedera serius dan/atau kerusakan yang disebabkan oleh modifikasi yang tidak sah akan mengakibatkan batalnya garansi.
* Semua gambar hanya untuk referensi.
Shenzhen Fiido Technology Ltd
Alamat: Shenzhen, Guangdong, China.
Situs web: www.fiido.com
Jika Anda memiliki pertanyaan atau saran tentang panduan pengguna ini, silakan hubungi kami melalui alamat surat berikut
Hubungi kami: support@fiido.com
Pindai untuk instruksi video
Aplikasi Fildo
Referensi
Unduh manual
Di sini Anda dapat mengunduh versi pdf lengkap manual, mungkin berisi instruksi keselamatan tambahan, informasi garansi, aturan FCC, dll.







