Manuale delle cuffie stereo Bluetooth LG TONE Free HBS-FN-7
- 1 Precauzioni di sicurezza
- 2 Altoparlante HD
- 3 Componenti del prodotto
- 4 Panoramica
- 5 Accoppiamento e connessione
- 6 Indossare gli auricolari
- 7 Riproduzione di musica
- 8 Funzioni di chiamata mobile
- 9 Ascoltare il suono ambientale (LAS) / Cancellazione attiva del rumore (ANC)
- 10 Ricarica
- 11 Controllo dello stato della batteria
- 12 Indicatore dello stato della batteria
- 13 Fuori portata
- 14 App LG TONE Free
- 15 Risoluzione dei problemi
- 16 Specifiche e caratteristiche
- 17 Dichiarazione di conformità
- 18 Informazioni aggiuntive
- 19 Informazioni importanti sulla sicurezza
- 20 Informazioni sull'avviso del software Open Source
- 21 Scarica manuale
- 22 In altre lingue

NOTA: Per ottenere le migliori prestazioni ed evitare danni o un uso improprio delle cuffie, leggere attentamente tutte le informazioni prima di utilizzare le cuffie.
Eventuali modifiche o cambiamenti a questo manuale dovuti a errori tipografici o imprecisioni delle informazioni dichiarate devono essere apportati esclusivamente da LG Electronics Inc.
LG TONE Free (HBS-FN7) sono cuffie wireless leggere che utilizzano la tecnologia Bluetooth.
Questo prodotto può essere utilizzato come accessorio audio per dispositivi che supportano il profilo Bluetooth A2DP o Hands-Free.
Precauzioni di sicurezza
Le seguenti precauzioni di sicurezza sono fornite per prevenire incidenti o danni imprevisti. Si prega di familiarizzare con le precauzioni di sicurezza.
Le precauzioni di sicurezza sono classificate in "AVVERTENZA" e "ATTENZIONE".
La mancata osservanza delle istruzioni può causare lesioni gravi o morte.
La mancata osservanza delle istruzioni può causare lesioni lievi o danni al prodotto.
- Non far cadere il prodotto da un luogo elevato.
- Assicurarsi che non ci siano acqua, alcol o benzene a contatto con il prodotto.
- Non conservare il prodotto in un luogo umido o polveroso.
- Non posizionare oggetti pesanti sul prodotto.
- Questo prodotto è impermeabile al livello IPX4 (impermeabile per la vita quotidiana). (La classificazione di impermeabilità IPX4 si applica solo al prodotto auricolare.)
- Non mettere il prodotto sott'acqua o utilizzarlo in un luogo umido come un bagno.
- Non smontare, regolare o riparare il prodotto arbitrariamente.
- Non posizionare il prodotto vicino a calore eccessivo o materiale infiammabile.
- Il prodotto potrebbe danneggiarsi se viene utilizzato un caricabatterie incompatibile.
- Assicurarsi che un neonato o un bambino non ingoi una calamita o un piccolo componente del prodotto.
- Assicurarsi che oggetti estranei non entrino nei connettori del caricabatterie (porta di ricarica e spina di alimentazione). In caso contrario, potrebbe verificarsi un incendio o una scossa elettrica.
- Se si ha un dispositivo medico impiantato, contattare il proprio medico prima di utilizzare questo dispositivo.
- Questo prodotto ha una batteria integrata e la batteria non può essere rimossa o sostituita arbitrariamente.
- Per la propria sicurezza, non rimuovere la batteria incorporata nel prodotto.
- Se si sostituisce arbitrariamente la batteria o non la si sostituisce correttamente, potrebbe esplodere.
- La batteria agli ioni di litio è un componente pericoloso che può causare lesioni.
- La sostituzione della batteria da parte di un professionista non qualificato può causare danni al dispositivo.
- Non sostituire la batteria da soli. La batteria può essere danneggiata, causando surriscaldamento e lesioni. La batteria deve essere sostituita da un fornitore di servizi autorizzato. La batteria deve essere riciclata o smaltita separatamente dai rifiuti domestici.
- Non gettare via la batteria arbitrariamente. Seguire la procedura locale per lo smaltimento delle batterie.
- Rischio di incendio o esplosione se la batteria viene sostituita con un tipo non corretto.
- Non conservare o trasportare a pressioni inferiori a 11,6 kPa e ad altitudini superiori a 15000 m.
- Sostituzione di una batteria con un tipo non corretto che può vanificare una protezione (ad esempio, nel caso di alcuni tipi di batterie al litio).
- Smaltimento di una batteria nel fuoco o in un forno caldo, o schiacciamento o taglio meccanico di una batteria, che può provocare un'esplosione.
- Lasciare una batteria in un ambiente circostante a temperatura estremamente elevata che può provocare un'esplosione o la fuoriuscita di liquidi o gas infiammabili.
- Una batteria sottoposta a una pressione dell'aria estremamente bassa che può provocare un'esplosione o la fuoriuscita di liquidi o gas infiammabili.
- Non gettare via con noncuranza le vecchie batterie. Può causare un'esplosione o un incendio. Il metodo di smaltimento può variare in base al paese e alla regione. Smaltire in modo appropriato.
NOTA
- Se il prodotto è esposto a sudore eccessivo, pulire il prodotto.
- Mantenere puliti gli auricolari.
Altoparlante HD
Se la rete di comunicazione del dispositivo a cui ci si sta connettendo supporta le chiamate vocali HD, è possibile effettuare chiamate vocali e ascoltare musica in alta definizione.
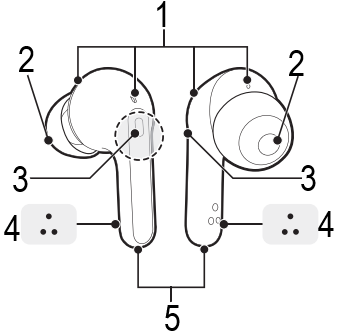
Componenti del prodotto

Auricolari LG TONE Free™ (inserti auricolari medi installati)
Custodia di ricarica UV

Inserti auricolari extra (piccoli e grandi)

Cavo di ricarica USB Type C™

Manuale utente

Scheda di garanzia

Scheda RAEE
NOTA: Il design effettivo del prodotto può differire dalle immagini mostrate nel manuale.
Assicurarsi che vengano utilizzati componenti autentici di LG Electronics. L'utilizzo di un componente non autentico può danneggiare il prodotto e quindi invalidare la garanzia. Utilizzare il cavo USB Type C™ fornito con il prodotto.
Panoramica
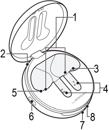
Custodia di ricarica
- Luce d'atmosfera (Quando si apre la custodia di ricarica, la luce d'atmosfera si accende e si spegne.)
- Porta di ricarica
- LED UVnano
- Terminali di ricarica
- LED UVnano
- Pulsante di accoppiamento / controllo della batteria
- Indicatore UVnano
- Indicatore dello stato della batteria
Auricolari

- Microfono
- Griglia dell'altoparlante
- Touchpad
- Terminali di ricarica
- Microfono
*L'aspetto e le specifiche del prodotto reale possono variare a seconda del modello.
Accoppiamento e connessione
Fast Pair
- Attivare la funzione Bluetooth sul telefono cellulare o sul dispositivo da connettere.
- Aprire il coperchio della custodia di ricarica con gli auricolari montati sulla custodia. Premere il pulsante di accoppiamento per 3-5 secondi finché la spia blu dello stato della batteria non lampeggia.
![LG - TONE Free - Fast Pair Step 1 Fast Pair Step 1]()
- Quando il pop-up di connessione Fast Pair appare nella parte superiore dello schermo del telefono cellulare, toccarlo per connettersi. (Supporta solo Android™ 6.0 o versioni successive e richiede la configurazione delle impostazioni Bluetooth e delle informazioni sulla posizione del dispositivo mobile.)
- Se il pop-up non appare, selezionare [LG HBS-FN7] dal menu Bluetooth sul telefono cellulare e connetterlo (per gli utenti di iOS o Android 5.0 o versioni precedenti).
![LG - TONE Free - Fast Pair Step 2 Fast Pair Step 2]()
NOTA: Per connettersi con un altro dispositivo, eseguire nuovamente la procedura sopra descritta.
Nell'elenco dei dispositivi connessi tramite Bluetooth, LG HBS-FN7_LE non è il nome del modello corretto per la connessione. Controllare il nome del modello in uso e connettersi con il nome del modello senza "LE".
Riconnessione automatica
Gli auricolari si connettono automaticamente quando si apre il coperchio della custodia di ricarica. Se si chiude il coperchio della custodia di ricarica con entrambi gli auricolari montati nella custodia di ricarica, gli auricolari vengono disconnessi.
Indossare gli auricolari
- Separare gli auricolari dalla custodia di ricarica e regolarli in modo che si adattino comodamente alle orecchie.
![LG - TONE Free - Indossare Step 1 Indossare Step 1]()
NOTA: È possibile separare facilmente gli auricolari dalla custodia di ricarica ruotando la parte con la linea tratteggiata nell'immagine sottostante a sinistra o a destra e sollevando gli auricolari. - Quando si indossano gli auricolari, si sentirà un allarme di rilevamento dell'indossamento.
![LG - TONE Free - Indossare Step 2 Indossare Step 2]()
Riproduzione di musica

| Funzione | Descrizione |
| Play / Pause (Riproduci / Pausa) |
: Toccare una volta l'auricolare sinistro o destro.
|
| Regolazione del volume |
: Toccare due volte l'auricolare sinistro (Diminuisci volume) o destro (Aumenta volume).
|
| Riproduci successivo |
: Toccare tre volte l'auricolare sinistro o destro.
|
NOTA: È possibile modificare il metodo di funzionamento della funzione nelle impostazioni del touchpad dell'app LG TONE Free.
Funzioni di chiamata mobile

| Funzione | Stato | Descrizione |
| Rispondere alle chiamate | Squillo | Toccare una volta l'auricolare sinistro o destro. |
| Terminare le chiamate | Parlando | Toccare due volte l'auricolare sinistro o destro. |
| Effettuare chiamate | Inattivo | Se si effettua una chiamata utilizzando un telefono cellulare, la chiamata viene automaticamente connessa all'auricolare. |
| Ricevere chiamate mentre si è al telefono | Parlando |
Se si tocca una volta l'auricolare sinistro o destro, la chiamata corrente verrà messa in attesa e si potrà rispondere a una chiamata in arrivo. Se la chiamata precedente è in attesa, è possibile terminare la chiamata corrente sul telefono cellulare. (Funziona in modo diverso a seconda delle impostazioni del telefono cellulare.) |
| Rifiutare le chiamate | Squillo | Toccare e tenere premuto l'auricolare sinistro o destro. |
Ascoltare il suono ambientale (LAS) / Cancellazione attiva del rumore (ANC)
Ascoltare il suono ambientale (LAS)

La funzione Ascolta il suono ambientale (LAS) consente di ascoltare il suono ambientale in modo da poter riconoscere la situazione circostante e qualsiasi potenziale rischio.
Cancellazione attiva del rumore (ANC)

La funzione Cancellazione attiva del rumore (ANC) blocca qualsiasi suono ambientale. Quindi, è possibile utilizzare la funzione per ascoltare la musica o guardare un video senza interferenze.
Toccare e tenere premuto l'auricolare sinistro o destro per passare dalla modalità ANC alla modalità LAS.
È possibile impostare le funzioni LAS e ANC nell'app LG TONE Free.
Se si utilizza la funzione LAS o ANC, la batteria si consuma più velocemente, riducendo il tempo di utilizzo del prodotto.
È possibile utilizzare le funzioni LAS e ANC mentre si è inattivi, si ascolta la musica o si è al telefono.
NOTA: ANC è un acronimo di Active Noise Cancellation (Cancellazione attiva del rumore).
Quando la modalità LAS è abilitata, si potrebbe sentire improvvisamente il suono ambientale diventare forte. Quando si utilizza la funzione ANC all'aperto, prestare attenzione all'ambiente circostante per la sicurezza.
UVnano

La custodia di ricarica ha un LED UVnano integrato, che consente di utilizzare gli auricolari in modo pulito.
Se si caricano gli auricolari via cavo dopo averli montati sulla custodia di ricarica e aver chiuso il coperchio, il LED UVnano funziona per 10 minuti.
*UVnano è una parola composta derivata dalle parole UV e dalla sua unità, nanometro.
NOTA:
- L'indicatore UVnano si accende di blu mentre il LED UVnano è acceso.
- Il LED UVnano nella custodia di ricarica elimina fino al 99,9% di Staphylococcus aureus ed Escherichia coli all'interno del foro dell'auricolare.
- Nel caso di un prodotto bianco, potrebbe verificarsi uno scolorimento nell'area di contatto del LED UVnano, ma ciò non influisce sulla funzione del prodotto.
- Il LED UVnano non si accende durante la ricarica wireless.
Tenere presente che la temperatura degli auricolari potrebbe aumentare mentre il LED UVnano è acceso.
Ricarica
Ricarica cablata

Quando il cavo di ricarica è collegato, lo stato di ricarica viene visualizzato nella custodia di ricarica.
NOTA:
- Gli auricolari e la custodia di ricarica vengono caricati contemporaneamente.
- La porta di ricarica sulla custodia di ricarica non può essere utilizzata per fornire alimentazione a telefoni cellulari, ecc.
Ricarica wireless

Allineare il centro inferiore della custodia di ricarica con il centro del caricabatterie wireless.
NOTA: Il caricabatterie wireless non è fornito. La funzione di ricarica wireless potrebbe non funzionare in alcuni caricabatterie wireless. La funzione di ricarica wireless si ricarica a una velocità inferiore a causa della minore potenza trasmessa alla custodia di ricarica.
Controllo dello stato della batteria
Se gli auricolari sono inseriti nella custodia di ricarica, viene visualizzato lo stato della batteria degli auricolari.
In caso contrario, viene visualizzato lo stato della batteria della custodia di ricarica.
Se gli auricolari sono inseriti nella custodia di ricarica mentre è collegata, il processo UVnano inizierà per dieci minuti.
Una volta completato questo processo, verrà visualizzato lo stato della batteria della custodia di ricarica.

| Indicatore dello stato della batteria | Batteria residua (caricabatterie non collegato) | Stato di carica (caricabatterie collegato) |
| Rosso | 20% o inferiore | In carica |
| Giallo | 20% - 80% | - |
| Verde | 80% o superiore | Completamente carica |
NOTA: Quando il coperchio della custodia di ricarica è chiuso, viene visualizzato lo stato della batteria della custodia di ricarica. Se la custodia di ricarica non ha carica residua, non ci sarà alcun display e non potrà funzionare. Si consiglia di mantenere sempre carica la custodia di ricarica poiché gli auricolari non possono essere accesi e spenti in modo indipendente.
Indicatore dello stato della batteria
| Stato | Descrizione |
| Modalità di ricerca Bluetooth | L'indicatore dello stato della batteria lampeggia in blu. |
| Batteria inferiore al 20% | L'indicatore dello stato della batteria si accende e si spegne in rosso. |
| Batteria 20% - 80% | L'indicatore dello stato della batteria si accende e si spegne in giallo. |
| Batteria 80% o più | L'indicatore dello stato della batteria si accende e si spegne in verde. |
| Quando c'è un problema durante la ricarica | L'indicatore dello stato della batteria lampeggia in rosso. |
| In carica (caricabatterie collegato) | L'indicatore dello stato della batteria si accende in rosso. |
| Ricarica completa (caricabatterie collegato) | L'indicatore dello stato della batteria si accende in verde. |
Fuori portata
Se il dispositivo connesso al prodotto è fuori dalla portata di comunicazione effettiva, il segnale di comunicazione si indebolisce e la comunicazione viene persa. La portata di comunicazione effettiva può variare a seconda dell'ambiente circostante e di altre condizioni.
Se il dispositivo rientra nella portata di comunicazione effettiva, il prodotto si ricollega automaticamente al dispositivo. Se il dispositivo non viene ricollegato automaticamente, toccare l'auricolare sinistro o destro una volta per collegarli.
App LG TONE Free
Se installi l'app "LG TONE Free", puoi utilizzare le funzioni Controlla batteria auricolare, Avviso vocale, Cambia modalità equalizzatore, Controlla ultime informazioni sulla posizione connessa e Trova i miei auricolari. Controlla l'app per maggiori dettagli.
Per installare l'app "LG TONE Free", cerca LG TONE Free nel Google Play Store o nell'App Store o scansiona il codice QR qui sotto.
Supporta Android 5.0 o versioni successive e iOS 11 o versioni successive.
Risoluzione dei problemi
Se si riscontra uno dei seguenti sintomi durante l'utilizzo del prodotto, assicurarsi di ricontrollarlo. Potrebbe non trattarsi di un malfunzionamento.
| Sintomo | Causa e soluzione |
L'alimentazione non si accende |
Controllare il livello della batteria e caricarla. |
Se non è possibile effettuare una chiamata con gli auricolari |
Se il telefono cellulare non supporta le funzioni cuffie e vivavoce, non è possibile utilizzare le funzioni di chiamata. Controllare il livello della batteria e caricarla. |
Se non è possibile registrare gli auricolari sul telefono cellulare |
Verificare se gli auricolari sono accesi Verificare se la custodia di ricarica degli auricolari è in modalità di ricerca.
|
Se hai sostituito gli auricolari o c'è un problema con il funzionamento |
Inserire gli auricolari nella custodia di ricarica e, con la custodia aperta, premere il pulsante di associazione per 10 secondi o più.
|
Specifiche e caratteristiche
| Articolo | Commenti |
| Specifiche Bluetooth | V 5.0 (Cuffie/Vivavoce/A2DP/AVRCP) |
| Batteria |
Auricolare: 3,7 V / 55 mAh, agli ioni di litio Custodia di ricarica: 3,7 V / 390 mAh, agli ioni di litio |
| Tempo di riproduzione musicale Auricolari e con custodia di ricarica (ANC ON) | Fino a 7 e fino a 21 ore (fino a 5 / fino a 15 ore)* |
| Tempo di ricarica |
Auricolare: entro un'ora / Custodia di ricarica: entro 2 ore Ricarica rapida: 5 minuti di ricarica per un massimo di 60 minuti di riproduzione ※Quando si carica via cavo a temperatura ambiente |
| Tensione di ingresso nominale |
Auricolare: CC 5 V, 110 mA Custodia di ricarica: CC 5 V, 500 mA |
| Temperatura di esercizio | 0°C (+32°F) ~ +40°C (+104°F) |
| Dimensioni (mm) / Peso (g) |
Auricolare: 16,2 mm (L) X 32,7 mm (P) X 26,8 mm (A) / 5,6 g (un auricolare) Custodia di ricarica: 54,5 mm (L) X 54,5 mm (P) X 27,6 mm (A) / 39 g |
| Intervallo di frequenza | Da 2402 MHz a 2480 MHz |
| Potenza di uscita (max.) | 10 dBm |
*La durata dell'uso può variare a seconda del dispositivo mobile connesso, delle funzioni utilizzate, delle impostazioni, della potenza del segnale, della temperatura di esercizio, della banda di frequenza e di altri metodi di utilizzo.
La funzione di ricarica rapida non si applica quando la custodia di ricarica è posizionata su un dispositivo di ricarica wireless come un pad.
La funzione di ricarica wireless si carica a una velocità inferiore a causa della minore potenza trasmessa alla custodia di ricarica.
Dichiarazione di conformità
DICHIARAZIONE DI CONFORMITÀ:
Con la presente, LG Electronics dichiara che il tipo di apparecchiatura radio di queste cuffie è conforme alla Direttiva 2014/53/UE. Il testo completo della dichiarazione di conformità UE è disponibile al seguente indirizzo internet: http://www.lg.com/global/declaration
Bluetooth® è un marchio registrato di Bluetooth SIG, Inc. in tutto il mondo.
Android, Google Play, il logo di Google Play e altri marchi e loghi correlati sono marchi di Google LLC.

Informazioni aggiuntive
- Esposizione alle radiofrequenze
Queste cuffie stereo Bluetooth LG sono un trasmettitore e ricevitore radio. Durante il funzionamento, comunica con un dispositivo mobile dotato di Bluetooth ricevendo e trasmettendo campi elettromagnetici a radiofrequenza (RF) (microonde) nella gamma di frequenza da 2402 a 2480 MHz. Le tue cuffie Bluetooth sono progettate per funzionare in conformità con le linee guida e i limiti di esposizione alle radiofrequenze stabiliti dalle autorità nazionali e dalle agenzie sanitarie internazionali quando utilizzate con qualsiasi telefono cellulare LG Electronics compatibile. - Precauzioni per la connessione Bluetooth
I seguenti ambienti influiscono sulla portata e sulla ricezione dei segnali Bluetooth:- Quando ci sono muri, metallo, corpi umani o altri ostacoli tra il dispositivo Bluetooth e il dispositivo connesso
- Quando vicino ai dispositivi utilizzati sono posizionate apparecchiature che utilizzano segnali di frequenza a 2,4 GHz (LAN wireless, telefoni wireless, forni a microonde, ecc.)
- Quando si utilizza un dispositivo Bluetooth (TV, laptop, ecc.) diverso dal telefono cellulare, la qualità del suono potrebbe essere influenzata dalle specifiche e dalle prestazioni del dispositivo
- Atmosfera potenzialmente esplosiva
Spegnere il dispositivo elettronico quando ci si trova in un'area con un'atmosfera potenzialmente esplosiva. È raro, ma il dispositivo elettronico potrebbe generare scintille. Le scintille in tali aree potrebbero causare un'esplosione o un incendio con conseguenti lesioni personali o persino la morte. Le aree con un'atmosfera potenzialmente esplosiva sono spesso, ma non sempre, chiaramente contrassegnate. - Informazioni sulla batteria
Una batteria ricaricabile ha una lunga durata se trattata correttamente. Una batteria nuova o che non è stata utilizzata per un lungo periodo di tempo potrebbe avere una capacità ridotta le prime volte che viene utilizzata. Non esporre la batteria a temperature estreme, mai superiori a +50° o inferiori a -10°. Per la massima capacità della batteria, utilizzare la batteria a temperatura ambiente. Se la batteria viene utilizzata a basse temperature, la capacità della batteria sarà ridotta. La batteria può essere caricata solo a temperature comprese tra 0° e +45°.
Rimozione di batterie e accumulatori esausti (Solo prodotto con batteria integrata)- Nel caso in cui questo prodotto contenga una batteria incorporata all'interno del prodotto che non può essere facilmente rimossa dagli utenti finali, LG raccomanda che solo professionisti qualificati rimuovano la batteria, sia per la sostituzione che per il riciclaggio al termine della vita utile di questo prodotto. Per evitare danni al prodotto e per la propria sicurezza, gli utenti non devono tentare di rimuovere la batteria e devono contattare la linea di assistenza LG o altri fornitori di servizi indipendenti per un consiglio.
- La rimozione della batteria comporterà lo smontaggio dell'involucro del prodotto, la disconnessione dei cavi/contatti elettrici e l'estrazione accurata della cella della batteria utilizzando strumenti specializzati. Se hai bisogno delle istruzioni per i professionisti qualificati su come rimuovere la batteria in modo sicuro, visita http://www.lge.com/global/sustainability/environment/take-back-recycling.
- Riciclaggio della batteria nelle tue cuffie Bluetooth
La batteria nelle tue cuffie Bluetooth deve essere smaltita correttamente e non deve mai essere gettata nei rifiuti urbani.
Smaltimento di batterie/accumulatori esausti


- Questo simbolo può essere combinato con simboli chimici per mercurio (Hg), cadmio (Cd) o piombo (Pb) se la batteria contiene più dello 0,0005% di mercurio, dello 0,002% di cadmio o dello 0,004% di piombo.
- Tutte le batterie/accumulatori devono essere smaltiti separatamente dal flusso dei rifiuti urbani tramite strutture di raccolta designate nominate dal governo o dalle autorità locali.
- Lo smaltimento corretto delle tue vecchie batterie/accumulatori contribuirà a prevenire potenziali conseguenze negative per l'ambiente, la salute degli animali e degli esseri umani.
- Per informazioni più dettagliate sullo smaltimento delle tue vecchie batterie/accumulatori, contatta l'ufficio della tua città, il servizio di smaltimento dei rifiuti o il negozio in cui hai acquistato il prodotto. (http://www.lg.com/global/sustainability/environment/take-back-recycling/global-network-europe)
Informazioni importanti sulla sicurezza
Evitare danni all'udito
Una perdita permanente dell'udito può verificarsi se si utilizzano le cuffie ad alto volume. Impostare il volume a un livello sicuro. Puoi adattarti nel tempo a un volume di suono più alto che può sembrare normale ma può danneggiare l'udito.
Se si avverte un ronzio nelle orecchie o un discorso ovattato, smetti di ascoltare e fai controllare l'udito. Più alto è il volume, meno tempo è necessario prima che l'udito possa essere influenzato. Gli esperti dell'udito suggeriscono di proteggere l'udito:
- Limitare la quantità di tempo in cui si utilizzano le cuffie ad alto volume.
- Evitare di alzare il volume per bloccare l'ambiente circostante rumoroso.
- Abbassare il volume se non riesci a sentire le persone che parlano vicino a te.

Si prega di fare riferimento alla guida utente del telefono per ulteriori informazioni su come regolare i livelli di ascolto sul telefono.
Utilizzo sicuro delle cuffie
L'uso delle cuffie per ascoltare musica durante la guida di un veicolo non è raccomandato ed è illegale in alcune aree. Prestare attenzione e attenzione durante la guida. Smettere di utilizzare questo dispositivo se lo si trova dirompente o distraente durante la guida di qualsiasi tipo di veicolo o l'esecuzione di qualsiasi altra attività che richieda la piena attenzione.
Informazioni sull'avviso del software Open Source
Per ottenere il codice sorgente sotto licenza GPL, LGPL, MPL e altre licenze open source, contenuto in questo prodotto, visitare http://opensource.lge.com.
Oltre al codice sorgente, tutti i termini di licenza, le esclusioni di garanzia e le note sul copyright a cui si fa riferimento sono disponibili per il download.
LG Electronics fornirà anche il codice open source su CD-ROM a un costo che copre le spese di tale distribuzione (come il costo dei supporti, della spedizione e della gestione) su richiesta via e-mail a opensource@lge.com.
Questa offerta è valida per un periodo di tre anni dopo la nostra ultima spedizione di questo prodotto. Questa offerta è valida per chiunque riceva queste informazioni.
| GRUPPO DI RISCHIO 2 | |
|
UV EMESSO DA QUESTO PRODOTTO. L'ESPOSIZIONE PUÒ CAUSARE IRRITAZIONE AGLI OCCHI O ALLA PELLE. UTILIZZARE UN'ADEGUATA PROTEZIONE. |
|
QUANDO SI APRE LA CUSTODIA DI RICARICA O LA RICARICA WIRELESS, LA FUNZIONE UV NON FUNZIONA. |
|
Ufficio di contatto per la conformità di questo prodotto:
LG Electronics Inc.
EU Representative, Krijgsman 1, 1186 DM Amstelveen, The Netherlands
Rev 1.0 TK
www.lg.com
Copyright © 2021 LG Electronics Inc. All Rights Reserved

Scarica manuale
Qui puoi scaricare la versione completa in PDF del manuale, può contenere ulteriori istruzioni di sicurezza, informazioni sulla garanzia, regole FCC, ecc.
Scarica Manuale delle cuffie stereo Bluetooth LG TONE Free HBS-FN-7




: Toccare una volta l'auricolare sinistro o destro.
: Toccare due volte l'auricolare sinistro (Diminuisci volume) o destro (Aumenta volume).
: Toccare tre volte l'auricolare sinistro o destro.

