First Alert GC01 - Manuali i Alarmit të Gazit Eksploziv dhe Monoksidit të Karbonit me Futje në Priza
- 1 INFORMACION BAZË PËR SIGURINË
- 2 INSTALIMI
- 3 SI FUNKSIONON ALARMI JUAJ
- 4 NËSE ALARMI JUAJ PËR GAZ/CO DËGJOHEM
- 5 KUPTIMI I MODELEVE TË DRITËS, BORISË DHE EKRANIT
- 6 MIRËMBAJTJA E RREGULLT
- 7 ÇFARË DUHET TË DINI PËR CO
- 8 INFORMACION RREGULLATOR PËR ALARMET E GAZIT SHPËRTHYES/CO
- 9 UDHËZUES PËR ZGJIDHJEN E PROBLEMEVE
- 10 GARANCI E LIMITUAR
- 11 Referencat
- 12 Shkarko manual
- 13 Në Gjuhë të Tjera
JU LUTEM LEXOJENI ME KUJDES DHE RUANI.
Ky manual përdorimi përmban informacione të rëndësishme rreth funksionimit të Alarmit tuaj të tymit. Nëse po instaloni këtë Alarm tymi për përdorim nga të tjerët, duhet ta lini këtë manual—ose një kopje të tij—me përdoruesin fundor.
INFORMACION BAZË PËR SIGURINË
- Rreziqet, Paralajmërimet dhe Kujdeset ju sinjalizojnë për udhëzime të rëndësishme funksionimi ose për situata potencialisht të rrezikshme. Kushtojini vëmendje të veçantë këtyre artikujve.
- Ky alarm i kombinuar i Gazit Eksploziv/Monoksidit të Karbonit ka dy alarme të veçanta. Alarmi CO nuk është projektuar për të zbuluar zjarrin ose ndonjë gaz tjetër. Ai do të tregojë vetëm praninë e gazit të monoksidit të karbonit në sensor. Gazi i monoksidit të karbonit mund të jetë i pranishëm në zona të tjera. Alarmi i Gazit Eksploziv do të tregojë vetëm praninë e gazit eksploziv që arrin në sensor. Alarmi i Gazit Eksploziv nuk është projektuar për të nuhatur tym, nxehtësi ose flakë.
- Mos qëndroni shumë afër njësisë kur alarmi bie. Është i zhurmshëm për t'ju zgjuar në rast emergjence. Ekspozimi ndaj borisë nga afër mund të dëmtojë dëgjimin tuaj.
- Mos e lyeni njësinë. Boja mund të bllokojë hapjet në dhomat e ndjesisë dhe të pengojë funksionimin e duhur të njësisë.
- Kjo njësi duhet të furnizohet me energji nga një qark 24-orësh. Sigurohuni që qarku të mos mund të fiket nga një çelës, dimmer ose qark ndërprerës i defektit tokësor. Moslidhja e kësaj njësie në një qark 24-orësh mund ta pengojë atë të ofrojë mbrojtje të vazhdueshme.
- Ky Alarm duhet të ketë energji AC ose bateri për të funksionuar. Nëse energjia AC dështon dhe bateria është e vdekur ose mungon, alarmi nuk mund të funksionojë.
- Alarmi do të kontrollojë praninë e gazit eksploziv në sensor më rrallë kur furnizohet me energji nga bateria rezervë. Gazi eksploziv mund të jetë i pranishëm gjatë periudhës midis kontrolleve pa hyrë në alarm, veçanërisht gjatë një gjendjeje që rezulton në një grumbullim të shpejtë të gazit eksploziv.
- Testojeni Alarmin një herë në javë. Nëse Alarmi ndonjëherë nuk testohet saktë, zëvendësojeni menjëherë! Nëse Alarmi nuk funksionon siç duhet, ai nuk mund t'ju sinjalizojë për një problem.
- Ky alarm i kombinuar i Monoksidit të Karbonit dhe Gazit Eksploziv është menduar për përdorim rezidencial dhe nuk është i përshtatshëm për përdorim në vende të rrezikshme siç përcaktohet në Kodin Kombëtar Elektrik.
- Ky produkt është menduar për përdorim në vende të zakonshme të brendshme të njësive të banimit familjar. Ai nuk është projektuar për të matur nivelet e CO në përputhje me standardet tregtare ose industriale të Administratës së Sigurisë dhe Shëndetit në Punë (OSHA). Individët me gjendje mjekësore që mund t'i bëjnë ata më të ndjeshëm ndaj monoksidit të karbonit mund të konsiderojnë përdorimin e pajisjeve paralajmëruese që ofrojnë sinjale të dëgjueshme dhe vizuale për përqendrime të monoksidit të karbonit nën 30 ppm. Për informacione shtesë mbi monoksidin e karbonit dhe gjendjen tuaj mjekësore, kontaktoni mjekun tuaj.
INSTALIMI
KU TË INSTALONI KËTË ALARM
Për Alarmin e Gazit, montimi varet nga lloji i gazit eksploziv që keni ndërmend të zbuloni.
Gazi natyror (metan) zakonisht furnizohet përmes një linje kryesore shërbimi të lidhur me shtëpinë tuaj. Nëse nuk jetoni në një zonë rurale, ka të ngjarë të jeni përdorues i gazit natyror. Gazi natyror është një lëndë djegëse fosile që përbëhet kryesisht nga Metani. Metani është shumë më i lehtë se ajri dhe do të ngrihet shpejt në ajër. Nëse jeni përdorues i gazit natyror, Alarmi duhet të montohet midis 6 dhe 12 inç (152 mm dhe 305 mm) larg nga tavani (duke përdorur veçorinë e kordonit) për të siguruar mundësinë më të hershme për të zbuluar një rrjedhje.
Propani zakonisht furnizohet në shtëpi nga kamioni i shpërndarjes në formë të lëngshme dhe ruhet pranë shtëpisë në rezervuarë propan. Propani përdoret nga shtëpitë në zonat rurale që nuk kanë shërbim të gazit natyror. Për shkak se propani është gazi i naftës i lëngëzuar (LPG) më i përdorur zakonisht, propani dhe LP-Gazi shpesh përdoren në mënyrë sinonime. Ndryshe nga gazi natyror, propani është më i rëndë se ajri dhe do të grumbullohet në nivele më të ulëta. Nëse jeni përdorues i propanit, Alarmi duhet të montohet afër dyshemesë (duke përdorur veçorinë e futjes direkte) për të siguruar mundësinë më të hershme për të zbuluar një rrjedhje.
Si propani ashtu edhe gazi natyror janë pa ngjyrë dhe pa erë. Për arsye sigurie, shtohet një erë (Merkaptan) në mënyrë që çdo rrjedhje të zbulohet nga era. Pragu i zakonshëm i zbulimit për nuhatjen e gazeve është rreth 20% e Limitit të Poshtëm të Shpërthimit (LEL). Kjo mund të ndryshojë shumë në varësi të nuhatjes së individëve dhe sa kohë kanë qenë të ekspozuar ndaj tij. LEL i secilit prej këtyre gazeve përcakton gamën e poshtme të ndezshmërisë për gazin. Alarmi juaj është kalibruar për të rënë përpara 25% të LEL të secilit gaz të zbuluar.
Prandaj, është e mundur që ju të nuhasni gaz përpara se të aktivizohet Alarmi. Nëse nuk jeni i sigurt se cilin gaz përdor shtëpia juaj, kontaktoni kompaninë tuaj të shërbimeve.
Për Alarmin CO, Shoqata Kombëtare e Mbrojtjes nga Zjarri (NFPA) rekomandon që një Alarm CO të vendoset në mënyrë qendrore jashtë çdo zone të veçantë gjumi në afërsi të menjëhershme të dhomave të gjumit. Për mbrojtje të shtuar, instaloni Alarme shtesë CO në çdo dhomë gjumi të veçantë dhe në çdo nivel të shtëpisë tuaj.
Në përgjithësi, instaloni alarme të kombinuara të Gazit Eksploziv dhe Monoksidit të Karbonit:
- KU MUND TA DËGJONI ALARMIN NGA TË GJITHA ZONAT E GJUMIT
- Në ose afër dhomave të gjumit dhe zonave të jetesës ose kudo që dyshoni se ka të ngjarë një ekspozim ndaj gazit ose CO.
- Në çdo nivel të një shtëpie me shumë nivele.
Vendndodhja e pahijshme mund të ndikojë në përbërësit elektronikë të ndjeshëm në këtë Alarm. Ju lutemi shikoni "Ku nuk duhet të instalohet ky alarm".
Vendosja e rekomanduar

Shikoni "Shmangia e Hapësirave të Ajrit të Vdekur" për më shumë informacion.
SHËNIM: Për çdo vendndodhje, sigurohuni që asnjë derë ose pengesë tjetër të mos e pengojë monoksidin e karbonit ose gazin të arrijë në Alarm.
Kjo njësi duhet të marrë energji elektrike të vazhdueshme. (Bateria është menduar vetëm për rezervë emergjente). Zgjidhni një prizë ku nuk mund të shkëputet aksidentalisht ose të fiket nga fëmijët. Mbani fëmijët e vegjël larg njësisë. Mësojuni të mos luajnë me të ose ta shkëpusin. Shpjegoni se çfarë nënkuptojnë alarmet.
KU NUK DUHET TË INSTALOHET KY ALARM
Për të shmangur shkaktimin e dëmtimit të njësisë, për të ofruar mbrojtje optimale dhe për të parandaluar alarme të panevojshme, MOS e vendosni këtë Alarm:
- Në garazhe, kuzhina, hapësira zvarritëse dhe papafingo të papërfunduara. Shmangni zonat jashtëzakonisht të pluhurosura, të pista ose të yndyrshme. Instalimi në këto zona mund të çojë në alarme shqetësuese, mund ta ekspozojë sensorin ndaj substancave që mund ta dëmtojnë ose ndotin atë, ose Alarmi mund të mos dëgjohet nga personat në zona të tjera të shtëpisë, veçanërisht nëse ata janë duke fjetur.
- Në garazh, shkarkimi i automjetit mund të përmbajë pak monoksid karboni. Këto nivele janë më të larta kur motori ndizet për herë të parë. Brenda orëve nga ndezja e një automjeti dhe nxjerrja e tij nga garazhi, nivelet e pranishme me kalimin e kohës mund të aktivizojnë Alarmin dhe të bëhen një bezdi.
- Në kuzhinë, disa pajisje me gaz mund të lëshojnë një shpërthim të shkurtër CO ose gaz pas ndezjes. Kjo është normale. Nëse Alarmi juaj i Gazit Eksploziv/CO është instaluar shumë afër këtyre pajisjeve, ai mund të bjerë shpesh dhe të bëhet një bezdi.
- Mbani njësitë të paktën 20 këmbë (6 metra) nga burimet e grimcave të djegies (soba, furra, ngrohës uji, ngrohës hapësire) nëse është e mundur. Në zonat ku një distancë prej 20 këmbësh (6 m) nuk është e mundur – për shembull, në shtëpi modulare, të lëvizshme ose më të vogla – rekomandohet që Alarmi të vendoset sa më larg këtyre burimeve që digjen lëndë djegëse. Rekomandimet e vendosjes kanë për qëllim t'i mbajnë këto Alarme në një distancë të arsyeshme nga një burim që digjet lëndë djegëse, dhe kështu të reduktojnë alarmet "e padëshiruara". Alarmet e padëshiruara mund të ndodhin nëse një Alarm vendoset drejtpërdrejt pranë një burimi që digjet lëndë djegëse. Ajrosni këto zona sa më shumë që të jetë e mundur. Nëse duhet ta instaloni Alarmin pranë një pajisjeje gatimi ose ngrohjeje, instaloni të paktën 5 këmbë (1.5 metra) nga pajisja.
- Në zona jashtëzakonisht të lagështa. Ky Alarm duhet të jetë të paktën 10 këmbë (3 metra) nga një dush, sauna, lagështues, avullues, lavastovilje, dhomë lavanderi, dhomë shërbimi ose burim tjetër i lagështisë së lartë.
- Në rrezet e diellit direkte.
- Në ajër të trazuar, si pranë ventilatorëve të tavanit ose dritareve të hapura. Fryrja e ajrit mund të pengojë CO ose gazin të arrijë në sensorë.
- Në zona ku temperatura është më e ftohtë se 40˚ F (4.4˚ C) ose më e nxehtë se 100˚ F (37.8˚ C). Këto zona përfshijnë hapësira zvarritëse pa ajër të kondicionuar, papafingo të papërfunduara, tavane të paizoluara ose të izoluara dobët, veranda dhe garazhe.
- Më pak se 12 inç (305 mm) larg nga dritat fluoreshente. "Zhurma" elektrike mund të ndërhyjë në sensor.
- Në hapësirat e "ajrit të vdekur". Shikoni "Shmangia e Hapësirave të Ajrit të Vdekur".
SHMANGIA E HAPËSIRAVE TË AJRIT TË VDEKUR
Hapësirat e "ajrit të vdekur" mund të pengojnë gazin të arrijë në Alarm. Për të shmangur hapësirat e ajrit të vdekur, ndiqni rekomandimet e instalimit më poshtë.
Në tavane, instaloni Alarmin sa më afër qendrës së tavanit që të jetë e mundur. Nëse kjo nuk është e mundur, instaloni Alarmin të paktën 4 inç (102 mm) nga muri ose këndi.
Për montimin në mur, skaji i sipërm i Alarmeve duhet të vendoset midis 6 inç (152 mm) dhe 12 inç (305 mm) nga linja e murit/tavanit.
Në një tavan të kulmuar, të pjerrët ose katedrale, instaloni Alarmin brenda 3 këmbëve (0.9 metra) nga maja e tavanit, e matur horizontalisht.
PËRPARA SE TË FILLONI INSTALIMIN
Për shkak se CO përgjithësisht përzihet mirë me ajrin, montimi i Alarmit do të varet nga lloji i gazit eksploziv që keni ndërmend të zbuloni. Nëse nuk jeni i sigurt se cilin lloj gazi po përdorni në shtëpinë tuaj, ju lutemi lexoni rreth gazit natyror dhe propanit në "Ku të instaloni këtë alarm".
- Sigurohuni që alarmi të mos marrë energji tepër të zhurmshme. Shembuj të energjisë së zhurmshme mund të jenë pajisje të mëdha në të njëjtin qark, energji nga një gjenerator ose energji diellore, dimmer i dritës në të njëjtin qark ose i montuar pranë ndriçimit fluorescent. Energjia tepër e zhurmshme mund të shkaktojë dëme në Alarmin tuaj.
Gjeni çiftin e etiketave vetëngjitëse të përfshira me këtë Alarm Gazi/CO.
- Në secilën etiketë shkruani numrin e telefonit të personit tuaj të urgjencës (si 911) dhe një teknik të kualifikuar pajisjesh.
- Vendoseni një etiketë pranë Alarmit të Gazit/CO dhe etiketën tjetër në vendin e "ajrit të pastër" ku planifikoni të shkoni nëse bie alarmi.
SI TË INSTALONI KËTË ALARM GAZI/CO
Lexoni të gjitha udhëzimet përpara se të përdorni këtë produkt.
Veglat që do t'ju duhen: Kaçavidë, shpues.
- Përcaktoni vendndodhjen më të mirë për Alarmin tuaj të Gazit/CO.
- Alarmi juaj është i pajisur për t'u montuar si një njësi me kordon (rekomandohet për zbulimin e gazit natyror), një njësi me futje direkte (rekomandohet për zbulimin e gazit propan). Njësia mund të futet drejtpërdrejt në një prizë muri. Nëse prizat tuaja janë montuar horizontalisht, referojuni "Nëse priza është montuar horizontalisht (anash)"
Nëse adaptori hiqet nga njësia, Alarmi mund të instalohet lart në mur, ndërsa adaptori futet në një prizë muri. Gazi eksploziv që përdorni do të përcaktojë nëse Alarmi duhet të instalohet lart në mur (opsioni i kordonit AC) ose poshtë në mur (opsioni i futjes direkte).
AKTIVIZIMI I BATERISË REZERVË
Aktivizoni baterinë rezervë duke instaluar baterinë. Bateria është vetëm për rezervë dhe nuk ka për qëllim të furnizojë Alarmin me energji për një periudhë të gjatë kohore në mungesë të AC.
Alarmi do të ndriçojë shkurtimisht ekranin për të treguar se njësia po merr energji.
FUTENI ALARMIN DREJTPËRDREJT NË NJË PRIZË (PËR ZBULIMIN E PROPANIT)
Ky Alarm mund të futet drejtpërdrejt në një prizë muri që ndodhet afër dyshemesë.
Ky është konfigurimi i rekomanduar për zbulimin e propanit.
- Zgjidhni një prizë standarde UNSWITCHED 120V AC.
- Futeni Alarmin.
NËSE PRIZA ËSHTË MONTUAR HORIZONTALISHT (ANASH)
Nëse do ta përdorni Alarmin tuaj si një futje direkte në një prizë që është montuar horizontalisht (anash), mund të dëshironi ta rrotulloni adaptorin 90º, si më poshtë:
- Me pjesën e pasme të njësisë përballë jush (tehet AC në të majtë), vendosni gishtin tuaj të majtë në lëshimin e adaptorit dhe kapni tehet AC me dorën tuaj të djathtë për të lëshuar anën e majtë.
- Përsëriteni për anën tjetër të lëshimit të gishtit të adaptorit. Kjo do të lejojë që adaptori të rrëshqasë jashtë.
- Hiqeni adaptorin.
- Rrotulloni adaptorin 90º dhe vendoseni fort përsëri në vend.
- Futeni Alarmin në prizën AC.
ALARM I MONTUAR NË MUR (PËR ZBULIMIN E GAZIT NATYROR)
Këshilla për instalimin për modelet me kordon energjie: Opsioni i kordonit të energjisë ofron më shumë fleksibilitet në vendndodhjet e montimit dhe lejon që Alarmi të instalohet lehtësisht në ose mbi nivelin e syve.
SHËNIM: Nëse e montoni Alarmin lart në një mur, sigurohuni që të jetë midis 6 deri në 12 inç (152-305 mm) poshtë nga tavani. Çdo gjë më e lartë se kjo, do të jetë në hapësirën e "ajrit të vdekur" dhe monoksidi i karbonit ose gazi natyror mund të mos arrijnë në sensorë.
SHËNIM: Mos e mbuloni Alarmin me një perde.
Për të instaluar për një montim në mur, do t'ju duhet të tërhiqni adaptorin e lëvizshëm dhe kordonin e energjisë, si më poshtë:
- Përsëritni hapat 1 deri në 3 siç përshkruhet më sipër në "për të rrotulluar adaptorin".
- Me adaptorin jashtë, tërhiqni kordonin e energjisë dhe shpaketojeni atë.
- Futni vidhat e ofruara derisa koka të jetë afërsisht. 1/8 inç (3 mm) nga muri (nëse montoni në pllakë gipsi ose mur të thatë, shponi një vrimë 3/16 inç (5 mm) dhe përdorni spirancën plastike të ofruar). Përdorni shabllonin e udhëzuesit të montimit për të lokalizuar vrimat siç tregohet në diagramin më poshtë.
![]()
- Vareni Alarmin mbi vidën në vrimën e çelësit në pjesën e pasme të njësisë.
- Futeni kordonin e energjisë në prizën AC.
SIGURIMI I KORDONIT TË ENERGJISË NË NJË PRIZË
SHKËPUTENI ENERGJINË NË PRIZË PËR TË SHMANGUR GODITJEN ELEKTRIKE.
- Hiqeni vidën e pllakës së murit nga priza dhe mbajeni pllakën e murit në pozicion.
- Futeni kordonin e energjisë në prizën e murit në mënyrë që vrima e vidës të rreshtohet me vrimën e vidës së pllakës së murit.
- Futeni vidën përmes vrimës së vidës së kordonit të energjisë dhe në vrimën e vidës së pllakës së murit.
- Shtrëngojeni vidën në vend dhe riktheni energjinë në prizë.
TESTOJENI ALARMIN
- Sigurohuni që Alarmi po merr energji AC. Gjatë funksionimit normal, drita treguese jeshile do të shkëlqejë vazhdimisht. Nëse drita treguese jeshile e energjisë nuk ndizet, rikontrolloni lidhjet. Nëse lidhjet janë të sakta dhe treguesi jeshil i energjisë ende nuk ndizet, njësia duhet të zëvendësohet menjëherë.
- Shtypni dhe mbani butonin e provës derisa të bjerë alarmi. Do të dëgjoni sinjalin që tregon praninë e gazit eksploziv, i ndjekur nga sinjali për monoksidin e karbonit.
Kur testoni Alarmin, kërkojini dikujt tjetër të kontrollojë që Alarmi të dëgjohet lehtësisht nga zonat e gjumit. Njësia duhet të vendoset aty ku mund t'ju zgjojë nëse bie alarmi natën.
SI FUNKSIONON ALARMI JUAJ
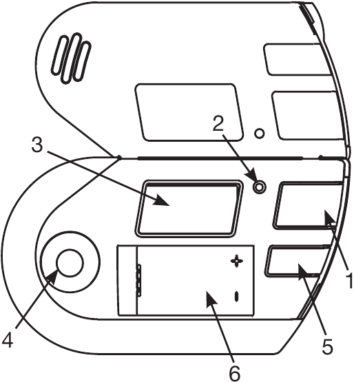
MBULUESI I ALARMIT TUAJ

- Butoni Test/Heshtje (Test/Silence Button): Shtypni dhe mbani për të aktivizuar testin, ose për të heshtur alarmin.
- Drita POWER (E GJELBËR) (POWER Light (GREEN))
- Ekrani (Display)
- (Pas Mbulesës) (Behind the Cover) Borija e Alarmit: Alarm i dëgjueshëm 85 dB për test, alarm dhe paralajmërim për keqfunksionim të njësisë.
- Butoni i Ekranit (Display Button): Shtypni për të rikujtuar nivelin më të lartë të regjistruar të CO
- Ndërkompartimenti i Baterisë (Battery Compartment)
NËSE ALARMI JUAJ PËR GAZ/CO DËGJOHEM
ÇFARË TË BËNI NËSE DETEKTOHET MONOKSID KARBONI
Aktivizimi i Alarmit tuaj CO tregon praninë e monoksidit të karbonit (CO) i cili mund t'ju vrasë. Me fjalë të tjera, kur Alarmi juaj CO dëgjohet, ju nuk duhet ta injoroni atë!
NËSE ALARMI CO DËGJOHEM:
- Operoni butonin Test/Heshtje (Test/Silence button).
- Telefononi shërbimet tuaja të urgjencës, departamentin e zjarrfikësve ose 911.
- Lëvizni menjëherë në ajër të pastër—jashtë ose pranë një dere ose dritareje të hapur. Bëni një numërim të kokave për të kontrolluar që të gjithë personat janë llogaritur. Mos hyni përsëri në ambientet, ose mos u largoni nga dera ose dritarja e hapur derisa të ketë mbërritur personi i shërbimeve të urgjencës, ambientet të jenë ajrosur dhe Alarmi juaj CO të mbetet në gjendjen e tij normale.
- Pasi të keni ndjekur hapat 1-3, nëse Alarmi juaj CO riaktivizohet brenda një periudhe 24-orëshe, përsëritni hapat 1-3 dhe telefononi një teknik të kualifikuar pajisjesh për të hetuar burimet e CO nga pajisjet dhe aparatet që djegin lëndë djegëse dhe inspektoni për funksionimin e duhur të këtij pajisje. Nëse identifikohen probleme gjatë këtij inspektimi, bëni që pajisja të servisohet menjëherë. Vini re çdo pajisje djegieje që nuk është inspektuar nga tekniku dhe konsultohuni me udhëzimet e prodhuesve, ose kontaktoni drejtpërdrejt prodhuesit, për më shumë informacion rreth sigurisë CO dhe këtij pajisje. Sigurohuni që automjetet motorike të mos jenë dhe të mos kenë qenë duke funksionuar në një garazh të bashkangjitur ose ngjitur me banesën.
ÇFARË TË BËNI NËSE DETEKTOHET GAZ EKSPLOZIV
| Nëse dëgjoni borinë e alarmit të dëgjohet një bip për sekondë, është detektuar gaz. Fjala GAS do të shfaqet. Evakuoni të gjithë nga ndërtesa. |
- Dilni menjëherë nga shtëpia, duke hapur dyer dhe dritare ndërsa largoheni.
- Mos përdorni telefonin ose pajisjet tuaja. Mos fikni ose ndizni asnjë çelës të dritës. Çdo shkëndijë ose flakë mund të ndezë gazin.
- Telefononi 911 dhe kompaninë tuaj të gazit nga një telefon që është larg shtëpisë tuaj.
- Mos hyni përsëri në zonë derisa të gjendet dhe korrigjohet burimi i rrjedhjes.
- Nëse njësia alarmohet dhe ju nuk jeni duke testuar njësinë, ajo ju paralajmëron për një situatë potencialisht të rrezikshme që kërkon vëmendjen tuaj të menjëhershme. ASNJËHERË mos injoroni asnjë alarm. Injorimi i alarmit mund të rezultojë në lëndim ose vdekje.
- Asnjëherë mos shkëputni energjinë për të heshtur një alarm të padëshiruar. Shkëputja e energjisë e çaktivizon Alarmin. Kjo do të heqë mbrojtjen tuaj.
Alarmi kanë kufizime të ndryshme. Shihni "Kufizimet e Përgjithshme të Alarmeve për Gaz Eksploziv/CO" për detaje.
PËRDORIMI I VEÇORIVE TË HESHTJES
ASNJËHERË mos shkëputni energjinë në Alarmin tuaj për të heshtur borinë—përdorni Veçorinë e Heshtjes (Silence Feature). Shkëputja e Alarmit heq mbrojtjen tuaj!
- Veçoria e Heshtjes (Silence Feature) ka për qëllim të heshtë përkohësisht borinë ndërsa ju identifikoni dhe korrigjoni problemin.
- Për të përdorur Veçorinë e Heshtjes (Silence Feature), shtypni butonin Test/Heshtje (Test/Silence button) derisa borija të heshtë.
- Nëse butoni Test/Heshtje (Test/Silence button) shtypet ndërsa Alarmi është në modalitetin e heshtjes, alarmi do të fillojë të dëgjohet përsëri.
Kur Alarmi GAS heshtet...
Alarmi do të mbetet i heshtur për afërsisht 2 minuta dhe më pas do të kthehet në funksionimin normal. Nëse gazi nuk është pastruar brenda periudhës së heshtjes, njësia do të kthehet në alarm.
Kur Alarmi CO heshtet...
Alarmi CO do të mbetet i heshtur deri në 4 minuta. Ndërsa Alarmi është i heshtur, ai do të vazhdojë të monitorojë ajrin për CO. Pas 4 minutash, nëse nivelet e CO mbeten potencialisht të rrezikshme, borija do të fillojë të dëgjohet përsëri.
Veçoria e Heshtjes (Silence Feature) ka për qëllim të heshtë përkohësisht borinë e Alarmit. Ai nuk do të korrigjojë një problem CO ose gazi.
HESHTJA E PARALAJMËRIMIT PËR BATERI TË ULËT
Kjo Veçori e Heshtjes (Silence Feature) mund të heshtë përkohësisht "ciripin" e paralajmërimit të baterisë së ulët deri në 8 orë nëse është i pranishëm energjia AC. Ju mund të heshtni "ciripin" e paralajmërimit të baterisë së ulët duke shtypur butonin Test/Heshtje (Test/Silence button) në mbulesën e Alarmit derisa të shihni LED-in e Gjelbër të pulsojë, duke pranuar shtypjen e butonit.
Ekrani do të pulsojë "SILENCE" (HESHTJE) për 8 orë ndërsa aktivizohet veçoria e heshtjes së "ciripit" të paralajmërimit të baterisë së ulët. Pas 8 orësh, "ciripi" i baterisë së ulët do të rifillojë. Alarmi do të vazhdojë të funksionojë për sa kohë që furnizohet me energji AC. Megjithatë, zëvendësoni baterinë sa më shpejt të jetë e mundur, për të ruajtur mbrojtjen në rast të një ndërprerjeje të energjisë.
HESHTJA E SINJALIT TË FUNDIT TË JETËS
Kjo veçori e heshtjes mund të heshtë përkohësisht "ciripin" e paralajmërimit të Fundit të Jetës deri në 2 ditë. Ju mund të heshtni "ciripin" e paralajmërimit të Fundit të Jetës duke shtypur butonin Test/Heshtje (Test/Silence button). Borija do të ciripë, duke pranuar që veçoria e heshtjes së Fundit të Jetës është aktivizuar.
Pas afërsisht 2 ditësh, "ciripi" i Fundit të Jetës do të rifillojë.
PËRDORIMI I KUJTESËS SË MAKSIMUMIT TË CO
Veçoria e Kujtesës së CO ju lejon të kontrolloni nivelin më të lartë të regjistruar të CO.
Për të kontrolluar Kujtesën e CO:
- Shtypni butonin Display (Ekrani) derisa të shfaqet niveli maksimal i CO.
Për të pastruar Kujtesën e CO:

- Riset automatikisht pas 24 orësh.
-
- Ndërsa kontrolloni kujtesën e CO, shtypni ose mbani butonin Display (Ekrani) derisa të shfaqet "CLEAR" (PASTRO).
- Shtypni ose mbani butonin Display (Ekrani) derisa të pastrohet Kujtesa e CO.
- Hiqni të gjithë energjinë; shkëputni Alarmin dhe hiqni baterinë.
SHËNIM: Niveli më i lartë i CO do të ruhet për 24 orë. MOS e pastroni leximin e Kujtesës së CO nëse planifikoni të telefononi dikë për të hetuar një problem CO! Pastroni leximin e Kujtesës së CO vetëm pasi hetuesi të ketë kontrolluar shtëpinë tuaj. Nëse hetuesi nuk do të mbërrijë brenda periudhës kohore 24-orëshe përpara se njësia të risetohet automatikisht, sigurohuni që të shkruani nivelin maksimal.
KUPTIMI I MODELEVE TË DRITËS, BORISË DHE EKRANIT
| Gjendja (Condition) | LED | Boria (Horn) | Ekrani (Display) |
| ENERGJI NORMALE AC (NORMAL AC POWER) | LED është i Gjelbër (Green) | Heshtur (Silent) | Të gjitha segmentet e ekranit ndizen për një kohë të shkurtër pas energjisë fillestare. Më pas shfaqet ikona e nivelit të baterisë. |
| ENERGJI NGA BATERIA REZERVË (BATTERY BACK-UP POWER) | LED është i Fikur (Off), duke pulsuar Gjelbër (Green) një herë çdo 45 sekonda | Heshtur (Silent) | Të gjitha segmentet e ekranit ndizen për një kohë të shkurtër pas energjisë fillestare. Më pas shfaqet ikona e nivelit të baterisë duke pulsuar. |
| GJATË TESTIMIT (DURING TESTING) | LED pulson Kuq (Red) në sinkron me borinë, duke simuluar një gjendje Alarmi: së pari gaz, pastaj CO | Së pari, lëshohet modeli i borisë për alarm gazi (1 bip çdo sekondë), dhe më pas lëshohet modeli i borisë së alarmit CO (4 bipe, pauzë, 4 bipe). | Gjatë alarmit të simuluar të gazit, shfaqet "GAS" (GAZ) së bashku me një nivel të plotë alarmi. Gjatë alarmit të simuluar të CO, shfaqet "CO" së bashku me një nivel të plotë alarmi. Shfaqen gjithashtu disa nivele ppm CO dhe niveli i alarmit tregohet duke u rritur. |
| BATERI E ULËT OSE E HUMBUR (LOW OR MISSING BATTERY) | Normal | Një cirip lëshohet afërsisht çdo minutë. | Ikona e baterisë do të tregojë ose 1 shirit ose një ikonë bosh. |
| GJENDJE ALARMI GAZI (GAS ALARM CONDITION) | LED pulson Kuq (Red) në sinkron me borinë | Përsëritet 1 bip çdo sekondë | "GAS" (GAZ), një nivel i plotë dhe "EVACUATE" (EVAKUOHUNI) |
| ALARM MONOKSIDI KARBONI (CARBON MONOXIDE ALARM) | LED pulson Kuq (Red) në sinkron me borinë | Përsëriten 4 bipe, pauzë | "CO" duke alternuar me numrin ppm, një nivel i plotë dhe "EVACUATE" (EVAKUOHUNI). |
| GJENDJE PARA-ALARMI CO ËSHTË I PRANISHËM (PRE-ALARM CONDITION CO IS PRESENT) | Normal | Normal | "CO" duke alternuar me numrin ppm. Niveli do të tregojë nivelin relativ të ekspozimit ndaj CO. |
| KEQFUNKSIONIM (MALFUNCTION) | LED pulson Gjelbër (Green) 3 herë në sinkron me 3 ciripe | 3 ciripe çdo minutë | Shfaqet "Err". |
| HESHTJE E BATERISË SË ULËT (LOW BATTERY SILENCE) | LED është i Gjelbër (Green) | Heshtur (Silent) | Shfaqen "bat" dhe "SILENCE" (HESHTJE). |
| FUNDI I JETËS (END OF LIFE) | LED pulson Gjelbër (Green) 5 herë në sinkron me 5 ciripe | 5 ciripe çdo minutë | Shfaqet "End". |
MIRËMBAJTJA E RREGULLT
Kjo njësi është projektuar të jetë sa më e lehtë për mirëmbajtje, por ka disa gjëra të thjeshta që duhet të bëni për ta mbajtur atë të funksionojë siç duhet:
- Testojeni të paktën një herë në javë.
- Pastroni Alarmin të paktën një herë në muaj; pastroni butësisht me vakum pjesën e jashtme të Alarmit duke përdorur shtojcën e furçës së butë të vakumit tuaj shtëpiak. Testoni Alarmin. Asnjëherë mos përdorni ujë, pastrues ose tretës pasi ato mund të dëmtojnë njësinë.
- Rilokalizoni njësinë nëse dëgjohen alarme të padëshiruara të shpeshta. Shihni "Ku Nuk Duhet të Instalohet Ky Alarm" për detaje.
- Kur bateria rezervë dobësohet, Alarmi do të "ciripë" afërsisht një herë në minutë (paralajmërimi i baterisë së ulët). Ju duhet të zëvendësoni baterinë menjëherë për të vazhduar mbrojtjen tuaj.
Ky Alarm duhet të ketë energji AC ose bateri për të funksionuar. Nëse energjia AC dështon dhe bateria është e vdekur ose mungon, Alarmi nuk mund të funksionojë.
MOS spërkatni kimikate pastrimi ose spërkatje insektesh drejtpërdrejt mbi ose afër Alarmit. MOS pikturoni mbi Alarmin. Bërja e kësaj mund të dëmtojë përgjithmonë Alarmin.
ZGJEDHJA E NJË BATERIE ZËVENDËSUESE
Alarmi juaj kërkon një bateri alkaline standarde 9V. Bateritë e mëposhtme janë të pranueshme si zëvendësuese: Duracell #MN1604, (Ultra) #MX1604; Eveready (Energizer) #522. Këto bateri janë të disponueshme në shumë dyqane lokale me pakicë.
- Gjithmonë përdorni bateritë e sakta të specifikuara nga ky Manual Përdoruesi. MOS përdorni bateri të rikarikueshme. Pastroni kontaktet e baterisë dhe gjithashtu ato të pajisjes përpara instalimit të baterisë. Instaloni bateritë saktë në lidhje me polaritetin (+ dhe -).
- Ju lutemi hidhni ose ricikloni bateritë e përdorura siç duhet, duke ndjekur çdo rregullore lokale. Konsultohuni me autoritetin tuaj lokal të menaxhimit të mbetjeve ose organizatën e riciklimit për të gjetur një objekt riciklimi elektronik në zonën tuaj. MOS I HIDHNI BATERITË NË ZJARR. BATERITË MUND TË SHPËRTHEJNË OSE RRJEDHIN.
- Mbajeni baterinë larg fëmijëve. Në rast se një bateri gëlltitet, kontaktoni menjëherë qendrën tuaj të kontrollit të helmit, mjekun tuaj ose linjën kombëtare të gëlltitjes së baterisë në 202-625-3333 pasi mund të ndodhë lëndim serioz.
Jeta aktuale e shërbimit të baterisë varet nga Alarmi dhe mjedisi në të cilin është instaluar. Të gjitha bateritë e specifikuara më sipër janë bateri zëvendësuese të pranueshme për këtë njësi. Pavarësisht nga jetëgjatësia e baterisë e sugjeruar nga prodhuesi, JU DUHET të zëvendësoni baterinë menjëherë sapo njësia të fillojë të "ciripë" ("paralajmërimi i baterisë së ulët").
ÇFARË DUHET TË DINI PËR CO
ÇFARË ËSHTË CO?
CO është një gaz i padukshëm, pa erë, pa shije, i prodhuar kur lëndët djegëse fosile nuk digjen plotësisht, ose ekspozohen ndaj nxehtësisë (zakonisht zjarrit). Pajisjet elektrike zakonisht nuk prodhojnë CO.
Këto lëndë djegëse përfshijnë: Drurin, qymyrin, thëngjillin, naftën, gazin natyror, benzinën, vajgurin dhe propanin.
Pajisjet e zakonshme janë shpesh burime të CO. Nëse ato nuk mirëmbahen siç duhet, nuk ajrosen siç duhet ose keqfunksionojnë, nivelet e CO mund të rriten shpejt. CO është një rrezik i vërtetë tani që shtëpitë janë më efikase në energji. Shtëpitë "të mbyllura hermetikisht" me izolim të shtuar, dritare të vulosura dhe izolim tjetër mund të "bllokojnë" CO brenda.
SIMPTOMAT E HELMIMIT ME CO
Këto simptoma lidhen me HELMIMIN ME CO dhe duhet të diskutohen me TË GJITHË anëtarët e familjes.
Ekspozim i lehtë: Dhimbje koke e lehtë, nauze, të vjella, lodhje (simptoma "si gripi").
Ekspozim i mesëm: Dhimbje koke therëse, përgjumje, konfuzion, rrahje të shpejta të zemrës.
Ekspozim ekstrem: Konvulsione, humbje e vetëdijes, dështim i zemrës dhe mushkërive. Ekspozimi ndaj monoksidit të karbonit mund të shkaktojë dëmtim të trurit, vdekje.
Disa individë janë më të ndjeshëm ndaj CO se të tjerët, duke përfshirë njerëzit me probleme kardiake ose të frymëmarrjes, foshnjat, fëmijët e palindur, nënat shtatzëna ose të moshuarit mund të preken më shpejt dhe më rëndë nga CO. Anëtarët e popullatave të ndjeshme duhet të konsultohen me mjekët e tyre për këshilla mbi marrjen e masave shtesë paraprake.
GJETJA E BURIMIT TË CO PAS NJË ALARMI
Monoksidi i karbonit është një gaz pa erë, i padukshëm, i cili shpesh e bën të vështirë gjetjen e burimit të CO pas një alarmi. Këto janë disa nga faktorët që mund ta bëjnë të vështirë gjetjen e burimeve të CO:
- Shtëpia është ajrosur mirë para se të mbërrijë hetuesi.
- Problemi i shkaktuar nga "kundër-rryma".
- Problemi kalimtar i CO i shkaktuar nga rrethana të veçanta.
Për shkak se CO mund të shpërndahet në kohën kur mbërrin një hetues, mund të jetë e vështirë të gjendet burimi i CO. BRK Brands, Inc. nuk do të jetë i detyruar të paguajë për ndonjë hetim të monoksidit të karbonit ose thirrje shërbimi.
BURIMET E MUNDSHME TË CO NË SHTËPI

Pajisje që djegin lëndë djegëse si: ngrohës portativ, oxhak me gaz ose dru, sobë kuzhine me gaz ose pllakë gatimi, tharëse rrobash me gaz.
Ajrim i dëmtuar ose i pamjaftueshëm: tub i korrozuar ose i shkëputur i ajrimit të ngrohësit të ujit, tub oxhaku ose oxhaku që rrjedh, ose shkëmbyes nxehtësie i plasaritur, hapje oxhaku i bllokuar ose i bllokuar.
Përdorim i pahijshëm i pajisjes/ pajisjes: përdorimi i një skarë ose automjeti në një zonë të mbyllur (si një garazh ose verandë e mbyllur).
Problemet kalimtare të CO: problemet "kalimtare" ose të ndezura dhe të fikura të CO mund të shkaktohen nga kushtet e jashtme dhe rrethana të tjera të veçanta.
Kushtet e mëposhtme mund të rezultojnë në situata kalimtare të CO:
- Rrjedhje e tepërt ose ajrim i kundërt i pajisjeve me lëndë djegëse të shkaktuara nga kushtet e jashtme si:
- Drejtimi dhe/ose shpejtësia e erës, duke përfshirë erërat e forta dhe të vrullshme. Ajër i rëndë në tubat e ajrimit (ajër i ftohtë/i lagësht me periudha të zgjatura midis cikleve).
- Diferencial presioni negativ që rezulton nga përdorimi i ventilatorëve të shkarkimit.
- Disa pajisje që funksionojnë në të njëjtën kohë duke konkurruar për ajër të pastër të kufizuar.
- Lidhjet e tubave të ajrimit që vibrojnë lirshëm nga tharëset e rrobave, furrat ose ngrohësit e ujit.
- Pengesat në ose modelet jo konvencionale të tubave të ajrimit që mund të zmadhojnë situatat e mësipërme.
- Funksionim i zgjatur i pajisjeve që djegin lëndë djegëse pa ajrim (soba, furra, oxhak).
- Inversionet e temperaturës, të cilat mund të bllokojnë shkarkimin afër tokës.
- Makina që punon në boshe në një garazh të hapur ose të mbyllur të bashkangjitur, ose afër një shtëpie.
Këto kushte janë të rrezikshme sepse mund të bllokojnë shkarkimin në shtëpinë tuaj. Për shkak se këto kushte mund të vijnë dhe të shkojnë, ato janë gjithashtu të vështira për t'u rikrijuar gjatë një hetimi të CO.
SI MUND TA MBROJ FAMILJEN TIME NGA HELMIMI ME CO?
Një alarm gazi/CO është një mjet i shkëlqyeshëm mbrojtjeje. Ai monitoron ajrin dhe lëshon një alarm të fortë përpara se nivelet e monoksidit të karbonit të bëhen kërcënuese për të rriturit mesatarë dhe të shëndetshëm.
Një alarm gazi/CO nuk është një zëvendësim për mirëmbajtjen e duhur të pajisjeve shtëpiake.
Për të ndihmuar në parandalimin e problemeve të CO dhe për të zvogëluar rrezikun e helmimit me CO:
- Pastroni oxhaqet dhe oxhaqet çdo vit. Mbajini ato pa mbeturina, gjethe dhe fole për rrjedhje të duhur të ajrit. Gjithashtu, bëni që një profesionist të kontrollojë për ndryshk dhe korrozion, çarje ose ndarje. Këto kushte mund të parandalojnë lëvizjen e duhur të ajrit dhe të shkaktojnë kundër-rrymë. Asnjëherë mos "kapni" ose mbuloni një oxhak në asnjë mënyrë që do të bllokonte rrjedhën e ajrit.
- Testoni dhe mirëmbani të gjitha pajisjet që djegin lëndë djegëse çdo vit. Shumë kompani lokale të gazit ose naftës dhe kompani HVAC ofrojnë inspektime të pajisjeve për një tarifë nominale.
- Bëni inspektime vizuale të rregullta të të gjitha pajisjeve që djegin lëndë djegëse. Kontrolloni pajisjet për ndryshk dhe gërryerje të tepërt. Gjithashtu kontrolloni flakën në djegësin dhe dritat pilot. Flaka duhet të jetë blu. Një flakë e verdhë do të thotë se lënda djegëse nuk po digjet plotësisht dhe CO mund të jetë i pranishëm. Mbajeni derën e ventilatorit në furrë të mbyllur. Përdorni ajrimet ose ventilatorët kur ato janë të disponueshme në të gjitha pajisjet që djegin lëndë djegëse. Sigurohuni që pajisjet të ajrosen jashtë. Mos piqni në skarë ose mos bëni Barbecue brenda, ose në garazhe ose në veranda me ekran.
- Kontrolloni për rrjedhje të kundërt të shkarkimit nga burimet e CO. Kontrolloni kapuçin e draftit në një furrë funksionale për një kundër-rrymë. Kërkoni çarje në shkëmbyesit e nxehtësisë së furrës.
- Kontrolloni shtëpinë ose garazhin në anën tjetër të murit të përbashkët.
- Mbajini dritaret dhe dyert pak të hapura. Nëse dyshoni se CO po rrjedh në shtëpinë tuaj, hapni një dritare ose një derë. Hapja e dritareve dhe dyerve mund të zvogëlojë ndjeshëm nivelet e CO.
Përveç kësaj, familjarizohuni me të gjitha materialet e mbyllura. Lexoni këtë manual në tërësi dhe sigurohuni që të kuptoni se çfarë të bëni nëse alarmi juaj i gazit/CO bie.
INFORMACION RREGULLATOR PËR ALARMET E GAZIT SHPËRTHYES/CO
INFORMACION RREGULLATOR PËR ALARMET E CO
UNDERWRITERS LABORATORIES INC. UL2034
ÇFARË NIVELIT TË CO SHKAKTOJNË NJË ALARM?
Underwriters Laboratories Inc. Standardi UL2034 kërkon që alarmet rezidenciale të CO të bien kur ekspozohen ndaj niveleve të CO dhe kohëve të ekspozimit siç përshkruhet më poshtë. Ato maten në pjesë për milion (ppm) të CO me kalimin e kohës (në minuta).
Pikat e kërkuara të alarmit UL2034*:
- Nëse alarmi ekspozohet ndaj 400 ppm CO, AI DUHET TË BIJË ALARM MIDIS 4 dhe 15 MINUTA.
- Nëse alarmi ekspozohet ndaj 150 ppm CO, AI DUHET TË BIJË ALARM MIDIS 10 dhe 50 MINUTA.
- Nëse alarmi ekspozohet ndaj 70 ppm CO, AI DUHET TË BIJË ALARM MIDIS 60 dhe 240 MINUTA. Përafërsisht 10% ekspozim COHb në nivele nga 10% në 95% Lagështia relative (RH).
Njësia është projektuar të mos bjerë alarm kur ekspozohet ndaj një niveli konstant prej 30 ppm për 30 ditë.
Alarmet e CO janë projektuar të bien alarm përpara se të ketë një kërcënim të menjëhershëm për jetën. Për shkak se nuk mund ta shihni ose nuhasni CO, mos supozoni kurrë se nuk është i pranishëm.
- Një ekspozim ndaj 100 ppm CO për 20 minuta mund të mos ndikojë te të rriturit mesatarë dhe të shëndetshëm, por pas 4 orësh i njëjti nivel mund të shkaktojë dhimbje koke.
- Një ekspozim ndaj 400 ppm CO mund të shkaktojë dhimbje koke te të rriturit mesatarë dhe të shëndetshëm pas 35 minutash, por mund të shkaktojë vdekje pas 2 orësh.
Ky alarm CO mat ekspozimin ndaj CO me kalimin e kohës. Ai bie alarm nëse nivelet e CO janë jashtëzakonisht të larta në një periudhë të shkurtër kohore, ose nëse nivelet e CO arrijnë një minimum të caktuar gjatë një periudhe të gjatë kohore. Alarmi CO në përgjithësi lëshon një alarm përpara fillimit të simptomave te të rriturit mesatarë dhe të shëndetshëm.
Pse është kjo e rëndësishme? Sepse duhet të paralajmëroheni për një problem të mundshëm të CO ndërsa ende mund të reagoni me kohë. Në shumë raste të raportuara të ekspozimit ndaj CO, viktimat mund të jenë të vetëdijshëm se nuk ndihen mirë, por çorientohen dhe nuk mund të reagojnë më mjaftueshëm për të dalë nga ndërtesa ose për të marrë ndihmë. Gjithashtu, fëmijët e vegjël dhe kafshët shtëpiake mund të jenë të parët e prekur. I rrituri mesatar i shëndetshëm mund të mos ndjejë asnjë simptomë kur bie alarmi CO. Megjithatë, njerëzit me probleme kardiake ose të frymëmarrjes, foshnjat, fëmijët e palindur, nënat shtatzëna ose të moshuarit mund të preken më shpejt dhe më rëndë nga CO. Nëse keni edhe simptoma të lehta të helmimit me CO, konsultohuni menjëherë me mjekun tuaj!
Standardet: Underwriters Laboratories Inc. Alarme monoksidi karboni me një dhe shumë stacione UL2034.
Sipas Underwriters Laboratories Inc. UL2034, Seksioni 1-1.2: "Alarmet e monoksidit të karbonit të mbuluara nga këto kërkesa kanë për qëllim t'i përgjigjen pranisë së monoksidit të karbonit nga burime të tilla si, por pa u kufizuar në, shkarkimin nga motorët me djegie të brendshme, funksionimin anormal të pajisjeve me lëndë djegëse dhe oxhaqet. Alarmet e CO kanë për qëllim të bien alarm në nivele të monoksidit të karbonit nën ato që mund të shkaktojnë humbje të aftësisë për të reaguar ndaj rreziqeve të ekspozimit ndaj monoksidit të karbonit." Ky alarm CO monitoron ajrin në alarm dhe është projektuar të bjerë alarm përpara se nivelet e CO të bëhen kërcënuese për jetën. Kjo ju lejon kohë të çmuar për të dalë nga shtëpia dhe për të korrigjuar problemin. Kjo është e mundur vetëm nëse alarmet vendosen, instalohen dhe mirëmbahen siç përshkruhet në këtë manual.
Zbulimi i gazit në temperatura tipike dhe intervale lagështie: Alarmi CO nuk është formuluar për të zbuluar nivele CO nën 30 ppm në mënyrë tipike. UL testoi për rezistencë ndaj alarmit të rremë ndaj metanit (500 ppm), butanit (300 ppm), heptanit (500 ppm), acetatit të etilit (200 ppm), alkoolit izopropilik (200 ppm) dhe dioksidit të karbonit (5000 ppm). Vlerat matin përqendrimet e gazit dhe avullit në pjesë për milion.
Alarm i dëgjueshëm: Minimumi 85 dB në 10 këmbë (3 metra).
INFORMACION RREGULLATOR PËR ALARMET E GAZIT SHPËRTHYES
Standardet: Underwriters Laboratories Inc. UL1484.
Sipas Underwriters Laboratories Inc. UL1484, kjo njësi plotëson kohën e reagimit të alarmit për gazin si më poshtë: Kjo njësi do të bjerë alarm përpara se të zbulohet 25% e LEL e gazit natyror ose propanit. Në të gjitha rastet, njësia do të zbulojë gazin si një prioritet ndaj monoksidit të karbonit. Nëse pajisja po zbulon CO, atëherë zbulon një sasi gazi për të shkaktuar një alarm, pajisja do të ndalojë së rëni alarmi për CO dhe do të fillojë të bjerë alarm për gazin.
KUFIZIMET E PËRGJITHSHME TË ALARMEVE TË GAZIT SHPËRTHYES/CO
Ky alarm gazi/CO është menduar për përdorim rezidencial. Nuk është menduar për përdorim në aplikime industriale ku duhet të plotësohen kërkesat e Administratës së Sigurisë dhe Shëndetit në Punë (OSHA) për alarmet e monoksidit të karbonit. Kjo pajisje nuk është menduar për të alarmuar banorët me dëgjim të dëmtuar.
Alarmet e gazit/CO mund të mos zgjojnë të gjithë individët. Nëse fëmijët ose të tjerët nuk zgjohen lehtësisht nga tingulli i alarmit të gazit/CO, ose nëse ka foshnja ose anëtarë të familjes me kufizime të lëvizshmërisë, sigurohuni që dikush të caktohet për t'i ndihmuar ata në rast urgjence.
Ky alarm gazi/CO nuk do të ndjejë gaz ose CO që nuk arrin sensorët. Ai do të ndjejë vetëm gaz ose CO në sensor. Gazi ose CO mund të jenë të pranishëm në zona të tjera. Dyert ose pengesat e tjera mund të ndikojnë në shpejtësinë me të cilën CO ose gazi arrin sensorët.
Alarmet e gazit/CO mund të mos dëgjohen. Zhurma e alarmit plotëson ose tejkalon standardet aktuale UL prej 85 dB në 10 këmbë (3 metra). Megjithatë, nëse alarmi i gazit/CO është instaluar jashtë dhomës së gjumit, ai mund të mos zgjojë një gjumë të thellë ose dikë që ka përdorur kohët e fundit droga ose ka pirë pije alkoolike. Kjo është veçanërisht e vërtetë nëse dera është e mbyllur ose vetëm pjesërisht e hapur. Edhe personat që janë zgjuar mund të mos e dëgjojnë zhurmën e alarmit nëse tingulli bllokohet nga distanca ose dyert e mbyllura. Zhurma nga trafiku, stereo, radio, televizori, kondicioneri ose pajisje të tjera mund të pengojnë gjithashtu personat e alarmuar të dëgjojnë zhurmën e alarmit. Ky alarm gazi/CO nuk është menduar për njerëzit që kanë dëgjim të dëmtuar.
Ky alarm gazi/CO nuk është një zëvendësim për sigurimin e jetës. Megjithëse ky alarm gazi/CO paralajmëron kundër rritjes së niveleve të CO ose pranisë së gazit, BRK Brands, Inc. nuk garanton ose nënkupton në asnjë mënyrë se ata do të mbrojnë jetën. Pronarët e shtëpive dhe qiramarrësit duhet të sigurojnë ende jetën e tyre.
Ky alarm gazi/CO nuk është i pagabueshëm. Si të gjitha pajisjet e tjera elektronike, ky alarm gazi/CO ka kufizime. Ai mund të zbulojë vetëm gaz ose CO që arrin sensorët. Ai mund të mos japë paralajmërim të hershëm të burimit të gazit ose CO është në një pjesë të largët të shtëpisë, larg pajisjes së alarmit.
Ky alarm gazi/CO ka një jetë të kufizuar. Megjithëse ky alarm gazi/CO dhe të gjitha pjesët e tij kanë kaluar shumë teste të rrepta dhe janë projektuar të jenë sa më të besueshme që të jetë e mundur, çdo nga këto pjesë mund të dështojë në çdo kohë. Prandaj, duhet ta testoni këtë pajisje çdo javë. Njësia duhet të zëvendësohet menjëherë nëse nuk funksionon siç duhet.
UDHËZUES PËR ZGJIDHJEN E PROBLEMEVE
| Nëse alarmi juaj bën këtë... | Do të thotë... | Ju duhet të... | ||
| Drita jeshile është e fikur. Njësia nuk do të bjerë alarm kur të shtypni butonin Test/Heshtje (Test/Silence). | Njësia mund të mos jetë duke marrë energji. | Kontrolloni furnizimin me energji AC. Sigurohuni që të jetë instaluar një bateri e freskët 9V për të fuqizuar rezervën e baterisë. | ||
| Drita jeshile pulson ON (ndezur), një herë në minutë (boria është e heshtur). | Alarmi nuk po merr energji AC. Njësia po funksionon me rezervën e baterisë. | Kontrolloni furnizimin me energji AC. | ||
| Boria "cicëron" një herë në minutë. | Paralajmërim për bateri të ulët. Bateria është e ulët ose mungon. | Zëvendësoni baterinë. Shmangni ndërprerjen e energjisë AC. | ||
| Një herë në minutë, alarmi lëshon 3 "cicërima" dhe drita jeshile pulson tre herë. | SINJALI I KEQFUNKSIONIMIT. Bazuar në diagnostikimin e vetë-testimit, njësia ka zbuluar një keqfunksionim. Njësia duhet të zëvendësohet. | Njësitë nën garanci duhet t'i kthehen prodhuesit për zëvendësim. Shihni "Garancia e kufizuar" për detaje. | ||
| Drita pulson (jeshile) dhe boria lëshon 5 "cicërima" çdo minutë. | SINJALI I FUNDIT TË JETËS. Alarmi duhet të zëvendësohet | Zëvendësoni menjëherë alarmin. | ||
| Boria lëshon vazhdimisht pa asnjë model dhe nuk mund të heshtohet, | Keqfunksionim i njësisë. Njësia duhet të zëvendësohet. | Njësitë nën garanci duhet t'i kthehen prodhuesit për zëvendësim. Shihni "Garancia e kufizuar" për detaje. | ||
| Alarmi kthehet në alarm pasi keni shtypur butonin Test/Heshtje (Test/Silence) për të heshtur një alarm. | Nivelet e gazit dhe/ose CO janë ende potencialisht të rrezikshme. | Referojuni "Nëse bie alarmi juaj i gazit/CO" për detaje se si t'i përgjigjeni një alarmi. Nëse dikush ndihet i sëmurë, EVAKUONI menjëherë shtëpinë tuaj dhe telefononi 911. | ||
| Alarmi bie shpesh edhe pse nuk zbulohen nivele të larta të gazit ose CO në një hetim. | Alarmi bie shpesh edhe pse nuk zbulohen nivele të larta të gazit ose CO në një hetim. | Rilokoni alarmin tuaj. Nëse alarmet e shpeshta vazhdojnë, kontrolloni shtëpinë përsëri për probleme të mundshme. Mund të jeni duke përjetuar një problem të ndërprerë të gazit ose CO. | ||
*Për një listë të baterive zëvendësuese të pranueshme, shihni "Mirëmbajtja e rregullt".
Nëse keni ndonjë pyetje që nuk mund të përgjigjet duke lexuar këtë manual, telefononi Çështjet e Konsumatorit: 1-800-323-9005.
GARANCI E LIMITUAR
BRK Brands, Inc., ("BRK") prodhuesi i produkteve të markës First Alert® dhe BRK®, garanton që për një periudhë prej dhjetë vjetësh nga data e blerjes, ky produkt do të jetë i lirë nga defektet në material dhe mjeshtëri.
Si të Merrni Shërbimin e Garancisë
Shërbimi: Nëse kërkohet shërbim, mos e ktheni produktin te shitësi juaj. Për të marrë shërbimin e garancisë, kontaktoni Divizionin e Çështjeve të Konsumatorit në 1-800-323-9005. Për të na ndihmuar t'ju shërbejmë, ju lutemi të keni numrin e modelit dhe datën e blerjes në dispozicion kur telefononi.
Për Shërbimin e Garancisë kthejeni te:
BRK Brands, Inc., 1301 Joe Battle, El Paso, TX 79936
Bateria: BRK Brands, Inc. nuk jep asnjë garanci, të shprehur ose të nënkuptuar, me shkrim ose me gojë, duke përfshirë atë të tregtueshmërisë ose përshtatshmërisë për ndonjë qëllim të veçantë në lidhje me baterinë.
Vizitoni www.firstalert.com për më shumë informacion.
Zëvendësoni alarmin 5 vjet pas instalimit.
Alarmi gjithashtu do të sigurojë një Sinjal të dëgjueshëm të Fundit të Jetës afërsisht 5 vjet pas instalimit për t'ju kujtuar të zëvendësoni njësinë.
Sinjali i Fundit të Jetës mund të heshtet deri në 2 ditë. Mos e shkëputni alarmin ose mos i hiqni bateritë derisa të merrni zëvendësimin.
Shtypur në Meksikë
M08-0123-013 K1 5/16
I PËRKON UL STD 1484 dhe UL STD 2034
© 2016 BRK Brands, Inc. Të gjitha të drejtat e rezervuara. Shpërndarë nga BRK Brands, Inc. • First Alert® është markë e regjistruar e The First Alert Trust 3901 Liberty Street Road, Aurora, IL 60504-8122 Çështjet e Konsumatorit: (800) 323-9005 • www.firstalert.com • www.brkelectronics.com

Referencat
Produkte për Sigurinë nga Monoksidi i Karbonit dhe Zjarri | Edukimi për Sigurinë nga Zjarri | Marka Më e Besuar në Sigurinë nga Zjarri
BRK Standardi Profesional
Shkarko manual
Këtu mund të shkarkoni versionin e plotë pdf të manualit, ai mund të përmbajë udhëzime shtesë sigurie, informacione garancioni, rregulla FCC, etj.



